CN217245918U - 静脉留置针输液防脱盒 - Google Patents
静脉留置针输液防脱盒 Download PDFInfo
- Publication number
- CN217245918U CN217245918U CN202123178959.9U CN202123178959U CN217245918U CN 217245918 U CN217245918 U CN 217245918U CN 202123178959 U CN202123178959 U CN 202123178959U CN 217245918 U CN217245918 U CN 217245918U
- Authority
- CN
- China
- Prior art keywords
- indwelling needle
- pipeline
- infusion
- box body
- upper cover
- Prior art date
- Legal status (The legal status is an assumption and is not a legal conclusion. Google has not performed a legal analysis and makes no representation as to the accuracy of the status listed.)
- Expired - Fee Related
Links
- 238000001802 infusion Methods 0.000 claims abstract description 36
- 230000002265 prevention Effects 0.000 claims abstract description 10
- 238000001990 intravenous administration Methods 0.000 claims abstract description 5
- 230000000474 nursing effect Effects 0.000 abstract description 10
- HTTJABKRGRZYRN-UHFFFAOYSA-N Heparin Chemical compound OC1C(NC(=O)C)C(O)OC(COS(O)(=O)=O)C1OC1C(OS(O)(=O)=O)C(O)C(OC2C(C(OS(O)(=O)=O)C(OC3C(C(O)C(O)C(O3)C(O)=O)OS(O)(=O)=O)C(CO)O2)NS(O)(=O)=O)C(C(O)=O)O1 HTTJABKRGRZYRN-UHFFFAOYSA-N 0.000 description 6
- 229960002897 heparin Drugs 0.000 description 6
- 229920000669 heparin Polymers 0.000 description 6
- 238000011109 contamination Methods 0.000 description 2
- 238000000034 method Methods 0.000 description 2
- 230000035515 penetration Effects 0.000 description 2
- 238000004659 sterilization and disinfection Methods 0.000 description 2
- 208000012266 Needlestick injury Diseases 0.000 description 1
- 208000003443 Unconsciousness Diseases 0.000 description 1
- 208000027418 Wounds and injury Diseases 0.000 description 1
- 238000013019 agitation Methods 0.000 description 1
- 230000006378 damage Effects 0.000 description 1
- 238000010586 diagram Methods 0.000 description 1
- 230000000694 effects Effects 0.000 description 1
- 230000005484 gravity Effects 0.000 description 1
- 208000014674 injury Diseases 0.000 description 1
- 238000009434 installation Methods 0.000 description 1
- 239000010808 liquid waste Substances 0.000 description 1
- 239000000463 material Substances 0.000 description 1
- 230000000717 retained effect Effects 0.000 description 1
- 230000002747 voluntary effect Effects 0.000 description 1
Images
Landscapes
- Infusion, Injection, And Reservoir Apparatuses (AREA)
Abstract
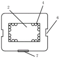
本实用新型公开了一种静脉留置针输液防脱盒,包括盒体与上盖(1),盒体与上盖(1)连接处一侧设有活动连接的合页,对应另一侧设有卡扣结构锁(7),在盒体内设有空间结构,在上盖(1)中间位置设有透明观察窗(2),在静脉留置针输液防脱盒体两侧分别设有管线穿出口(6),分别穿出留置针管线及输液管线,在盒体内管线穿出口(6)处分别设有多个凸起件(4)。本实用新型有效防止了输液管针头拉扯,脱离留置针,减少护理人员的工作量,节约了护理人员反复操作时间,提高了临床护理工作效率。
Description
技术领域
本实用新型涉及一种静脉留置针输液防脱盒。
背景技术
静脉留置针输液是现代临床护理操作最常见的护理操作,是留置针穿刺成功后连接输液器而进行的输液。临床工作中经常会因为患者自主活动、无意识躁动或被动翻身、换药等重力牵拉输液器而引起输液管针头与留置针肝素帽分离,导致输液器针头污染需重新更换输液针头及反复穿刺留置针肝素帽,增加医疗耗材成本支出和输液污染的机会,如果没有及时发现很容易造成液体浪费和针刺伤的发生,大大增加患者的痛苦和护理人员的工作量,影响了患者满意度。
实用新型内容
本实用新型所要解决的技术问题是:提供一种静脉留置针输液防脱盒,克服现有技术普遍存在的静脉留置针易于脱落,易于产生污染等不足。
为解决上述技术问题,本实用新型采取的技术方案是:该静脉留置针输液防脱盒包括盒体与上盖,盒体与上盖连接处一侧设有活动连接的合页,对应另一侧设有卡扣结构锁,在盒体内设有空间结构,在上盖中间位置设有透明观察窗,在静脉留置针输液防脱盒体两侧分别设有管线穿出口6,分别穿出留置针管线及输液管线,在盒体内管线穿出口6处分别设有多个凸起件4。
进一步,管线穿出口高度比管线高3—4mm,宽度比管线宽7.5—10mm。
进一步,透明观察窗为长方形结构。
进一步,透明观察窗宽度小于静脉留置针双腔管间的距离。
采取上述技术方案后,本实用新型带来的技术效果是:保留了传统防脱装置的优点,既能固定留置针与输液管针头连接处,防止患者二次伤害的发生,又能便于护士观察、消毒、携带,大大增加了患者的输液安全,留置针肝素帽可插入多路输液器针头固定,固定牢固,不易滑脱,操作简单。安装和拆卸简便,有效防止了输液管针头拉扯,脱离留置针,减少护理人员的工作量,节约了护理人员反复操作时间,提高了临床护理工作效率。
附图说明
图1是本实用新型的结构示意图;
图2是本实用新型的图1的横截面结构示意图。
1—上盖,2—透明观察窗,3—管线,4—凸起件,5—留置针,6—管线穿出口,7—卡扣结构锁。
具体实施方式
下面结合附图对本实用新型的原理和特征进行描述,所举实例只用于解释本实用新型,并非用于限定本实用新型的范围。
根据图1—图2所示,该静脉留置针输液防脱盒包括盒体与上盖1,盒体与上盖1连接处一侧设有活动连接的合页,对应另一侧设有卡扣结构锁7,用于静脉留置针输液防脱盒的打开与关闭,在盒体内设有空间结构,用于放置留置针肝素帽,输液器针头等部件,在上盖1中间位置设有透明观察窗2,在静脉留置针输液防脱盒体两侧分别设有管线穿出口6,分别穿出留置针管线及输液管线,在盒体内管线穿出口6处分别设有多个凸起件4,该凸起件4为柔性材质,增加了管线3的摩擦力,使留置针5与输液管针头连接处不容滑动造成脱管隐患。
作为优选,管线穿出口6高度比管线3高3—4mm,宽度比管线3宽7.5—10mm。
作为优选,透明观察窗2为长方形结构。
作为优选,透明观察窗2宽度小于静脉留置针双腔管间的距离。
本实用新型的主要使用过程包括以下几个步骤:医护人员首先将输液管针头与留置针肝素帽连接好后,打开静脉留置针输液防脱盒卡扣结构锁7,掀开上盖,将留置针肝素帽与输液管针头放入盒内透明观察窗2能够看到的位置,减少护理人员使用医用胶布固定,方便其他输液管的消毒、连接和固定,便于观察。两端的管线分别从管线穿出口6穿出,一端为留置针管线出口,另一端为输液管线出口,放置好后,关闭卡扣结构锁7即可。
以上所述的仅是本实用新型的优选方式,应当指出,对于本领域的普通技术人员来说,在不脱离本实用新型创造构思的前提下,还可以做出若干变化和改进,这些都属于本实用新型的保护范围。
Claims (4)
1.一种静脉留置针输液防脱盒,包括盒体与上盖(1),盒体与上盖(1)连接处一侧设有活动连接的合页,对应另一侧设有卡扣结构锁(7),其特征在于,在盒体内设有空间结构,在上盖(1)中间位置设有透明观察窗(2),在静脉留置针输液防脱盒体两侧分别设有管线穿出口(6),分别穿出留置针管线及输液管线,在盒体内管线穿出口(6)处分别设有多个凸起件(4)。
2.根据权利要求1所述的静脉留置针输液防脱盒,其特征在于,所述的管线穿出口(6)高度比管线(3)高3—4mm,宽度比管线(3)宽7.5—10mm。
3.根据权利要求1或2所述的静脉留置针输液防脱盒,其特征在于,所述的透明观察窗(2)为长方形结构。
4.根据权利要求1或2所述的静脉留置针输液防脱盒,其特征在于,所述的透明观察窗(2)宽度小于静脉留置针双腔管间的距离。
Priority Applications (1)
| Application Number | Priority Date | Filing Date | Title |
|---|---|---|---|
| CN202123178959.9U CN217245918U (zh) | 2021-12-17 | 2021-12-17 | 静脉留置针输液防脱盒 |
Applications Claiming Priority (1)
| Application Number | Priority Date | Filing Date | Title |
|---|---|---|---|
| CN202123178959.9U CN217245918U (zh) | 2021-12-17 | 2021-12-17 | 静脉留置针输液防脱盒 |
Publications (1)
| Publication Number | Publication Date |
|---|---|
| CN217245918U true CN217245918U (zh) | 2022-08-23 |
Family
ID=82888629
Family Applications (1)
| Application Number | Title | Priority Date | Filing Date |
|---|---|---|---|
| CN202123178959.9U Expired - Fee Related CN217245918U (zh) | 2021-12-17 | 2021-12-17 | 静脉留置针输液防脱盒 |
Country Status (1)
| Country | Link |
|---|---|
| CN (1) | CN217245918U (zh) |
-
2021
- 2021-12-17 CN CN202123178959.9U patent/CN217245918U/zh not_active Expired - Fee Related
Similar Documents
| Publication | Publication Date | Title |
|---|---|---|
| CN217245918U (zh) | 静脉留置针输液防脱盒 | |
| CN201643132U (zh) | 一次性使用自动止液输液器 | |
| CN205084113U (zh) | 一种神经外科用留置针 | |
| CN215608284U (zh) | 一种中心静脉导管 | |
| CN205659212U (zh) | 一种幼儿头皮留置针防护装置 | |
| CN211432941U (zh) | 安全性留置采血针 | |
| CN210749229U (zh) | 一种新型采血留置针 | |
| CN210785746U (zh) | 一种输液港蝶翼针 | |
| CN209378187U (zh) | 留置针保护套 | |
| CN210020564U (zh) | 血液透析导管固定回收盒 | |
| CN209137600U (zh) | 一种有效避免堵管的留置针 | |
| CN206642170U (zh) | 留置针固定装置 | |
| CN209187756U (zh) | 一种减压留置针 | |
| CN108939206B (zh) | 一种易于固定的无菌抗返流留置针 | |
| CN205626621U (zh) | 带保护装置的留置针 | |
| CN219022684U (zh) | 一种安全型动脉留置针 | |
| CN106175794A (zh) | 可防止针体脱出的血液内科用血液采集装置 | |
| CN221692331U (zh) | 针头防刺伤装置 | |
| CN221579216U (zh) | 一种输液器引液针固定装置 | |
| CN205903493U (zh) | 一种留置针固定带 | |
| CN219071586U (zh) | 一种输液港针敷料装置 | |
| CN205964612U (zh) | 医疗输液装置 | |
| CN215426542U (zh) | 一种一次性使用防针刺伤输液器 | |
| CN105327419B (zh) | 一种适用于静脉输液针及静脉采血针的针头结构 | |
| CN217489434U (zh) | 一种可开关的静脉留置针 |
Legal Events
| Date | Code | Title | Description |
|---|---|---|---|
| GR01 | Patent grant | ||
| GR01 | Patent grant | ||
| CF01 | Termination of patent right due to non-payment of annual fee |
Granted publication date: 20220823 |
|
| CF01 | Termination of patent right due to non-payment of annual fee |