CN217224682U - Waste cleaning device of numerically controlled fraise machine - Google Patents
Waste cleaning device of numerically controlled fraise machine Download PDFInfo
- Publication number
- CN217224682U CN217224682U CN202123240905.0U CN202123240905U CN217224682U CN 217224682 U CN217224682 U CN 217224682U CN 202123240905 U CN202123240905 U CN 202123240905U CN 217224682 U CN217224682 U CN 217224682U
- Authority
- CN
- China
- Prior art keywords
- fixedly connected
- groove
- cleaning device
- worktable
- milling machine
- Prior art date
- Legal status (The legal status is an assumption and is not a legal conclusion. Google has not performed a legal analysis and makes no representation as to the accuracy of the status listed.)
- Expired - Fee Related
Links
- 238000004140 cleaning Methods 0.000 title claims abstract description 30
- 239000002699 waste material Substances 0.000 title claims abstract description 13
- 238000003801 milling Methods 0.000 claims abstract description 21
- 238000009434 installation Methods 0.000 claims abstract description 12
- 239000000463 material Substances 0.000 abstract 1
- 238000000034 method Methods 0.000 description 5
- 230000009286 beneficial effect Effects 0.000 description 1
- 230000003749 cleanliness Effects 0.000 description 1
- 238000010586 diagram Methods 0.000 description 1
- 230000000694 effects Effects 0.000 description 1
- 238000004519 manufacturing process Methods 0.000 description 1
- 230000004048 modification Effects 0.000 description 1
- 238000012986 modification Methods 0.000 description 1
Images
Classifications
-
- Y—GENERAL TAGGING OF NEW TECHNOLOGICAL DEVELOPMENTS; GENERAL TAGGING OF CROSS-SECTIONAL TECHNOLOGIES SPANNING OVER SEVERAL SECTIONS OF THE IPC; TECHNICAL SUBJECTS COVERED BY FORMER USPC CROSS-REFERENCE ART COLLECTIONS [XRACs] AND DIGESTS
- Y02—TECHNOLOGIES OR APPLICATIONS FOR MITIGATION OR ADAPTATION AGAINST CLIMATE CHANGE
- Y02P—CLIMATE CHANGE MITIGATION TECHNOLOGIES IN THE PRODUCTION OR PROCESSING OF GOODS
- Y02P70/00—Climate change mitigation technologies in the production process for final industrial or consumer products
- Y02P70/10—Greenhouse gas [GHG] capture, material saving, heat recovery or other energy efficient measures, e.g. motor control, characterised by manufacturing processes, e.g. for rolling metal or metal working
Landscapes
- Cleaning In General (AREA)
Abstract
本实用新型公开了一种数控铣床的废料清理装置,包括工作台,所述工作台的上端面固定连接有固定框,所述固定框的前后两个侧壁上均开设有通槽,前方所述通槽内滑动连接有丝杠套,后方所述通槽内固定连接有滑杆,所述滑杆的外壁上滑动连接有滑块,所述滑块与丝杠套之间固定连接有固定板,所述固定板的下端面开设有安装槽,所述安装槽内设有用于对工作台进行清理的清扫机构,所述工作台的上端面设有用于对清扫机构进行驱动的驱动机构,所述固定框的右侧侧壁上设有用于对丝杠套进行移动的移动机构。本实用新型通过将工作台表面的碎屑进行清扫至两侧的漏料口漏出,再通过收集框集中收集,减少工作人员的工作量的同时,为工作人员提供了方便。
The utility model discloses a waste cleaning device of a numerically controlled milling machine, comprising a worktable, a fixed frame is fixedly connected to the upper end surface of the worktable, and through grooves are provided on the front and rear side walls of the fixed frame, and a front side is provided with a through groove. A lead screw sleeve is slidably connected in the through groove, a sliding rod is fixedly connected in the rear through groove, a sliding block is slidably connected on the outer wall of the sliding rod, and a fixed connection is fixed between the sliding block and the lead screw sleeve. The lower end surface of the fixed plate is provided with a mounting groove, the installation groove is provided with a cleaning mechanism for cleaning the worktable, and the upper end surface of the worktable is provided with a driving mechanism for driving the cleaning mechanism, The right side wall of the fixed frame is provided with a moving mechanism for moving the screw sleeve. The utility model cleans the debris on the surface of the worktable to leak out from the material leakage openings on both sides, and then collects them centrally through the collecting frame, which reduces the workload of the staff and provides convenience for the staff.
Description
技术领域technical field
本实用新型涉及废料清理技术领域,尤其涉及一种数控铣床的废料清理装置。The utility model relates to the technical field of waste cleaning, in particular to a waste cleaning device of a numerically controlled milling machine.
背景技术Background technique
铣床(milling machine)主要指用铣刀对工件多种表面进行加工的机床。通常铣刀以旋转运动为主运动,工件和铣刀的移动为进给运动。它可以加工平面、沟槽,也可以加工各种曲面、齿轮等。铣床是用铣刀对工件进行铣削加工的机床。铣床除能铣削平面、沟槽、轮齿、螺纹和花键轴外,还能加工比较复杂的型面,效率较刨床高,在机械制造和修理部门得到广泛应用。Milling machine mainly refers to a machine tool that uses milling cutters to process various surfaces of workpieces. Usually, the milling cutter mainly moves by rotation, and the movement of the workpiece and the milling cutter is the feed movement. It can process planes, grooves, and various curved surfaces, gears, etc. A milling machine is a machine tool that uses a milling cutter to mill a workpiece. In addition to milling planes, grooves, gear teeth, threads and spline shafts, milling machines can also process more complex profiles, with higher efficiency than planers, and are widely used in machinery manufacturing and repair departments.
铣床在对工件加工时,往往会产生很多碎屑,现有技术中这些碎屑一般都是堆积在铣床上,没有设置对其进行清理的清理装置,还需工作人员定期进行清理,增加工作量的同时,降低了工作效率。When the milling machine processes the workpiece, a lot of debris is often generated. In the prior art, these debris are generally accumulated on the milling machine, and there is no cleaning device for cleaning it, and the staff needs to be cleaned regularly, which increases the workload. At the same time, work efficiency is reduced.
实用新型内容Utility model content
本实用新型的目的是为了解决现有技术中存在的缺点,而提出的一种数控铣床的废料清理装置。The purpose of the utility model is to propose a waste cleaning device for a numerically controlled milling machine in order to solve the shortcomings in the prior art.
为了实现上述目的,本实用新型采用了如下技术方案:In order to achieve the above-mentioned purpose, the utility model adopts the following technical solutions:
一种数控铣床的废料清理装置,包括工作台,所述工作台的上端面固定连接有固定框,所述固定框的前后两个侧壁上均开设有通槽,前方所述通槽内滑动连接有丝杠套,后方所述通槽内固定连接有滑杆,所述滑杆的外壁上滑动连接有滑块,所述滑块与丝杠套之间固定连接有固定板,所述固定板的下端面开设有安装槽,所述安装槽内设有用于对工作台进行清理的清扫机构,所述工作台的上端面设有用于对清扫机构进行驱动的驱动机构,所述固定框的右侧侧壁上设有用于对丝杠套进行移动的移动机构。A waste cleaning device for a numerically controlled milling machine, comprising a worktable, the upper end surface of the worktable is fixedly connected with a fixing frame, the front and rear side walls of the fixing frame are both provided with through grooves, and the front through the groove slides inside A lead screw sleeve is connected, a sliding rod is fixedly connected in the through groove at the rear, a sliding block is slidably connected to the outer wall of the sliding rod, and a fixing plate is fixedly connected between the sliding block and the screw sleeve, and the fixed The lower end surface of the plate is provided with an installation groove, and the installation groove is provided with a cleaning mechanism for cleaning the worktable, the upper end surface of the worktable is provided with a driving mechanism for driving the cleaning mechanism, and the fixed frame is provided with a driving mechanism for driving the cleaning mechanism. The right side wall is provided with a moving mechanism for moving the lead screw sleeve.
优选地,所述清扫机构包括一端转动连接在安装槽右侧槽壁上的转动杆,所述转动杆的左侧末端贯穿固定板的左侧侧壁并延伸在外,所述转动杆的外壁上固定连接有滚筒,所述滚筒的外壁上开设有多个周向设置的凹槽,所述凹槽内滑动连接有滑板,所述滑板的远离凹槽槽底的一端设有刷毛。Preferably, the cleaning mechanism includes a rotating rod, one end of which is rotatably connected to the right side wall of the installation groove, the left end of the rotating rod penetrates the left side wall of the fixed plate and extends outside, and the outer wall of the rotating rod A roller is fixedly connected, a plurality of circumferentially arranged grooves are opened on the outer wall of the roller, a slide plate is slidably connected in the groove, and the end of the slide plate away from the bottom of the groove is provided with bristles.
优选地,所述驱动机构包括固定连接在转动杆延伸在外一端末端的齿轮,所述工作台的上端面固定连接有齿板,所述齿板与齿轮呈啮合状态。Preferably, the drive mechanism includes a gear fixedly connected to the end of the rotating rod extending at the outer end, and a toothed plate is fixedly connected to the upper end surface of the worktable, and the toothed plate is in a meshing state with the gear.
优选地,所述移动机构包括固定连接在固定框右侧侧壁上的托板,所述托板的上端面固定连接有动力电机,所述动力电机的输出轴末端固定连接有往复丝杠,所述往复丝杠远离动力电机的一端贯穿转动固定框与通槽的右侧侧壁并转动连接在通槽的左侧侧壁上,所述往复丝杠贯穿丝杠套并与其相配合。Preferably, the moving mechanism includes a support plate fixedly connected to the right side wall of the fixed frame, a power motor is fixedly connected to the upper end surface of the support plate, and a reciprocating screw is fixedly connected to the end of the output shaft of the power motor, The end of the reciprocating screw away from the power motor penetrates the rotating fixed frame and the right side wall of the through slot and is rotatably connected to the left side wall of the through slot.
优选地,所述工作台的上端面与下端面之间开设有两个对称设置的漏料口,所述工作台的下端面固定连接有多个对称设置的支撑脚,多个所述支撑脚的外壁之间通过固定连接有收集框。Preferably, there are two symmetrically arranged leakage openings between the upper end surface and the lower end surface of the workbench, and a plurality of symmetrically arranged support feet are fixedly connected to the lower end surface of the workbench. A collection frame is fixedly connected between the outer walls.
优选地,所述安装槽的两个内壁之间固定连接有挡板。Preferably, a baffle plate is fixedly connected between the two inner walls of the installation groove.
本实用新型的有益效果:The beneficial effects of the present utility model:
1、通过设置移动机构,通过动力电机带着往复丝杠旋转,在往复丝杠与丝杠套的配合下,使丝杠套在通槽内移动,再通过滑杆与滑块的配合下,使固定板在工作台的上方来回移动,将工作台表面的碎屑进行清扫至两侧的漏料口漏出,再通过收集框集中收集,减少工作人员的工作量的同时,为工作人员提供了方便。1. By setting the moving mechanism, the reciprocating screw is rotated by the power motor, and under the cooperation of the reciprocating screw and the screw sleeve, the screw sleeve is moved in the through groove, and then through the cooperation of the sliding rod and the slider, The fixed plate is moved back and forth above the workbench, and the debris on the surface of the workbench is cleaned to leak out from the leakage ports on both sides, and then collected through the collection frame, which reduces the workload of the staff and provides the staff with convenient.
2、通过设置驱动机构和清扫机构,通过固定板的移动,使固定板侧壁上的转动杆与齿轮移动,通过齿轮与齿板的啮合状态下,使齿轮转动,从而使转动杆带着滚筒旋转,使滚筒外壁上的多个刷毛依次与工作台的上端面接触,对工作台上的碎屑进行彻底的清扫,提高工作效率。2. By setting the driving mechanism and the cleaning mechanism, through the movement of the fixed plate, the rotating rod and the gear on the side wall of the fixed plate move, and the gear rotates through the meshing state of the gear and the toothed plate, so that the rotating rod carries the roller. Rotate to make multiple bristles on the outer wall of the drum contact with the upper end face of the worktable in turn, thoroughly clean the debris on the worktable and improve the work efficiency.
附图说明Description of drawings
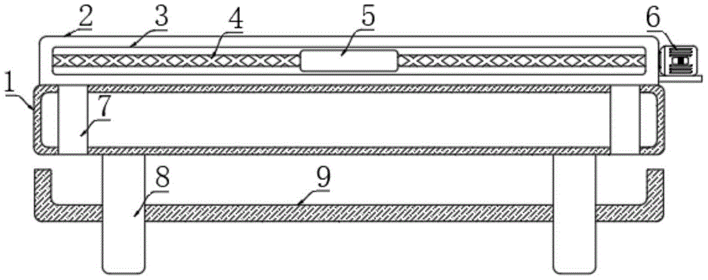
图1为本实用新型的整体结构主视示意图;1 is a schematic front view of the overall structure of the present invention;
图2为本实用新型底座的结构俯视示意图;2 is a schematic top view of the structure of the base of the present invention;
图3为本实用新型固定板的内部结构示意图。FIG. 3 is a schematic diagram of the internal structure of the fixing plate of the present invention.
图中:1工作台、2固定框、3通槽、4往复丝杠、5丝杠套、6动力电机、7漏料口、8支撑脚、9收集框、10固定板、11滑杆、12移动块、13齿板、14转动杆、15齿轮、16安装槽、17滚筒、18凹槽、19刷毛、20挡板。In the picture: 1 worktable, 2 fixed frame, 3 through slot, 4 reciprocating screw, 5 screw sleeve, 6 power motor, 7 leakage port, 8 supporting feet, 9 collecting frame, 10 fixing plate, 11 sliding rod, 12 moving blocks, 13 tooth plates, 14 rotating rods, 15 gears, 16 installation slots, 17 rollers, 18 grooves, 19 bristles, 20 baffles.
具体实施方式Detailed ways
下面将结合本实用新型实施例中的附图,对本实用新型实施例中的技术方案进行清楚、完整地描述,显然,所描述的实施例仅仅是本实用新型一部分实施例,而不是全部的实施例。The technical solutions in the embodiments of the present utility model will be clearly and completely described below with reference to the accompanying drawings in the embodiments of the present utility model. Obviously, the described embodiments are only a part of the embodiments of the present utility model, rather than all the implementations. example.
在本实用新型的描述中,需要理解的是,术语“上”、“下”、“前”、“后”、“左”、“右”、“顶”、“底”、“内”、“外”等指示的方位或位置关系为基于附图所示的方位或位置关系,仅是为了便于描述本实用新型和简化描述,而不是指示或暗示所指的装置或元件必须具有特定的方位、以特定的方位构造和操作,因此不能理解为对本实用新型的限制。In the description of the present invention, it should be understood that the terms "upper", "lower", "front", "rear", "left", "right", "top", "bottom", "inside", The orientation or positional relationship indicated by "outside" is based on the orientation or positional relationship shown in the accompanying drawings, which is only for the convenience of describing the present invention and simplifying the description, rather than indicating or implying that the indicated device or element must have a specific orientation , are constructed and operated in a specific orientation, and therefore should not be construed as a limitation of the present invention.
参照图1-3,一种数控铣床的废料清理装置,包括工作台1,工作台1的上端面固定连接有固定框2,固定框2的前后两个侧壁上均开设有通槽3,前方通槽3内滑动连接有丝杠套5,后方通槽3内固定连接有滑杆11,滑杆11的外壁上滑动连接有滑块12,滑块12与丝杠套5之间固定连接有固定板10,固定板10的下端面开设有安装槽16,安装槽16内设有用于对工作台1进行清理的清扫机构,清扫机构包括一端转动连接在安装槽16右侧槽壁上的转动杆14,转动杆14的左侧末端贯穿固定板10的左侧侧壁并延伸在外,转动杆14的外壁上固定连接有滚筒17,滚筒17的外壁上开设有多个周向设置的凹槽18,凹槽18内滑动连接有滑板,滑板的远离凹槽18槽底的一端设有刷毛19,使滚筒17外壁上的多个刷毛19依次与工作台1的上端面接触,对工作台1上的碎屑进行彻底的清扫,提高工作效率。1-3, a waste cleaning device of a numerically controlled milling machine includes a workbench 1, a
工作台1的上端面设有用于对清扫机构进行驱动的驱动机构,驱动机构包括固定连接在转动杆14延伸在外一端末端的齿轮15,工作台1的上端面固定连接有齿板13,齿板13与齿轮15呈啮合状态,通过固定板10的移动,使固定板10侧壁上的转动杆14与齿轮15移动,通过齿轮15与齿板13的啮合状态下,使齿轮15转动,从而使转动杆14带着滚筒17旋转。The upper end surface of the worktable 1 is provided with a driving mechanism for driving the cleaning mechanism. The driving mechanism includes a gear 15 fixedly connected to the end of the rotating
固定框2的右侧侧壁上设有用于对丝杠套5进行移动的移动机构,移动机构包括固定连接在固定框2右侧侧壁上的托板,托板的上端面固定连接有动力电机6,动力电机6的输出轴末端固定连接有往复丝杠4,往复丝杠4远离动力电机6的一端贯穿转动固定框2与通槽3的右侧侧壁并转动连接在通槽3的左侧侧壁上,往复丝杠4贯穿丝杠套5并与其相配合,通过动力电机带着往复丝杠4旋转,在往复丝杠4与丝杠套5的配合下,使丝杠套5在通槽3内移动,再通过滑杆11与滑块12的配合下,使固定板10在工作台1的上方来回移动。The right side wall of the
工作台1的上端面与下端面之间开设有两个对称设置的漏料口7,工作台1的下端面固定连接有多个对称设置的支撑脚8,多个支撑脚8的外壁之间通过固定连接有收集框9,对碎屑进行集中收集,为工作人员带来方便。There are two symmetrically arranged
安装槽16的两个内壁之间固定连接有挡板20,挡板20的设置,对刷毛19上残存的碎屑进行清理,提高刷毛的干净程度,提高清理效果。A
本实用新型使用时,启动动力电机5,使其带着往复丝杠4转动,通过往复丝杠4与丝杠套5的配合以及滑杆11与滑块12的配合下,使固定板10随着滑块12以及丝杠套5一起移动,当固定板10移动的过程中,其外壁上的转动杆14与齿轮15也随之一起移动,再通过齿轮15与齿板13的啮合状态,使齿轮15旋转,从而使转动杆14带着滚筒17旋转,使滚筒17外壁上的多个刷毛19依次对工作台1上的碎屑进行清扫,清扫后的碎屑通过两个漏屑口7落入至收集框9内进行集中收集。When the utility model is in use, the
以上所述,仅为本实用新型较佳的具体实施方式,但本实用新型的保护范围并不局限于此,任何熟悉本技术领域的技术人员在本实用新型揭露的技术范围内,根据本实用新型的技术方案及其实用新型构思加以等同替换或改变,都应涵盖在本实用新型的保护范围之内。The above description is only a preferred embodiment of the present invention, but the protection scope of the present invention is not limited to this. Equivalent replacement or modification of the new technical solution and its utility model concept shall be included within the protection scope of the present utility model.
Claims (6)
Priority Applications (1)
| Application Number | Priority Date | Filing Date | Title |
|---|---|---|---|
| CN202123240905.0U CN217224682U (en) | 2021-12-22 | 2021-12-22 | Waste cleaning device of numerically controlled fraise machine |
Applications Claiming Priority (1)
| Application Number | Priority Date | Filing Date | Title |
|---|---|---|---|
| CN202123240905.0U CN217224682U (en) | 2021-12-22 | 2021-12-22 | Waste cleaning device of numerically controlled fraise machine |
Publications (1)
| Publication Number | Publication Date |
|---|---|
| CN217224682U true CN217224682U (en) | 2022-08-19 |
Family
ID=82824863
Family Applications (1)
| Application Number | Title | Priority Date | Filing Date |
|---|---|---|---|
| CN202123240905.0U Expired - Fee Related CN217224682U (en) | 2021-12-22 | 2021-12-22 | Waste cleaning device of numerically controlled fraise machine |
Country Status (1)
| Country | Link |
|---|---|
| CN (1) | CN217224682U (en) |
Cited By (1)
| Publication number | Priority date | Publication date | Assignee | Title |
|---|---|---|---|---|
| CN117984149A (en) * | 2024-03-16 | 2024-05-07 | 山东臻尚智能装备有限公司 | A horizontal machine tool with a tool feeding mechanism |
-
2021
- 2021-12-22 CN CN202123240905.0U patent/CN217224682U/en not_active Expired - Fee Related
Cited By (1)
| Publication number | Priority date | Publication date | Assignee | Title |
|---|---|---|---|---|
| CN117984149A (en) * | 2024-03-16 | 2024-05-07 | 山东臻尚智能装备有限公司 | A horizontal machine tool with a tool feeding mechanism |
Similar Documents
| Publication | Publication Date | Title |
|---|---|---|
| CN217290575U (en) | Novel numerical control planer type milling machine structure | |
| CN118559460B (en) | Gear processing equipment | |
| CN115635357A (en) | Numerical control machine tool capable of machining at double stations and machining method | |
| CN217224682U (en) | Waste cleaning device of numerically controlled fraise machine | |
| CN221696173U (en) | A CNC milling machine capable of removing dust while machining | |
| CN115488686A (en) | Chip removal system with detachable chip removal guide module and operation method | |
| CN218397188U (en) | Mechanical sealing part machining milling machine capable of performing centralized processing on chippings | |
| CN216298734U (en) | Large-scale numerical control planer-type milling machine convenient to collect sewage | |
| CN215880955U (en) | Large-scale numerical control is piece cleaning device for planer-type milling machine | |
| CN212704596U (en) | Multi-station milling machine | |
| CN211966079U (en) | A waste cleaning device for CNC prototype production and processing | |
| CN212043552U (en) | An easy-to-adjust machine tool table | |
| CN213438568U (en) | Waste collecting device for milling machine | |
| CN220740360U (en) | Feeding device of pneumatic milling machine | |
| CN211588788U (en) | Automatic cleaning mechanism of numerical control gear hobbing machine | |
| CN220388798U (en) | Planer-type milling machine base chip removal structure | |
| CN214212348U (en) | Numerical control double-sided milling machine for hook tail frame outer contour | |
| CN221735437U (en) | A multi-station milling machine for sheet metal processing | |
| CN219900516U (en) | Milling device for gear machining and manufacturing | |
| CN223811637U (en) | Gear tooth fillet milling tool | |
| CN222450175U (en) | An operating table | |
| CN222492427U (en) | Aluminum profile cutting machine with processing garrulous end clearance mechanism | |
| CN219310808U (en) | Self-cleaning table top for vertical milling machine | |
| CN221539051U (en) | Vertical turret milling machine | |
| CN222932204U (en) | Multifunctional galvanized sheet material punching and cutting integrated machine |
Legal Events
| Date | Code | Title | Description |
|---|---|---|---|
| GR01 | Patent grant | ||
| GR01 | Patent grant | ||
| CF01 | Termination of patent right due to non-payment of annual fee | ||
| CF01 | Termination of patent right due to non-payment of annual fee |
Granted publication date: 20220819 |
