CN217194320U - 一种锥形零件加工用无心磨床 - Google Patents
一种锥形零件加工用无心磨床 Download PDFInfo
- Publication number
- CN217194320U CN217194320U CN202123123711.2U CN202123123711U CN217194320U CN 217194320 U CN217194320 U CN 217194320U CN 202123123711 U CN202123123711 U CN 202123123711U CN 217194320 U CN217194320 U CN 217194320U
- Authority
- CN
- China
- Prior art keywords
- fixed
- frame
- limit
- clamping
- cylinder
- Prior art date
- Legal status (The legal status is an assumption and is not a legal conclusion. Google has not performed a legal analysis and makes no representation as to the accuracy of the status listed.)
- Expired - Fee Related
Links
- 230000007246 mechanism Effects 0.000 claims abstract description 30
- 238000000227 grinding Methods 0.000 claims description 16
- 230000005484 gravity Effects 0.000 description 4
- 238000003754 machining Methods 0.000 description 4
- 239000002994 raw material Substances 0.000 description 4
- 238000000034 method Methods 0.000 description 3
- 238000003801 milling Methods 0.000 description 3
- 230000003213 activating effect Effects 0.000 description 2
- 238000012986 modification Methods 0.000 description 2
- 230000004048 modification Effects 0.000 description 2
- 230000009286 beneficial effect Effects 0.000 description 1
- 125000004122 cyclic group Chemical group 0.000 description 1
- 230000000694 effects Effects 0.000 description 1
- 238000005516 engineering process Methods 0.000 description 1
- 239000000463 material Substances 0.000 description 1
Images
Classifications
-
- Y—GENERAL TAGGING OF NEW TECHNOLOGICAL DEVELOPMENTS; GENERAL TAGGING OF CROSS-SECTIONAL TECHNOLOGIES SPANNING OVER SEVERAL SECTIONS OF THE IPC; TECHNICAL SUBJECTS COVERED BY FORMER USPC CROSS-REFERENCE ART COLLECTIONS [XRACs] AND DIGESTS
- Y02—TECHNOLOGIES OR APPLICATIONS FOR MITIGATION OR ADAPTATION AGAINST CLIMATE CHANGE
- Y02P—CLIMATE CHANGE MITIGATION TECHNOLOGIES IN THE PRODUCTION OR PROCESSING OF GOODS
- Y02P70/00—Climate change mitigation technologies in the production process for final industrial or consumer products
- Y02P70/10—Greenhouse gas [GHG] capture, material saving, heat recovery or other energy efficient measures, e.g. motor control, characterised by manufacturing processes, e.g. for rolling metal or metal working
Landscapes
- Grinding Of Cylindrical And Plane Surfaces (AREA)
Abstract
本实用新型公开了一种锥形零件加工用无心磨床,包括固接在无心磨床支架底部的固定架,固定架的顶部设有动力组件,动力组件转动连接有滑动架,滑动架滑动连接在固定架的顶部,滑动架远离固定架的一侧固接有若干支撑柱,支撑柱的顶部固接有横梁,横梁和支撑柱上设有夹取机构;滑动架远离固定架的一侧中部固接有气缸,气缸的底部固接有限位架,限位架的两侧连接有夹取机构,夹取机构底部的一侧设有集料轨,集料轨固接在固定架底部的一侧。
Description
技术领域
本实用新型涉及机械设备技术领域,具体为一种锥形零件加工用无心磨床。
背景技术
无心磨床,是不需要采用工件的轴心而实行磨削的一类磨床,主要由磨削砂轮、调整轮和支架三个机构组成,是利用磨削砂轮和调整轮对夹在中间的加工件进行磨削,具有可以实现循环磨削的作用。
公开号为CN204053653U的授权中国实用新型公开了一种锥形工件加工无心磨床,包括:底座、支撑件、第一刀架、第一螺杆、磨轮、水平转动台、转轴、移动机台、第二螺杆、工件支撑架、第二刀架、调整轮、第三螺杆、两个扭簧、两个第一固定销和两个第二固定销;支撑件安装在底座上,第一刀架可滑动地安装在支撑件上并连接第一螺杆,磨轮安装在第一刀架上;水平转动台通过转轴安装在底座上并可绕转轴在水平面上旋转,移动机台可滑动地安装在水平转动台上并连接第二螺杆;第二刀架通过第三螺杆可滑动地安装在移动机台上,调整轮安装在第二刀架上;支撑工件的工件支撑架安装在移动机台上并位于第一刀架和第二刀架之间。本实用新型提高了加工精度,节约零部件更换成本。
该实用提高了加工精度,但是在加工完成后,对于零件的上料和下料较为不便,同时锥形零件的结构,因其重力不多集中在尾部,容易在加工结束分开磨削砂轮和调整轮时在重力作用下滑落,导致锥形头跌落,进而导致变形报废,为此我们提出一种锥形零件加工用无心磨床用于解决上述问题。
实用新型内容
本实用新型的目的在于提供一种锥形零件加工用无心磨床,以解决上述背景技术中提出的问题。
为实现上述目的,本实用新型提供如下技术方案:一种锥形零件加工用无心磨床,包括固接在无心磨床支架底部的固定架,所述固定架的顶部设有动力组件,所述动力组件转动连接有滑动架,所述滑动架滑动连接在固定架的顶部,所述滑动架远离固定架的一侧固接有若干支撑柱,所述支撑柱的顶部固接有横梁,所述横梁和支撑柱上设有夹取机构;
所述滑动架远离固定架的一侧中部固接有气缸,所述气缸的底部固接有限位架,所述限位架的两侧连接有夹取机构,所述夹取机构底部的一侧设有集料轨,所述集料轨固接在固定架底部的一侧。
优选的,所述动力组件包括正反电机,所述正反电机固接在固定架的顶部一侧,所述正反电机的输出轴转动穿过固定架并且同轴固接有丝杠,所述丝杠远离正反电机的一端转动安装在固定架上并且转动外套所述滑动架,所述丝杠的底部设有限位杆,所述限位杆的两端固接在固定架上并且限位杆滑动外套所述滑动架。
优选的,所述夹取机构包括驱动电机,所述驱动电机固接在横梁的两端,所述驱动电机的底部电机轴转动穿过横梁并且同轴固接有转轴,所述转轴的底端通过轴承转动穿过支撑柱和限位架后延伸至壳体内并且同轴固接有锥蜗杆,所述壳体固接在限位架的底部两侧,所述壳体的顶端内壁转动安装有螺纹杆,所述螺纹杆的中部同轴固接有锥蜗轮,所述锥蜗轮啮合连接所述锥蜗杆,所述螺纹杆的两侧转动外套有夹臂,所述夹臂的底端相对的侧面固接有夹取块,所述壳体的底端内壁固接有限位滑杆,所述限位滑杆滑动外套所述夹臂。
优选的,所述壳体内部中空并且底端设有开口,所述限位滑杆的中部同轴固接有限位块,所述螺纹杆中部两侧的螺纹旋向相反。
优选的,所述夹取块包括电磁铁和限位筒,所述电磁铁固接在一个夹臂的底端,所述限位筒固接在另一个夹臂的底端,所述电磁铁的直径大于限位筒的直径,所述限位筒的一侧内壁固接有弹簧,所述弹簧远离限位筒内壁的一端固接有缓冲块,所述缓冲块滑动安装在限位筒内。
优选的,所述集料轨为斜向下的坡道,所述集料轨的两端固接有挡板,所述集料轨的中部贯穿设有矩形通槽,所述集料轨的一端内部固接有缓冲板,所述缓冲板的横向中线与夹臂的横向中线在同一直线上。
与现有技术相比,本实用新型的有益效果是:通过动力组件带动滑动架的往复横移,进而带动夹取机构进行原料的夹取、投放和成品的收取操作,方便一体化的工作,同时夹臂端部的电磁块配合限位筒可以对锥形零件进行精准夹取,同时对锥形零件的锥形端进行防护,集料轨内部的缓冲板对锥形零件的锥形端进行防护,避免成品收集时,锥形端部受损,同时集料轨中部的通槽可以对锥形零件进行端部区分,方便后续收集放置。
附图说明
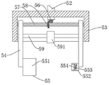
图1为本实用新型结构示意图;
图2为本实用新型中夹取机构的壳体剖视图。
图中:1、固定架;2、动力组件;21、正反电机;22、丝杠;23、限位杆;3、滑动架;31、横梁;32、支撑柱;4、气缸;5、夹取机构;51、驱动电机;52、转轴;53、壳体;54、夹臂;55、夹取块;551、电磁铁;552、限位筒;553、弹簧;554、缓冲块;56、锥蜗杆;57、螺纹杆;58、锥蜗轮;59、限位滑杆;591、限位块;6、限位架;7、集料轨;71、挡板;72、通槽;73、缓冲板。
具体实施方式
下面将结合本实用新型实施例中的附图,对本实用新型实施例中的技术方案进行清楚、完整地描述,显然,所描述的实施例仅仅是本实用新型一部分实施例,而不是全部的实施例。基于本实用新型中的实施例,本领域普通技术人员在没有做出创造性劳动前提下所获得的所有其他实施例,都属于本实用新型保护的范围。
请参阅图1-2,本实用新型提供一种技术方案:一种锥形零件加工用无心磨床,包括固接在无心磨床支架底部的固定架1,固定架1的顶部设有动力组件2,动力组件2包括正反电机21,正反电机21固接在固定架1的顶部一侧,正反电机21的输出轴转动穿过固定架1并且同轴固接有丝杠22,丝杠22远离正反电机21的一端转动安装在固定架1上并且转动外套滑动架3,丝杠22的底部设有限位杆23,限位杆23的两端固接在固定架1上并且限位杆23滑动外套滑动架3。使用时,固定架1固定安装在无心磨床的支架底部,同时保证滑动架3位于无心磨床支架的正上方,在位于无心磨床一侧的固定架1上固接集料轨7,另一端固接供料装置,通过启动固接在固定架1顶部一端的正反电机21带动丝杠22转动,丝杠22转动带动外套的滑动架3移动,进而调整夹取机构5所处位置,方便夹取机构5对无心磨床进行供料,通过启动气缸4带动底部固接的限位架6上升或者下降,进而可以调整夹取机构5夹持的高度,方便夹取机构5对无心磨床进行供料和取料;
如图1所示,滑动架3滑动连接在固定架1的顶部,滑动架3远离固定架1的一侧固接有若干支撑柱32,支撑柱32的顶部固接有横梁31,横梁31和支撑柱32上设有夹取机构5;
如图1和图2所示,滑动架3远离固定架1的一侧中部固接有气缸4,气缸4的底部固接有限位架6,限位架6的两侧连接有夹取机构5,夹取机构5包括驱动电机51,驱动电机51固接在横梁31的两端,驱动电机51的底部电机轴转动穿过横梁31并且同轴固接有转轴52,转轴52的底端通过轴承转动穿过支撑柱32和限位架6后延伸至壳体53内并且同轴固接有锥蜗杆56,壳体53固接在限位架6的底部两侧,壳体53的顶端内壁转动安装有螺纹杆57,螺纹杆57的中部同轴固接有锥蜗轮58,锥蜗轮58啮合连接锥蜗杆56,螺纹杆57的两侧转动外套有夹臂54,夹臂54的底端相对的侧面固接有夹取块55,壳体53的底端内壁固接有限位滑杆59,限位滑杆59滑动外套夹臂54。壳体53内部中空并且底端设有开口,限位滑杆59的中部同轴固接有限位块591,螺纹杆57中部两侧的螺纹旋向相反,相反的螺纹旋向可以带动夹臂54相互远离或者相互靠近。夹取块55包括电磁铁551和限位筒552,电磁铁551固接在一个夹臂54的底端,限位筒552固接在另一个夹臂54的底端,电磁铁551的直径大于限位筒552的直径,限位筒552的一侧内壁固接有弹簧553,弹簧553远离限位筒552内壁的一端固接有缓冲块554,缓冲块554滑动安装在限位筒552内。通过启动夹取机构5的驱动电机51带动底端同轴固接的转轴52转动,转轴52分别转动穿过支撑柱32、限位架6后带动底端固接的锥蜗杆56转动,锥蜗杆56转动安装在壳体53内,锥蜗杆56通过啮合连接的锥蜗轮58带动与锥蜗轮58同轴固接的螺纹杆57转动,螺纹杆57进而带动转动外套的两侧夹臂54相互靠近或者相互远离,相互靠近的夹臂54,通过底端固接的夹取块55对原料和成品进行夹取操作,相互远离的夹臂54,通过底端固接的夹取块55对原料和成品进行放置和收集操作,夹取块55的电磁铁551通电后可以对零件进行吸附,同时配合限位筒552对零件进行进一步紧固,避免移动过程中发生掉落,电磁铁551断电后,对零件失去磁力,零件在重力作用下掉落在无心磨床支架上进行磨铣,磨铣完成后的成品锥形零件,通过电磁铁551配合限位筒552对锥形零件进行夹取,限位筒552内的缓冲块554配合弹簧553对锥形零件的锥形端进行保护,防止移动或者夹取过程中受损;
如图1所示,夹取机构5底部的一侧设有集料轨7,集料轨7固接在固定架1底部的一侧。集料轨7为斜向下的坡道,集料轨7的两端固接有挡板71,集料轨7的中部贯穿设有矩形通槽72,集料轨7的一端内部固接有缓冲板73,缓冲板73的横向中线与夹臂54的横向中线在同一直线上。夹取的成品锥形零件放置在集料轨7内,缓冲板73可以对成品零件进行缓冲,避免放置时受损,集料轨7中部的通槽72可以使锥形零件的锥形部卡入,方便对锥形零件的端部集中收集。
工作原理:本实用新型使用时,固定架1固定安装在无心磨床的支架底部,同时保证滑动架3位于无心磨床支架的正上方,在位于无心磨床一侧的固定架1上固接集料轨7,另一端固接供料装置,通过启动固接在固定架1顶部一端的正反电机21带动丝杠22转动,丝杠22转动带动外套的滑动架3移动,进而调整夹取机构5所处位置,方便夹取机构5对无心磨床进行供料,通过启动气缸4带动底部固接的限位架6上升或者下降,进而可以调整夹取机构5夹持的高度,方便夹取机构5对无心磨床进行供料和取料;通过启动夹取机构5的驱动电机51带动底端同轴固接的转轴52转动,转轴52分别转动穿过支撑柱32、限位架6后带动底端固接的锥蜗杆56转动,锥蜗杆56转动安装在壳体53内,锥蜗杆56通过啮合连接的锥蜗轮58带动与锥蜗轮58同轴固接的螺纹杆57转动,螺纹杆57进而带动转动外套的两侧夹臂54相互靠近或者相互远离,相互靠近的夹臂54,通过底端固接的夹取块55对原料和成品进行夹取操作,相互远离的夹臂54,通过底端固接的夹取块55对原料和成品进行放置和收集操作,夹取块55的电磁铁551通电后可以对零件进行吸附,同时配合限位筒552对零件进行进一步紧固,避免移动过程中发生掉落,电磁铁551断电后,对零件失去磁力,零件在重力作用下掉落在无心磨床支架上进行磨铣,磨铣完成后的成品锥形零件,通过电磁铁551配合限位筒552对锥形零件进行夹取,限位筒552内的缓冲块554配合弹簧553对锥形零件的锥形端进行保护,防止移动或者夹取过程中受损;夹取的成品锥形零件放置在集料轨7内,缓冲板73可以对成品零件进行缓冲,避免放置时受损,集料轨7中部的通槽72可以使锥形零件的锥形部卡入,方便对锥形零件的端部集中收集。
尽管已经示出和描述了本实用新型的实施例,对于本领域的普通技术人员而言,可以理解在不脱离本实用新型的原理和精神的情况下可以对这些实施例进行多种变化、修改、替换和变型,本实用新型的范围由所附权利要求及其等同物限定。
Claims (6)
1.一种锥形零件加工用无心磨床,包括固接在无心磨床支架底部的固定架(1),其特征在于:所述固定架(1)的顶部设有动力组件(2),所述动力组件(2)转动连接有滑动架(3),所述滑动架(3)滑动连接在固定架(1)的顶部,所述滑动架(3)远离固定架(1)的一侧固接有若干支撑柱(32),所述支撑柱(32)的顶部固接有横梁(31),所述横梁(31)和支撑柱(32)上设有夹取机构(5);
所述滑动架(3)远离固定架(1)的一侧中部固接有气缸(4),所述气缸(4)的底部固接有限位架(6),所述限位架(6)的两侧连接有夹取机构(5),所述夹取机构(5)底部的一侧设有集料轨(7),所述集料轨(7)固接在固定架(1)底部的一侧。
2.根据权利要求1所述的一种锥形零件加工用无心磨床,其特征在于:所述动力组件(2)包括正反电机(21),所述正反电机(21)固接在固定架(1)的顶部一侧,所述正反电机(21)的输出轴转动穿过固定架(1)并且同轴固接有丝杠(22),所述丝杠(22)远离正反电机(21)的一端转动安装在固定架(1)上并且转动外套所述滑动架(3),所述丝杠(22)的底部设有限位杆(23),所述限位杆(23)的两端固接在固定架(1)上并且限位杆(23)滑动外套所述滑动架(3)。
3.根据权利要求1所述的一种锥形零件加工用无心磨床,其特征在于:所述夹取机构(5)包括驱动电机(51),所述驱动电机(51)固接在横梁(31)的两端,所述驱动电机(51)的底部电机轴转动穿过横梁(31)并且同轴固接有转轴(52),所述转轴(52)的底端通过轴承转动穿过支撑柱(32)和限位架(6)后延伸至壳体(53)内并且同轴固接有锥蜗杆(56),所述壳体(53)固接在限位架(6)的底部两侧,所述壳体(53)的顶端内壁转动安装有螺纹杆(57),所述螺纹杆(57)的中部同轴固接有锥蜗轮(58),所述锥蜗轮(58)啮合连接所述锥蜗杆(56),所述螺纹杆(57)的两侧转动外套有夹臂(54),所述夹臂(54)的底端相对的侧面固接有夹取块(55),所述壳体(53)的底端内壁固接有限位滑杆(59),所述限位滑杆(59)滑动外套所述夹臂(54)。
4.根据权利要求3所述的一种锥形零件加工用无心磨床,其特征在于:所述壳体(53)内部中空并且底端设有开口,所述限位滑杆(59)的中部同轴固接有限位块(591),所述螺纹杆(57)中部两侧的螺纹旋向相反。
5.根据权利要求3所述的一种锥形零件加工用无心磨床,其特征在于:所述夹取块(55)包括电磁铁(551)和限位筒(552),所述电磁铁(551)固接在一个夹臂(54)的底端,所述限位筒(552)固接在另一个夹臂(54)的底端,所述电磁铁(551)的直径大于限位筒(552)的直径,所述限位筒(552)的一侧内壁固接有弹簧(553),所述弹簧(553)远离限位筒(552)内壁的一端固接有缓冲块(554),所述缓冲块(554)滑动安装在限位筒(552)内。
6.根据权利要求3所述的一种锥形零件加工用无心磨床,其特征在于:所述集料轨(7)为斜向下的坡道,所述集料轨(7)的两端固接有挡板(71),所述集料轨(7)的中部贯穿设有矩形通槽(72),所述集料轨(7)的一端内部固接有缓冲板(73),所述缓冲板(73)的横向中线与夹臂(54)的横向中线在同一直线上。
Priority Applications (1)
| Application Number | Priority Date | Filing Date | Title |
|---|---|---|---|
| CN202123123711.2U CN217194320U (zh) | 2021-12-14 | 2021-12-14 | 一种锥形零件加工用无心磨床 |
Applications Claiming Priority (1)
| Application Number | Priority Date | Filing Date | Title |
|---|---|---|---|
| CN202123123711.2U CN217194320U (zh) | 2021-12-14 | 2021-12-14 | 一种锥形零件加工用无心磨床 |
Publications (1)
| Publication Number | Publication Date |
|---|---|
| CN217194320U true CN217194320U (zh) | 2022-08-16 |
Family
ID=82782189
Family Applications (1)
| Application Number | Title | Priority Date | Filing Date |
|---|---|---|---|
| CN202123123711.2U Expired - Fee Related CN217194320U (zh) | 2021-12-14 | 2021-12-14 | 一种锥形零件加工用无心磨床 |
Country Status (1)
| Country | Link |
|---|---|
| CN (1) | CN217194320U (zh) |
Cited By (1)
| Publication number | Priority date | Publication date | Assignee | Title |
|---|---|---|---|---|
| CN119681724A (zh) * | 2024-12-18 | 2025-03-25 | 青岛华冶高温材料有限公司 | 一种塞棒加工用打磨装置 |
-
2021
- 2021-12-14 CN CN202123123711.2U patent/CN217194320U/zh not_active Expired - Fee Related
Cited By (1)
| Publication number | Priority date | Publication date | Assignee | Title |
|---|---|---|---|---|
| CN119681724A (zh) * | 2024-12-18 | 2025-03-25 | 青岛华冶高温材料有限公司 | 一种塞棒加工用打磨装置 |
Similar Documents
| Publication | Publication Date | Title |
|---|---|---|
| CN212169845U (zh) | 一种固定板的打磨设备 | |
| CN114905358B (zh) | 一种五轴联动自动磨边机 | |
| CN217194320U (zh) | 一种锥形零件加工用无心磨床 | |
| CN108109509A (zh) | 教学型车磨一体式机床 | |
| CN209304094U (zh) | 一种多工位钻床 | |
| CN213225376U (zh) | 一种石墨轴承内圆精加工的超声振动磨削装置 | |
| CN217122405U (zh) | 一种具有自动打磨毛刺功能的切割机器人 | |
| CN218082150U (zh) | 一种电熔砖磨砖机的砖体夹持机构 | |
| CN218397061U (zh) | 一种便于对零件多角度夹持的机床 | |
| CN215547269U (zh) | 一种可自动上下料的外圆磨床 | |
| CN209811899U (zh) | 一种专用高效外圆磨床 | |
| CN209394510U (zh) | 一种定向旋转自动打磨机 | |
| CN218613400U (zh) | 一种工件研磨装置 | |
| CN222037665U (zh) | 一种便于加工曲面的龙门加工中心 | |
| CN216327045U (zh) | 用于外圆磨床加工的自动进给装置 | |
| CN217045747U (zh) | 一种齿轮去毛刺设备 | |
| CN219212760U (zh) | 一种外圆磨床的夹料机构 | |
| CN213615283U (zh) | 一种任意角度加工设备 | |
| CN218017467U (zh) | 一种内圆磨床 | |
| CN220330783U (zh) | 一种无心磨床支撑机构 | |
| CN221560803U (zh) | 一种机械制造模具表面加工处理装置 | |
| CN221495347U (zh) | 一种特种材料加工用双工位立式内圆磨床 | |
| CN220718295U (zh) | 一种集成控制板焊接夹持工装 | |
| CN218874785U (zh) | 一种锥面磨床 | |
| CN218575724U (zh) | 一种计算机面框打磨设备 |
Legal Events
| Date | Code | Title | Description |
|---|---|---|---|
| GR01 | Patent grant | ||
| GR01 | Patent grant | ||
| CF01 | Termination of patent right due to non-payment of annual fee | ||
| CF01 | Termination of patent right due to non-payment of annual fee |
Granted publication date: 20220816 |