CN217192881U - An efficient and stable hydraulic shearing machine - Google Patents
An efficient and stable hydraulic shearing machine Download PDFInfo
- Publication number
- CN217192881U CN217192881U CN202220231489.3U CN202220231489U CN217192881U CN 217192881 U CN217192881 U CN 217192881U CN 202220231489 U CN202220231489 U CN 202220231489U CN 217192881 U CN217192881 U CN 217192881U
- Authority
- CN
- China
- Prior art keywords
- block
- movable
- face
- shearing machine
- sides
- Prior art date
- Legal status (The legal status is an assumption and is not a legal conclusion. Google has not performed a legal analysis and makes no representation as to the accuracy of the status listed.)
- Expired - Fee Related
Links
- 238000010008 shearing Methods 0.000 title claims abstract description 25
- 238000006073 displacement reaction Methods 0.000 claims abstract description 9
- 238000009434 installation Methods 0.000 abstract description 5
- 238000000034 method Methods 0.000 description 6
- 230000000694 effects Effects 0.000 description 4
- 238000010586 diagram Methods 0.000 description 2
- 239000002184 metal Substances 0.000 description 2
- 238000012986 modification Methods 0.000 description 2
- 230000004048 modification Effects 0.000 description 2
- 230000009286 beneficial effect Effects 0.000 description 1
Images
Classifications
-
- Y—GENERAL TAGGING OF NEW TECHNOLOGICAL DEVELOPMENTS; GENERAL TAGGING OF CROSS-SECTIONAL TECHNOLOGIES SPANNING OVER SEVERAL SECTIONS OF THE IPC; TECHNICAL SUBJECTS COVERED BY FORMER USPC CROSS-REFERENCE ART COLLECTIONS [XRACs] AND DIGESTS
- Y02—TECHNOLOGIES OR APPLICATIONS FOR MITIGATION OR ADAPTATION AGAINST CLIMATE CHANGE
- Y02P—CLIMATE CHANGE MITIGATION TECHNOLOGIES IN THE PRODUCTION OR PROCESSING OF GOODS
- Y02P70/00—Climate change mitigation technologies in the production process for final industrial or consumer products
- Y02P70/10—Greenhouse gas [GHG] capture, material saving, heat recovery or other energy efficient measures, e.g. motor control, characterised by manufacturing processes, e.g. for rolling metal or metal working
Landscapes
- Shearing Machines (AREA)
Abstract
本实用新型公开了一种高效、稳定型液压剪板机,包括支承底块,所述支承底块的上端面设置有固定刀头,所述固定刀头的上部两侧设置有一组安装块,所述安装块内设有活动腔,活动腔内设置有活动组件,两侧一组所述安装块的上端面插接设置有限位架,所述限位架的两侧且在支承底块端面设置有立板,两侧所述立板间滑动设置有机架,所述机架的下端面组合设置有活动刀头,一侧所述机架的外端设置有液压位移动力机构,所述活动组件包括第一梯形楔块和第二梯形楔块,所述第一梯形楔块的上端与限位架的一侧支撑段焊接设置,所述第二梯形楔块的倾斜面与所述第一梯形楔块的斜面相接触抵接。本实用新型实现了稳定、高效性剪板,提高了剪板的加工效率。
The utility model discloses a high-efficiency and stable hydraulic shearing machine, which comprises a support bottom block, a fixed cutter head is arranged on the upper end face of the support bottom block, and a set of installation blocks are arranged on both sides of the upper part of the fixed cutter head, The mounting block is provided with a movable cavity, the movable cavity is provided with a movable assembly, and the upper end faces of a group of the mounting blocks on both sides are inserted with a limit frame, and the two sides of the limit frame are on the end face of the supporting bottom block. A vertical plate is provided, a frame is slidably arranged between the vertical plates on both sides, the lower end face of the frame is combined with a movable cutter head, and the outer end of the frame on one side is provided with a hydraulic displacement power mechanism, the The movable assembly includes a first trapezoid wedge and a second trapezoid wedge, the upper end of the first trapezoid wedge is welded to one side support section of the limit frame, and the inclined surface of the second trapezoid wedge is connected to the first trapezoid wedge. The inclined surfaces of a trapezoidal wedge are in contact with each other. The utility model realizes stable and efficient shearing and improves the processing efficiency of shearing.
Description
技术领域technical field
本实用新型涉及剪板机械相关设备技术领域,具体为一种高效、稳定型液压剪板机。The utility model relates to the technical field of shearing machinery related equipment, in particular to an efficient and stable hydraulic shearing machine.
背景技术Background technique
剪板机一般是借于运动的上刀片和固定的下刀片,采用合理的刀片间隙,对各种厚度的金属板材施加剪切力,使板材按所需要的尺寸断裂分离。The shearing machine generally uses the moving upper blade and the fixed lower blade, and adopts a reasonable blade gap to apply shearing force to the metal plates of various thicknesses, so that the plates are broken and separated according to the required size.
目前,现有的剪板机在板材加工过程中,会由于剪板机在裁剪板材时产生较大的冲击力,导致板材固定效果不好,发生尺寸偏离的情况,进而影响板材的剪切质量,同时降低板材的剪板效率。为此,提出设计一种高效、稳定型液压剪板机。At present, in the process of sheet metal processing, the existing shearing machine will generate a large impact force when cutting the sheet, resulting in poor fixing effect of the sheet and dimensional deviation, thereby affecting the cutting quality of the sheet. , while reducing the shearing efficiency of the plate. Therefore, a high-efficiency and stable hydraulic shearing machine is proposed.
实用新型内容Utility model content
本实用新型的目的在于提供一种高效、稳定型液压剪板机,以解决上述背景技术中提出的问题。The purpose of the present utility model is to provide an efficient and stable hydraulic shearing machine to solve the problems raised in the above background technology.
为实现上述目的,本实用新型提供如下技术方案:一种高效、稳定型液压剪板机,包括支承底块,所述支承底块的上端面设置有固定刀头,所述固定刀头的上部两侧设置有一组安装块,所述安装块内设有活动腔,活动腔内设置有活动组件,两侧一组所述安装块的上端面插接设置有限位架,所述限位架的两侧且在支承底块端面设置有立板,两侧所述立板间滑动设置有机架,所述机架的下端面组合设置有活动刀头,一侧所述机架的外端设置有液压位移动力机构。In order to achieve the above purpose, the present utility model provides the following technical solutions: an efficient and stable hydraulic shearing machine, comprising a supporting bottom block, the upper end surface of the supporting bottom block is provided with a fixed cutter head, and the upper part of the fixed cutter head is provided with a fixed cutter head. A set of installation blocks are arranged on both sides, a movable cavity is arranged in the installation block, a movable component is arranged in the movable cavity, and a limit frame is inserted into the upper end face of a set of the installation blocks on both sides. Vertical plates are arranged on both sides and on the end face of the supporting bottom block, a frame is slidably arranged between the vertical plates on both sides, the lower end face of the frame is combined with a movable cutter head, and the outer end of the frame on one side is arranged There is a hydraulic displacement power mechanism.
优选的,所述活动组件包括第一梯形楔块和第二梯形楔块,所述第一梯形楔块的上端与限位架的一侧支撑段焊接设置,所述第二梯形楔块的倾斜面与所述第一梯形楔块的斜面相接触抵接,所述第二梯形楔块的外端面水平横向焊接设置有连杆。Preferably, the movable assembly includes a first trapezoid wedge and a second trapezoid wedge, the upper end of the first trapezoid wedge is welded to one side support section of the limit frame, and the second trapezoid wedge is inclined The surface is in contact with the inclined surface of the first trapezoidal wedge, and a connecting rod is horizontally and transversely welded on the outer end surface of the second trapezoidal wedge.
优选的,所述液压位移动力机构包括液压缸,所述液压缸的下端螺丝设置有支撑板,且所述支撑板焊接设置在相近一侧立板的外端面,所述液压缸的输出上端设置有活动台,所述活动台的外端面前后部均设置有滑块组,前后侧所述滑块组的外部设置有竖向导轨,所述竖向导轨的下端与所述支撑板焊接设置。Preferably, the hydraulic displacement power mechanism includes a hydraulic cylinder, the lower end screw of the hydraulic cylinder is provided with a support plate, and the support plate is welded on the outer end surface of the vertical plate on the adjacent side, and the output upper end of the hydraulic cylinder is provided with a support plate. There is a movable table, the front and rear of the outer end of the movable table are provided with a slider group, and the outside of the front and rear sides of the slider group is provided with a vertical guide rail, and the lower end of the vertical guide rail is welded with the support plate.
优选的,所述活动台的一端与所述机架上相近的侧端焊接设置组合。Preferably, one end of the movable table is welded and assembled with the adjacent side end of the frame.
优选的,所述连杆的一端延伸至安装块外部且套接设置有握把。Preferably, one end of the connecting rod extends to the outside of the mounting block and is sleeved with a handle.
优选的,所述限位架的上端面一侧设置有把手。Preferably, a handle is provided on one side of the upper end face of the limiting frame.
与现有技术相比,本实用新型的有益效果是:Compared with the prior art, the beneficial effects of the present utility model are:
1、本实用新型设置的限位架以及在限位架两侧支撑段下部安装的活动组件在活动腔内调整,可以通过把手向下直接按压限位架,使得限位架与板材水平面紧密接触,保持更好地板材固定效果,方便活动刀头相对于固定刀头对板材施加剪切力,在完成剪切操作后,通过握把向内推动水平横向的连杆焊接的第二梯形楔块带动其倾斜面相接的第一梯形楔块上端面焊接的限位架上移,用以起到分离限位架和板材的作用,方便取下剪切好的板材,实用性强;1. The limit frame set by the present invention and the movable components installed at the lower parts of the support sections on both sides of the limit frame are adjusted in the movable cavity, and the limit frame can be directly pressed downward by the handle, so that the limit frame is in close contact with the horizontal plane of the plate , to maintain a better plate fixing effect, and it is convenient for the movable cutter head to apply shearing force to the plate relative to the fixed cutter head. After the shearing operation is completed, the second trapezoidal wedge welded by the horizontal and transverse connecting rods is pushed inward by the handle. Drive the limit frame welded on the upper end face of the first trapezoidal wedge whose inclined surface is connected to move up, which is used to separate the limit frame and the plate, which is convenient to remove the cut plate, and has strong practicability;
2、本实用新型同时还设置的的液压缸输出上端连接的活动台,其前后侧通过滑块组在竖向导轨间保持了稳定性地往复液压,进一步实现了高效、稳定型液压剪板操作,具有使用效果好。2. The utility model is also provided with a movable platform connected to the upper end of the output of the hydraulic cylinder. The front and rear sides of the hydraulic cylinder maintain a stable reciprocating hydraulic pressure between the vertical guide rails through the slider group, which further realizes the efficient and stable hydraulic shearing operation. , with good use effect.
附图说明Description of drawings
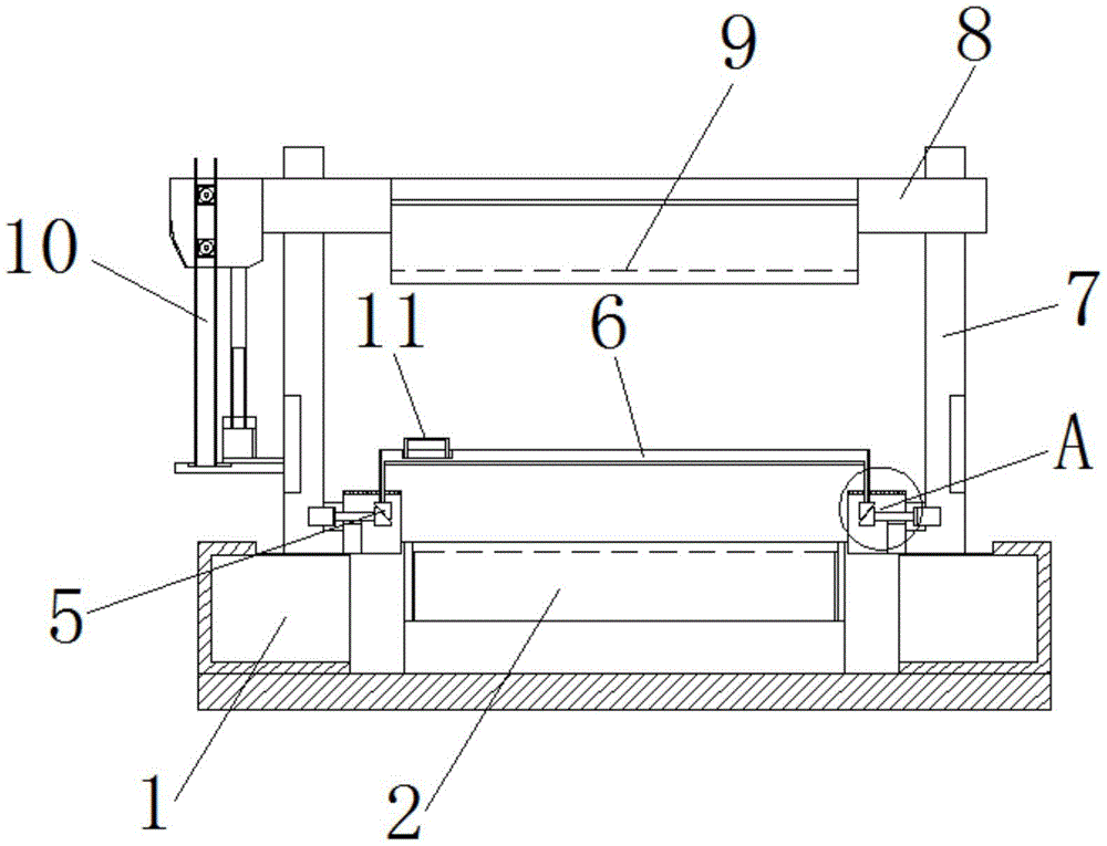
图1为本实用新型主视剖视结构图;Fig. 1 is the front sectional structure diagram of the utility model;
图2为本实用新型图1中A处结构放大图;Fig. 2 is an enlarged view of the structure at place A in Fig. 1 of the utility model;
图3为本实用新型液压位移动力机构相关结构图。FIG. 3 is a related structural diagram of the hydraulic displacement power mechanism of the utility model.
图中:1、支承底块;2、固定刀头;3、安装块;4、活动腔;5、活动组件;51、第一梯形楔块;52、第二梯形楔块;53、连杆;54、握把;6、限位架;7、立板;8、机架;9、活动刀头;10、液压位移动力机构;101、液压缸;102、支撑板;103、活动台;104、滑块组;105、竖向导轨;11、把手。In the figure: 1. Supporting bottom block; 2. Fixed cutter head; 3. Mounting block; 4. Active cavity; 5. Active component; 51. The first trapezoidal wedge; 52, The second trapezoidal wedge; ;54, grip; 6, limit frame; 7, vertical plate; 8, frame; 9, movable cutter head; 10, hydraulic displacement power mechanism; 101, hydraulic cylinder; 102, support plate; 103, movable table; 104. Slider group; 105. Vertical guide rail; 11. Handle.
具体实施方式Detailed ways
下面将结合本实用新型实施例中的附图,对本实用新型实施例中的技术方案进行清楚、完整地描述,显然,所描述的实施例仅仅是本实用新型一部分实施例,而不是全部的实施例。基于本实用新型中的实施例,本领域普通技术人员在没有做出创造性劳动前提下所获得的所有其他实施例,都属于本实用新型保护的范围。The technical solutions in the embodiments of the present utility model will be clearly and completely described below with reference to the accompanying drawings in the embodiments of the present utility model. Obviously, the described embodiments are only a part of the embodiments of the present utility model, rather than all the implementations. example. Based on the embodiments of the present invention, all other embodiments obtained by those of ordinary skill in the art without creative work fall within the protection scope of the present invention.
请参阅图1-3,本实用新型提供一种技术方案:一种高效、稳定型液压剪板机,包括支承底块1,支承底块1的上端面安装有固定刀头2,固定刀头2的上部两侧安装有一组安装块3,安装块3内设有活动腔4,活动腔4内安装有活动组件5,两侧一组安装块3的上端面插接安装有限位架6,限位架6的两侧且在支承底块1端面安装有立板7,两侧立板7间滑动安装有机架8,机架8的下端面组合安装有活动刀头9,一侧机架8的外端安装有液压位移动力机构10。1-3, the present utility model provides a technical solution: a high-efficiency and stable hydraulic shearing machine, comprising a support bottom block 1, the upper end surface of the support bottom block 1 is provided with a fixed
活动组件5包括第一梯形楔块51和第二梯形楔块52,第一梯形楔块51的上端与限位架6的一侧支撑段焊接安装,第二梯形楔块52的倾斜面与第一梯形楔块51的斜面相接触抵接,第二梯形楔块52的外端面水平横向焊接安装有连杆53;液压位移动力机构10包括液压缸101,液压缸101的下端螺丝安装有支撑板102,且支撑板102焊接安装在相近一侧立板7的外端面,液压缸101的输出上端安装有活动台103,活动台103的外端面前后部均安装有滑块组104,前后侧滑块组104的外部安装有竖向导轨105,竖向导轨105的下端与支撑板102焊接安装;活动台103的一端与机架8上相近的侧端焊接安装组合;连杆53的一端延伸至安装块3外部且套接安装有握把54,方便通过水平横向的连杆53向内推动第二梯形楔块52带动其倾斜面相接的第一梯形楔块51上端面焊接的限位架6上移,起到分离限位架6和板材的作用;限位架6的上端面一侧安装有把手11,方便在竖直方向按压限位架6,对板材进行限位。The
工作原理:该实用新型在使用时,首先将待剪切的板材水平放置在支承底块1端面并在限位架6下方纵向调整好板材的水平剪切线,然后通过把手11向下直接按压限位架6,使得限位架6与板材水平面紧密接触,接着操作液压缸101,使得液压缸101输出上端连接的活动台103带动两侧立板7间机架8下方安装的活动刀头9向固定刀头2和放置的板材方向作往复的位移运动,以施加剪切力,完成板材的剪切操作,具有操作简单、使用方便、使用效果好的优点。Working principle: When the utility model is in use, first place the plate to be cut horizontally on the end face of the support bottom block 1 and adjust the horizontal cutting line of the plate vertically below the
需要说明的是,在本文中,诸如第一和第二等之类的关系术语仅仅用来将一个实体或者操作与另一个实体或操作区分开来,而不一定要求或者暗示这些实体或操作之间存在任何这种实际的关系或者顺序。而且,术语“包括”、“包含”或者其任何其他变体意在涵盖非排他性的包含,从而使得包括一系列要素的过程、方法、物品或者设备不仅包括那些要素,而且还包括没有明确列出的其他要素,或者是还包括为这种过程、方法、物品或者设备所固有的要素。It should be noted that, in this document, relational terms such as first and second are only used to distinguish one entity or operation from another entity or operation, and do not necessarily require or imply any relationship between these entities or operations. any such actual relationship or sequence exists. Moreover, the terms "comprising", "comprising" or any other variation thereof are intended to encompass a non-exclusive inclusion such that a process, method, article or device that includes a list of elements includes not only those elements, but also includes not explicitly listed or other elements inherent to such a process, method, article or apparatus.
尽管已经示出和描述了本实用新型的实施例,对于本领域的普通技术人员而言,可以理解在不脱离本实用新型的原理和精神的情况下可以对这些实施例进行多种变化、修改、替换和变型,本实用新型的范围由所附权利要求及其等同物限定。Although the embodiments of the present invention have been shown and described, it will be understood by those skilled in the art that various changes and modifications can be made to these embodiments without departing from the principles and spirit of the present invention , alternatives and modifications, the scope of the present invention is defined by the appended claims and their equivalents.
Claims (6)
Priority Applications (1)
| Application Number | Priority Date | Filing Date | Title |
|---|---|---|---|
| CN202220231489.3U CN217192881U (en) | 2022-01-27 | 2022-01-27 | An efficient and stable hydraulic shearing machine |
Applications Claiming Priority (1)
| Application Number | Priority Date | Filing Date | Title |
|---|---|---|---|
| CN202220231489.3U CN217192881U (en) | 2022-01-27 | 2022-01-27 | An efficient and stable hydraulic shearing machine |
Publications (1)
| Publication Number | Publication Date |
|---|---|
| CN217192881U true CN217192881U (en) | 2022-08-16 |
Family
ID=82793899
Family Applications (1)
| Application Number | Title | Priority Date | Filing Date |
|---|---|---|---|
| CN202220231489.3U Expired - Fee Related CN217192881U (en) | 2022-01-27 | 2022-01-27 | An efficient and stable hydraulic shearing machine |
Country Status (1)
| Country | Link |
|---|---|
| CN (1) | CN217192881U (en) |
-
2022
- 2022-01-27 CN CN202220231489.3U patent/CN217192881U/en not_active Expired - Fee Related
Similar Documents
| Publication | Publication Date | Title |
|---|---|---|
| CN116422974A (en) | A side cutting device for stamping iron door panels | |
| CN217192881U (en) | An efficient and stable hydraulic shearing machine | |
| CN115070222A (en) | Picosecond laser cutting equipment for PCB production and processing | |
| CN221247376U (en) | Cutting device with garbage collection structure | |
| CN221047567U (en) | A special-shaped floor cutting machine | |
| CN219152092U (en) | Mobile assembly type building steel structure prefabricated part production line | |
| CN108581228B (en) | Workbench of laser flat cutting machine | |
| CN210878525U (en) | A double-head aluminum ladder cutting and drilling machine | |
| CN214818903U (en) | PVC transverse cutting machine | |
| CN220970868U (en) | Steel cutting device for building | |
| CN223630436U (en) | Vertical paper cutter for printing | |
| CN223531529U (en) | A feeding mechanism for a sawing machine | |
| CN222536429U (en) | A cutting device for processing aluminum alloy door and window profiles | |
| CN208556355U (en) | Laser Flatbed Cutting Machine Workbench | |
| CN223862946U (en) | Pipe fitting cutting device | |
| CN221048368U (en) | Beam machining fixing device | |
| CN215288521U (en) | Cutting device of glass laminating backplate module | |
| CN221734931U (en) | Multi-station grooving machine | |
| CN220362031U (en) | Novel hydraulic brake type plate shearing machine | |
| CN219968104U (en) | Paper cutting machine | |
| CN220719511U (en) | Cutting device suitable for rock wool board | |
| CN217095897U (en) | Limit structure for noise-reduction hydraulic gate type plate shearing machine | |
| CN218019055U (en) | Cutting equipment is used in plywood processing | |
| CN219563221U (en) | Cutting structure of high-speed paper cutting machine | |
| CN217493357U (en) | Door frame strip cutting and punching equipment |
Legal Events
| Date | Code | Title | Description |
|---|---|---|---|
| GR01 | Patent grant | ||
| GR01 | Patent grant | ||
| CF01 | Termination of patent right due to non-payment of annual fee | ||
| CF01 | Termination of patent right due to non-payment of annual fee |
Granted publication date: 20220816 |
