CN217177713U - Old pipeline reforms transform and uses portal frame bearing structure - Google Patents

Old pipeline reforms transform and uses portal frame bearing structure Download PDF

Info

Publication number
CN217177713U
CN217177713U CN202123294933.0U CN202123294933U CN217177713U CN 217177713 U CN217177713 U CN 217177713U CN 202123294933 U CN202123294933 U CN 202123294933U CN 217177713 U CN217177713 U CN 217177713U
Authority
CN
China
Prior art keywords
gantry
rod
support
worm
retrofitting
Prior art date
Legal status (The legal status is an assumption and is not a legal conclusion. Google has not performed a legal analysis and makes no representation as to the accuracy of the status listed.)
Active
Application number
CN202123294933.0U
Other languages
Chinese (zh)
Inventor
童荣华
Current Assignee (The listed assignees may be inaccurate. Google has not performed a legal analysis and makes no representation or warranty as to the accuracy of the list.)
Guangdong Zhongte Construction Group Co ltd
Original Assignee
Guangdong Zhongte Construction Group Co ltd
Priority date (The priority date is an assumption and is not a legal conclusion. Google has not performed a legal analysis and makes no representation as to the accuracy of the date listed.)
Filing date
Publication date
Application filed by Guangdong Zhongte Construction Group Co ltd filed Critical Guangdong Zhongte Construction Group Co ltd
Priority to CN202123294933.0U priority Critical patent/CN217177713U/en
Application granted granted Critical
Publication of CN217177713U publication Critical patent/CN217177713U/en
Active legal-status Critical Current
Anticipated expiration legal-status Critical

Links

Images

Landscapes

  • Sewage (AREA)

Abstract

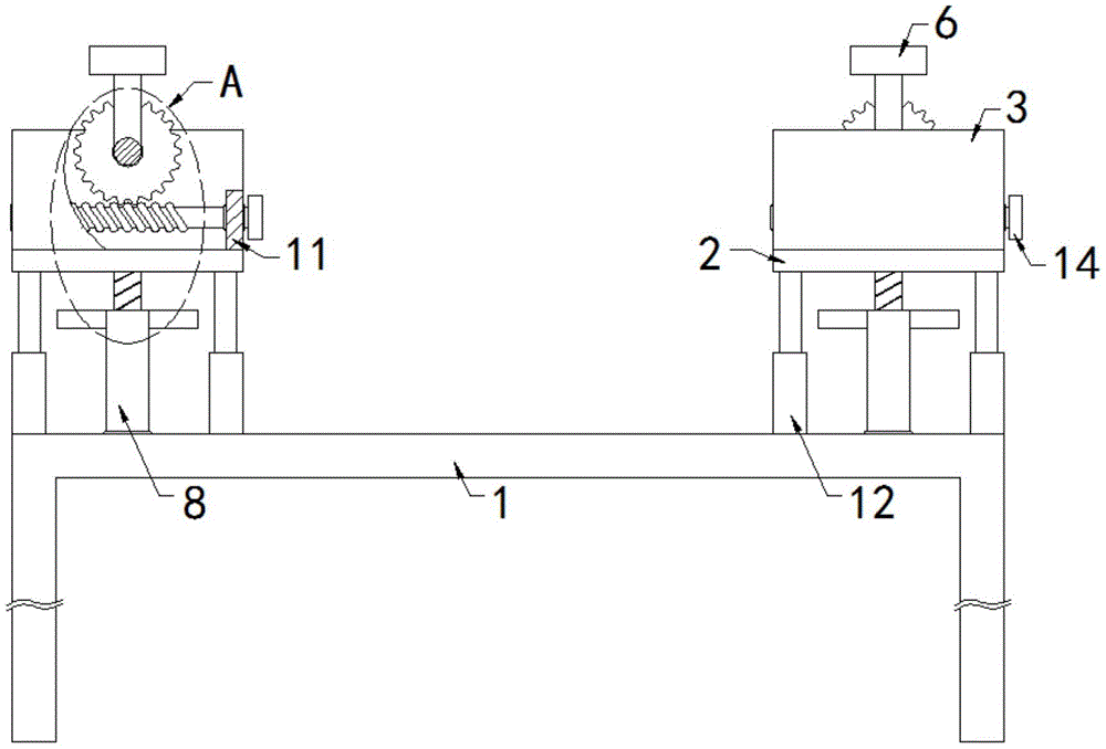
本申请涉及支撑结构技术领域,且公开了一种老旧管道改造用龙门架支撑结构,包括龙门架,所述龙门架的上表面对称设置有两个升降机构,所述龙门架分别通过对应的升降机构固定连接有安装板,每个所述安装板的另一侧均对称固定设置有两个第一支撑板,每侧的两个所述第一支撑板的内部均设置有转杆,每个所述转杆的两端杆壁分别通过第一轴承与对应的第一支撑板转动连接,每个所述转杆的杆壁均固定设置有连接杆,每个所述连接杆的另一端分别固定连接有弧形托板,每个所述转杆的杆壁均固定套设有调节机构。本申请能够对支撑角度进行调整,实现了多种角度的支撑。

Figure 202123294933

The present application relates to the technical field of support structures, and discloses a gantry support structure for retrofitting an old pipeline, including a gantry, two lifting mechanisms are symmetrically arranged on the upper surface of the gantry, and the gantry passes through corresponding The lifting mechanism is fixedly connected with a mounting plate, the other side of each mounting plate is symmetrically fixed with two first support plates, and the insides of the two first support plates on each side are provided with rotating rods, each The rod walls at both ends of each of the rotating rods are respectively rotatably connected to the corresponding first support plates through first bearings, the rod walls of each rotating rod are fixedly provided with connecting rods, and the other end of each connecting rod is rotatably connected. Arc-shaped support plates are fixedly connected respectively, and the rod wall of each of the rotating rods is fixedly sleeved with an adjusting mechanism. The present application can adjust the support angle, and realize the support of various angles.

Figure 202123294933

Description

Old pipeline reforms transform and uses portal frame bearing structure
Technical Field
The utility model belongs to the technical field of bearing structure technique and specifically relates to a portal frame bearing structure is used in transformation of old pipeline.
Background
The water pipe is a water supply pipeline, modern decoration water pipes are constructed in a wall-buried mode, the water pipes are classified into three types, the first type is a metal pipe such as an inner-lined plastic hot-dip cast iron pipe, a copper pipe, a stainless steel pipe and the like, the second type is a plastic composite metal pipe such as a steel-plastic composite pipe, an aluminum-plastic composite pipe and the like, and the third type is a plastic pipe such as a PB pipe, a PP-R pipe and the like.
In realizing this application in-process, the inventor finds that at least following problem exists, needs to support the pipeline among the old and useless pipeline transformation process, and current bearing structure mostly can only play the effect of simple horizontal support, and to the pipeline that the slope set up, it is comparatively inconvenient to support.
SUMMERY OF THE UTILITY MODEL
The purpose of this application is in order to solve among the prior art that bearing structure can only play simple horizontal support's effect mostly, to the problem that the pipeline that the slope set up is not convenient for support, and the old pipeline that provides reforms transform and uses portal frame bearing structure.
In order to achieve the purpose, the following technical scheme is adopted in the application:
the utility model provides an old pipeline reforms transform and uses portal frame bearing structure, includes the portal frame, the upper surface symmetry of portal frame is provided with two elevating system, the portal frame is respectively through the elevating system fixedly connected with mounting panel that corresponds, every the equal symmetrical fixed two first backup pads that are provided with of opposite side of mounting panel, two of every side the inside of first backup pad all is provided with the bull stick, every the both ends pole wall of bull stick rotates with the first backup pad that corresponds through first bearing respectively and is connected, every the pole wall of bull stick is all fixed and is provided with the connecting rod, every the other end difference fixedly connected with arc layer board of connecting rod, every the pole wall of bull stick is all fixed the cover and is equipped with adjustment mechanism.
Preferably, elevating system includes lead screw and internal thread pipe, the one end outer wall of internal thread pipe is passed through the second bearing and is connected with the portal frame rotation, the inner wall of internal thread pipe is worn to locate by the lead screw thread, the other end of lead screw and the mounting panel fixed connection who corresponds, every all fixed guiding mechanism that is provided with between mounting panel and the portal frame.
Preferably, adjustment mechanism includes worm wheel, worm and two second backup pads, two second backup pad symmetry is fixed to be set up in the surface of mounting panel and both sides respectively with the first backup pad fixed connection that corresponds, the inside of worm wheel seted up the mounting hole and cup jointed with the pole wall of bull stick is fixed, the worm sets up between two second backup pads and both ends pole wall rotates through third bearing and the second backup pad that corresponds respectively to be connected, the meshing is connected between worm wheel and the worm.
Preferably, guiding mechanism includes two telescopic connection spare, two telescopic connection spare symmetry sets up in the both sides of the internal thread pipe that corresponds, two telescopic connection spare's one end all with portal frame fixed connection, two telescopic connection spare's the other end all with the mounting panel fixed connection who corresponds.
Preferably, the outer walls of the two internal thread pipes are symmetrically and fixedly provided with handles.
Preferably, one end of the worm penetrates through the corresponding second support plate, and one end of the worm, which is positioned outside the second support plate, is fixedly connected with a knob.
Preferably, the inner side wall of the arc-shaped supporting plate is fixedly provided with a non-slip mat.
Preferably, the telescopic connecting piece is a telescopic rod.
Compared with the prior art, the application provides a portal frame bearing structure is used in transformation of old pipeline, possesses following beneficial effect:
1. this old portal frame bearing structure for pipeline transformation can realize the angle modulation to the arc layer board through the adjustment mechanism who sets up to can be convenient for support the pipeline of different angle settings, improved whole bearing structure's the rate of utilization.
2. This old pipeline reforms transform and uses portal frame bearing structure through the elevating system who sets up, can utilize elevating system to finely tune the position of arc layer board after the rigidity to the portal frame to can be convenient for support the pipeline of co-altitude not.
The part that does not relate to in the device all is the same with prior art or can adopt prior art to realize, and this application can adjust the support angle, has realized the support of multiple angle.
Drawings
Fig. 1 is a schematic structural view of a gantry support structure for old pipeline reconstruction, which is provided by the present application;
FIG. 2 is an enlarged view of a portion A of FIG. 1;
fig. 3 is a side view of the arcuate pallet of fig. 1.
Description of reference numerals:
the device comprises a portal frame 1, a mounting plate 2, a first supporting plate 3, a rotating rod 4, a connecting rod 5, an arc supporting plate 6, a lead screw 7, an internal threaded pipe 8, a worm wheel 9, a worm 10, a second supporting plate 11, a telescopic connecting piece 12, a handle 13, a knob 14 and a non-slip mat 15.
Detailed Description
The technical solutions in the embodiments of the present application will be clearly and completely described below with reference to the drawings in the embodiments of the present application, and it is obvious that the described embodiments are only a part of the embodiments of the present application, and not all of the embodiments.
In the description of the present application, it is to be understood that the terms "upper", "lower", "front", "rear", "left", "right", "top", "bottom", "inner", "outer", and the like, indicate orientations or positional relationships based on the orientations or positional relationships shown in the drawings, are merely for convenience in describing the present application and simplifying the description, and do not indicate or imply that the device or element being referred to must have a particular orientation, be constructed in a particular orientation, and be operated, and thus, should not be construed as limiting the present application.
Referring to fig. 1-2, a portal frame bearing structure is used in transformation of old pipeline, including portal frame 1, portal frame 1's upper surface symmetry is provided with two elevating system, portal frame 1 is respectively through corresponding elevating system fixedly connected with mounting panel 2, elevating system includes lead screw 7 and internal thread pipe 8, the one end outer wall of internal thread pipe 8 rotates with portal frame 1 through the second bearing to be connected, the inner wall of internal thread pipe 8 is worn to locate by lead screw 7 screw thread, the other end of lead screw 7 and the corresponding mounting panel 2 fixed connection, be convenient for utilize elevating system to finely tune the height of strong point, thereby can support the pipeline of co-altitude not.
Referring to fig. 1-3, the opposite side of each mounting panel 2 is symmetrically and fixedly provided with two first supporting plates 3, the inside of the two first supporting plates 3 on each side is provided with a rotating rod 4, the rod walls at the two ends of each rotating rod 4 are respectively rotatably connected with the corresponding first supporting plates 3 through first bearings, the rod walls of each rotating rod 4 are fixedly provided with a connecting rod 5, the other end of each connecting rod 5 is fixedly connected with an arc-shaped supporting plate 6, the inner side wall of each arc-shaped supporting plate 6 is fixedly provided with a non-slip mat 15, the non-slip mat 15 is utilized to increase the friction force between the outer walls of the arc-shaped supporting plate 6 and the supported pipeline, and thus the supporting effect is ensured.
Referring to fig. 1-2, the rod wall of each rotating rod 4 is fixedly sleeved with an adjusting mechanism, the adjusting mechanism comprises a worm wheel 9, a worm 10 and two second supporting plates 11, the two second supporting plates 11 are symmetrically and fixedly arranged on the surface of the mounting plate 2, two sides of each second supporting plate are respectively and fixedly connected with the corresponding first supporting plate 3, a mounting hole is formed in the worm wheel 9 and is fixedly sleeved with the rod wall of the rotating rod 4, the worm 10 is arranged between the two second supporting plates 11, the rod walls at two ends of each worm are respectively and rotatably connected with the corresponding second supporting plate 11 through a third bearing, the worm wheel 9 is meshed with the worm 10, the worm wheel 9 is conveniently driven to rotate while the worm 10 rotates, so that the angle adjustment of the arc-shaped supporting plate 6 is realized, meanwhile, the angle fixation of the arc-shaped supporting plate 6 can be realized by utilizing the self-locking function between the worm wheel 9 and the worm 10, and the arc-shaped supporting plate 6 is prevented from shaking;
one end of the worm 10 penetrates through the corresponding second support plate 11, and one end of the worm 10, which is located outside the second support plate 11, is fixedly connected with a knob 14, so that the knob 14 is conveniently utilized to drive the worm 10 to rotate, and the adjusting mechanism is driven to normally work.
Referring to fig. 1-2, a guide mechanism is fixedly arranged between each mounting plate 2 and the portal frame 1, the guide mechanism comprises two telescopic connecting pieces 12, the two telescopic connecting pieces 12 are symmetrically arranged at two sides of the corresponding internal threaded pipe 8, one end of each telescopic connecting piece 12 is fixedly connected with the portal frame 1, the other end of each telescopic connecting piece 12 is fixedly connected with the corresponding mounting plate 2, each telescopic connecting piece 12 is a telescopic rod, and the mounting plates 2 and the corresponding lead screws 7 are limited by the two telescopic rods, so that the corresponding lead screws 7 can be prevented from being driven to rotate as much as possible when the internal threaded pipes 8 rotate;
the handles 13 are symmetrically and fixedly arranged on the outer walls of the two internal thread pipes 8, so that the internal thread pipes 8 can be driven to rotate through the two handles 13, the height of the arc-shaped supporting plate 6 can be adjusted, and pipelines with different heights can be supported conveniently.
In the application, when the portal frame is used, the portal frame 1 is fixed at a proper position, when a supported pipeline is horizontally arranged, the two handles 13 are rotated, the two handles 13 drive the corresponding internal thread pipes 8 to move, the internal thread pipes 8 drive the corresponding lead screws 7 to move upwards under the limiting action of the two telescopic connecting pieces 12, the lead screws 7 drive the corresponding mounting plates 2 to move upwards, the mounting plates 2 drive the two first supporting plates 3 to move, the two first supporting plates 3 drive the rotating rods 4 to move upwards, and the rotating rods 4 drive the arc-shaped supporting plates 6 to move upwards through the connecting rods 5, so that the pipeline can be supported; when the pipeline that is supported sets up for the slope, rotate knob 14, knob 14 drives worm 10 and rotates, worm 10 drives worm wheel 9 and rotates, worm wheel 9 drives bull stick 4 and rotates, bull stick 4 drives arc layer board 6 through connecting rod 5 and rotates, thereby can adjust the angle of arc layer board 6, and then can be convenient for support the pipeline that the slope set up, after adjusting arc layer board 6's angle, rotate two handles 13 that correspond, two handles 13 drive corresponding internal thread pipe 8 jointly and rotate, the internal thread pipe 8 pivoted drives the lead screw 7 motion that corresponds through the limiting displacement of two scalable connecting piece 12 that correspond simultaneously, thereby realize the altitude mixture control to arc layer board 6, be convenient for support the pipeline.
The above description is only for the preferred embodiments of the present application, but the scope of the present application is not limited thereto, and any person skilled in the art should be considered to be within the technical scope of the present application, and equivalent alternatives or modifications according to the technical solutions and the application concepts of the present application, which are within the technical scope of the present application.

Claims (8)

1.一种老旧管道改造用龙门架支撑结构,包括龙门架(1),其特征在于:所述龙门架(1)的上表面对称设置有两个升降机构,所述龙门架(1)分别通过对应的升降机构固定连接有安装板(2),每个所述安装板(2)的另一侧均对称固定设置有两个第一支撑板(3),每侧的两个所述第一支撑板(3)的内部均设置有转杆(4),每个所述转杆(4)的两端杆壁分别通过第一轴承与对应的第一支撑板(3)转动连接,每个所述转杆(4)的杆壁均固定设置有连接杆(5),每个所述连接杆(5)的另一端分别固定连接有弧形托板(6),每个所述转杆(4)的杆壁均固定套设有调节机构。1. A gantry support structure for retrofitting an old pipeline, comprising a gantry (1), characterized in that: the upper surface of the gantry (1) is symmetrically provided with two lifting mechanisms, and the gantry (1) The mounting plates (2) are fixedly connected respectively through corresponding lifting mechanisms, and two first support plates (3) are symmetrically fixed on the other side of each of the mounting plates (2). The interior of the first support plate (3) is provided with rotating rods (4), and the rod walls at both ends of each of the rotating rods (4) are rotatably connected to the corresponding first support plate (3) through first bearings, respectively, A connecting rod (5) is fixedly arranged on the rod wall of each of the rotating rods (4), and an arc-shaped support plate (6) is fixedly connected to the other end of each of the connecting rods (5). The rod wall of the rotating rod (4) is fixedly sleeved with an adjusting mechanism. 2.根据权利要求1所述的一种老旧管道改造用龙门架支撑结构,其特征在于:所述升降机构包括丝杆(7)和内螺纹管(8),所述内螺纹管(8)的一端外壁通过第二轴承与龙门架(1)转动连接,所述丝杆(7)螺纹穿设于内螺纹管(8)的内壁,所述丝杆(7)的另一端与对应的安装板(2)固定连接,每个所述安装板(2)与龙门架(1)之间均固定设置有导向机构。2. A gantry support structure for retrofitting an old pipeline according to claim 1, wherein the lifting mechanism comprises a screw rod (7) and an internally threaded pipe (8), and the internally threaded pipe (8) ) at one end of the outer wall is rotatably connected to the gantry (1) through a second bearing, the screw (7) is threaded through the inner wall of the internally threaded pipe (8), and the other end of the screw (7) is connected to the corresponding The mounting plates (2) are fixedly connected, and a guiding mechanism is fixedly arranged between each of the mounting plates (2) and the gantry frame (1). 3.根据权利要求1所述的一种老旧管道改造用龙门架支撑结构,其特征在于:所述调节机构包括蜗轮(9)、蜗杆(10)和两个第二支撑板(11),两个所述第二支撑板(11)对称固定设置于安装板(2)的表面且两侧分别与对应的第一支撑板(3)固定连接,所述蜗轮(9)的内部开设有安装孔且与转杆(4)的杆壁固定套接,所述蜗杆(10)设置于两个第二支撑板(11)之间且两端杆壁分别通过第三轴承与对应的第二支撑板(11)转动连接,所述蜗轮(9)与蜗杆(10)之间啮合连接。3. The gantry support structure for retrofitting an old pipeline according to claim 1, wherein the adjustment mechanism comprises a worm gear (9), a worm (10) and two second support plates (11), The two second support plates (11) are symmetrically and fixedly arranged on the surface of the mounting plate (2), and the two sides are respectively fixedly connected to the corresponding first support plates (3). The hole is fixedly sleeved with the rod wall of the rotating rod (4), the worm (10) is arranged between the two second support plates (11), and the rod walls at both ends pass through the third bearing and the corresponding second support respectively. The plate (11) is connected in rotation, and the worm wheel (9) is meshed with the worm (10). 4.根据权利要求2所述的一种老旧管道改造用龙门架支撑结构,其特征在于:所述导向机构包括两个可伸缩连接件(12),两个所述可伸缩连接件(12)对称设置于对应的内螺纹管(8)的两侧,两个所述可伸缩连接件(12)的一端均与龙门架(1)固定连接,两个所述可伸缩连接件(12)的另一端均与对应的安装板(2)固定连接。The gantry support structure for retrofitting an old pipeline according to claim 2, wherein the guiding mechanism comprises two retractable connectors (12), two retractable connectors (12). ) symmetrically arranged on both sides of the corresponding inner threaded pipe (8), one end of the two retractable connectors (12) are fixedly connected to the gantry (1), and the two retractable connectors (12) The other end is fixedly connected with the corresponding mounting plate (2). 5.根据权利要求2所述的一种老旧管道改造用龙门架支撑结构,其特征在于:两个所述内螺纹管(8)的外壁均对称固定设置有把手(13)。5 . The gantry support structure for retrofitting an old pipeline according to claim 2 , wherein handles ( 13 ) are symmetrically fixed on the outer walls of the two internally threaded pipes ( 8 ). 6 . 6.根据权利要求3所述的一种老旧管道改造用龙门架支撑结构,其特征在于:所述蜗杆(10)的一端贯穿对应的第二支撑板(11),所述蜗杆(10)位于第二支撑板(11)外部的一端固定连接有旋钮(14)。6. A gantry support structure for retrofitting an old pipeline according to claim 3, characterized in that: one end of the worm (10) penetrates the corresponding second support plate (11), and the worm (10) A knob (14) is fixedly connected to one end outside the second support plate (11). 7.根据权利要求1所述的一种老旧管道改造用龙门架支撑结构,其特征在于:所述弧形托板(6)的内侧壁固定设置有防滑垫(15)。7 . The gantry support structure for retrofitting an old pipeline according to claim 1 , wherein a non-slip pad ( 15 ) is fixed on the inner side wall of the arc-shaped support plate ( 6 ). 8 . 8.根据权利要求4所述的一种老旧管道改造用龙门架支撑结构,其特征在于:所述可伸缩连接件(12)为伸缩杆。8 . The gantry support structure for retrofitting an old pipeline according to claim 4 , wherein the telescopic connector ( 12 ) is a telescopic rod. 9 .
CN202123294933.0U 2021-12-27 2021-12-27 Old pipeline reforms transform and uses portal frame bearing structure Active CN217177713U (en)

Priority Applications (1)

Application Number Priority Date Filing Date Title
CN202123294933.0U CN217177713U (en) 2021-12-27 2021-12-27 Old pipeline reforms transform and uses portal frame bearing structure

Applications Claiming Priority (1)

Application Number Priority Date Filing Date Title
CN202123294933.0U CN217177713U (en) 2021-12-27 2021-12-27 Old pipeline reforms transform and uses portal frame bearing structure

Publications (1)

Publication Number Publication Date
CN217177713U true CN217177713U (en) 2022-08-12

Family

ID=82732298

Family Applications (1)

Application Number Title Priority Date Filing Date
CN202123294933.0U Active CN217177713U (en) 2021-12-27 2021-12-27 Old pipeline reforms transform and uses portal frame bearing structure

Country Status (1)

Country Link
CN (1) CN217177713U (en)

Similar Documents

Publication Publication Date Title
CN217177713U (en) Old pipeline reforms transform and uses portal frame bearing structure
CN201397443Y (en) Two-dimensional cradle head
CN212584193U (en) Rotating mechanism of body-building chair
CN211585350U (en) An A-type inclined plate complete set of precipitation device
CN219169946U (en) Clamping device for laser cutting equipment
CN216858998U (en) Surface treatment device for sheet metal part machining
CN216419876U (en) Surface coating device for metal combining piece
CN213005258U (en) Wind-powered electricity generation main shaft rack
CN211920280U (en) Copper alloy pipe rolling pushing device
CN213333385U (en) Multidirectional slewing mechanism of camera
CN214273058U (en) A kind of support device for construction project
CN213040228U (en) Support frame for observing hydrology and water resources
CN212510142U (en) An electrical automation equipment installation base
CN220706889U (en) Security protection control support with adjustable
CN222509003U (en) A suspension bracket for aluminum shell motor
CN223418755U (en) A multi-angle flip welding positioner
CN216555680U (en) Handling device is used in construction of building water supply pipe
CN222153821U (en) Auxiliary device for shell riveting
CN221389076U (en) Shearing device for aluminum alloy composite plate
CN223549962U (en) Portable support for electromechanical support tube
CN223406911U (en) A pipe docking device for HVAC construction
CN219465979U (en) Circuit board clamping mechanism
CN216354751U (en) Antenna lifting device with good contact with lining surface
CN219305050U (en) Target binding heating platform
CN223630322U (en) Whole frock of bonding of EMUs glass steel spare

Legal Events

Date Code Title Description
GR01 Patent grant
GR01 Patent grant