CN217168203U - Pressing plate device for building steel structure manufacturing - Google Patents
Pressing plate device for building steel structure manufacturing Download PDFInfo
- Publication number
- CN217168203U CN217168203U CN202220189944.8U CN202220189944U CN217168203U CN 217168203 U CN217168203 U CN 217168203U CN 202220189944 U CN202220189944 U CN 202220189944U CN 217168203 U CN217168203 U CN 217168203U
- Authority
- CN
- China
- Prior art keywords
- block
- wall
- rod
- steel structure
- fixedly installed
- Prior art date
- Legal status (The legal status is an assumption and is not a legal conclusion. Google has not performed a legal analysis and makes no representation as to the accuracy of the status listed.)
- Expired - Fee Related
Links
- 229910000831 Steel Inorganic materials 0.000 title claims abstract description 47
- 239000010959 steel Substances 0.000 title claims abstract description 47
- 238000003825 pressing Methods 0.000 title claims abstract description 38
- 238000004519 manufacturing process Methods 0.000 title claims abstract description 19
- 238000004140 cleaning Methods 0.000 claims abstract description 39
- 230000007246 mechanism Effects 0.000 claims abstract description 26
- 238000001125 extrusion Methods 0.000 claims abstract description 17
- 230000000087 stabilizing effect Effects 0.000 claims 2
- 230000008901 benefit Effects 0.000 abstract description 6
- 230000003993 interaction Effects 0.000 abstract description 3
- 230000006872 improvement Effects 0.000 description 8
- 230000006641 stabilisation Effects 0.000 description 4
- 238000011105 stabilization Methods 0.000 description 4
- 230000000694 effects Effects 0.000 description 3
- 230000004048 modification Effects 0.000 description 2
- 238000012986 modification Methods 0.000 description 2
- 238000011084 recovery Methods 0.000 description 2
- 238000010276 construction Methods 0.000 description 1
- 238000010586 diagram Methods 0.000 description 1
- 239000000463 material Substances 0.000 description 1
- 238000000034 method Methods 0.000 description 1
Images
Landscapes
- Cleaning In General (AREA)
Abstract
本实用新型公开了一种用于建筑钢结构制造的压板装置,涉及钢结构制造技术领域,包括工作台,所述工作台的顶部固定安装有支撑板,所述工作台的上方设置有压块机构,所述压块机构有两个,所述压块机构的一侧设置有清洁机构,所述压块机构包括有第一螺纹杆、活动块和压板,所述第一螺纹杆活动安装在工作台的内壁上,所述第一螺纹杆的外壁与支撑板的内壁活动连接,所述活动块活动安装在第一螺纹杆的外壁上。本实用新型通过转把、第一螺纹杆、活动块、限位杆、矩形板、门型块、滑杆、挤压块、铰接杆、压板和第一弹簧的相互作用下,使铰接杆带动压板贴近钢结构,对钢结构进行固定,具有方便固定钢结构的优点。
The utility model discloses a pressing plate device for building steel structure manufacturing, which relates to the technical field of steel structure manufacturing. There are two pressure block mechanisms, one side of the pressure block mechanism is provided with a cleaning mechanism, the pressure block mechanism includes a first threaded rod, a movable block and a pressure plate, and the first threaded rod is movably installed on the On the inner wall of the workbench, the outer wall of the first threaded rod is movably connected with the inner wall of the support plate, and the movable block is movably mounted on the outer wall of the first threaded rod. The utility model enables the hinge rod to drive the hinge rod through the interaction of the turning handle, the first threaded rod, the movable block, the limit rod, the rectangular plate, the door block, the sliding rod, the extrusion block, the hinge rod, the pressure plate and the first spring. The pressure plate is close to the steel structure and fixes the steel structure, which has the advantage of being convenient for fixing the steel structure.
Description
技术领域technical field
本实用新型涉及钢结构制造技术领域,具体涉及一种用于建筑钢结构制造的压板装置。The utility model relates to the technical field of steel structure manufacturing, in particular to a pressing plate device used for building steel structure manufacturing.
背景技术Background technique
钢结构是以钢材制作为主的结构,是主要的建筑结构类型之一,钢材的特点是强度高、自重轻、整体刚性好、变形能力强,故用于建造大跨度和超高、超重型的建筑物特别适宜,材料匀质性和各向同性好,属理想弹性体,最符合一般工程力学的基本假定,材料塑性、韧性好,可有较大变形,能很好地承受动力荷载,建筑工期短,其工业化程度高,可进行机械化程度高的专业化生产。Steel structure is a structure mainly made of steel, and it is one of the main types of building structures. It is an ideal elastic body, which is in line with the basic assumptions of general engineering mechanics. The material has good plasticity and toughness, can have large deformation, and can withstand dynamic loads well. The construction period is short, the degree of industrialization is high, and specialized production with a high degree of mechanization can be carried out.
针对现有技术存在以下问题:The following problems exist for the prior art:
1、在对钢结构进行加工时,现有的钢结构加工装置缺少压块装置,钢结构在加工过程中容易晃动,导致加工效果差;1. When the steel structure is processed, the existing steel structure processing device lacks a briquetting device, and the steel structure is easy to shake during the processing, resulting in poor processing effect;
2、现有的用于建筑钢结构制造的压板装置缺少清理装置,在对钢结构加工完成后,加工台上往往残留着许多碎屑,难以清理。2. The existing pressing plate device for building steel structure lacks a cleaning device. After the steel structure is processed, there are often many debris left on the processing table, which is difficult to clean.
实用新型内容Utility model content
本实用新型提供一种用于建筑钢结构制造的压板装置,其中一种目的是为了具备方便对钢结构进行固定的优点,解决钢结构在加工过程中容易晃动,导致加工效果差的问题;其中另一种目的是为了解决在对钢结构加工完成后,加工台上往往残留着许多碎屑,难以清理的问题,以达到方便清洁的效果。The utility model provides a pressing plate device used for the manufacture of building steel structures, one of the purposes is to have the advantages of convenient fixing of the steel structures, and to solve the problem that the steel structures are easy to shake during the processing, resulting in poor processing effects; wherein Another purpose is to solve the problem that many debris are often left on the processing table after the processing of the steel structure is completed, which is difficult to clean, so as to achieve the effect of convenient cleaning.
为解决上述技术问题,本实用新型所采用的技术方案是:In order to solve the above-mentioned technical problems, the technical scheme adopted by the present utility model is:
一种用于建筑钢结构制造的压板装置,包括工作台,所述工作台的顶部固定安装有支撑板,所述工作台的上方设置有压块机构,所述压块机构有两个,所述压块机构的一侧设置有清洁机构,所述压块机构包括有第一螺纹杆、活动块和压板,所述第一螺纹杆活动安装在工作台的内壁上,所述第一螺纹杆的外壁与支撑板的内壁活动连接,所述活动块活动安装在第一螺纹杆的外壁上,所述压板设置在活动块的一侧,所述清洁机构包括有电机、滑动块和清洁刷,所述电机设置在支撑板的一侧,所述滑动块设置在电机的一侧,所述清洁刷设置在滑动块的下方,所述清洁刷的外表面与工作台的顶部相接触。A pressing plate device for the manufacture of architectural steel structures, comprising a workbench, a support plate is fixedly installed on the top of the workbench, a pressing block mechanism is arranged above the worktable, and there are two pressing block mechanisms, so the One side of the pressing block mechanism is provided with a cleaning mechanism, the pressing block mechanism includes a first threaded rod, a movable block and a pressing plate, the first threaded rod is movably installed on the inner wall of the workbench, and the first threaded rod The outer wall is movably connected with the inner wall of the support plate, the movable block is movably installed on the outer wall of the first threaded rod, the pressing plate is arranged on one side of the movable block, and the cleaning mechanism includes a motor, a sliding block and a cleaning brush, The motor is arranged on one side of the support plate, the sliding block is arranged on one side of the motor, the cleaning brush is arranged below the sliding block, and the outer surface of the cleaning brush is in contact with the top of the workbench.
本实用新型技术方案的进一步改进在于:所述第一螺纹杆的底端固定安装有转把,所述工作台的顶部固定安装有限位杆,所述限位杆的外壁与活动块的内壁活动连接。A further improvement of the technical solution of the present invention is that a turning handle is fixedly installed at the bottom end of the first threaded rod, a limit rod is fixedly installed on the top of the worktable, and the outer wall of the limit rod and the inner wall of the movable block are movable. connect.
本实用新型技术方案的进一步改进在于:所述活动块的一侧外壁上固定安装有矩形板,所述矩形板的底部固定安装有门型块,所述门型块的内壁上固定安装有滑杆。A further improvement of the technical solution of the present invention is that a rectangular plate is fixedly installed on one outer wall of the movable block, a door block is fixedly installed at the bottom of the rectangular plate, and a sliding block is fixedly installed on the inner wall of the door block. rod.
本实用新型技术方案的进一步改进在于:所述滑杆的外壁上活动安装有挤压块,所述挤压块有两个,所述滑杆的外壁上活动套设有第一弹簧,所述第一弹簧的一端与挤压块的一侧外壁固定连接,所述挤压块的底部活动安装有铰接杆,所述铰接杆的一端与压板的顶部活动连接。A further improvement of the technical solution of the utility model is that: the outer wall of the sliding rod is movably installed with extruding blocks, there are two extruding blocks, the outer wall of the sliding rod is movably sleeved with a first spring, the One end of the first spring is fixedly connected with one side outer wall of the extrusion block, a hinge rod is movably installed at the bottom of the extrusion block, and one end of the hinge rod is movably connected with the top of the pressing plate.
本实用新型技术方案的进一步改进在于:所述支撑板的一侧外壁上固定安装有稳定板,所述稳定板的顶部与电机的底部固定连接,所述电机的输出轴上固定安装有第二螺纹杆,所述第二螺纹杆的外壁与滑动块的内壁活动连接,所述滑动块的顶部固定安装有限位块,所述限位块的外壁与支撑板的内壁活动连接。A further improvement of the technical solution of the present invention is that: a stabilization plate is fixedly installed on one side outer wall of the support plate, the top of the stabilization plate is fixedly connected with the bottom of the motor, and the output shaft of the motor is fixedly installed with a second A threaded rod, the outer wall of the second threaded rod is movably connected with the inner wall of the sliding block, the top of the sliding block is fixedly installed with a limit block, and the outer wall of the limit block is movably connected with the inner wall of the support plate.
本实用新型技术方案的进一步改进在于:所述滑动块的外壁上固定安装有摆杆,所述摆杆的外壁与清洁刷的内壁活动连接,所述清洁刷的两侧外壁上均固定安装有L型块。A further improvement of the technical solution of the present invention is that a swing rod is fixedly installed on the outer wall of the sliding block, the outer wall of the swing rod is movably connected with the inner wall of the cleaning brush, and the outer walls on both sides of the cleaning brush are fixedly installed with L-block.
本实用新型技术方案的进一步改进在于:所述滑动块的一侧外壁上固定安装有连接块,所述L型块的一侧外壁上固定安装有第二弹簧,所述第二弹簧的一端与连接块的一侧外壁固定连接。A further improvement of the technical solution of the present invention is that a connecting block is fixedly installed on one side outer wall of the sliding block, a second spring is fixedly installed on one side outer wall of the L-shaped block, and one end of the second spring is connected to One side outer wall of the connecting block is fixedly connected.
由于采用了上述技术方案,本实用新型相对现有技术来说,取得的技术进步是:Due to the adoption of the above-mentioned technical solutions, the technical progress achieved by the present utility model relative to the prior art is:
1、本实用新型提供一种用于建筑钢结构制造的压板装置,通过转把、第一螺纹杆、活动块、限位杆、矩形板、门型块、滑杆、挤压块、铰接杆、压板和第一弹簧的相互作用下,使铰接杆带动压板贴近钢结构,对钢结构进行固定,具有方便固定钢结构的优点。1. The present utility model provides a pressing plate device for the manufacture of architectural steel structures, through the turning handle, the first threaded rod, the movable block, the limit rod, the rectangular plate, the door block, the sliding rod, the extrusion block, the hinge rod , under the interaction of the pressure plate and the first spring, the hinge rod drives the pressure plate to be close to the steel structure, and the steel structure is fixed, which has the advantage of being convenient for fixing the steel structure.
2、本实用新型提供一种用于建筑钢结构制造的压板装置,通过电机、第二螺纹杆、滑动块、限位块、摆杆、清洁刷、L型块、第二弹簧和连接块的相互作用下,使摆杆带动清洁刷移动,对工作台的表面进行清理,具有方便清洁的优点。2. The present utility model provides a pressing plate device used for the manufacture of architectural steel structures. Under the interaction, the swing rod drives the cleaning brush to move to clean the surface of the worktable, which has the advantage of convenient cleaning.
附图说明Description of drawings
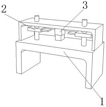
图1为本实用新型的结构示意图;Fig. 1 is the structural representation of the utility model;
图2为本实用新型的结构压块机构剖视示意图;Fig. 2 is the sectional schematic diagram of the structural pressing block mechanism of the present invention;
图3为图2中A部分的放大结构示意图;Fig. 3 is the enlarged structural representation of part A in Fig. 2;
图4为本实用新型的结构清洁机构剖视示意图。4 is a schematic cross-sectional view of the structural cleaning mechanism of the present invention.
图中:1、工作台;11、支撑板;2、压块机构;21、第一螺纹杆;22、活动块;23、压板;24、限位杆;25、矩形板;26、门型块;27、滑杆;28、挤压块;29、第一弹簧;3、清洁机构;31、电机;32、滑动块;33、清洁刷;34、第二螺纹杆;35、摆杆;36、L型块;37、连接块;38、第二弹簧。In the figure: 1. Workbench; 11. Supporting plate; 2. Pressing block mechanism; 21. First threaded rod; 22. Active block; 23. Pressing plate; 24. Limiting rod; 25. Rectangular plate; block; 27, sliding rod; 28, squeeze block; 29, first spring; 3, cleaning mechanism; 31, motor; 32, sliding block; 33, cleaning brush; 34, second threaded rod; 35, pendulum rod; 36, L-shaped block; 37, connecting block; 38, second spring.
具体实施方式Detailed ways
下面结合实施例对本实用新型做进一步详细说明:Below in conjunction with embodiment, the utility model is described in further detail:
实施例1Example 1
如图1-4所示,本实用新型提供了一种用于建筑钢结构制造的压板装置,包括工作台1,工作台1的顶部固定安装有支撑板11,工作台1的上方设置有压块机构2,压块机构2有两个,压块机构2的一侧设置有清洁机构3,压块机构2包括有第一螺纹杆21、活动块22和压板23,第一螺纹杆21活动安装在工作台1的内壁上,第一螺纹杆21的外壁与支撑板11的内壁活动连接,活动块22活动安装在第一螺纹杆21的外壁上,压板23设置在活动块22的一侧,清洁机构3包括有电机31、滑动块32和清洁刷33,电机31设置在支撑板11的一侧,滑动块32设置在电机31的一侧,清洁刷33设置在滑动块32的下方,清洁刷33的外表面与工作台1的顶部相接触,第一螺纹杆21的底端固定安装有转把,工作台1的顶部固定安装有限位杆24,限位杆24的外壁与活动块22的内壁活动连接,活动块22的一侧外壁上固定安装有矩形板25,矩形板25的底部固定安装有门型块26,门型块26的内壁上固定安装有滑杆27。As shown in Figures 1-4, the present invention provides a pressing plate device for building steel structure manufacturing, including a
在本实施例中,通过转动转把带动第一螺纹杆21转动,第一螺纹杆21带动活动块22向下移动,活动块22带动矩形板25向下移动,矩形板25带动门型块26移动,门型块26带动滑杆27移动,滑杆27带动挤压块28向下移动,挤压块28带动铰接杆向下移动,铰接杆带动压板23贴近钢结构,对钢结构进行固定。In this embodiment, the first threaded
实施例2Example 2
如图1-4所示,在实施例1的基础上,本实用新型提供一种技术方案:优选的,滑杆27的外壁上活动安装有挤压块28,挤压块28有两个,滑杆27的外壁上活动套设有第一弹簧29,第一弹簧29的一端与挤压块28的一侧外壁固定连接,挤压块28的底部活动安装有铰接杆,铰接杆的一端与压板23的顶部活动连接。As shown in Figures 1-4, on the basis of
在本实施例中,当压板23碰到凹凸不平的钢结构时,钢结构带动压板23,压板23带动两个铰接杆移动,两个铰接杆带动挤压块28挤压第一弹簧29,使压板23适应钢结构。In this embodiment, when the
实施例3Example 3
如图1-4所示,在实施例1的基础上,本实用新型提供一种技术方案:优选的,支撑板11的一侧外壁上固定安装有稳定板,稳定板的顶部与电机31的底部固定连接,电机31的输出轴上固定安装有第二螺纹杆34,第二螺纹杆34的外壁与滑动块32的内壁活动连接,滑动块32的顶部固定安装有限位块,限位块的外壁与支撑板11的内壁活动连接,滑动块32的外壁上固定安装有摆杆35,摆杆35的外壁与清洁刷33的内壁活动连接,清洁刷33的两侧外壁上均固定安装有L型块36,滑动块32的一侧外壁上固定安装有连接块37,L型块36的一侧外壁上固定安装有第二弹簧38,第二弹簧38的一端与连接块37的一侧外壁固定连接。As shown in Figures 1-4, on the basis of
在本实施例中,通过启动电机31带动第二螺纹杆34转动,第二螺纹杆34带动滑动块32移动,滑动块32带动摆杆35移动,摆杆35带动清洁刷33移动,对工作台1的表面进行清理,当清洁刷33在遇到成块的钢屑时,清洁刷33摆动带动L型块36挤压第二弹簧38,第二弹簧38方便清洁刷33恢复,使清洁刷33贴合工作台1。In this embodiment, the
下面具体说一下该用于建筑钢结构制造的压板装置的工作原理。The working principle of the pressing plate device for building steel structure manufacturing will be described in detail below.
如图1-4所示,将钢结构放置在工作台1上进行加工,当需要对钢结构进行固定时,转动转把带动第一螺纹杆21转动,第一螺纹杆21带动活动块22向下移动,活动块22带动矩形板25向下移动,矩形板25带动门型块26移动,门型块26带动滑杆27移动,滑杆27带动挤压块28向下移动,挤压块28带动铰接杆向下移动,铰接杆带动压板23贴近钢结构,当压板23碰到凹凸不平的钢结构时,钢结构带动压板23,压板23带动两个铰接杆移动,两个铰接杆带动挤压块28挤压第一弹簧29,使压板23适应钢结构,具有方便固定钢结构的优点,当需要对加工后的工作台1进行清洁时,启动电机31带动第二螺纹杆34转动,第二螺纹杆34带动滑动块32移动,滑动块32带动摆杆35移动,摆杆35带动清洁刷33移动,对工作台1的表面进行清理,当清洁刷33在遇到成块的钢屑时,清洁刷33摆动带动L型块36挤压第二弹簧38,第二弹簧38方便清洁刷33恢复,使清洁刷33贴合工作台1,具有方便清洁的优点。As shown in Figure 1-4, the steel structure is placed on the
上文一般性的对本实用新型做了详尽的描述,但在本实用新型基础上,可以对之做一些修改或改进,这对于技术领域的一般技术人员是显而易见的。因此,在不脱离本实用新型思想精神的修改或改进,均在本实用新型的保护范围之内。The present invention has been generally described in detail above, but on the basis of the present invention, some modifications or improvements can be made, which is obvious to those skilled in the art. Therefore, any modification or improvement without departing from the spirit of the present invention is within the protection scope of the present invention.
Claims (7)
Priority Applications (1)
| Application Number | Priority Date | Filing Date | Title |
|---|---|---|---|
| CN202220189944.8U CN217168203U (en) | 2022-01-24 | 2022-01-24 | Pressing plate device for building steel structure manufacturing |
Applications Claiming Priority (1)
| Application Number | Priority Date | Filing Date | Title |
|---|---|---|---|
| CN202220189944.8U CN217168203U (en) | 2022-01-24 | 2022-01-24 | Pressing plate device for building steel structure manufacturing |
Publications (1)
| Publication Number | Publication Date |
|---|---|
| CN217168203U true CN217168203U (en) | 2022-08-12 |
Family
ID=82737412
Family Applications (1)
| Application Number | Title | Priority Date | Filing Date |
|---|---|---|---|
| CN202220189944.8U Expired - Fee Related CN217168203U (en) | 2022-01-24 | 2022-01-24 | Pressing plate device for building steel structure manufacturing |
Country Status (1)
| Country | Link |
|---|---|
| CN (1) | CN217168203U (en) |
-
2022
- 2022-01-24 CN CN202220189944.8U patent/CN217168203U/en not_active Expired - Fee Related
Similar Documents
| Publication | Publication Date | Title |
|---|---|---|
| CN217168203U (en) | Pressing plate device for building steel structure manufacturing | |
| CN216442088U (en) | An automatic fixing clamping device for the production of special-shaped mechanical parts | |
| CN217193970U (en) | Auxiliary device for strip aluminum processing | |
| CN217835825U (en) | Mountain region triangle track handling all-in-one | |
| CN110561117A (en) | High-precision drilling and milling machine | |
| CN217018727U (en) | A kind of plate hole opening device for on-site construction of water conservancy projects | |
| CN216461130U (en) | A punching device for assembling door frame of passenger room | |
| CN215240101U (en) | Concrete polishing machine easy to clean for constructional engineering | |
| CN117102595A (en) | An electric cylinder driven tapping machine | |
| CN212762232U (en) | Aluminum template processing machine | |
| CN221694423U (en) | Bearing frame cleaning equipment for papermaking professional equipment | |
| CN216838025U (en) | Fixing device for cutting machine machining | |
| CN219254188U (en) | A New Radial Drilling Machine | |
| CN221675684U (en) | A cutting device for machine tool connecting wire | |
| CN216938774U (en) | A multifunctional engraving machine | |
| CN215729594U (en) | Touch control all-in-one machine for computer teaching | |
| CN219253405U (en) | Surface cleaning device for tempered glass processing | |
| CN221760120U (en) | Needling machine for wool felt pad production | |
| CN216395375U (en) | Peripheral transmission sludge suction scraper for sewage treatment | |
| CN216420312U (en) | Aluminum veneer hyperbolic arc device | |
| CN221790482U (en) | Mortar bucket cleaning device | |
| CN219727276U (en) | Damping type extrusion molding device for building construction | |
| CN211218978U (en) | A cutting device for steel structure production | |
| CN217290560U (en) | Civil engineering drilling equipment | |
| CN221604006U (en) | Polisher for processing steel member |
Legal Events
| Date | Code | Title | Description |
|---|---|---|---|
| GR01 | Patent grant | ||
| GR01 | Patent grant | ||
| CF01 | Termination of patent right due to non-payment of annual fee |
Granted publication date: 20220812 |
|
| CF01 | Termination of patent right due to non-payment of annual fee |
