CN217163438U - 一种建筑涂料加工用杂质过滤装置 - Google Patents
一种建筑涂料加工用杂质过滤装置 Download PDFInfo
- Publication number
- CN217163438U CN217163438U CN202221024454.9U CN202221024454U CN217163438U CN 217163438 U CN217163438 U CN 217163438U CN 202221024454 U CN202221024454 U CN 202221024454U CN 217163438 U CN217163438 U CN 217163438U
- Authority
- CN
- China
- Prior art keywords
- shell
- filter screen
- sleeve
- lid
- sets
- Prior art date
- Legal status (The legal status is an assumption and is not a legal conclusion. Google has not performed a legal analysis and makes no representation as to the accuracy of the status listed.)
- Active
Links
- 239000012535 impurity Substances 0.000 title claims abstract description 34
- 238000000576 coating method Methods 0.000 title claims abstract description 33
- 239000011248 coating agent Substances 0.000 title abstract description 29
- 238000001914 filtration Methods 0.000 title abstract description 28
- 241000883990 Flabellum Species 0.000 abstract description 4
- 238000003756 stirring Methods 0.000 description 6
- 239000008187 granular material Substances 0.000 description 2
- 238000004519 manufacturing process Methods 0.000 description 2
- 230000009286 beneficial effect Effects 0.000 description 1
- 230000007547 defect Effects 0.000 description 1
- 230000000694 effects Effects 0.000 description 1
- 239000000839 emulsion Substances 0.000 description 1
- 239000004922 lacquer Substances 0.000 description 1
- 238000000034 method Methods 0.000 description 1
- 238000012986 modification Methods 0.000 description 1
- 230000004048 modification Effects 0.000 description 1
- 239000003921 oil Substances 0.000 description 1
- 239000003973 paint Substances 0.000 description 1
- 239000002245 particle Substances 0.000 description 1
- 230000001141 propulsive effect Effects 0.000 description 1
- 239000011347 resin Substances 0.000 description 1
- 229920005989 resin Polymers 0.000 description 1
Images
Classifications
-
- Y—GENERAL TAGGING OF NEW TECHNOLOGICAL DEVELOPMENTS; GENERAL TAGGING OF CROSS-SECTIONAL TECHNOLOGIES SPANNING OVER SEVERAL SECTIONS OF THE IPC; TECHNICAL SUBJECTS COVERED BY FORMER USPC CROSS-REFERENCE ART COLLECTIONS [XRACs] AND DIGESTS
- Y02—TECHNOLOGIES OR APPLICATIONS FOR MITIGATION OR ADAPTATION AGAINST CLIMATE CHANGE
- Y02P—CLIMATE CHANGE MITIGATION TECHNOLOGIES IN THE PRODUCTION OR PROCESSING OF GOODS
- Y02P70/00—Climate change mitigation technologies in the production process for final industrial or consumer products
- Y02P70/10—Greenhouse gas [GHG] capture, material saving, heat recovery or other energy efficient measures, e.g. motor control, characterised by manufacturing processes, e.g. for rolling metal or metal working
Landscapes
- Details Or Accessories Of Spraying Plant Or Apparatus (AREA)
Abstract
本实用新型公开了一种建筑涂料加工用杂质过滤装置,包括外壳,所述外壳外侧底部固定设置电机,所述电机输出端固定连接转轴,且所述转轴贯穿通至外壳内部,所述转轴外侧面套设连接套筒,所述套筒外侧面固定设置若干扇叶,所述套筒外侧底部固定设置杂质钵,所述外壳内部设置第二过滤网,所述第二过滤网顶部设置第一过滤网,所述外壳内部一侧壁开设排气口,所述外壳内部一侧壁底部开设出料口,所述外壳顶端一侧固定连接合页,所述合页另一端固定连接盖子,所述盖子下端面开设进料口,所述盖子外部上侧面固定设置把手。该装置在涂料过滤时进行双层过滤,还有电机带动内部的扇叶转动,不仅提高了涂料过滤后的质量,还提高了工作效率。
Description
技术领域
本实用新型涉及涂料杂质过滤装置领域,尤其涉及一种建筑涂料加工用杂质过滤装置。
背景技术
涂料是涂在被装修的墙的表面,涂料一般是以树脂、或油、或乳液为主,
涂料配料在生产后通常需要进行过滤,以此来去除生产过程中混入的大颗粒、杂质、漆皮和异味,在现有涂料过滤技术中,大多需要人工通过过滤筛来进行过滤,再过滤的过程中还需要人工不停的搅拌,不仅过滤时间长,而且效率低。
现有专利(公开号为CN215195663U)公开了一种建筑涂料用过滤装置,用于建筑涂料过滤,本实用新型涉及过滤装置领域;包括过滤罐、过滤斗、推送搅拌机构、顶盖,所述过滤罐内水平设置有过滤斗,底部设置有带阀门的出料口,顶部卡接有带推送搅拌机构的顶盖,该推送搅拌机构的刮料块与过滤斗的上表面对应接触;本实用新型的刮料块可有效清除过滤斗上的杂质颗粒,防止过滤斗堵塞,螺旋叶片不但具有将涂料搅均的作用,而且还具有推进的作用,将涂料向过滤斗内推进,加快过滤效率,同时,由于螺旋叶片的搅拌,使涂料在过滤斗中形成旋涡,加快流速,进一步提高过滤效率。
然而该装置仍存在一些问题,过滤网只有一层,只能过滤一次,无法对细小的杂质进行二次过滤,而内部杂质会在使用是累积的更多,不能处理。
实用新型内容
本实用新型的目的是为了解决现有技术中存在的缺点,而提出的一种建筑涂料加工用杂质过滤装置。
为了实现上述目的,本实用新型采用了如下技术方案:一种建筑涂料加工用杂质过滤装置,包括外壳,所述外壳外侧底部固定设置电机,所述电机输出端固定连接转轴,且所述转轴贯穿通至外壳内部,所述转轴外侧面套设连接套筒,所述套筒外侧面固定设置若干扇叶,所述套筒外侧底部固定设置杂质钵,所述外壳内部设置第二过滤网,所述第二过滤网顶部设置第一过滤网,所述外壳内部一侧壁开设排气口,且所述排气口贯穿通至外壳外部,所述外壳内部一侧壁底部开设出料口,且所述出料口贯穿通至外壳外部,所述外壳顶端一侧固定连接合页,所述合页另一端固定连接盖子,所述盖子下端面开设进料口,且所述进料口贯穿通至盖子外部,所述盖子外部上侧面固定设置把手。
作为上述技术方案的进一步描述:
所述外壳外侧底部固定设置若干支架腿。
作为上述技术方案的进一步描述:
所述述转轴外侧底部固定设置若干滑块,所述套筒内侧壁底部开设若干滑槽,且若干所述滑块嵌入若干滑槽内部。
作为上述技术方案的进一步描述:
所述第一过滤网孔径大于第二过滤网。
作为上述技术方案的进一步描述:
所述第一过滤网上侧两端固定设置卡槽块,所述第二过滤网上侧两端设置卡槽,且所述卡槽块卡接在卡槽内部。
作为上述技术方案的进一步描述:
所述套筒顶部设置螺丝,且所述螺丝的底端螺纹连接在转轴的顶端内部。
作为上述技术方案的进一步描述:
所述出料口外部上侧壁固定设置阀门。
作为上述技术方案的进一步描述:
所述外壳外部一侧壁上端固定设置控制器。
本实用新型具有如下有益效果:
本实用中,装置内部设置两层过滤网,过滤时可以对涂料进行双重过滤,第一层过滤网可以清除涂料中较大颗粒的杂质,过滤之后的涂料会在第二层滤网进行细化过滤,在过滤完成后,装置内部过滤网可以拆下,从而对过滤网过滤出的在杂质进行集中处理。
本实用中,套筒底部固定设置杂质钵,再过经过第一过滤网过滤后,仍有一些细小的杂质,而杂质钵是对细小杂质进行收集,等涂料过滤完之后,打开装置,拿出杂质钵对里面的杂质进行处理。
附图说明
图1为本实用新型提出的一种建筑涂料加工用杂质过滤装置的立体图;
图2为本实用新型提出的一种建筑涂料加工用杂质过滤装置的剖视图;
图3为本实用新型提出的一种建筑涂料加工用杂质过滤装置的侧视图;
图4为图2中A处的放大图;
图5为图2中B处的放大图;
图6为图2中C处的放大图;
图7为本实用新型提出的一种建筑涂料加工用杂质过滤装置的套筒俯视图;
图8为本实用新型提出的一种建筑涂料加工用杂质过滤装置的转轴底部滑块立体图;
图9为本实用新型提出的一种建筑涂料加工用杂质过滤装置的套筒俯剖图。
图例说明:
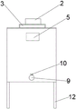
1、外壳;2、进料口;3、把手;4、第二过滤网;5、控制器;6、排气口;7、扇叶;8、杂质钵;9、出料口;10、阀门;11、电机;12、支架腿;13、转轴;14、螺丝;15、套筒;16、滑槽;17、滑块;18、盖子;19、第一过滤网;20、卡槽块;21、卡槽;22、合页。
具体实施方式
下面将结合本实用新型实施例中的附图,对本实用新型实施例中的技术方案进行清楚、完整地描述,显然,所描述的实施例仅仅是本实用新型一部分实施例,而不是全部的实施例。基于本实用新型中的实施例,本领域普通技术人员在没有做出创造性劳动前提下所获得的所有其他实施例,都属于本实用新型保护的范围。
在本实用新型的描述中,需要说明的是,术语“中心”、“上”、“下”、“左”、“右”、“竖直”、“水平”、“内”、“外”等指示的方位或位置关系为基于附图所示的方位或位置关系,仅是为了便于描述本实用新型和简化描述,而不是指示或暗示所指的装置或元件必须具有特定的方位、以特定的方位构造和操作,因此不能理解为对本实用新型的限制;术语“第一”、“第二”、“第三”仅用于描述目的,而不能理解为指示或暗示相对重要性,此外,除非另有明确的规定和限定,术语“安装”、“相连”、“连接”应做广义理解,例如,可以是固定连接,也可以是可拆卸连接,或一体地连接;可以是机械连接,也可以是电连接;可以是直接相连,也可以通过中间媒介间接相连,可以是两个元件内部的连通。对于本领域的普通技术人员而言,可以具体情况理解上述术语在本实用新型中的具体含义。
参照图1-9,本实用新型提供的一种实施例:一种建筑涂料加工用杂质过滤装置,包括外壳1,外壳1外侧底部固定设置电机11,电机11输出端固定连接转轴13,且转轴13贯穿通至外壳1内部,转轴13外侧面套设连接套筒15,转轴13外侧底部固定设置若干滑块17,套筒15内侧壁底部开设若干滑槽16,且若干滑块17嵌入若干滑槽16内部,套筒15顶部设置螺丝14,且螺丝14的底端螺纹连接在转轴13的顶端内部,把螺丝14拧下可以将套筒15从内部拿出,对内部进行清洗,套筒15外侧面固定设置若干扇叶7,套筒15外侧底部固定设置杂质钵8,收集涂料中被过滤掉的杂质。
外壳1内部设置第二过滤网4,第二过滤网4顶部设置第一过滤网19,第一过滤网19上侧两端固定设置卡槽块20,第二过滤网4上侧两端设置卡槽21,且卡槽块20卡接在卡槽21内部,可以使第一过滤网19工作时牢固的扣在第二过滤网4之上,第一过滤网19孔径大于第二过滤网4,对大小不同的杂质进行分开过滤,外壳1内部一侧壁开设排气口6,且排气口6贯穿通至外壳1外部,外壳1内部一侧壁底部开设出料口9,对过滤好的涂料进行排出,出料口9外部上侧壁固定设置阀门10,且出料口9贯穿通至外壳1外部。
外壳1顶端一侧固定连接合页22,合页22另一端固定连接盖子18,盖子18下端面开设进料口2,且进料口2贯穿通至盖子18外部,盖子18外部上侧面固定设置把手3,外壳1外侧底部固定设置若干支架腿12,外壳1外部一侧壁上端固定设置控制器5,对装置进行启动。
工作原理:在使用时打开控制器5启动装置,将需要过滤的涂料对接入进料口2,涂料从第一过滤网19过滤后进入下方,电机11带动套筒15上的扇叶7进行转动,对涂料快速通过第二过滤网4加快了过滤速度,当装置不工作时,打开盖子18,将内部的第一过滤网19和套筒15取出,对里面的杂质进行集中处理。
最后应说明的是:以上所述仅为本实用新型的优选实施例而已,并不用于限制本实用新型,尽管参照前述实施例对本实用新型进行了详细的说明,对于本领域的技术人员来说,其依然可以对前述各实施例所记载的技术方案进行修改,或者对其中部分技术特征进行等同替换,凡在本实用新型的精神和原则之内,所作的任何修改、等同替换、改进等,均应包含在本实用新型的保护范围之内。
Claims (8)
1.一种建筑涂料加工用杂质过滤装置,包括外壳(1),其特征在于:所述外壳(1)外侧底部固定设置电机(11),所述电机(11)输出端固定连接转轴(13),且所述转轴(13)贯穿通至外壳(1)内部,所述转轴(13)外侧面套设连接套筒(15),所述套筒(15)外侧面固定设置若干扇叶(7),所述套筒(15)外侧底部固定设置杂质钵(8),所述外壳(1)内部设置第二过滤网(4),所述第二过滤网(4)顶部设置第一过滤网(19),所述外壳(1)内部一侧壁开设排气口(6),且所述排气口(6)贯穿通至外壳(1)外部,所述外壳(1)内部一侧壁底部开设出料口(9),且所述出料口(9)贯穿通至外壳(1)外部,所述外壳(1)顶端一侧固定连接合页(22),所述合页(22)另一端固定连接盖子(18),所述盖子(18)下端面开设进料口(2),且所述进料口(2)贯穿通至盖子(18)外部,所述盖子(18)外部上侧面固定设置把手(3)。
2.根据权利要求1所述的一种建筑涂料加工用杂质过滤装置,其特征在于:所述外壳(1)外侧底部固定设置若干支架腿(12)。
3.根据权利要求1所述的一种建筑涂料加工用杂质过滤装置,其特征在于:所述转轴(13)外侧底部固定设置若干滑块(17),所述套筒(15)内侧壁底部开设若干滑槽(16),且若干所述滑块(17)嵌入若干滑槽(16)内部。
4.根据权利要求1所述的一种建筑涂料加工用杂质过滤装置,其特征在于:所述第一过滤网(19)孔径大于第二过滤网(4)。
5.根据权利要求1所述的一种建筑涂料加工用杂质过滤装置,其特征在于:所述第一过滤网(19)上侧两端固定设置卡槽块(20),所述第二过滤网(4)上侧两端设置卡槽(21),且所述卡槽块(20)卡接在卡槽(21)内部。
6.根据权利要求1所述的一种建筑涂料加工用杂质过滤装置,其特征在于:所述套筒(15)顶部设置螺丝(14),且所述螺丝(14)的底端螺纹连接在转轴(13)的顶端内部。
7.根据权利要求1所述的一种建筑涂料加工用杂质过滤装置,其特征在于:所述出料口(9)外部上侧壁固定设置阀门(10)。
8.根据权利要求1所述的一种建筑涂料加工用杂质过滤装置,其特征在于:所述外壳(1)外部一侧壁上端固定设置控制器(5)。
Priority Applications (1)
| Application Number | Priority Date | Filing Date | Title |
|---|---|---|---|
| CN202221024454.9U CN217163438U (zh) | 2022-04-30 | 2022-04-30 | 一种建筑涂料加工用杂质过滤装置 |
Applications Claiming Priority (1)
| Application Number | Priority Date | Filing Date | Title |
|---|---|---|---|
| CN202221024454.9U CN217163438U (zh) | 2022-04-30 | 2022-04-30 | 一种建筑涂料加工用杂质过滤装置 |
Publications (1)
| Publication Number | Publication Date |
|---|---|
| CN217163438U true CN217163438U (zh) | 2022-08-12 |
Family
ID=82711843
Family Applications (1)
| Application Number | Title | Priority Date | Filing Date |
|---|---|---|---|
| CN202221024454.9U Active CN217163438U (zh) | 2022-04-30 | 2022-04-30 | 一种建筑涂料加工用杂质过滤装置 |
Country Status (1)
| Country | Link |
|---|---|
| CN (1) | CN217163438U (zh) |
-
2022
- 2022-04-30 CN CN202221024454.9U patent/CN217163438U/zh active Active
Similar Documents
| Publication | Publication Date | Title |
|---|---|---|
| CN206526577U (zh) | 用于生产减水剂自动过滤装置 | |
| CN217163438U (zh) | 一种建筑涂料加工用杂质过滤装置 | |
| CN211608083U (zh) | 一种水产虾加工用高效清洗设备 | |
| CN212410158U (zh) | 一种地坪漆的加工设备 | |
| CN218635168U (zh) | 一种具有循环过滤功能的油炸箱 | |
| CN211754233U (zh) | 一种使熏香粉末材料混合的搅拌机 | |
| CN205997211U (zh) | 一种pvb原材料清洗设备 | |
| CN219705762U (zh) | 一种塑料母粒加工的除尘装置 | |
| CN210994293U (zh) | 一种用于糖蛋白提取的提取液过滤装置 | |
| CN217989124U (zh) | 一种具有过滤结构的墙面处理剂用加工装置 | |
| CN218665467U (zh) | 一种污水处理用生物脱氮装置 | |
| CN208661954U (zh) | 一种燕麦清洗装置 | |
| CN212069741U (zh) | 一种五金零件清洗烘干装置 | |
| CN207413407U (zh) | 一种生产超分子活性密实剂的反应釜 | |
| CN205683701U (zh) | 一种过滤彻底且结构简单的过滤罐 | |
| CN215745097U (zh) | 一种五金件清洗装置 | |
| CN214233303U (zh) | 一种水膜除尘装置 | |
| CN211676491U (zh) | 一种具有防堵塞功能的油漆过滤装置 | |
| CN211216609U (zh) | 一种化学试剂生产用混合装置 | |
| CN207413405U (zh) | 一种生产密实剂的反应釜 | |
| CN215742479U (zh) | 一种石墨生产用粉尘回收装置 | |
| CN220990360U (zh) | 一种护发素加工用高效乳化装置 | |
| CN112452046A (zh) | 一种工业污水处理用过滤设备及其使用方法 | |
| CN218306732U (zh) | 一种他唑巴坦酸生产用干燥脱水装置 | |
| CN222175589U (zh) | 一种差速器壳体用冲孔装置 |
Legal Events
| Date | Code | Title | Description |
|---|---|---|---|
| GR01 | Patent grant | ||
| GR01 | Patent grant |