CN217138142U - An oral and maxillofacial surgery retractor - Google Patents
An oral and maxillofacial surgery retractor Download PDFInfo
- Publication number
- CN217138142U CN217138142U CN202220716889.3U CN202220716889U CN217138142U CN 217138142 U CN217138142 U CN 217138142U CN 202220716889 U CN202220716889 U CN 202220716889U CN 217138142 U CN217138142 U CN 217138142U
- Authority
- CN
- China
- Prior art keywords
- frame
- fixedly connected
- retractor
- oral
- maxillofacial surgery
- Prior art date
- Legal status (The legal status is an assumption and is not a legal conclusion. Google has not performed a legal analysis and makes no representation as to the accuracy of the status listed.)
- Expired - Fee Related
Links
- 238000001356 surgical procedure Methods 0.000 title claims abstract description 21
- 229910001220 stainless steel Inorganic materials 0.000 claims description 4
- 239000010935 stainless steel Substances 0.000 claims description 4
- 239000000463 material Substances 0.000 claims description 3
- 210000000214 mouth Anatomy 0.000 claims 1
- 230000001105 regulatory effect Effects 0.000 claims 1
- 238000010586 diagram Methods 0.000 description 4
- 230000009286 beneficial effect Effects 0.000 description 2
- 238000000034 method Methods 0.000 description 2
- 238000012986 modification Methods 0.000 description 2
- 230000004048 modification Effects 0.000 description 2
- TVEXGJYMHHTVKP-UHFFFAOYSA-N 6-oxabicyclo[3.2.1]oct-3-en-7-one Chemical compound C1C2C(=O)OC1C=CC2 TVEXGJYMHHTVKP-UHFFFAOYSA-N 0.000 description 1
- 210000000988 bone and bone Anatomy 0.000 description 1
- 230000007812 deficiency Effects 0.000 description 1
- 230000001815 facial effect Effects 0.000 description 1
- 210000004394 hip joint Anatomy 0.000 description 1
- 238000002513 implantation Methods 0.000 description 1
- 238000009434 installation Methods 0.000 description 1
- 210000000056 organ Anatomy 0.000 description 1
- 210000003079 salivary gland Anatomy 0.000 description 1
- 210000004872 soft tissue Anatomy 0.000 description 1
- 210000001738 temporomandibular joint Anatomy 0.000 description 1
Images
Landscapes
- Surgical Instruments (AREA)
Abstract
本实用新型公开了一种口腔颌面手术拉钩,包括框架,框架的外侧活动连接有移动架,移动架的顶部固定连接有调节框,调节框的内侧活动连接有拉钩主体,拉钩主体的顶部固定连接有齿条,拉钩主体的一端一体式连接有拉钩端,调节框的顶部贯穿有转轴,转轴的顶端固定连接有手轮,转轴的底端固定连接有齿轮,框架的一侧固定连接有伸缩杆,伸缩杆的一端固定连接有接头,接头的底部固定连接有升降杆,通过设置的升降杆和伸缩杆,使拉钩能根据手术部位调节至合适的位置,因此提高了口腔颌面手术拉钩灵活性,通过设置的框架、移动架和调节框,使得医护人员在手术过程中能围绕手术部位快速且全方位的固定拉钩,因此提高了手术拉钩调节性。
The utility model discloses a retractor for oral and maxillofacial surgery, which comprises a frame, a movable frame is movably connected to the outer side of the frame, an adjustment frame is fixedly connected to the top of the movable frame, a retractor main body is movably connected to the inner side of the adjustment frame, and the top of the retractor main body is fixed A rack is connected, one end of the hook main body is integrally connected with a hook end, a rotating shaft runs through the top of the adjustment frame, a handwheel is fixedly connected to the top of the rotating shaft, a gear is fixedly connected to the bottom end of the rotating shaft, and a telescopic frame is fixedly connected to one side. One end of the telescopic rod is fixedly connected with a joint, and the bottom of the joint is fixedly connected with a lifting rod. By setting the lifting rod and the telescopic rod, the retractor can be adjusted to a suitable position according to the surgical site, thus improving the flexibility of the retractor for oral and maxillofacial surgery. Through the provided frame, moving frame and adjusting frame, medical staff can quickly and comprehensively fix the retractor around the surgical site during the operation, thus improving the adjustability of the surgical retractor.
Description
技术领域technical field
本实用新型涉及手术拉钩技术领域,具体为一种口腔颌面手术拉钩。The utility model relates to the technical field of surgical retractors, in particular to a retractor for oral and maxillofacial surgery.
背景技术Background technique
口腔颌面是口腔器官、面部软组织、颌面诸骨、 颞下颌关节、 唾液腺,而拉钩是医疗器材,为手术工具,用于辅助相关髋关节假体的组装和植入。Oral and maxillofacial are oral organs, facial soft tissues, maxillofacial bones, temporomandibular joints, salivary glands, and retractors are medical equipment, which are surgical tools used to assist in the assembly and implantation of related hip joint prostheses.
但现有的口腔颌面手术拉钩灵活性差,在使用过程中,在固定拉钩时难以根据手术部位调节放置至合适的位置,并且在手术过程中医生难以围绕手术部位快速且全方位的固定拉钩,导致手术拉钩调节性差的问题,为此我们提出一种口腔颌面手术拉钩。However, the existing retractors for oral and maxillofacial surgery have poor flexibility. During use, it is difficult to adjust and place the retractors according to the surgical site, and it is difficult for doctors to quickly and comprehensively fix the retractors around the surgical site during the operation. This leads to the problem of poor adjustment of the surgical retractor. For this reason, we propose a retractor for oral and maxillofacial surgery.
实用新型内容Utility model content
(一)解决的技术问题(1) Technical problems solved
针对现有技术的不足,本实用新型提供了一种口腔颌面手术拉钩,以解决上述背景技术中提出口腔颌面手术拉钩灵活性差和调节性差的问题。In view of the deficiencies of the prior art, the present invention provides a retractor for oral and maxillofacial surgery to solve the problems of poor flexibility and poor adjustment of the retractor for oral and maxillofacial surgery proposed in the above-mentioned background art.
(二)技术方案(2) Technical solutions
为实现以上目的,本实用新型通过以下技术方案予以实现:一种口腔颌面手术拉钩,包括框架,所述框架的外侧活动连接有移动架,所述移动架的顶部固定连接有调节框,所述框架的一侧固定连接有伸缩杆,所述伸缩杆的一端固定连接有接头,所述接头的底部固定连接有升降杆。In order to achieve the above purpose, the present utility model is achieved through the following technical solutions: a retractor for oral and maxillofacial surgery, comprising a frame, a movable frame is movably connected to the outside of the frame, and an adjustment frame is fixedly connected to the top of the movable frame, so A telescopic rod is fixedly connected to one side of the frame, a joint is fixedly connected to one end of the telescopic rod, and a lifting rod is fixedly connected to the bottom of the joint.
进一步优选的,所述调节框的内侧活动连接有拉钩主体,所述调节框的顶部贯穿有转轴,所述转轴的顶端固定连接有手轮,所述转轴的底端固定连接有齿轮。Further preferably, a hook body is movably connected to the inner side of the adjusting frame, a rotating shaft runs through the top of the adjusting frame, a hand wheel is fixedly connected to the top end of the rotating shaft, and a gear is fixedly connected to the bottom end of the rotating shaft.
进一步优选的,所述拉钩主体的顶部固定连接有齿条,所述拉钩主体的一端一体式连接有拉钩端,所述齿条与齿轮啮合连接。Further preferably, a rack is fixedly connected to the top of the hook main body, a hook end is integrally connected to one end of the hook main body, and the rack is engaged with the gear.
进一步优选的,所述升降杆的顶端固定连接有固定座,所述固定座的顶部开设有固定口,所述固定口设置有四个,四个所述固定口的大小相同。Further preferably, the top of the lifting rod is fixedly connected with a fixing seat, the top of the fixing seat is provided with fixing openings, there are four fixing openings, and the four fixing openings have the same size.
进一步优选的,所述齿条设置有多个,多个所述齿条的大小相同,多个所述齿条呈等距排列。Further preferably, a plurality of the racks are provided, the sizes of the racks are the same, and the racks are arranged at equal distances.
进一步优选的,所述框架的形状呈“圆形”,所述框架由不锈钢材料加工而成,所述框架的外表光滑。Further preferably, the shape of the frame is "circular", the frame is made of stainless steel, and the appearance of the frame is smooth.
(三)有益效果(3) Beneficial effects
本实用新型提供了一种口腔颌面手术拉钩,具备以下有益效果:The utility model provides a retractor for oral and maxillofacial surgery, which has the following beneficial effects:
(1)、该种口腔颌面手术拉钩,通过设置的升降杆和伸缩杆,在使用口腔颌面手术拉钩时,通过使用螺丝把插入到固定口内,并把固定座固定在合适位置,当使用时,医护人员启动升降杆,升降杆就会根据医护人员的使用需求带动拉钩上下移动,当调整好高度后,医护人员启动伸缩杆,伸缩杆就会带动拉钩左右移动,并调整拉钩的位置,使拉钩能根据手术部位调节至合适的位置,因此提高了口腔颌面手术拉钩灵活性。(1) This kind of oral and maxillofacial surgery retractor, through the provided lifting rod and telescopic rod, when using the oral and maxillofacial surgery retractor, it is inserted into the fixing port by using a screw, and the fixing seat is fixed in a suitable position. When the medical staff starts the lifting rod, the lifting rod will drive the hook to move up and down according to the needs of the medical staff. When the height is adjusted, the medical staff starts the telescopic rod, and the telescopic rod will drive the hook to move left and right, and adjust the position of the hook. The retractor can be adjusted to an appropriate position according to the surgical site, thus improving the flexibility of the retractor for oral and maxillofacial surgery.
(2)、该种口腔颌面手术拉钩,通过设置的框架、移动架和调节框,当调整好位置,需要使用拉钩,拉住患者的口腔颌面时,医护人员旋转手轮,手轮通过转轴带动齿轮就会转动起来,而齿轮就会拨动拉钩主体上的齿条,同时拉钩主体就会根据医护人员转动手轮的方向前后移动调整位置,而后医护人员把拉钩端放入到患者的口腔颌面,并逆时针旋转手轮,拉钩主体带动拉钩端,向调节框的后侧移动,此时拉钩端就会向外拉动患者的口腔颌面,当医护人员需要对其他方向的口腔颌面就会拉动时,医护人员只需推动移动架,移动架通过框架就会移动起来,从而调整拉钩主体的方位,使拉钩主体能直接对其他位置的口腔颌面就会拉动,使得医护人员在手术过程中能围绕手术部位快速且全方位的固定拉钩,因此提高了手术拉钩调节性。(2) This kind of oral and maxillofacial surgery retractor, through the set frame, moving frame and adjustment frame, when the position is adjusted, the retractor needs to be used to pull the patient's oral and maxillofacial surface, the medical staff rotates the handwheel, and the handwheel passes through the hook. The shaft will drive the gear to rotate, and the gear will toggle the rack on the hook body, and the hook body will move back and forth according to the direction of the medical staff turning the handwheel to adjust the position, and then the medical staff will put the hook end into the patient's body. Oral and maxillofacial, and rotate the hand wheel counterclockwise, the main body of the hook drives the end of the hook to move to the back side of the adjustment frame, and the end of the hook will pull the patient's oral and maxillofacial outwards. When the face will be pulled, the medical staff only needs to push the mobile frame, and the mobile frame will move through the frame, so as to adjust the orientation of the main body of the retractor, so that the main body of the retractor can directly pull the oral and maxillofacial surfaces in other positions, so that the medical staff is in the During the operation, the retractor can be quickly and comprehensively fixed around the surgical site, thus improving the adjustability of the surgical retractor.
附图说明Description of drawings
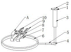
图1是本实用新型的整体结构示意图;Fig. 1 is the overall structure schematic diagram of the present utility model;
图2是本实用新型升降杆的局部结构示意图;Fig. 2 is the partial structure schematic diagram of the lifting rod of the present invention;
图3是本实用新型图1中A处的局部结构放大示意图;Fig. 3 is the enlarged schematic diagram of the partial structure at A in Fig. 1 of the present utility model;
图4是本实用新型拉钩主体的局部结构示意图。FIG. 4 is a partial structural schematic diagram of the main body of the retractor of the present invention.
图中:1、固定座;2、固定口;3、升降杆;4、接头;5、伸缩杆;6、框架;7、移动架;8、调节框;9、拉钩主体;901、拉钩端;10、齿条;11、转轴;12、手轮;13、齿轮。In the figure: 1. Fixed seat; 2. Fixed port; 3. Lifting rod; 4. Joint; 5. Telescopic rod; 6. Frame; 7. Moving frame; 8. Adjusting frame; 9. Main body of the hook; ; 10, rack; 11, shaft; 12, hand wheel; 13, gear.
具体实施方式Detailed ways
下面将结合本实用新型实施例中的附图,对本实用新型实施例中的技术方案进行清楚、完整地描述,显然,所描述的实施例仅仅是本实用新型一部分实施例,而不是全部的实施例,基于本实用新型中的实施例,本领域普通技术人员在没有做出创造性劳动前提下所获得的所有其他实施例,都属于本实用新型保护的范围。The technical solutions in the embodiments of the present utility model will be clearly and completely described below with reference to the accompanying drawings in the embodiments of the present utility model. Obviously, the described embodiments are only a part of the embodiments of the present utility model, rather than all the implementations. For example, based on the embodiments of the present invention, all other embodiments obtained by persons of ordinary skill in the art without creative work shall fall within the protection scope of the present invention.
在本实用新型的描述中,需要理解的是,术语“上”、“下”、“前”、“后”、“左”、“右”、“顶”、“底”、“内”、“外”等指示的方位或位置关系为基于附图所示的方位或位置关系,仅是为了便于描述本实用新型和简化描述,而不是指示或暗示所指的装置或元件必须具有特定的方位、以特定的方位构造和操作,因此不能理解为对本实用新型的限制。In the description of the present invention, it should be understood that the terms "upper", "lower", "front", "rear", "left", "right", "top", "bottom", "inside", The orientation or positional relationship indicated by "outside" is based on the orientation or positional relationship shown in the accompanying drawings, which is only for the convenience of describing the present invention and simplifying the description, rather than indicating or implying that the indicated device or element must have a specific orientation , are constructed and operated in a specific orientation, and therefore should not be construed as a limitation of the present invention.
在本实用新型的描述中,需要说明的是,除非另有明确的规定和限定,术语“安装”、“相连”、“连接”应做广义理解,例如,可以是固定连接,也可以是可拆卸连接,或一体地连接;可以是机械连接,也可以是电连接;可以是直接相连,也可以通过中间媒介间接相连,可以是两个元件内部的连通。对于本领域的普通技术人员而言,可以具体情况理解上述术语在本实用新型中的具体含义。In the description of the present invention, it should be noted that, unless otherwise expressly specified and limited, the terms "installed", "connected" and "connected" should be understood in a broad sense, for example, it may be a fixed connection or a connectable connection. Detachable connection, or integral connection; may be mechanical connection or electrical connection; may be direct connection, or indirect connection through an intermediate medium, or internal communication between two components. For those of ordinary skill in the art, the specific meanings of the above terms in the present invention can be understood in specific situations.
请参阅图1-4,本实用新型提供一种技术方案:一种口腔颌面手术拉钩,包括框架6,框架6的外侧活动连接有移动架7,移动架7的顶部固定连接有调节框8,框架6的一侧固定连接有伸缩杆5,伸缩杆5的一端固定连接有接头4,接头4的底部固定连接有升降杆3。1-4, the present utility model provides a technical solution: a retractor for oral and maxillofacial surgery, comprising a
本实施例中,具体的,调节框8的内侧活动连接有拉钩主体9,调节框8的顶部贯穿有转轴11,转轴11的顶端固定连接有手轮12,转轴11的底端固定连接有齿轮13,通过旋转手轮12,手轮12通过转轴11带动齿轮13就会转动起来,而齿轮13就会拨动拉钩主体9上的齿条10,同时拉钩主体9就会根据医护人员转动手轮12的方向前后移动调整位置,而后医护人员把拉钩端901放入到患者的口腔颌面,并逆时针旋转手轮12,拉钩主体9带动拉钩端901,向调节框8的后侧移动,此时拉钩端901就会向外拉动患者的口腔颌面。In this embodiment, specifically, the inner side of the
本实施例中,具体的,拉钩主体9的顶部固定连接有齿条10,拉钩主体9的一端一体式连接有拉钩端901,齿条10与齿轮13啮合连接,通过拉钩端901可以更好的拉动患者的口腔颌面,避免出现滑落的问题。In this embodiment, specifically, a
本实施例中,具体的,升降杆3的顶端固定连接有固定座1,固定座1的顶部开设有固定口2,固定口2设置有四个,四个固定口2的大小相同,通过使用螺丝把插入到固定口2内,并把固定座1固定在合适位置,依次便于安装拉钩。In this embodiment, specifically, the top of the
本实施例中,具体的,齿条10设置有多个,多个齿条10的大小相同,多个齿条10呈等距排列,通过齿条10宾语医护人员调整拉钩主体9的位置和拉动的力度。In this embodiment, specifically, a plurality of
本实施例中,具体的,框架6的形状呈“圆形”,框架6由不锈钢材料加工而成,框架6的外表光滑,由不锈钢材料加工而成的框架6更加坚固耐用。In this embodiment, specifically, the shape of the
工作原理:本实用新型安装好过后,首先检查本实用新型的安装固定以及安全防护,在使用口腔颌面手术拉钩时,通过使用螺丝把插入到固定口2内,并把固定座1固定在合适位置,当使用时,医护人员启动升降杆3,升降杆3就会根据医护人员的使用需求带动拉钩上下移动,当调整好高度后,医护人员启动伸缩杆5,伸缩杆5就会带动拉钩左右移动,并调整拉钩的位置,使拉钩能根据手术部位调节至合适的位置,当调整好位置,需要使用拉钩,拉住患者的口腔颌面时,医护人员旋转手轮12,手轮12通过转轴11带动齿轮13就会转动起来,而齿轮13就会拨动拉钩主体9上的齿条10,同时拉钩主体9就会根据医护人员转动手轮12的方向前后移动调整位置,而后医护人员把拉钩端901放入到患者的口腔颌面,并逆时针旋转手轮12,拉钩主体9带动拉钩端901,向调节框8的后侧移动,此时拉钩端901就会向外拉动患者的口腔颌面,当医护人员需要对其他方向的口腔颌面就会拉动时,医护人员只需推动移动架7,移动架7通过框架6就会移动起来,从而调整拉钩主体9的方位,使拉钩主体9能直接对其他位置的口腔颌面就会拉动,使得医护人员在手术过程中能围绕手术部位快速且全方位的固定拉钩,这样就完成了对本实用新型的使用过程,本实用新型结构简单,使用安全方便。Working principle: After the utility model is installed, firstly check the installation, fixation and safety protection of the utility model. When using the retractor for oral and maxillofacial surgery, insert the screw into the fixing
尽管已经示出和描述了本实用新型的实施例,对于本领域的普通技术人员而言,可以理解在不脱离本实用新型的原理和精神的情况下可以对这些实施例进行多种变化、修改、替换和变型,本实用新型的范围由所附权利要求及其等同物限定。Although the embodiments of the present invention have been shown and described, it will be understood by those skilled in the art that various changes and modifications can be made to these embodiments without departing from the principles and spirit of the present invention , alternatives and modifications, the scope of the present invention is defined by the appended claims and their equivalents.
Claims (6)
Priority Applications (1)
| Application Number | Priority Date | Filing Date | Title |
|---|---|---|---|
| CN202220716889.3U CN217138142U (en) | 2022-03-30 | 2022-03-30 | An oral and maxillofacial surgery retractor |
Applications Claiming Priority (1)
| Application Number | Priority Date | Filing Date | Title |
|---|---|---|---|
| CN202220716889.3U CN217138142U (en) | 2022-03-30 | 2022-03-30 | An oral and maxillofacial surgery retractor |
Publications (1)
| Publication Number | Publication Date |
|---|---|
| CN217138142U true CN217138142U (en) | 2022-08-09 |
Family
ID=82696882
Family Applications (1)
| Application Number | Title | Priority Date | Filing Date |
|---|---|---|---|
| CN202220716889.3U Expired - Fee Related CN217138142U (en) | 2022-03-30 | 2022-03-30 | An oral and maxillofacial surgery retractor |
Country Status (1)
| Country | Link |
|---|---|
| CN (1) | CN217138142U (en) |
Cited By (2)
| Publication number | Priority date | Publication date | Assignee | Title |
|---|---|---|---|---|
| CN119924910A (en) * | 2025-03-19 | 2025-05-06 | 首都医科大学附属北京口腔医院 | A retractor for oral and maxillofacial surgery |
| CN120131247A (en) * | 2025-04-29 | 2025-06-13 | 山东大学齐鲁医院 | Retractor for oral and maxillofacial surgery |
-
2022
- 2022-03-30 CN CN202220716889.3U patent/CN217138142U/en not_active Expired - Fee Related
Cited By (2)
| Publication number | Priority date | Publication date | Assignee | Title |
|---|---|---|---|---|
| CN119924910A (en) * | 2025-03-19 | 2025-05-06 | 首都医科大学附属北京口腔医院 | A retractor for oral and maxillofacial surgery |
| CN120131247A (en) * | 2025-04-29 | 2025-06-13 | 山东大学齐鲁医院 | Retractor for oral and maxillofacial surgery |
Similar Documents
| Publication | Publication Date | Title |
|---|---|---|
| CN217138142U (en) | An oral and maxillofacial surgery retractor | |
| CN213099078U (en) | Obstetrical device for obstetrics and gynecology department | |
| CN205514721U (en) | Jaw face deep surgery retractor | |
| CN211381538U (en) | Seated eyelid opener for ophthalmology | |
| CN211187898U (en) | Postoperative rehabilitation nursing device for surgery | |
| CN214104727U (en) | Oral cavity opening device for assisting oral surgery | |
| CN210447525U (en) | Adjustable operation body position pad | |
| CN116570450A (en) | Joint operation position adjusting device | |
| CN213309978U (en) | Auxiliary uterine dilator for gynecological operation | |
| CN213220568U (en) | Postpartum physical therapy device for obstetrics and gynecology department | |
| CN211326352U (en) | Clinical ware that holds up of orthopedics | |
| CN215652332U (en) | Operating bed for orthopedics department | |
| CN221808006U (en) | Adjustable surgical retractor | |
| CN217592939U (en) | Multifunctional thyroid retractor | |
| CN223569484U (en) | A lower limb skeletal traction combination device | |
| CN215503526U (en) | Strutting arrangement for department of oromaxillofacial surgery convenient to adjust fixedly | |
| CN215606173U (en) | Movable fracture reduction robot | |
| CN219048650U (en) | Retractor fixer for clinic | |
| CN222265651U (en) | A new type of obstetric frame | |
| CN219148279U (en) | Leg frame after skin flap transplanting operation | |
| CN222517102U (en) | Orthopedics traction adjusting bracket | |
| CN223126823U (en) | Orthopedic surgery auxiliary frame | |
| CN220142086U (en) | Cervical vertebra postoperative upper limb muscle strength rehabilitation device | |
| CN223183663U (en) | A new multifunctional auxiliary traction device | |
| CN217118834U (en) | Shoulder joint dislocation reduction chair |
Legal Events
| Date | Code | Title | Description |
|---|---|---|---|
| GR01 | Patent grant | ||
| GR01 | Patent grant | ||
| CF01 | Termination of patent right due to non-payment of annual fee |
Granted publication date: 20220809 |
|
| CF01 | Termination of patent right due to non-payment of annual fee |
