CN217136546U - Insect pest control and catching device for fruit trees - Google Patents
Insect pest control and catching device for fruit trees Download PDFInfo
- Publication number
- CN217136546U CN217136546U CN202220068581.2U CN202220068581U CN217136546U CN 217136546 U CN217136546 U CN 217136546U CN 202220068581 U CN202220068581 U CN 202220068581U CN 217136546 U CN217136546 U CN 217136546U
- Authority
- CN
- China
- Prior art keywords
- insect
- catching
- pest
- box
- insect trapping
- Prior art date
- Legal status (The legal status is an assumption and is not a legal conclusion. Google has not performed a legal analysis and makes no representation as to the accuracy of the status listed.)
- Expired - Fee Related
Links
- 241000238631 Hexapoda Species 0.000 title claims abstract description 155
- 241000607479 Yersinia pestis Species 0.000 title claims abstract description 88
- 235000013399 edible fruits Nutrition 0.000 title claims abstract description 54
- 238000003860 storage Methods 0.000 claims abstract description 26
- 230000005611 electricity Effects 0.000 claims abstract description 12
- 239000003814 drug Substances 0.000 claims description 24
- 238000007664 blowing Methods 0.000 claims description 8
- 238000007789 sealing Methods 0.000 claims description 6
- 239000007788 liquid Substances 0.000 claims description 5
- 230000002093 peripheral effect Effects 0.000 claims 1
- 239000000575 pesticide Substances 0.000 abstract description 7
- 239000002917 insecticide Substances 0.000 abstract 1
- 230000000749 insecticidal effect Effects 0.000 description 24
- 201000010099 disease Diseases 0.000 description 4
- 208000037265 diseases, disorders, signs and symptoms Diseases 0.000 description 4
- 230000000694 effects Effects 0.000 description 3
- 238000004519 manufacturing process Methods 0.000 description 3
- 238000009826 distribution Methods 0.000 description 2
- 230000001939 inductive effect Effects 0.000 description 2
- 239000000463 material Substances 0.000 description 2
- 238000000034 method Methods 0.000 description 2
- 230000004048 modification Effects 0.000 description 2
- 238000012986 modification Methods 0.000 description 2
- 230000009471 action Effects 0.000 description 1
- 230000009286 beneficial effect Effects 0.000 description 1
- 230000009194 climbing Effects 0.000 description 1
- 238000004891 communication Methods 0.000 description 1
- 230000009193 crawling Effects 0.000 description 1
- 238000005516 engineering process Methods 0.000 description 1
- 235000013305 food Nutrition 0.000 description 1
- 230000005484 gravity Effects 0.000 description 1
- 230000036541 health Effects 0.000 description 1
- 230000006872 improvement Effects 0.000 description 1
- 239000000447 pesticide residue Substances 0.000 description 1
- 230000002319 phototactic effect Effects 0.000 description 1
- 239000006187 pill Substances 0.000 description 1
- 238000010248 power generation Methods 0.000 description 1
- 230000008569 process Effects 0.000 description 1
Images
Classifications
-
- Y—GENERAL TAGGING OF NEW TECHNOLOGICAL DEVELOPMENTS; GENERAL TAGGING OF CROSS-SECTIONAL TECHNOLOGIES SPANNING OVER SEVERAL SECTIONS OF THE IPC; TECHNICAL SUBJECTS COVERED BY FORMER USPC CROSS-REFERENCE ART COLLECTIONS [XRACs] AND DIGESTS
- Y02—TECHNOLOGIES OR APPLICATIONS FOR MITIGATION OR ADAPTATION AGAINST CLIMATE CHANGE
- Y02A—TECHNOLOGIES FOR ADAPTATION TO CLIMATE CHANGE
- Y02A50/00—TECHNOLOGIES FOR ADAPTATION TO CLIMATE CHANGE in human health protection, e.g. against extreme weather
- Y02A50/30—Against vector-borne diseases, e.g. mosquito-borne, fly-borne, tick-borne or waterborne diseases whose impact is exacerbated by climate change
Landscapes
- Catching Or Destruction (AREA)
Abstract
本实用新型提出了一种果树虫害防治捕虫装置,涉及果树虫害防治技术领域。一种果树虫害防治捕虫装置,包括捕虫箱、诱虫装置、杀虫装置、储电装置和用于将捕虫箱固定在树上的固定装置,捕虫箱设于固定装置,捕虫箱四周侧壁均设置有虫孔,诱虫装置和杀虫装置均设于捕虫箱内,诱虫装置和杀虫装置均与储电装置电性连接,本装置可以有效捕捉果树上的害虫,避免害虫损害果树,保证果树的生长质量,不需要人工施药除虫,从而降低人工成本。
The utility model provides an insect-catching device for fruit tree pest control, which relates to the technical field of fruit tree pest control. A fruit tree insect pest control and catching device, comprising an insect catching box, an insect trapping device, an insect killing device, an electricity storage device and a fixing device for fixing the insect catching box on the tree, the insect catching box is arranged on the fixing device, and the surrounding side walls of the insect catching box are all There are worm holes, the insect trapping device and the insect killing device are both set in the insect trapping box, and the insect trapping device and the insect killing device are electrically connected with the power storage device. To ensure the growth quality of fruit trees, there is no need for manual application of pesticides and insecticides, thereby reducing labor costs.
Description
技术领域technical field
本实用新型涉及果树虫害防治技术领域,具体而言,涉及一种果树虫害防治捕虫装置。The utility model relates to the technical field of fruit tree pest control, in particular to a fruit tree pest control and insect trapping device.
背景技术Background technique
在果树的成长过程中,病虫害是一个严重制约果树结果率的因素,在果树的种植管理中,对病虫害进行有效的防控是至关重要的,传统的防控方法都是果农在果树生长过程中人工观察果树是否被病虫害感染,需要人为地定期查看病虫害状况并施药驱虫,工作量大,负担重;同时在现代人们对食品健康的要求越来越高,大量使用农药除虫,虽然具有一定的效果,但是水果本身会残留较多农药,对人体造成伤害,为解决前述问题,我们提供一种果树虫害防治捕虫装置。In the growth process of fruit trees, pests and diseases are a factor that seriously restricts the fruiting rate of fruit trees. In the planting management of fruit trees, it is very important to effectively prevent and control diseases and insect pests. In the manual observation of whether fruit trees are infected by pests and diseases, it is necessary to regularly check the status of pests and diseases and apply pesticides to deworm them, which is a heavy workload and a heavy burden; at the same time, people in modern times have higher and higher requirements for food health, and pesticides are used in large quantities. It has a certain effect, but the fruit itself will have more pesticide residues, which will cause harm to the human body. In order to solve the aforementioned problems, we provide a fruit tree pest control and insect trapping device.
实用新型内容Utility model content
本实用新型的目的在于提供一种果树虫害防治捕虫装置,可以有效捕捉果树上的害虫,避免害虫损害果树,保证果树的生长质量,不需要人工施药除虫,从而降低人工成本。The purpose of the utility model is to provide a pest control device for fruit tree pest control, which can effectively catch pests on fruit trees, avoid pest damage to fruit trees, ensure the growth quality of fruit trees, and does not require manual application of pesticides to remove insects, thereby reducing labor costs.
本实用新型的实施例是这样实现的:The embodiment of the present utility model is realized in this way:
本申请实施例提供一种果树虫害防治捕虫装置,其包括捕虫箱、诱虫装置、杀虫装置、储电装置和用于将上述捕虫箱固定在树上的固定装置,上述捕虫箱设于上述固定装置,上述捕虫箱四周侧壁均设置有虫孔,上述诱虫装置和上述杀虫装置均设于上述捕虫箱内,上述诱虫装置和上述杀虫装置均与上述储电装置电性连接。The embodiment of the present application provides an insect trapping device for fruit tree pest control, which includes an insect trapping box, an insect trapping device, an insecticidal device, a power storage device, and a fixing device for fixing the above-mentioned insect trapping box on a tree. Fixing device, the side walls of the above-mentioned insect trapping box are all provided with worm holes, the above-mentioned insect trapping device and the above-mentioned insecticidal device are all arranged in the above-mentioned insect trapping box, and the above-mentioned insect trapping device and the above-mentioned insecticidal device are all electrically connected with the above-mentioned power storage device. .
在本实用新型的一些实施例中,上述捕虫箱内侧壁靠近上述虫孔处设有倾斜板,上述倾斜板的倾斜面设有光滑层。In some embodiments of the present invention, the inner side wall of the insect trapping box is provided with an inclined plate near the insect hole, and the inclined surface of the inclined plate is provided with a smooth layer.
在本实用新型的一些实施例中,上述捕虫箱呈棱台结构。In some embodiments of the present invention, the above-mentioned insect trapping box has a prismatic structure.
在本实用新型的一些实施例中,上述捕虫箱一侧设有可开合的密封门。In some embodiments of the present invention, an openable and closable sealing door is provided on one side of the above-mentioned insect trapping box.
在本实用新型的一些实施例中,上述诱虫装置包括诱虫灯,上述诱虫灯悬挂设于上述捕虫箱内中部。In some embodiments of the present invention, the insect trapping device includes an insect trapping lamp, and the insect trapping lamp is suspended in the middle of the insect trapping box.
在本实用新型的一些实施例中,上述诱虫装置还包括药引装置,上述药引装置包括吹风组件和药包,上述吹风组件设于上述捕虫箱内,上述药包可拆卸设于上述吹风组件的风口,上述吹风组件与上述储电装置电性连接。In some embodiments of the present invention, the insect trapping device further includes a medicine guiding device, the medicine guiding device includes a blower assembly and a medicine bag, the blower assembly is arranged in the insect trapping box, and the medicine bag is detachably arranged in the blower The air outlet of the component, the above-mentioned blowing component is electrically connected with the above-mentioned power storage device.
在本实用新型的一些实施例中,上述杀虫装置包括电网,上述电网设有四个,四个上述电网围绕设于上述诱虫装置外侧,上述电网与上述储电装置电性连接。In some embodiments of the present invention, the above-mentioned insecticidal device includes a power grid, and four of the above-mentioned power grids are arranged around the outside of the above-mentioned insect trapping device, and the above-mentioned power grid is electrically connected to the above-mentioned power storage device.
在本实用新型的一些实施例中,上述杀虫装置还包括抽盘,上述抽盘滑动设于上述捕虫箱底部,上述抽盘上设有用于盛装杀虫液的腔体。In some embodiments of the present invention, the above-mentioned insecticidal device further comprises a drawer, which is slidably arranged at the bottom of the above-mentioned insect trapping box, and a cavity for containing the insecticidal liquid is provided on the above-mentioned drawer.
在本实用新型的一些实施例中,上述固定装置包括可调节杆和固定底座,上述可调节杆的一端与上述固定底座连接,上述可调节杆的另一端与上述捕虫箱连接。In some embodiments of the present invention, the above-mentioned fixing device includes an adjustable rod and a fixed base, one end of the above-mentioned adjustable rod is connected to the above-mentioned fixed base, and the other end of the above-mentioned adjustable rod is connected to the above-mentioned insect trapping box.
在本实用新型的一些实施例中,上述可调节杆包括第一支撑杆和第二支撑杆,上述第一支撑杆的一端与上述固定底座连接,上述第一支撑杆的另一端与上述第二支撑杆滑动连接,上述第二支撑杆远离上述第一支撑杆的一端为弹性杆。In some embodiments of the present invention, the adjustable rod includes a first support rod and a second support rod, one end of the first support rod is connected to the fixed base, and the other end of the first support rod is connected to the second support rod The support rods are slidably connected, and one end of the second support rod away from the first support rod is an elastic rod.
相对于现有技术,本实用新型的实施例至少具有如下优点或有益效果:Compared with the prior art, the embodiments of the present utility model at least have the following advantages or beneficial effects:
本申请提供一种果树虫害防治捕虫装置,包括捕虫箱、诱虫装置、杀虫装置、储电装置和用于将上述捕虫箱固定在树上的固定装置,上述捕虫箱设于上述固定装置,上述捕虫箱四周侧壁均设置有虫孔,上述诱虫装置和上述杀虫装置均设于上述捕虫箱内,上述诱虫装置和上述杀虫装置均与上述储电装置电性连接。The present application provides an insect trapping device for fruit tree pest control, comprising an insect trapping box, an insect trapping device, an insecticidal device, an electricity storage device, and a fixing device for fixing the above-mentioned insect trapping box on a tree, wherein the above-mentioned insect trapping box is arranged on the above-mentioned fixing device, The above-mentioned insect trapping box is provided with worm holes all around the side walls, the above-mentioned insect trapping device and the above-mentioned insecticidal device are all arranged in the above-mentioned insect trapping box, and the above-mentioned insect trapping device and the above-mentioned insecticidal device are electrically connected with the above-mentioned electricity storage device.
其中捕虫箱可以用于捕捉害虫,其中捕虫箱外侧壁设有虫孔,可以使害虫通过虫孔进入捕虫箱内,避免害虫损害果树,在使用时,通过固定装置将捕虫箱固定在果树上合适的位置处,储电装置可以储存电能,通过储电装置给诱虫装置和杀虫装置提供电能,使诱虫装置和杀虫装置能稳定工作,通过诱虫装置散发引诱害虫的物质信息,引诱害虫进入捕虫箱内,害虫通过虫孔进入捕虫箱后,然后通过杀虫装置杀死害虫,从而保证果树健康生长,保证果树生产质量。Among them, the insect trapping box can be used to capture pests, and the outer side wall of the insect trapping box is provided with worm holes, which can allow the pests to enter the insect trapping box through the worm holes, so as to prevent the pests from damaging the fruit trees. At the location where the power storage device can store electrical energy, the power storage device can provide electrical energy to the insect trapping device and the insecticidal device, so that the insect trapping device and the insecticidal device can work stably. The pests enter the insect trapping box, and after the pests enter the insect trapping box through the wormhole, they are then killed by the insecticidal device, so as to ensure the healthy growth of fruit trees and the production quality of fruit trees.
采用本装置可以有效捕捉果树上的害虫,避免害虫损害果树,保证果树的生长质量,不需要人工施药除虫,从而降低人工成本。The device can effectively capture the pests on the fruit trees, avoid the pests from damaging the fruit trees, ensure the growth quality of the fruit trees, and does not require manual application of pesticides to remove the insects, thereby reducing labor costs.
附图说明Description of drawings
为了更清楚地说明本实用新型实施例的技术方案,下面将对实施例中所需要使用的附图作简单地介绍,应当理解,以下附图仅示出了本实用新型的某些实施例,因此不应被看作是对范围的限定,对于本领域普通技术人员来讲,在不付出创造性劳动的前提下,还可以根据这些附图获得其他相关的附图。In order to illustrate the technical solutions of the embodiments of the present invention more clearly, the accompanying drawings that need to be used in the embodiments will be briefly introduced below. It should be understood that the following drawings only show some embodiments of the present invention. Therefore, it should not be regarded as a limitation of the scope. For those of ordinary skill in the art, other related drawings can also be obtained from these drawings without any creative effort.
图1为本实用新型实施例的结构示意图;Fig. 1 is the structural representation of the utility model embodiment;
图2为本实用新型实施例的剖视图;Fig. 2 is the sectional view of the utility model embodiment;
图3为本实用新型实施例中捕虫箱的左视图;Fig. 3 is the left side view of the insect trapping box in the embodiment of the utility model;
图4为本实用新型实施例中固定底座的俯视图。4 is a top view of a fixed base in an embodiment of the present invention.
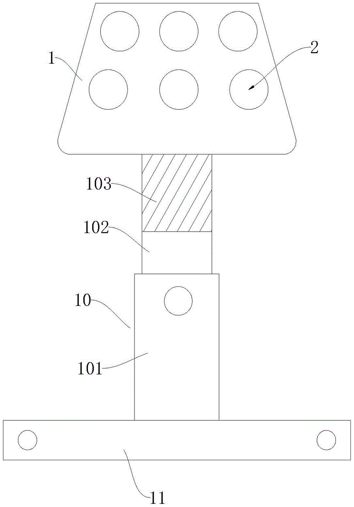
图标:1-捕虫箱,2-虫孔,3-倾斜板,4-密封门,5-诱虫灯,6-吹风组件,61-壳体,62-风扇,7-药包,8-电网,9-抽盘,91-腔体,10-可调节杆,101-第一支撑杆,102-第二支撑杆,103-弹性杆,11-固定底座,12-储电装置。Icons: 1-Insect trap, 2-Insect hole, 3-Tilt plate, 4-Sealed door, 5-Insect trap light, 6-Blow assembly, 61-Housing, 62-Fan, 7-Pill pack, 8-Grid , 9-drawing plate, 91-cavity, 10-adjustable rod, 101-first support rod, 102-second support rod, 103-elastic rod, 11-fixed base, 12-electricity storage device.
具体实施方式Detailed ways
为使本实用新型实施例的目的、技术方案和优点更加清楚,下面将结合本实用新型实施例中的附图,对本实用新型实施例中的技术方案进行清楚、完整地描述,显然,所描述的实施例是本实用新型一部分实施例,而不是全部的实施例。通常在此处附图中描述和示出的本实用新型实施例的组件可以以各种不同的配置来布置和设计。In order to make the purposes, technical solutions and advantages of the embodiments of the present utility model clearer, the technical solutions in the embodiments of the present utility model will be clearly and completely described below with reference to the accompanying drawings in the embodiments of the present utility model. The embodiments described above are a part of the embodiments of the present invention, but not all of the embodiments. The components of the embodiments of the invention generally described and illustrated in the drawings herein may be arranged and designed in a variety of different configurations.
因此,以下对在附图中提供的本实用新型的实施例的详细描述并非旨在限制要求保护的本实用新型的范围,而是仅仅表示本实用新型的选定实施例。基于本实用新型中的实施例,本领域普通技术人员在没有作出创造性劳动前提下所获得的所有其他实施例,都属于本实用新型保护的范围。Accordingly, the following detailed description of the embodiments of the invention provided in the accompanying drawings is not intended to limit the scope of the invention as claimed, but is merely representative of selected embodiments of the invention. Based on the embodiments of the present invention, all other embodiments obtained by those of ordinary skill in the art without creative work fall within the protection scope of the present invention.
应注意到:相似的标号和字母在下面的附图中表示类似项,因此,一旦某一项在一个附图中被定义,则在随后的附图中不需要对其进行进一步定义和解释。It should be noted that like numerals and letters refer to like items in the following figures, so once an item is defined in one figure, it does not require further definition and explanation in subsequent figures.
在本实用新型实施例的描述中,需要说明的是,若出现术语“中心”、“上”、“下”、“左”、“右”、“竖直”、“水平”、“内”、“外”等指示的方位或位置关系为基于附图所示的方位或位置关系,或者是该实用新型产品使用时惯常摆放的方位或位置关系,仅是为了便于描述本实用新型和简化描述,而不是指示或暗示所指的装置或元件必须具有特定的方位、以特定的方位构造和操作,因此不能理解为对本实用新型的限制。此外,术语“第一”、“第二”等仅用于区分描述,而不能理解为指示或暗示相对重要性。In the description of the embodiments of the present invention, it should be noted that if the terms "center", "upper", "lower", "left", "right", "vertical", "horizontal", "inside" appear The orientation or positional relationship indicated by , "outside" etc. is based on the orientation or positional relationship shown in the accompanying drawings, or the orientation or positional relationship that is usually placed when the utility model product is used, is only for the convenience of describing the present utility model and simplifying the It is described, rather than indicated or implied, that the device or element referred to must have a particular orientation, be constructed and operate in a particular orientation, and therefore should not be construed as limiting the invention. Furthermore, the terms "first", "second", etc. are only used to differentiate the description and should not be construed to indicate or imply relative importance.
在本实用新型实施例的描述中,“多个”代表至少2个。In the description of the embodiments of the present invention, "a plurality of" means at least two.
在本实用新型实施例的描述中,还需要说明的是,除非另有明确的规定和限定,若出现术语“设置”、“安装”、“相连”、“连接”应做广义理解,例如,可以是固定连接,也可以是可拆卸连接,或一体地连接;可以是机械连接,也可以是电连接;可以是直接相连,也可以通过中间媒介间接相连,可以是两个元件内部的连通。对于本领域的普通技术人员而言,可以根据具体情况理解上述术语在本实用新型中的具体含义。In the description of the embodiments of the present utility model, it should also be noted that, unless otherwise expressly specified and limited, the terms "set", "installed", "connected" and "connected" should be understood in a broad sense, for example, It can be a fixed connection, a detachable connection, or an integral connection; it can be a mechanical connection or an electrical connection; it can be a direct connection, or an indirect connection through an intermediate medium, and it can be internal communication between two components. For those of ordinary skill in the art, the specific meanings of the above terms in the present invention can be understood according to specific situations.
实施例1Example 1
请参照图1-图4,本实施例提供一种果树虫害防治捕虫装置,其包括捕虫箱1、诱虫装置、杀虫装置、储电装置12和用于将上述捕虫箱1固定在树上的固定装置,上述捕虫箱1设于上述固定装置,上述捕虫箱1四周侧壁均设置有虫孔2,上述诱虫装置和上述杀虫装置均设于上述捕虫箱1内,上述诱虫装置和上述杀虫装置均与上述储电装置12电性连接。Please refer to FIG. 1 to FIG. 4 , the present embodiment provides an insect trapping device for fruit tree pest control, which includes an
在本实施例中,捕虫箱1可以用于捕捉害虫,其中捕虫箱1外侧壁设有虫孔2,可以使害虫通过虫孔2进入捕虫箱1内,避免害虫损害果树,在使用时,通过固定装置将捕虫箱1固定在果树上合适的位置处,储电装置12可以储存电能,通过储电装置12给诱虫装置和杀虫装置提供电能,使诱虫装置和杀虫装置能稳定工作,通过诱虫装置散发引诱害虫的物质信息,引诱害虫进入捕虫箱1内,害虫通过虫孔2进入捕虫箱1后,然后通过杀虫装置杀死害虫,从而保证果树健康生长,保证果树生产质量。In this embodiment, the
采用本装置可以有效捕捉果树上的害虫,避免害虫损害果树,保证果树的生长质量,不需要人工施药除虫,从而降低人工成本。The device can effectively capture the pests on the fruit trees, avoid the pests from damaging the fruit trees, ensure the growth quality of the fruit trees, and does not require manual application of pesticides to remove the insects, thereby reducing labor costs.
在本实施例的一些实施方式中,上述虫孔2可以设置多个,这样可以提高害虫的捕捉效率。In some implementations of this embodiment, a plurality of the above-mentioned
在本实施例的一些实施方式中,上述储电装置12可以为蓄电池,蓄电池为市售产品,技术成熟,且购买简单方便,使用效果好。In some implementations of this embodiment, the above-mentioned
实施例2Example 2
请参照图1-图4,本实施例在实施例1的基础上,上述捕虫箱1内侧壁靠近上述虫孔2处设有倾斜板3,上述倾斜板3的倾斜面设有光滑层。Referring to FIGS. 1-4 , in this embodiment, on the basis of
在本实施例中,捕虫箱1内侧壁靠近虫孔2处设有倾斜板3,这样当害虫通过虫孔2向捕捉箱内攀爬时,可以沿着倾斜板3滑落在捕捉箱内,避免害虫爬出捕虫箱1;进一步地,上述倾斜板3的倾斜面设有光滑层,可以提高倾斜面的光滑度,这样可以使害虫不容易在倾斜板3上攀爬,从而快速滑落到捕虫箱1内,从而提高捕虫效率。In this embodiment, an
在本实施例的一些实施方式中,上述捕虫箱1呈棱台结构。In some implementations of this embodiment, the above-mentioned
在上述实施方式中,捕虫箱1的结构可以为棱台结构,这种结构的捕捉箱四侧壁为倾斜面,这样可以方便害虫攀爬,从而能有效引导害虫进入到捕虫箱1内,避免竖直面太过于光滑,影响害虫攀爬,从而降低捕虫效率。In the above embodiment, the structure of the
实施例3Example 3
请参照图1-图4,本实施例在上述一些实施例的基础上,上述捕虫箱1一侧设有可开合的密封门4。Referring to FIGS. 1-4 , in this embodiment, on the basis of some of the above-mentioned embodiments, an openable and
在本实施例中,通过设置可开合的密封门4,这样当人员需要对捕虫箱1的内部进行清理时,可以打开密封门4,然后对捕虫箱1内部的害虫进行清理,使用便利。In this embodiment, the openable and
具体的,上述密封门4一侧与捕虫箱1合页连接,其另一侧与捕虫箱1锁扣连接,结构简单,使用方便,安全性高,避免害虫逃脱。Specifically, one side of the above-mentioned
实施例4Example 4
请参照图1-图4,本实施例在上述一些实施例的基础上,上述诱虫装置包括诱虫灯5,上述诱虫灯5悬挂设于上述捕虫箱1内中部。Referring to FIGS. 1 to 4 , in this embodiment, based on the above-mentioned embodiments, the insect trapping device includes an
在本实施例中,诱虫灯5是一款夜晚用来引诱和捕杀有趋光性的昆虫的灯,诱虫灯5悬挂设于捕虫箱1内中部,可以使诱虫灯5发出的光源通过捕虫箱1四周的虫孔2透出,从而引诱害虫飞入捕虫箱1内,实现对害虫的捕虫。In this embodiment, the
在本实施例的一些实施方式中,上述诱虫装置还包括药引装置,上述药引装置包括吹风组件6和药包7,上述吹风组件6设于上述捕虫箱1内,上述药包7可拆卸设于上述吹风组件6的风口,上述吹风组件6与上述储电装置12电性连接。In some implementations of this embodiment, the above-mentioned insect trapping device further includes a medicine-inducing device, and the above-mentioned medicine-inducing device includes a
在上述实施方式中,诱虫装置还可以包括药引装置,药引装置利用诱虫药散发的气味引导害虫进入捕虫箱1内,实现对害虫的捕捉;具体的,药引装置包括吹风组件6和药包7,药包7设于吹风组件6的风口,可以通过吹风组件6对药包7进行吹风,加快药物的散发,使药味可以飘散更远,从而提高装置对害虫的引诱范围,能吸引更多的害虫进入捕虫箱1内,提高装置的捕虫效率。In the above embodiment, the insect trapping device may further include a medicine attracting device, which uses the smell emitted by the insect attracting medicine to guide the pests into the
优选地,上述药包7与吹风组件6可拆卸连接,便于对药包7进行更换,提高使用便利性,药包7可以采用现有的诱虫药剂,技术成熟,引诱效果好。Preferably, the above-mentioned
在本实施例的一些实施方式中,上述吹风组件6包括壳体61和风扇62,上述壳体61设于捕虫箱1的顶部,上述风扇62设于壳体61内,上述药包7可拆卸设于壳体61底部。In some implementations of this embodiment, the above-mentioned
在上述实施方式中,通过壳体61提供稳定支撑,用来安装风扇62,药包7可拆卸设于壳体61底部,可以使风扇62吹出的风对准药包7,加快药物的散发,使药味可以飘散更远,从而提高装置对害虫的引诱范围,能吸引更多的害虫进入捕虫箱1内,提高装置的捕虫效率。In the above-mentioned embodiment, the
实施例5Example 5
请参照图1-图4,本实施例在上述一些实施例的基础上,上述杀虫装置包括电网8,上述电网8设有四个,四个上述电网8围绕设于上述诱虫装置外侧,上述电网8与上述储电装置12电性连接。Please refer to FIG. 1 to FIG. 4 , in this embodiment, on the basis of some of the above-mentioned embodiments, the above-mentioned insecticidal device includes a
在本实施例中,杀虫装置包括电网8,通过电网8可以发电杀死害虫,适用于捕杀会飞的害虫;电网8设置有四个,且四个电网8围绕设于诱虫装置外侧,这样无论害虫从哪个方向飞向诱虫装置,都会撞向电网8,从而通过电网8对害虫进行灭杀,提高灭虫效率。In this embodiment, the insecticidal device includes a
在本实施例的一些实施方式中,上述杀虫装置还包括抽盘9,上述抽盘9滑动设于上述捕虫箱1底部,上述抽盘9上设有用于盛装杀虫液的腔体91。In some implementations of this embodiment, the insecticidal device further includes a drawer 9 , which is slidably disposed on the bottom of the
在上述实施方式中,杀虫装置还可以包括抽盘9,抽盘9上设有腔体91,从而可以承装杀虫液,用于捕虫那些从而虫孔2上掉落下的爬行害虫,通过杀虫液可以有效杀死害虫;另外抽盘9与捕虫箱1底部滑动,便于抽拉,从而方便使用人员定时对抽盘9进行清理,使用更加便利。In the above-mentioned embodiment, the insecticidal device may also include a drawer 9, and a
实施例6Example 6
请参照图1-图4,本实施例在上述一些实施例的基础上,上述固定装置包括可调节杆10和固定底座11,上述可调节杆10的一端与上述固定底座11连接,上述可调节杆10的另一端与上述捕虫箱1连接。Referring to FIGS. 1 to 4 , in this embodiment, on the basis of the above-mentioned embodiments, the above-mentioned fixing device includes an
在本实施例中,固定装置包括可调节杆10和固定底座11,通过固定底座11可以有效将捕虫箱1固定在果树上,另外可调节杆10具有可调节性,这样可以根据果树的枝干状况,调整捕虫箱1的位置,提高装置的使用便利性。In this embodiment, the fixing device includes an
在本实施例的一些实施方式中,上述可调节杆10包括第一支撑杆101和第二支撑杆102,上述第一支撑杆101的一端与上述固定底座11连接,上述第一支撑杆101的另一端与上述第二支撑杆102滑动连接,上述第二支撑杆102远离上述第一支撑杆101的一端为弹性杆103。In some implementations of this embodiment, the
在上述实施方式中,可调节杆10包括第一支撑杆101和第二支撑杆102,第一支撑杆101与第二支撑杆102滑动连接,从而可以调整捕虫箱1的支撑高度,另外第二支撑杆102的一端为刚性杆,其另一端为弹性杆103,这样可以通过刚性杆提供刚性,弹性杆103提供柔性,从而可以任意摆动捕虫箱1的角度,从而适应果树的枝干分布状况,以便更好放置捕虫箱1,使用更便利。In the above embodiment, the
具体的,为了能有效对第二支撑杆102进行限位,可以在第一支撑杆101侧壁设置紧固螺栓,通过紧固螺栓固定第二支撑杆102,避免第二支撑杆102在重力的作用下滑落,从而提高可调节杆10对捕虫箱1的支撑效果。Specifically, in order to effectively limit the position of the
在本实施例的一些实施方式中,上述固定底座11可以包括两个半环形固定板,两个半环形固定板之间通过螺栓进行锁紧固定,从而将固定底座11固定在果树的枝干上,以便对捕虫箱1进行支撑固定;进一步地,任意一个上述半环形固定板包括两个铰接的四分之一圆弧板,可以提高半环形板的灵活性,可以任意弯曲,调整固定底座11的半径大小,从而固定在不同直径大小的果树上,使用范围广。In some implementations of this embodiment, the above-mentioned
综上,本实用新型的实施例提供一种果树虫害防治捕虫装置,包括捕虫箱1、诱虫装置、杀虫装置、储电装置12和用于将上述捕虫箱1固定在树上的固定装置,上述捕虫箱1设于上述固定装置,上述捕虫箱1四周侧壁均设置有虫孔2,上述诱虫装置和上述杀虫装置均设于上述捕虫箱1内,上述诱虫装置和上述杀虫装置均与上述储电装置12电性连接。To sum up, the embodiments of the present invention provide an insect trapping device for fruit tree pest control, including an
其中捕虫箱1可以用于捕捉害虫,其中捕虫箱1外侧壁设有虫孔2,可以使害虫通过虫孔2进入捕虫箱1内,避免害虫损害果树,在使用时,通过固定装置将捕虫箱1固定在果树上合适的位置处,储电装置12可以储存电能,通过储电装置12给诱虫装置和杀虫装置提供电能,使诱虫装置和杀虫装置能稳定工作,通过诱虫装置散发引诱害虫的物质信息,引诱害虫进入捕虫箱1内,害虫通过虫孔2进入捕虫箱1后,然后通过杀虫装置杀死害虫,从而保证果树健康生长,保证果树生产质量。The
采用本装置可以有效捕捉果树上的害虫,避免害虫损害果树,保证果树的生长质量,不需要人工施药除虫,从而降低人工成本。The device can effectively capture the pests on the fruit trees, avoid the pests from damaging the fruit trees, ensure the growth quality of the fruit trees, and does not require manual application of pesticides to remove the insects, thereby reducing labor costs.
以上仅为本实用新型的优选实施例而已,并不用于限制本实用新型,对于本领域的技术人员来说,本实用新型可以有各种更改和变化。凡在本实用新型的精神和原则之内,所作的任何修改、等同替换、改进等,均应包含在本实用新型的保护范围之内。The above are only preferred embodiments of the present invention, and are not intended to limit the present invention. For those skilled in the art, the present invention may have various modifications and changes. Any modification, equivalent replacement, improvement, etc. made within the spirit and principle of the present invention shall be included in the protection scope of the present invention.
Claims (9)
Priority Applications (1)
| Application Number | Priority Date | Filing Date | Title |
|---|---|---|---|
| CN202220068581.2U CN217136546U (en) | 2022-01-11 | 2022-01-11 | Insect pest control and catching device for fruit trees |
Applications Claiming Priority (1)
| Application Number | Priority Date | Filing Date | Title |
|---|---|---|---|
| CN202220068581.2U CN217136546U (en) | 2022-01-11 | 2022-01-11 | Insect pest control and catching device for fruit trees |
Publications (1)
| Publication Number | Publication Date |
|---|---|
| CN217136546U true CN217136546U (en) | 2022-08-09 |
Family
ID=82688090
Family Applications (1)
| Application Number | Title | Priority Date | Filing Date |
|---|---|---|---|
| CN202220068581.2U Expired - Fee Related CN217136546U (en) | 2022-01-11 | 2022-01-11 | Insect pest control and catching device for fruit trees |
Country Status (1)
| Country | Link |
|---|---|
| CN (1) | CN217136546U (en) |
Cited By (1)
| Publication number | Priority date | Publication date | Assignee | Title |
|---|---|---|---|---|
| CN116098134A (en) * | 2022-11-07 | 2023-05-12 | 宁夏回族自治区中卫山羊选育场 | A mosquito killing device for sheep breeding |
-
2022
- 2022-01-11 CN CN202220068581.2U patent/CN217136546U/en not_active Expired - Fee Related
Cited By (1)
| Publication number | Priority date | Publication date | Assignee | Title |
|---|---|---|---|---|
| CN116098134A (en) * | 2022-11-07 | 2023-05-12 | 宁夏回族自治区中卫山羊选育场 | A mosquito killing device for sheep breeding |
Similar Documents
| Publication | Publication Date | Title |
|---|---|---|
| CN217136546U (en) | Insect pest control and catching device for fruit trees | |
| CN110881448A (en) | Double-suction insect killing device used in agricultural greenhouse | |
| CN202566058U (en) | Multi-temptation source winged insect trap | |
| CN211558542U (en) | Large-coverage-range multipurpose agricultural and forestry pest trapper | |
| CN110876366A (en) | Forestry is grown seedlings with pest control equipment | |
| CN211268274U (en) | A tea garden insect trapping device | |
| CN206525400U (en) | A kind of multifunctional theater pest-catching device | |
| CN115251019B (en) | Insect catcher for garden tree plant protection | |
| CN216931533U (en) | Agricultural plant diseases and insect pests trap and kill device | |
| CN211372194U (en) | A garden landscape solar lighting device that can exterminate insects | |
| CN209284085U (en) | A kind of pest control equipment for forestry seedling raising | |
| CN203723306U (en) | Solar insect killing lamp | |
| CN114532309A (en) | Insect killing device for preventing forest fruit from insect damage | |
| CN205337298U (en) | Portable forest farm disinsector who easily fixes | |
| CN207252634U (en) | Agricultural insect killing device | |
| CN218245289U (en) | A kind of disease and insect pest control box for forestry seedling raising | |
| CN209403361U (en) | A kind of gardens deinsectization lamp | |
| CN220191902U (en) | Insect prevention device for pear tree planting | |
| CN218604707U (en) | Afforestation plant insect-attack prevention device | |
| CN214593745U (en) | Pest control device for agricultural resource environmental protection | |
| CN215380952U (en) | Plant protection is with preventing escaping insecticidal case | |
| CN219288526U (en) | A tobacco pest control device | |
| CN218483604U (en) | Pest control device | |
| CN220529066U (en) | Aphis fly trapping device for edible fungus planting | |
| CN217936987U (en) | Rice insecticidal lamp |
Legal Events
| Date | Code | Title | Description |
|---|---|---|---|
| GR01 | Patent grant | ||
| GR01 | Patent grant | ||
| CF01 | Termination of patent right due to non-payment of annual fee |
Granted publication date: 20220809 |
|
| CF01 | Termination of patent right due to non-payment of annual fee |
