CN217108620U - 一种用于石油管道的防脱接箍 - Google Patents

一种用于石油管道的防脱接箍 Download PDF

Info

Publication number
CN217108620U
CN217108620U CN202220749556.0U CN202220749556U CN217108620U CN 217108620 U CN217108620 U CN 217108620U CN 202220749556 U CN202220749556 U CN 202220749556U CN 217108620 U CN217108620 U CN 217108620U
Authority
CN
China
Prior art keywords
tip
petroleum pipeline
inside lining
fixed disk
pipeline
Prior art date
Legal status (The legal status is an assumption and is not a legal conclusion. Google has not performed a legal analysis and makes no representation as to the accuracy of the status listed.)
Active
Application number
CN202220749556.0U
Other languages
English (en)
Inventor
侯放
鲁威
黄普
李栋
Current Assignee (The listed assignees may be inaccurate. Google has not performed a legal analysis and makes no representation or warranty as to the accuracy of the list.)
Jiangsu Taishun Energy Technology Development Co ltd
Original Assignee
Jiangsu Taishun Energy Technology Development Co ltd
Priority date (The priority date is an assumption and is not a legal conclusion. Google has not performed a legal analysis and makes no representation as to the accuracy of the date listed.)
Filing date
Publication date
Application filed by Jiangsu Taishun Energy Technology Development Co ltd filed Critical Jiangsu Taishun Energy Technology Development Co ltd
Priority to CN202220749556.0U priority Critical patent/CN217108620U/zh
Application granted granted Critical
Publication of CN217108620U publication Critical patent/CN217108620U/zh
Active legal-status Critical Current
Anticipated expiration legal-status Critical

Links

Images

Landscapes

  • Pipe Accessories (AREA)

Abstract

本实用新型公开了一种用于石油管道的防脱接箍,包括端部接箍套、内衬封闭筒、管道插接隙、螺栓固定盘和连接顶管,所述端部接箍套呈圆管状,所述螺栓固定盘固定安装在端部接箍套的一端表面位置,所述内衬封闭筒设置在端部接箍套的内部,且靠近螺栓固定盘所在位置的一端与端部接箍套的内壁表面固定安装,所述内衬封闭筒与所述端部接箍套之间设置有管道插接隙。本实用新型通过两个对应的螺栓固定盘之间的螺栓连接,使得端部接箍套之间以一定压力相互靠近而实现连接,将内衬封闭筒、连接顶管以及石油管道的对接端口全部密封在一个密闭环境中,极大提高石油管道对接端口的连接稳定性,能够适应各种恶劣环境,提高了对连接端口的保护效果。

Description

一种用于石油管道的防脱接箍
技术领域
本实用新型涉及石油管道配合件技术领域,具体为一种用于石油管道的防脱接箍。
背景技术
石油管道为长距离输送管道,因此通常通过多级短管进连接而成,传统的石油管道连接方式有焊接连接和法兰盘固定等,上述连接方式均使得石油管道的对接端口暴露在外,在恶劣环境下,易使得焊缝处或者法兰连接处受到侵蚀导致泄漏。
实用新型内容
本实用新型的目的在于提供一种用于石油管道的防脱接箍,以解决上述背景技术中提出的问题。
为实现上述目的,本实用新型提供如下技术方案:一种用于石油管道的防脱接箍,包括端部接箍套、内衬封闭筒、管道插接隙、螺栓固定盘和连接顶管,所述端部接箍套呈圆管状,所述螺栓固定盘固定安装在端部接箍套的一端表面位置,所述内衬封闭筒设置在端部接箍套的内部,且靠近螺栓固定盘所在位置的一端与端部接箍套的内壁表面固定安装,所述内衬封闭筒与所述端部接箍套之间设置有管道插接隙,且二者同轴线设置,所述连接顶管插设在内衬封闭筒的内部,所述内衬封闭筒的内壁表面设置有具有挤压密封功能的阶梯斜坡结构。
优选的,所述阶梯斜坡结构包括倾斜挤压面和平直密封面,所述倾斜挤压面和所述平直密封面均呈环状,且依次交替设置,边缘相接。
优选的,所述倾斜挤压面远离螺栓固定盘所在位置的一侧向轴线方向倾斜,所述平直密封面与所述端部接箍套的管壁表面平行,所述内衬封闭筒远离螺栓固定盘所在位置的一端固定安装有终止环。
优选的,所述管道插接隙的内部,位于端部接箍套的内壁表面与内衬封闭筒的外壁表面位置均分别固定设置有三角封环,所述三角封环呈环状,且环截面为三角状。
优选的,所述螺栓固定盘与所述端部接箍套的外壁表面之间固定安装有加强筋,所述螺栓固定盘的表面开设有螺栓穿过孔,所述螺栓固定盘远离加强筋所在位置的一侧表面位置固定设置有橡胶环圈。
优选的,所述连接顶管的外表面靠近两端位置均分别开设有挤压倒角,所述连接顶管的内壁表面靠近两端位置均分别固定安装有内壁支撑板。
与现有技术相比,本实用新型的有益效果是:本实用新型一种用于石油管道的防脱接箍,通过两个对应的螺栓固定盘之间的螺栓连接,使得端部接箍套之间以一定压力相互靠近,从而使得插设在内衬封闭筒中的连接顶管将内衬封闭筒向外顶动扩张,进而将夹在管道插接隙中的石油管道固定密封,同时通过连接顶管的内腔将石油管道接通,通过设置的倾斜挤压面能够使得内衬封闭筒被挤压后向外扩张,通过设置的平直密封面能够与连接顶管接触实现稳定密封,两个相对应的橡胶环圈挤压接触密封,从而将内衬封闭筒、连接顶管以及石油管道的对接端口全部密封在一个密闭环境中,极大提高石油管道对接端口的连接稳定性,能够适应各种恶劣环境,提高了对连接端口的保护效果。
附图说明
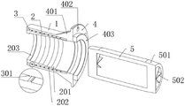
图1为本实用新型整体结构示意图;
图2为本实用新型半剖示意图;
图3为本实用新型半剖轴侧图;
图4为本实用新型剖面示意图。
图中:1、端部接箍套;2、内衬封闭筒;3、管道插接隙;4、螺栓固定盘;5、连接顶管;201、倾斜挤压面;202、平直密封面;203、终止环;301、三角封环;401、加强筋;402、螺栓穿过孔;403、橡胶环圈;501、挤压倒角;502、内壁支撑板。
具体实施方式
下面将结合本实用新型实施例中的附图,对本实用新型实施例中的技术方案进行清楚、完整地描述,显然,所描述的实施例仅仅是本实用新型一部分实施例,而不是全部的实施例。基于本实用新型中的实施例,本领域普通技术人员在没有做出创造性劳动前提下所获得的所有其他实施例,都属于本实用新型保护的范围。
请参阅图1-图4,本实用新型提供一种技术方案:一种用于石油管道的防脱接箍,包括端部接箍套1、内衬封闭筒2、管道插接隙3、螺栓固定盘4和连接顶管5,端部接箍套1呈圆管状,螺栓固定盘4固定安装在端部接箍套1的一端表面位置,内衬封闭筒2采用具有一定形变能力的金属制成,能够保证在受到连接顶管5的高压顶力时向外扩张,内衬封闭筒2设置在端部接箍套1的内部,且靠近螺栓固定盘4所在位置的一端与端部接箍套1的内壁表面固定安装,内衬封闭筒2与端部接箍套1之间设置有管道插接隙3,且二者同轴线设置,连接顶管5采用硬质金属制成,避免大幅形变,连接顶管5插设在内衬封闭筒2的内部,内衬封闭筒2的内壁表面设置有具有挤压密封功能的阶梯斜坡结构。
阶梯斜坡结构包括倾斜挤压面201和平直密封面202,倾斜挤压面201和平直密封面202均呈环状,且依次交替设置,边缘相接;倾斜挤压面201远离螺栓固定盘4所在位置的一侧向轴线方向倾斜,平直密封面202与端部接箍套1的管壁表面平行,内衬封闭筒2远离螺栓固定盘4所在位置的一端固定安装有终止环203,终止环203起到极限位的格挡功能。
管道插接隙3的内部,位于端部接箍套1的内壁表面与内衬封闭筒2的外壁表面位置均分别固定设置有三角封环301,三角封环301呈环状,且环截面为三角状,三角封环301能够增强石油管道与管道插接隙3之间的密封效果。
螺栓固定盘4与端部接箍套1的外壁表面之间固定安装有加强筋401,螺栓固定盘4的表面开设有螺栓穿过孔402,螺栓固定盘4远离加强筋401所在位置的一侧表面位置固定设置有橡胶环圈403,橡胶环圈403采用柔性橡胶制成,两个对应的橡胶环圈403相互接触时,能够挤压形变移动一段距离,从而适应螺栓固定盘4相互靠拢的幅度。
连接顶管5的外表面靠近两端位置均分别开设有挤压倒角501,连接顶管5的内壁表面靠近两端位置均分别固定安装有内壁支撑板502,内壁支撑板502能够对连接顶管5的两端端口进行支撑,避免端口形变。
本实用新型一种用于石油管道的防脱接箍,在使用时,将石油管道的对接两端分别插在两个端部接箍套1中的管道插接隙3内,将连接顶管5插设在两内衬封闭筒2之间,如图1所示,通过螺栓穿过螺栓穿过孔402拧动螺栓固定盘4相互靠近,连接顶管5的两端会分别顶在内衬封闭筒2的内部,使得插设在内衬封闭筒2中的连接顶管5将内衬封闭筒2向外顶动扩张,进而将夹在管道插接隙3中的石油管道固定密封,同时通过连接顶管5的内腔将两端的石油管道接通,通过倾斜挤压面201能够使得内衬封闭筒2被挤压后向外扩张,通过平直密封面202能够与连接顶管5接触实现稳定密封,两个相对应的橡胶环圈403挤压接触密封,从而将内衬封闭筒2、连接顶管5以及石油管道的对接端口全部密封在一个密闭环境中。
尽管已经示出和描述了本实用新型的实施例,对于本领域的普通技术人员而言,可以理解在不脱离本实用新型的原理和精神的情况下可以对这些实施例进行多种变化、修改、替换和变型,本实用新型的范围由所附权利要求及其等同物限定。

Claims (6)

1.一种用于石油管道的防脱接箍,包括端部接箍套(1)、内衬封闭筒(2)、管道插接隙(3)、螺栓固定盘(4)和连接顶管(5),其特征在于:所述端部接箍套(1)呈圆管状,所述螺栓固定盘(4)固定安装在端部接箍套(1)的一端表面位置,所述内衬封闭筒(2)设置在端部接箍套(1)的内部,且靠近螺栓固定盘(4)所在位置的一端与端部接箍套(1)的内壁表面固定安装,所述内衬封闭筒(2)与所述端部接箍套(1)之间设置有管道插接隙(3),且二者同轴线设置,所述连接顶管(5)插设在内衬封闭筒(2)的内部,所述内衬封闭筒(2)的内壁表面设置有具有挤压密封功能的阶梯斜坡结构。
2.根据权利要求1所述的一种用于石油管道的防脱接箍,其特征在于:所述阶梯斜坡结构包括倾斜挤压面(201)和平直密封面(202),所述倾斜挤压面(201)和所述平直密封面(202)均呈环状,且依次交替设置,边缘相接。
3.根据权利要求2所述的一种用于石油管道的防脱接箍,其特征在于:所述倾斜挤压面(201)远离螺栓固定盘(4)所在位置的一侧向轴线方向倾斜,所述平直密封面(202)与所述端部接箍套(1)的管壁表面平行,所述内衬封闭筒(2)远离螺栓固定盘(4)所在位置的一端固定安装有终止环(203)。
4.根据权利要求1所述的一种用于石油管道的防脱接箍,其特征在于:所述管道插接隙(3)的内部,位于端部接箍套(1)的内壁表面与内衬封闭筒(2)的外壁表面位置均分别固定设置有三角封环(301),所述三角封环(301)呈环状,且环截面为三角状。
5.根据权利要求1所述的一种用于石油管道的防脱接箍,其特征在于:所述螺栓固定盘(4)与所述端部接箍套(1)的外壁表面之间固定安装有加强筋(401),所述螺栓固定盘(4)的表面开设有螺栓穿过孔(402),所述螺栓固定盘(4)远离加强筋(401)所在位置的一侧表面位置固定设置有橡胶环圈(403)。
6.根据权利要求1所述的一种用于石油管道的防脱接箍,其特征在于:所述连接顶管(5)的外表面靠近两端位置均分别开设有挤压倒角(501),所述连接顶管(5)的内壁表面靠近两端位置均分别固定安装有内壁支撑板(502)。
CN202220749556.0U 2022-04-02 2022-04-02 一种用于石油管道的防脱接箍 Active CN217108620U (zh)

Priority Applications (1)

Application Number Priority Date Filing Date Title
CN202220749556.0U CN217108620U (zh) 2022-04-02 2022-04-02 一种用于石油管道的防脱接箍

Applications Claiming Priority (1)

Application Number Priority Date Filing Date Title
CN202220749556.0U CN217108620U (zh) 2022-04-02 2022-04-02 一种用于石油管道的防脱接箍

Publications (1)

Publication Number Publication Date
CN217108620U true CN217108620U (zh) 2022-08-02

Family

ID=82578841

Family Applications (1)

Application Number Title Priority Date Filing Date
CN202220749556.0U Active CN217108620U (zh) 2022-04-02 2022-04-02 一种用于石油管道的防脱接箍

Country Status (1)

Country Link
CN (1) CN217108620U (zh)

Similar Documents

Publication Publication Date Title
CN209524188U (zh) 一种扩口式管接头
CN209839392U (zh) 一种管道承口连接橡胶密封圈
CN217108620U (zh) 一种用于石油管道的防脱接箍
CN222316243U (zh) 一种水利管道连接结构
CN210088207U (zh) 一种承插胶圈密封硬锁止防松脱接口
CN216242802U (zh) 一种方便连接的保温管
CN101392858A (zh) 钢油管开边法兰码
CN214789607U (zh) 一种密封性能好的不锈钢法兰
CN212986377U (zh) 一种不锈钢快插沟槽管件
CN205173851U (zh) 一种抗高压管道快速抢修器
CN218863516U (zh) 一种操作方便的管道连接件
CN217977870U (zh) 一种可弯曲定型的油田复合管
CN217328922U (zh) 一种给排水管道防渗装置
CN216590407U (zh) 一种给排水管道防渗漏安装结构
CN208719627U (zh) 一种建筑给排水管道连接结构
CN217272527U (zh) 一种具有高密封性的管道连接用管道件
CN223090186U (zh) 一种管路密封连接结构
CN222229760U (zh) 一种易连接的不锈钢管组件
CN215371446U (zh) 一种衬胶管道的对接结构
CN220706671U (zh) 一种无缝环形钛管
CN220134892U (zh) 一种污水管道密封结构对接组件
CN218914148U (zh) 一种pe内衬管端口密封加固装置
CN222377551U (zh) 一种带有防漏效果的pe管材对接用连接头
CN220647159U (zh) 一种液压法兰胶管连接组件
CN216520128U (zh) 一种由壬用高压管线密封圈

Legal Events

Date Code Title Description
GR01 Patent grant
GR01 Patent grant
PE01 Entry into force of the registration of the contract for pledge of patent right

Denomination of utility model: An anti detachment coupling for oil pipelines

Effective date of registration: 20230817

Granted publication date: 20220802

Pledgee: Bank of Nanjing Co.,Ltd. Taizhou Branch

Pledgor: JIANGSU TAISHUN ENERGY TECHNOLOGY DEVELOPMENT CO.,LTD.

Registration number: Y2023980052692

PE01 Entry into force of the registration of the contract for pledge of patent right