CN217040871U - Respiratory tract nursing sputum suction device - Google Patents
Respiratory tract nursing sputum suction device Download PDFInfo
- Publication number
- CN217040871U CN217040871U CN202123012923.3U CN202123012923U CN217040871U CN 217040871 U CN217040871 U CN 217040871U CN 202123012923 U CN202123012923 U CN 202123012923U CN 217040871 U CN217040871 U CN 217040871U
- Authority
- CN
- China
- Prior art keywords
- box body
- respiratory tract
- guide cylinder
- liquid storage
- communicated
- Prior art date
- Legal status (The legal status is an assumption and is not a legal conclusion. Google has not performed a legal analysis and makes no representation as to the accuracy of the status listed.)
- Expired - Fee Related
Links
- 206010036790 Productive cough Diseases 0.000 title claims abstract description 36
- 208000024794 sputum Diseases 0.000 title claims abstract description 36
- 210000003802 sputum Anatomy 0.000 title claims abstract description 36
- 210000002345 respiratory system Anatomy 0.000 title claims abstract description 23
- 230000000474 nursing effect Effects 0.000 title claims description 9
- 239000007788 liquid Substances 0.000 claims abstract description 31
- 239000004816 latex Substances 0.000 claims description 7
- 229920000126 latex Polymers 0.000 claims description 7
- 238000004140 cleaning Methods 0.000 claims description 6
- 229920001971 elastomer Polymers 0.000 claims description 4
- 238000007789 sealing Methods 0.000 claims description 4
- 230000000241 respiratory effect Effects 0.000 abstract description 2
- 206010062717 Increased upper airway secretion Diseases 0.000 description 2
- 208000026435 phlegm Diseases 0.000 description 2
- 230000029058 respiratory gaseous exchange Effects 0.000 description 2
- 208000023504 respiratory system disease Diseases 0.000 description 2
- 230000007812 deficiency Effects 0.000 description 1
- 238000007599 discharging Methods 0.000 description 1
- 238000003912 environmental pollution Methods 0.000 description 1
- 238000011010 flushing procedure Methods 0.000 description 1
- 238000000034 method Methods 0.000 description 1
- 210000004400 mucous membrane Anatomy 0.000 description 1
- 230000000149 penetrating effect Effects 0.000 description 1
Images
Landscapes
- External Artificial Organs (AREA)
Abstract
一种呼吸道护理吸痰装置,有效的解决了不便对患者呼吸道内的痰液持续抽吸,及医护人员工作量大的问题;包括左右方向的箱体,箱体内左侧设有左右轴向且开口朝右的导筒,导筒内同轴滑动连接有轴向截面为T形的导杆,导杆右端伸出导筒且设有中心线为前后轴向的环形板,环形板的形状为八边形,环形板前侧开设有四个沿其轮廓线方向均布且内外贯通的矩形槽,箱体内转动连接有位于环形板前方的V形杆,V形杆自由端转动连接有前后轴向且可插入矩形槽内的圆盘,箱体左侧开设有上下轴向的储液腔,导筒左侧经导管与储液腔上侧连通,导筒左侧经软管与外界连通,箱体左侧设有与储液腔内部连通的吸痰管;本实用新型结构巧妙、使用方便。
A respiratory care sputum suction device, which effectively solves the problems of inconvenient continuous suction of sputum in the respiratory tract of patients and heavy workload of medical staff; it includes a box body in the left and right directions, and the left side of the box body is provided with a left and right axial and A guide cylinder with an opening facing the right, a guide rod with a T-shaped axial section is coaxially slidably connected in the guide cylinder. Octagon, the front side of the annular plate is provided with four rectangular grooves that are evenly distributed along the direction of its contour line and penetrate through the inside and outside. The box is rotatably connected with a V-shaped rod located in front of the annular plate, and the free end of the V-shaped rod is rotatably connected to the front and rear axial direction. And it can be inserted into the disc in the rectangular groove. The left side of the box is provided with a liquid storage cavity in the upper and lower axial directions. The left side of the body is provided with a sputum suction tube which is communicated with the interior of the liquid storage cavity; the utility model has an ingenious structure and is convenient to use.
Description
技术领域technical field
本实用新型涉及呼吸科辅助器械技术领域,特别是一种呼吸道护理吸痰装置。The utility model relates to the technical field of respiratory aids, in particular to a respiratory tract nursing sputum suction device.
背景技术Background technique
随着环境污染的加剧,尤其在冬季,雾霾天气的增多,导致呼吸系统疾病越来越多,呼吸系统疾病的患者大多呼吸道有痰,且呼吸道痰液的是以粘膜的方式分布在呼吸道上,这些痰液如果不及时清除,将会对呼吸系统造成影响,严重时,可能导致呼吸困难,影响呼吸患者的身体健康,且医护人员一般都是采用注射器连接吸痰管来进行吸痰,不仅不便对患者呼吸道内的痰液持续抽吸,也增大了医护人员的工作负担。With the intensification of environmental pollution, especially in winter, the increase in haze weather has led to more and more respiratory diseases. Most patients with respiratory diseases have phlegm in the respiratory tract, and the sputum in the respiratory tract is distributed on the respiratory tract in the form of mucous membranes. If these sputum is not removed in time, it will have an impact on the respiratory system. In severe cases, it may cause difficulty in breathing and affect the health of breathing patients. Generally, medical staff use a syringe to connect a sputum suction tube to suction sputum, not only It is inconvenient to continuously suction the sputum in the patient's respiratory tract, which also increases the workload of the medical staff.
实用新型内容Utility model content
针对上述情况,为了弥补现有技术的不足,本实用新型的目的就是提供一种呼吸道护理吸痰装置,有效的解决了不便对患者呼吸道内的痰液持续抽吸,及医护人员工作量大的问题。In view of the above situation, in order to make up for the deficiencies of the prior art, the purpose of this utility model is to provide a respiratory tract nursing sputum suction device, which effectively solves the inconvenience of continuous suction of sputum in the patient's respiratory tract, and the large workload of medical staff. question.
其解决的技术方案是,本实用新型包括左右方向的箱体,箱体内左侧设有左右轴向且开口朝右的导筒,导筒内同轴滑动连接有轴向截面为T形的导杆,导杆右端伸出导筒且设有中心线为前后轴向的环形板,环形板的形状为八边形,环形板前侧开设有四个沿其轮廓线方向均布且内外贯通的矩形槽,箱体内转动连接有位于环形板前方的V形杆,V形杆自由端转动连接有前后轴向且可插入矩形槽内的圆盘,箱体左侧开设有上下轴向的储液腔,导筒左侧经导管与储液腔上侧连通,导筒左侧经软管与外界连通,箱体左侧设有与储液腔内部连通的吸痰管。The technical solution is that the utility model includes a box body in the left and right directions, the left side of the box body is provided with a guide cylinder with a left and right axial direction and an opening facing the right, and a guide cylinder with a T-shaped axial section is coaxially slidably connected in the guide cylinder. The right end of the guide rod protrudes from the guide cylinder and is provided with an annular plate whose center line is the front and rear axial directions. A V-shaped rod located in front of the annular plate is rotatably connected in the box. The free end of the V-shaped rod is rotatably connected with a disc that can be inserted into the rectangular groove in the front and rear axial directions. The left side of the box is provided with an upper and lower axial liquid storage cavity. The left side of the guide cylinder is connected with the upper side of the liquid storage cavity through the catheter, the left side of the guide cylinder is connected with the outside world through a hose, and the left side of the box body is provided with a suction pipe that communicates with the interior of the liquid storage cavity.
本实用新型结构巧妙、使用方便,启动电机便于经环形板带动导杆的左右滑动,便于使储液腔内产生负压,从而通过吸痰管对患者呼吸道吸痰,同时减轻了医护人员的工作负担。The utility model is ingenious in structure and convenient to use, and the starting motor is convenient for driving the guide rod to slide left and right through the annular plate, and it is convenient to generate negative pressure in the liquid storage cavity, so that sputum can be sucked from the respiratory tract of the patient through the sputum suction tube, and the work of medical staff is reduced at the same time. burden.
附图说明Description of drawings
图1是本实用新型的轴测图。Figure 1 is an axonometric view of the present invention.
图2是本实用新型的全剖主视轴测图。Figure 2 is a full-section front axonometric view of the present invention.
图3是本实用新型的剖切主视轴测图。Figure 3 is a cutaway axonometric view of the utility model.
图4是本实用新型的全剖左视轴测图。FIG. 4 is a full-section left axonometric view of the present invention.
图5是本实用新型图2中A的放大图。FIG. 5 is an enlarged view of A in FIG. 2 of the present invention.
具体实施方式Detailed ways
以下结合附图对本实用新型的具体实施方式作进一步详细说明。The specific embodiments of the present utility model will be further described in detail below with reference to the accompanying drawings.
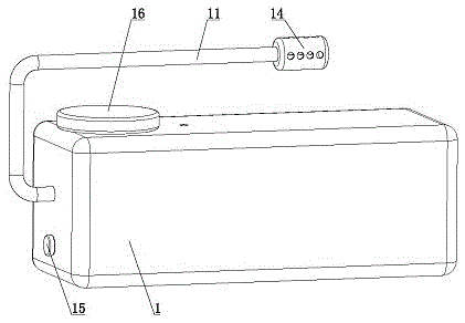
由图1至图5给出,包括左右方向的箱体1,箱体1内左侧设有左右轴向且开口朝右的导筒2,导筒2内同轴滑动连接有轴向截面为T形的导杆3,导杆3右端伸出导筒2且设有中心线为前后轴向的环形板4,环形板4的形状为八边形,环形板4前侧开设有四个沿其轮廓线方向均布且内外贯通的矩形槽5,箱体1内转动连接有位于环形板4前方的V形杆6,V形杆6自由端转动连接有前后轴向且可插入矩形槽5内的圆盘7,箱体1左侧开设有上下轴向的储液腔8,导筒2左侧经导管9与储液腔8上侧连通,导筒2左侧经软管10与外界连通,箱体1左侧设有与储液腔8内部连通的吸痰管11。As shown in Figures 1 to 5, including the box body 1 in the left and right directions, the left side of the box body 1 is provided with a
为了便于使储液腔8内产生负压,所述的导管9内设有开口朝向导筒2的吸气单向阀12,软管10内设有开口远离导筒2的排气单向阀。In order to facilitate the generation of negative pressure in the
为了便于使环形板4能够持续左右滑动,所述的箱体1内转动连接有前后轴向的电机13,电机13输出端与V形杆6的拐角处固定连接。In order to facilitate the continuous left and right sliding of the annular plate 4 , the box body 1 is rotatably connected with a front and rear
为了便于更好的吸痰,所述的吸痰管11自由端同轴设有内部中空的乳胶壳14,乳胶壳14外侧开设有多个与其内部连通的吸痰孔。In order to facilitate better sputum suction, the free end of the
为了便于将储液腔8内的痰液排出,所述的储液腔8下侧开设有左右轴向且与外界连通的排液孔,排液孔内同轴设有橡胶堵头15。In order to facilitate the discharge of the phlegm in the
为了便于对储液腔8内部进行清洗,所述的箱体1上侧开设有与储液腔8同轴且与储液腔8连通的清洗口,清洗口内同轴螺纹连接有密封盖16。In order to facilitate cleaning of the
本实用新型在使用时,首先手持主体将乳胶壳14经吸痰管11插入至患者的呼吸道内,随之启动电机13,电机13带动V形杆6顺时针转动,当V形杆6的开口由最上侧转动至最下侧时,促使V形杆6经右侧的圆盘7和右侧的矩形槽5推动环形板4沿箱体1向右滑动,左侧的圆盘7从左侧的矩形槽5内摆出,环形板4带动导杆3沿导筒2向左滑动,且在导管9内设有吸气单向阀12,便于导杆3推动导筒2内的气体经软管10排出至外界;When the utility model is used, first hold the main body and insert the
在电机13持续运转中,当V形杆6的开口由最下侧转动至最上侧时,促使V形杆6经圆盘7和矩形槽5带动环形板4沿箱体1向右滑动,环形板4带动导杆3沿导筒2向右滑动,且在软管10内设有排气单向阀,便于导杆3经导管9抽吸储液腔8内的气体至导筒2内,且在导管9自由端设有透气膜,便于更好的抽吸储液腔8内的气体,促使储液腔8内产生负压,在负压的作用下,通过气体负压经吸痰管11和吸痰孔抽吸患者呼吸道内的痰液至储液腔8内,且在电机13的持续运转中,便于对患者呼吸道内的痰液持续抽吸;During the continuous operation of the
对患者呼吸道内的痰液抽吸完毕后,首先关闭电机13,随之将乳胶壳14经吸痰管11从患者的呼吸道内抽出,然后将橡胶堵头15从排液孔内拔出,将储液腔8内的痰液经排液孔排出至外界收集处理,随之将密封盖16从箱体1上拧下来,便于对储液腔8内部进行全面的冲洗,便于下次使用。After suctioning the sputum in the patient's respiratory tract, first turn off the
本实用新型结构简单,操作方便,构思新颖,实用性强,通过设置的储液腔、吸痰管、乳胶壳、吸痰孔、导筒、导杆、导管和软管,不仅便于使储液腔内产生负压,也便于通过乳胶壳和吸痰孔对患者呼吸道内的痰液进行抽吸,设有的V形杆、电机、环形板和矩形槽,不仅便于使储液腔内能够持续产生负压,也便于对患者持续性的吸痰,设有的可拆卸的橡胶堵头和密封盖,不仅便于将储液腔内的痰液排出,也便于对储液腔内部进行清洗,同时提高了医护人员的工作效率。The utility model has the advantages of simple structure, convenient operation, novel conception and strong practicability. Negative pressure is generated in the cavity, and it is also convenient to suck the sputum in the patient's respiratory tract through the latex shell and sputum suction hole. Negative pressure is generated, and it is also convenient for continuous suction of patients. The removable rubber plug and sealing cover are provided, which are not only convenient for discharging the sputum in the liquid storage cavity, but also convenient for cleaning the interior of the liquid storage cavity. Improve the efficiency of medical staff.
Claims (6)
Priority Applications (1)
| Application Number | Priority Date | Filing Date | Title |
|---|---|---|---|
| CN202123012923.3U CN217040871U (en) | 2021-12-02 | 2021-12-02 | Respiratory tract nursing sputum suction device |
Applications Claiming Priority (1)
| Application Number | Priority Date | Filing Date | Title |
|---|---|---|---|
| CN202123012923.3U CN217040871U (en) | 2021-12-02 | 2021-12-02 | Respiratory tract nursing sputum suction device |
Publications (1)
| Publication Number | Publication Date |
|---|---|
| CN217040871U true CN217040871U (en) | 2022-07-26 |
Family
ID=82477519
Family Applications (1)
| Application Number | Title | Priority Date | Filing Date |
|---|---|---|---|
| CN202123012923.3U Expired - Fee Related CN217040871U (en) | 2021-12-02 | 2021-12-02 | Respiratory tract nursing sputum suction device |
Country Status (1)
| Country | Link |
|---|---|
| CN (1) | CN217040871U (en) |
-
2021
- 2021-12-02 CN CN202123012923.3U patent/CN217040871U/en not_active Expired - Fee Related
Similar Documents
| Publication | Publication Date | Title |
|---|---|---|
| CN204395079U (en) | A kind of Respiratory Medicine sputum aspirator | |
| CN204446724U (en) | A kind of hand held sputum aspirator | |
| CN201790874U (en) | Simple skin segregation device | |
| CN217040871U (en) | Respiratory tract nursing sputum suction device | |
| CN203724581U (en) | Washable hypolarynx suction tracheotomy cannula | |
| CN219127611U (en) | Adjustable sputum aspirator | |
| CN216908761U (en) | Rapid and safe sputum aspirator for emergency internal medicine | |
| CN210044636U (en) | Respiratory sputum scab remover | |
| CN205434487U (en) | Novel sputum suction apparatus | |
| CN213158187U (en) | A kind of manual sputum suction device for children | |
| CN202005910U (en) | Disposable continuous liquid extractor | |
| CN211188460U (en) | Sputum aspirator for pneumology department | |
| CN204543016U (en) | Novelly measure suction sputum auxiliary device | |
| CN112618815A (en) | Nursing sputum suction device for intensive care unit | |
| CN209286281U (en) | A kind of emergency care respiratory tract negative pressure suction device | |
| CN208525510U (en) | A kind of bronchial lavage device | |
| CN219022514U (en) | Sputum aspirator | |
| CN213667381U (en) | Trachea cannula device suitable for bronchoscope operation emptysis rescue and difficult air flue | |
| CN216877372U (en) | Improved structure of sputum aspirator | |
| CN204655586U (en) | Portable running sputum aspirator | |
| CN202122726U (en) | Portable manual sputum suction apparatus | |
| CN223350673U (en) | A lung clearing and expectoration device for respiratory medicine | |
| CN219001335U (en) | Double-layer interventional sputum aspirator | |
| CN211535859U (en) | Traditional chinese and western medicine combines urine aspirator for surgery | |
| CN210447699U (en) | Novel manual operator |
Legal Events
| Date | Code | Title | Description |
|---|---|---|---|
| GR01 | Patent grant | ||
| GR01 | Patent grant | ||
| CF01 | Termination of patent right due to non-payment of annual fee | ||
| CF01 | Termination of patent right due to non-payment of annual fee |
Granted publication date: 20220726 |
