CN217031338U - Linear bathroom heater - Google Patents

Linear bathroom heater Download PDF

Info

Publication number
CN217031338U
CN217031338U CN202220880501.3U CN202220880501U CN217031338U CN 217031338 U CN217031338 U CN 217031338U CN 202220880501 U CN202220880501 U CN 202220880501U CN 217031338 U CN217031338 U CN 217031338U
Authority
CN
China
Prior art keywords
shell
air
bathroom heater
fixedly installed
channels
Prior art date
Legal status (The legal status is an assumption and is not a legal conclusion. Google has not performed a legal analysis and makes no representation as to the accuracy of the status listed.)
Active
Application number
CN202220880501.3U
Other languages
Chinese (zh)
Inventor
孙西花
Current Assignee (The listed assignees may be inaccurate. Google has not performed a legal analysis and makes no representation or warranty as to the accuracy of the list.)
Jiaxing Fashini Home Technology Co.,Ltd.
Original Assignee
Individual
Priority date (The priority date is an assumption and is not a legal conclusion. Google has not performed a legal analysis and makes no representation as to the accuracy of the date listed.)
Filing date
Publication date
Application filed by Individual filed Critical Individual
Priority to CN202220880501.3U priority Critical patent/CN217031338U/en
Application granted granted Critical
Publication of CN217031338U publication Critical patent/CN217031338U/en
Active legal-status Critical Current
Anticipated expiration legal-status Critical

Links

Images

Landscapes

  • Central Heating Systems (AREA)

Abstract

The utility model discloses a linear bathroom heater, which comprises a shell and two first tapered air channels positioned in the shell, wherein the left side and the right side of the top of an inner cavity of the shell are respectively and fixedly installed with the tops of the two first tapered air channels, the bottoms of the two first tapered air channels are respectively and fixedly provided with a second tapered air channel, and electric fans are fixedly installed between the top and the bottom of the inner cavity of the shell and positioned on the left side and the right side of the two first tapered air channels. This line type bathroom heater bloies in to the shell through two electric fan, the wind that gets into the shell can get into in upper and lower first toper wind channel and the second toper wind channel, the air outlet discharge on the air channel of inspiration can be passed through to the wind, wind can heat through the heating otter board and become the warm braw, make the warm braw discharge through the air exit, both ends air inlet about through the shell, both ends do not use the pipeline that can be fine, can directly blow directly to air exhaust, make calorific capacity of shell big, small cost is low.

Description

Linear bathroom heater
Technical Field
The utility model relates to the technical field of electric appliances, in particular to a linear bathroom heater.
Background
The bathroom heater is through the ingenious combination of purpose-made waterproof infrared ray heat wave pipe and scavenger fan to combine multiple functions such as the heating in bathroom, infrared ray physiotherapy, bathroom take a breath, decoration in the bathroom in an organic whole with little household electrical appliances for the bathroom product, current bathroom heater product outward appearance volume is great, uses with high costs, and the pipeline length of connecting is longer, and heat loss is big, and the combustion gas heat is little.
SUMMERY OF THE UTILITY MODEL
Aiming at the defects of the prior art, the utility model provides a linear bathroom heater, which solves the problems of larger volume of the bathroom heater, longer length of a connected pipeline and large heat loss.
In order to achieve the purpose, the utility model is realized by the following technical scheme: a linear bathroom heater comprises a shell and two first conical air channels positioned inside the shell, wherein the left side and the right side of the top of an inner cavity of the shell are respectively fixedly installed with the tops of the two first conical air channels, the bottoms of the two first conical air channels are respectively fixedly installed with a second conical air channel, electric fans are fixedly installed between the top and the bottom of the inner cavity of the shell and positioned on the left side and the right side of the two first conical air channels, a heating screen plate is fixedly installed at the top of the inner cavity of the first conical air channel, air outlets matched with the heating screen plate are formed in the top of the first conical air channel, air outlets matched with the air outlets are formed in the left side and the right side of the top of the shell, air inlets are formed in the top of the shell and positioned between the two air outlets, a cover plate is fixedly installed at the top of the shell, and warm air outlets matched with the air outlets are formed in the left side and the right side of the top of the cover plate, the top of the cover plate is positioned between the two warm air outlets and is provided with a ventilation port, and the bottom of the inner cavity of the shell is penetrated and fixedly connected with an exhaust fan.
Preferably, the opposite sides of the interiors of the two warm air outlets are rotatably connected with air deflectors through bearings, and the opposite sides of the two air deflectors are fixedly connected with connecting rods.
Preferably, two the one end that the connecting rod was carried on the back mutually rotates through bearing and two inside relative one sides of warm braw export respectively and is connected, the equal fixedly connected with motor in the left and right sides of apron bottom.
Preferably, the output shaft of the motor is fixedly connected with a rotating rod through a coupler.
Preferably, the outer surface of the rotating rod is in transmission connection with the outer surface of the connecting rod through a belt pulley.
Preferably, the top of apron and the equal fixed mounting in the left and right sides that is located two warm braw exports have little night-light.
Advantageous effects
The utility model provides a linear bathroom heater. Compared with the prior art, the method has the following beneficial effects:
(1) this line type bathroom heater, blow in to the shell through two electric fan, the wind that gets into the shell can get into in upper and lower first toper wind channel and the second toper wind channel, the air outlet discharge on the first toper wind channel can be passed through to the wind of inspiration, can heat through the heating otter board and become the warm braw, make the warm braw pass through the air exit and discharge, both ends air inlet about through the shell, can be fine not use the pipeline, just can directly blow directly to air exhaust, it is big to make the shell give off the heat of wind, accord with energy saving and emission reduction standard, small cost is low, more convenience is got up in the use.
(2) This line type bathroom heater drives the dwang through the motor and rotates, makes the dwang drive the connecting rod through the belt pulley and rotates 45 degrees to drive aviation baffle slope 45 degrees, warm and discharge from the intraoral aviation baffle of warm braw outlet of messenger that can be fine, the angle that the regulation warm braw that can be convenient discharged, messenger's warm braw discharge more even, the travelling comfort is higher in the use.
Drawings
FIG. 1 is a schematic external view of the present invention;
FIG. 2 is a schematic view of the internal structure of the housing and cover plate of the present invention;
FIG. 3 is a top view of the cover plate, the ventilation opening and the air guide plate structure of the present invention;
FIG. 4 is a right side view of the cover plate and warm air outlet structure of the present invention;
FIG. 5 is a right side view of the electric blower configuration of the present invention;
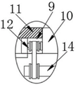
fig. 6 is a partial enlarged view of the utility model at a in fig. 2. In the figure: 1. a housing; 2. a first tapered air duct; 3. a second tapered air duct; 4. heating the screen plate; 5. an air outlet; 6. an air outlet; 7. an air inlet; 8. a cover plate; 9. a warm air outlet; 10. a ventilation port; 11. an air deflector; 12. a connecting rod; 13. a motor; 14. rotating the rod; 15. an electric fan; 16. a small night light; 17. an exhaust fan.
Detailed Description
The technical solutions in the embodiments of the present invention will be clearly and completely described below with reference to the drawings in the embodiments of the present invention, and it is obvious that the described embodiments are only a part of the embodiments of the present invention, and not all of the embodiments. All other embodiments, which can be derived by a person skilled in the art from the embodiments given herein without making any creative effort, shall fall within the protection scope of the present invention.
Referring to fig. 1-6, the present invention provides a technical solution: a linear bathroom heater comprises a shell 1 and two first conical air channels 2 positioned inside the shell 1, the left and right sides of the top of an inner cavity of the shell 1 are respectively fixedly installed with the tops of the two first conical air channels 2, the bottoms of the two first conical air channels 2 are respectively fixedly installed with second conical air channels 3, electric fans 15 are fixedly installed between the top and the bottom of the inner cavity of the shell 1 and positioned on the left and right sides of the two first conical air channels 2, the electric fans 15 are waterproof axial flow motors, the size is small, the service life is long, the electric fans are electrically connected with an external power supply, control is performed through a control switch, a heating screen plate 4 is fixedly installed on the top of the inner cavity of the first conical air channel 2, the heating screen plate 4 is electrically connected with the external power supply, control is performed through the control switch, air outlets 5 matched with the heating screen plate 4 are formed in the top of the first conical air channel 2, air outlets 6 matched with the air outlets 5 are formed in the left and right sides of the top of the shell 1, an air inlet 7 is arranged at the top of the shell 1 and between the two air outlets 6, a cover plate 8 is fixedly arranged at the top of the shell 1, the left side and the right side of the top of the cover plate 8 are respectively provided with a warm air outlet 9 matched with the air outlets 6, a ventilation port 10 is arranged at the top of the cover plate 8 and between the two warm air outlets 9, the bottom of the inner cavity of the shell 1 is penetrated and fixedly connected with an exhaust fan 17, the exhaust fan 17 is a waterproof axial flow motor, the volume is small, the service life is long, is electrically connected with an external power supply, is controlled by a control switch, and is supplied with air through the left end and the right end of the shell 1, can well blow air and exhaust air directly without using a pipeline, so that the heat of the air emitted by the shell 1 is large, the energy-saving and emission-reducing standard is met, the volume is small, the manufacturing cost is low, the use is more convenient, the ventilation opening 10 can be well ventilated by the exhaust fan 17 through the intake opening 7.
It should be noted that the first tapered air duct 2 and the adjacent second tapered air duct 3 may be combined into a tapered air duct, and the tapered air duct may compress the warm air therein, so that the warm air blown out from the warm air outlet 9 may be uniform, and each warm air may flow back, thereby achieving the best warming effect.
Furthermore, in order to increase the brightness of the bathroom, small night lights 16 are fixedly mounted at the top of the cover plate 8 and at the left and right sides of the two warm air outlets 9.
Preferably, the small night light 16 is replaced with a temperature display.
Furthermore, in order to guide the wind direction conveniently, one opposite side of the inside of each of the two warm air outlets 9 is rotatably connected with a wind deflector 11 through a bearing, one opposite side of each of the two wind deflectors 11 is fixedly connected with a connecting rod 12, one opposite end of each of the two connecting rods 12 is rotatably connected with one opposite side of the inside of each of the two warm air outlets 9 through a bearing, the left side and the right side of the bottom of the cover plate 8 are both fixedly connected with motors 13, the motors 13 are servo motors and are electrically connected with an external power supply and are controlled through a control switch, an output shaft of each of the motors 13 is fixedly connected with a rotating rod 14 through a coupler, the outer surface of each of the rotating rods 14 is in transmission connection with the outer surface of the corresponding connecting rod 12 through a belt pulley, the discharging angle of the wind can be conveniently adjusted, so that the warm air is discharged more uniformly, the comfort in use is higher, when the wind deflectors 11 are not used, the motors 13 are closed, thereby achieving the effect of beauty and tidiness.
And those not described in detail in this specification are well within the skill of the art.
When the device is used, the control switch is started, the two electric fans 15 rotate simultaneously to blow air into the shell 1, the air enters between the two first conical air channels 2 and the two second conical air channels 3, the shapes of the first conical air channels 2 and the second conical air channels 3 can compress the incoming air to a certain extent, the air can uniformly flow out upwards through the air outlets 5 on the first conical air channels 2, the air can be heated by the heating screen 4 to become warm air in the process of flowing out through the air outlets 5, the warm air flows out from the air outlets 5 and then flows into the cover plate 8 through the air outlets 6, meanwhile, the motor 13 can drive the rotating rod 14 to rotate, the rotating rod 14 can drive the connecting rod 12 to rotate 45 degrees through the belt pulley, the two air guide plates 11 rotate and incline 45 degrees in the two warm air outlets 9, the warm air can be discharged from the two air guide plates 11 in the two warm air outlets 9, and the air inlet 10 on the cover plate 8 and the air inlet 7 on the shell 1 are used, the inside of the housing 1 can be sucked and then ventilated by sucking and discharging air through the two electric fans 15. Although embodiments of the present invention have been shown and described, it will be appreciated by those skilled in the art that changes, modifications, substitutions and alterations can be made in these embodiments without departing from the principles and spirit of the utility model, the scope of which is defined in the appended claims and their equivalents.

Claims (6)

1. The utility model provides a linear bathroom heater, includes shell (1) and two first toper wind channels (2) that are located shell (1) inside, its characterized in that: the air conditioner is characterized in that the left side and the right side of the top of an inner cavity of the shell (1) are respectively fixedly installed with the tops of the two first conical air channels (2), the bottom of each of the two first conical air channels (2) is fixedly installed with a second conical air channel (3), electric fans (15) are fixedly installed between the top and the bottom of the inner cavity of the shell (1) and on the left side and the right side of the two first conical air channels (2), heating screen plates (4) are fixedly installed on the top of the inner cavity of the first conical air channels (2), air outlets (5) matched with the heating screen plates (4) are formed in the top of the first conical air channels (2), air outlets (6) matched with the air outlets (5) are formed in the left side and the right side of the top of the shell (1), air inlets (7) are formed in the top of the shell (1) and between the two air outlets (6), and cover plates (8) are fixedly installed on the top of the shell (1), the warm air outlet (9) matched with the air outlet (6) is formed in the left side and the right side of the top of the cover plate (8), the air vent (10) is formed in the top of the cover plate (8) and located between the two warm air outlets (9), and the bottom of the inner cavity of the shell (1) is penetrated through and fixedly connected with an exhaust fan (17).
2. The linear type bathroom heater of claim 1, wherein: two warm braw export (9) inside relative one side all is connected with aviation baffle (11) through the bearing rotation, two equal fixedly connected with connecting rod (12) in one side that aviation baffle (11) carried on the back mutually.
3. The linear type bathroom heater of claim 2, wherein: two the one end that connecting rod (12) carried on the back mutually rotates through bearing and two inside relative one sides of warm braw export (9) respectively and is connected, the equal fixedly connected with motor (13) in the left and right sides of apron (8) bottom.
4. The line type bathroom heater of claim 3, wherein: the output shaft of the motor (13) is fixedly connected with a rotating rod (14) through a coupler.
5. The linear type bathroom heater of claim 4, wherein: the outer surface of the rotating rod (14) is in transmission connection with the outer surface of the connecting rod (12) through a belt pulley.
6. The linear type bathroom heater of claim 1, wherein: the top of apron (8) and the equal fixed mounting in the left and right sides that is located two warm braw exports (9) have little night-light (16).
CN202220880501.3U 2022-04-18 2022-04-18 Linear bathroom heater Active CN217031338U (en)

Priority Applications (1)

Application Number Priority Date Filing Date Title
CN202220880501.3U CN217031338U (en) 2022-04-18 2022-04-18 Linear bathroom heater

Applications Claiming Priority (1)

Application Number Priority Date Filing Date Title
CN202220880501.3U CN217031338U (en) 2022-04-18 2022-04-18 Linear bathroom heater

Publications (1)

Publication Number Publication Date
CN217031338U true CN217031338U (en) 2022-07-22

Family

ID=82417157

Family Applications (1)

Application Number Title Priority Date Filing Date
CN202220880501.3U Active CN217031338U (en) 2022-04-18 2022-04-18 Linear bathroom heater

Country Status (1)

Country Link
CN (1) CN217031338U (en)

Similar Documents

Publication Publication Date Title
CN106765847A (en) A kind of integral type ventilation air conditioner
CN110762618A (en) Machine and air conditioner in air conditioning of reversible air supply
CN109386963B (en) Multifunctional bathroom warmer with annular air heating port
WO2020192071A1 (en) Indoor unit of air conditioner and air conditioner
CN110762616A (en) Machine and air conditioner in air conditioning of reversible air supply
CN217031338U (en) Linear bathroom heater
CN113491378A (en) Folding multifunctional hair drier
CN201233098Y (en) Internal circulation air duct structure for indoor heater
CN207555715U (en) Heating system
CN110966677B (en) Air conditioner indoor unit capable of reversibly supplying air and air conditioner
CN211119673U (en) Machine and air conditioner in air conditioning of reversible air supply
CN106705230A (en) New air change air conditioner
CN207751050U (en) A kind of heater being eccentrically rotated open-type air inlet
CN211119676U (en) Machine and air conditioner in air conditioning of reversible air supply
CN221264289U (en) Heat radiation structure and inverter
CN215762387U (en) Intelligent bladeless fan
CN211119672U (en) Machine and air conditioner in air conditioning of reversible air supply
CN211952957U (en) Turbulent flow device of electric heater
CN215776124U (en) Large air volume blower
CN213577754U (en) Energy-saving fan coil unit
CN215723501U (en) A kind of Yuba
CN222417672U (en) Extremely narrow air inlet line type multifunctional warmer
CN209279357U (en) A kind of heat recovery apparatus of air-treatment unit
CN110762621B (en) Air conditioner indoor unit with reversible air supply and air conditioner
CN217604220U (en) Adjustable warmer

Legal Events

Date Code Title Description
GR01 Patent grant
GR01 Patent grant
TR01 Transfer of patent right

Effective date of registration: 20230915

Address after: Building 4, Wufeng Village, Baibu Town, Haiyan County, Jiaxing City, Zhejiang Province, 314000

Patentee after: Jiaxing Fashini Home Technology Co.,Ltd.

Address before: 264500 No. 139, Shanxia village, Yazi Town, Rushan City, Weihai City, Shandong Province

Patentee before: Sun Xihua

TR01 Transfer of patent right