CN217029135U - 一种发动机进气管的阻火装置 - Google Patents

一种发动机进气管的阻火装置 Download PDF

Info

Publication number
CN217029135U
CN217029135U CN202220471582.1U CN202220471582U CN217029135U CN 217029135 U CN217029135 U CN 217029135U CN 202220471582 U CN202220471582 U CN 202220471582U CN 217029135 U CN217029135 U CN 217029135U
Authority
CN
China
Prior art keywords
flange
flame arrester
intake pipe
engine intake
core
Prior art date
Legal status (The legal status is an assumption and is not a legal conclusion. Google has not performed a legal analysis and makes no representation as to the accuracy of the status listed.)
Active
Application number
CN202220471582.1U
Other languages
English (en)
Inventor
唐兰
Current Assignee (The listed assignees may be inaccurate. Google has not performed a legal analysis and makes no representation or warranty as to the accuracy of the list.)
Guangxi Yuchai Marine and Genset Power Co Ltd
Original Assignee
Guangxi Yuchai Marine and Genset Power Co Ltd
Priority date (The priority date is an assumption and is not a legal conclusion. Google has not performed a legal analysis and makes no representation as to the accuracy of the date listed.)
Filing date
Publication date
Application filed by Guangxi Yuchai Marine and Genset Power Co Ltd filed Critical Guangxi Yuchai Marine and Genset Power Co Ltd
Priority to CN202220471582.1U priority Critical patent/CN217029135U/zh
Application granted granted Critical
Publication of CN217029135U publication Critical patent/CN217029135U/zh
Active legal-status Critical Current
Anticipated expiration legal-status Critical

Links

Images

Landscapes

  • Exhaust Silencers (AREA)

Abstract

本实用新型公开了一种发动机进气管的阻火装置,属于发动机技术领域,解决了进气管的阻火器芯难以拆卸清洗的问题。该阻火装置包括连接管,所述的连接管一侧连接有第一法兰,所述连接管与第一法兰的内壁设有安装台阶,所述的第一法兰连接有波纹管,所述的安装台阶内设有阻火器芯,所述的阻火器芯两侧均设有压板。本实用新型的一种发动机进气管的阻火装置,结构简单,阻火器芯可拆卸清洗,实现对进气系统的保养,具有使用方便、实用性强的特点。

Description

一种发动机进气管的阻火装置
技术领域
本实用新型涉及发动机技术领域,尤其涉及一种发动机进气管的阻火装置。
背景技术
为了防止进气管回火延伸到发动机的其他零件,现有的发动机进气管一般会安装有阻火装置。现有阻火装置的阻火器芯通常都是整体焊接固定在进气管内。由于进气阻火器在日常使用过程中,容易受到粉尘等杂质阻塞,需要对阻火器芯进行清理,使其可以正常的通气,但是由于阻火器芯与进气管是固定连接的方式,无法对阻火器芯单独清洗,拆卸只能是整个阻火器拆卸下来,拆卸过程非常不便,工作量大,又浪费维修时间。
实用新型内容
本实用新型要解决的技术问题是针对现有技术的上述不足,提供一种发动机进气管的阻火装置,结构简单,阻火器芯可拆卸清洗,实现对进气系统的保养,具有使用方便、实用性强的特点。
本实用新型采用的技术方案是:一种发动机进气管的阻火装置,包括连接管,所述的连接管一侧连接有第一法兰,所述连接管与第一法兰的内壁设有安装台阶,所述的第一法兰连接有波纹管,所述的安装台阶内设有阻火器芯,所述的阻火器芯两侧均设有压板。
作为进一步地改进,所述的压板包括圆形圈和多个加强筋,多个所述的加强筋设置在圆形圈内。
进一步地,所述的连接管与第一法兰一体化成型。
进一步地,所述的波纹管两侧设有与第一法兰相连接的第二法兰。
进一步地,所述的第一法兰、第二法兰为六角形结构。
进一步地,所述的第二法兰与第一法兰通过螺栓连接,所述的第二法兰的六角上均开设有通孔,所述第一法兰的六角上均开设有螺纹孔,所述的螺栓穿过通孔后与螺纹孔螺纹连接。
有益效果
本实用新型与现有技术相比,具有以下优点:
本实用新型的一种发动机进气管的阻火装置,通过将阻火器芯安装在安装台阶内,使其具有阻火功能,并通过在阻火器芯两侧均安装有压板,防止压坏阻火器芯,同时,通过螺栓将第一法兰与第二法兰连接在一起。第二法兰的侧面压紧压板,使得阻火器芯无法移动,满足阻火的作用,当阻火器芯发生堵塞时,只需要扭开螺栓,即可取出阻火器芯进行清理,方便快捷,具有使用方便、适用范围广的特点。
附图说明
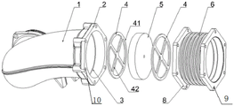
图1为本实用新型的剖视结构示意图;
图2为本实用新型的结构爆炸示意图。
其中:1-连接管、2-第一法兰、3-安装台阶、4-压板、5-阻火器芯、6-波纹管、8-第二法兰、9-通孔、10-螺纹孔、41-圆形圈、42-加强筋。
具体实施方式
下面结合附图中的具体实施例对本实用新型做进一步的说明。
参阅图1-2所示,本实用新型的一种发动机进气管的阻火装置,包括连接管1,连接管1一侧连接有第一法兰2,连接管1与第一法兰2的内壁设有安装台阶3,第一法兰2连接有波纹管6,波纹管6便于将阻火器芯5取出,安装台阶3内设有阻火器芯5,阻火器芯5两侧均设有压板4,将阻火器芯5安装在安装台阶3内,并且两侧均安装有压板4,防止压坏阻火器芯5,使用螺栓将第一法兰2与其中一个第二法兰8连接在一起,另一个第二法兰8与另一段进气管连接,第二法兰8的侧面压紧压板4,使得阻火器芯5无法移动,满足阻火的作用,当阻火器芯5发生堵塞时,只需要扭开螺栓,压缩波纹管6,即可取出阻火器芯5进行清理,方便快捷。
具体的,压板4包括圆形圈41和多个加强筋42,多个加强筋42设置在圆形圈41内,压板4布置在阻火器芯5两侧,防止阻火器芯5被压坏,加强筋42起到加固的作用,防止压板4受压变形。
优选的,连接管1与第一法兰2一体化成型,便于生产制造,一体化成型保障连接处的机械性能,防止出现断裂现象,同时避免后期连接时出现误差。
进一步地,波纹管6两侧设有与第一法兰2相连接的第二法兰8,使用螺栓先穿过其中一个第二法兰8后与第一法兰2连接,便于将波纹管6安装在第一法兰2上,另一个第二法兰8与另一段进气管连接,使用螺栓可拆卸的方式,便于拆卸清洗阻火器芯5。
进一步地,第一法兰2、第二法兰8为六角形结构,第二法兰8与第一法兰2通过螺栓连接,第二法兰8的六角上均开设有通孔9,第一法兰2的六角上均开设有螺纹孔10,螺栓穿过通孔9后与螺纹孔10螺纹连接,多个螺栓均匀布置在第一法兰2、第二法兰8上,使得连接受力均匀,避免连接处有缝隙泄漏。
本实施例的一种发动机进气管的阻火装置在使用时,将阻火器芯5安装在台阶3内,将两个压板4分别布置在阻火器芯5两侧,防止连接时压坏阻火器芯5,然后使用螺栓将第一法兰2与第二法兰8连接在一起,第二法兰8的侧面压紧压板4,使得阻火器芯5无法移动,满足阻火的作用,当阻火器芯5发生堵塞时,只需要扭开螺栓,压缩波纹管6,即可取出阻火器芯5进行清理,方便快捷。本实用新型的一种发动机进气管的阻火装置,结构简单,阻火器芯可拆卸清洗,实现对进气系统的保养,具有使用方便、实用性强的特点。
以上所述的仅是本实用新型的优选实施方式,应当指出对于本领域的技术人员来说,在不脱离本实用新型结构的前提下,还可以作出若干变形和改进,这些都不会影响本实用新型实施的效果和专利的实用性。

Claims (6)

1.一种发动机进气管的阻火装置,其特征在于,包括连接管(1),所述的连接管(1)一侧连接有第一法兰(2),所述连接管(1)与第一法兰(2)的内壁设有安装台阶(3),所述的第一法兰(2)连接有波纹管(6),所述的安装台阶(3)内设有阻火器芯(5),所述的阻火器芯(5)两侧均设有压板(4)。
2.根据权利要求1所述的一种发动机进气管的阻火装置,其特征在于,所述的压板(4)包括圆形圈(41)和多个加强筋(42),多个所述的加强筋(42)设置在圆形圈(41)内。
3.根据权利要求1所述的一种发动机进气管的阻火装置,其特征在于,所述的连接管(1)与第一法兰(2)一体化成型。
4.根据权利要求1所述的一种发动机进气管的阻火装置,其特征在于,所述的波纹管(6)两侧设有与第一法兰(2)相连接的第二法兰(8)。
5.根据权利要求4所述的一种发动机进气管的阻火装置,其特征在于,所述的第一法兰(2)、第二法兰(8)为六角形结构。
6.根据权利要求5所述的一种发动机进气管的阻火装置,其特征在于,所述的第二法兰(8)与第一法兰(2)通过螺栓连接,所述的第二法兰(8)的六角上均开设有通孔(9),所述第一法兰(2)的六角上均开设有螺纹孔(10),所述的螺栓穿过通孔(9)后与螺纹孔(10)螺纹连接。
CN202220471582.1U 2022-03-04 2022-03-04 一种发动机进气管的阻火装置 Active CN217029135U (zh)

Priority Applications (1)

Application Number Priority Date Filing Date Title
CN202220471582.1U CN217029135U (zh) 2022-03-04 2022-03-04 一种发动机进气管的阻火装置

Applications Claiming Priority (1)

Application Number Priority Date Filing Date Title
CN202220471582.1U CN217029135U (zh) 2022-03-04 2022-03-04 一种发动机进气管的阻火装置

Publications (1)

Publication Number Publication Date
CN217029135U true CN217029135U (zh) 2022-07-22

Family

ID=82453880

Family Applications (1)

Application Number Title Priority Date Filing Date
CN202220471582.1U Active CN217029135U (zh) 2022-03-04 2022-03-04 一种发动机进气管的阻火装置

Country Status (1)

Country Link
CN (1) CN217029135U (zh)

Similar Documents

Publication Publication Date Title
CN217029135U (zh) 一种发动机进气管的阻火装置
CN202949195U (zh) 电缆保护管的管道段连接接头
CN211593713U (zh) 一种粉料仓气破拱装置
CN219265102U (zh) 一种碳化硅块孔式换热器
CN218599167U (zh) 一种防火隔热复合风管
CN218462063U (zh) 波纹管拆装工具
CN212662947U (zh) 用于安装过滤器的安装装置及过滤装置
CN220526966U (zh) 一种新型电堆用便于拆装的增湿器
CN218326700U (zh) 一种便于安装的法兰接头
CN217875311U (zh) 一种具有异形阻火芯的氢气阻火器
CN207310178U (zh) 一种新型快速拆装混凝土塑料试模
CN222717707U (zh) 一种真空密封用不锈钢法兰
CN214065242U (zh) 一种用于建筑暖通工程的除尘通风装置
CN219282646U (zh) 一种机电工程用碳钢通风管道连接结构
CN220891350U (zh) 用于空气源热泵机组室内机的水泵接管安装结构
CN221077907U (zh) 一种压力表接头结构
CN218208249U (zh) 一种可监测水量的管道连接结构
CN223359978U (zh) 一种阀件集成结构管路布置结构
CN221839101U (zh) 一种用于伸出衬胶筒体接管的径向密封结构
CN217056038U (zh) 一种便于拆卸的鼓齿联轴器
CN222415982U (zh) 除尘器振打传动机构的密封装置
CN218933570U (zh) 一种扣碗式通风气楼
CN222717716U (zh) 一种密封橡胶件
CN221258026U (zh) 一种油管连接组件
CN222167941U (zh) 一种可拆卸清洗消声器

Legal Events

Date Code Title Description
GR01 Patent grant
GR01 Patent grant