CN217003174U - 一种新型球阀 - Google Patents
一种新型球阀 Download PDFInfo
- Publication number
- CN217003174U CN217003174U CN202220331832.1U CN202220331832U CN217003174U CN 217003174 U CN217003174 U CN 217003174U CN 202220331832 U CN202220331832 U CN 202220331832U CN 217003174 U CN217003174 U CN 217003174U
- Authority
- CN
- China
- Prior art keywords
- ball valve
- valve body
- connector
- connecting pipe
- star
- Prior art date
- Legal status (The legal status is an assumption and is not a legal conclusion. Google has not performed a legal analysis and makes no representation as to the accuracy of the status listed.)
- Active
Links
- 238000007789 sealing Methods 0.000 claims abstract description 24
- 238000003466 welding Methods 0.000 claims abstract description 5
- 239000007788 liquid Substances 0.000 abstract description 4
- 230000000694 effects Effects 0.000 description 2
- 239000000956 alloy Substances 0.000 description 1
- 229910045601 alloy Inorganic materials 0.000 description 1
- 230000009286 beneficial effect Effects 0.000 description 1
- 230000001276 controlling effect Effects 0.000 description 1
- 239000000835 fiber Substances 0.000 description 1
- 239000012530 fluid Substances 0.000 description 1
- 239000002184 metal Substances 0.000 description 1
- 239000002245 particle Substances 0.000 description 1
- 230000001105 regulatory effect Effects 0.000 description 1
- 238000010008 shearing Methods 0.000 description 1
- 239000007787 solid Substances 0.000 description 1
Images
Landscapes
- Taps Or Cocks (AREA)
- Multiple-Way Valves (AREA)
Abstract
本实用新型公开了一种新型球阀,涉及球阀技术领域。包括球阀本体,所述球阀本体的侧面设置有三个连接口,三个所述连接口成T型排列,所述球阀本体位于连接口的一侧固定有连接管,所述球阀本体的上端开设有用于放置星型连接柱的圆孔,所述星型连接柱的底端固定有球阀。本实用新型专利通过球阀本体和连接管通过旋转摩擦焊进行连接,实现了外密封,防止液体向外部泄露,保证了该产品的密封性,且不需要额外的结构和螺钉,大大减少的成本,通过在连接口的内侧固定有密封环,连接管靠近球阀本体的一侧开设有环形凹槽,环形凹槽内侧放置有弹簧,用于压缩密封环进行密封,密封环的一端正好可以延伸至凹槽内,使得弹簧被压缩,从而增加了密封性。
Description
技术领域
本实用新型涉及球阀技术领域,具体为一种新型球阀。
背景技术
球阀,启闭件(球体)由阀杆带动,并绕球阀轴线作旋转运动的阀门。亦可用于流体的调节与控制,其中硬密封V型球阀其V型球芯与堆焊硬质合金的金属阀座之间具有很强的剪切力,特别适用于含纤维、微小固体颗料等的介质。而多通球阀在管道上不仅可灵活控制介质的合流、分流、及流向的切换,同时也可关闭任一通道而使另外两个通道相连。本类阀门在管道中一般应当水平安装。
现有的球阀结构复杂,成本高,且密封效果不高。
发明内容
本实用新型专利的目的在于提供一种新型球阀,以解决了现有的问题:现有的球阀模具结构复杂,成本高,且密封效果不高。
为实现上述目的,本实用新型提供如下技术方案:一种新型球阀,包括球阀本体,所述球阀本体的侧面设置有三个连接口,三个所述连接口成T型排列;
所述球阀本体位于连接口的一侧固定有连接管,所述球阀本体的上端开设有用于放置星型连接柱的圆孔,所述星型连接柱的底端固定有球阀,所述球阀位于球阀本体的内侧,所述球阀表面与连接口完全贴合。
优选的,所述球阀本体和连接管通过旋转摩擦焊进行连接。
优选的,所述连接口的内侧固定有密封环,所述连接管靠近球阀本体的一侧开设有环形凹槽,所述环形凹槽内侧放置有弹簧,用于压缩密封环进行密封。
优选的,所述球阀的底端固定有旋转圆柱,所述球阀本体的内部且与旋转圆柱相应的位置设置有放置槽,所述旋转圆柱与放置槽完全贴合。
优选的,所述星型连接柱的一端连接有动力件,所述动力件用于转动星型连接柱。
优选的,所述动力件为电机。
与现有技术相比,本实用新型的有益效果是:
1、本实用新型通过球阀本体和连接管通过旋转摩擦焊进行连接,实现了外密封,防止液体向外部泄露,保证了该产品的密封性,且不需要额外的结构和螺钉,大大减少的成本;
2、本实用新型通过在连接口的内侧固定有密封环,连接管靠近球阀本体的一侧开设有环形凹槽,环形凹槽内侧放置有弹簧,用于压缩密封环进行密封,密封环的一端正好可以延伸至凹槽内,使得弹簧被压缩,从而增加了密封性。
附图说明
为了更清楚地说明本实用新型专利实施例的技术方案,下面将对实施例描述所需要使用的附图作简单地介绍,显而易见地,下面描述中的附图仅仅是本实用新型专利的一些实施例,对于本领域普通技术人员来讲,在不付出创造性劳动的前提下,还可以根据这些附图获得其他的附图。
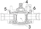
图1为本实用新型整体的结构示意图;
图2为本实用新型整体的爆炸图;
图3为本实用新型局部的剖切图。
图中:1、球阀本体;2、连接管;3、球阀;4、星型连接柱;5、弹簧;6、密封环。
具体实施方式
下面将结合本实用新型实施例中的附图,对本实用新型实施例中的技术方案进行清楚、完整地描述,显然,所描述的实施例仅仅是本实用新型一部分实施例,而不是全部的实施例。
请参阅图1-3,一种新型球阀,包括球阀本体1,球阀本体1的形状为球形或者圆柱形,样式多种多样,在此不一一列举,球阀本体1的内部为空腔,球阀本体1的侧面设置有三个连接口,三个连接口成T型排列,三个连接口通过空腔进行连接,方便液体的流动;
球阀本体1位于连接口的一侧固定有连接管2;
具体的,球阀本体1和连接管2通过旋转摩擦焊进行连接,实现了外密封,防止液体向外部泄露,保证了该产品的密封性,且不需要额外的结构和螺钉,大大减少的成本。
球阀本体1的上端开设有用于放置星型连接柱4的圆孔,星型连接柱4的底端为圆柱形,星型连接柱4的底端通过密封垫与球阀本体1的上端完全贴合,保证了球阀本体1和星型连接柱4的密封性;
进一步的,星型连接柱4的底端固定有球阀3,球阀3位于球阀本体1的内侧,球阀3表面与连接口完全贴合,使得球阀3可以有效的讲连接口进行隔断,从而使得该装置可以进行打开和闭合。
进一步的,球阀3的底端固定有旋转圆柱,球阀本体1的内部且与旋转圆柱相应的位置设置有放置槽,旋转圆柱与放置槽完全贴合,使得球阀3可以十分顺滑的在球阀本体1的内部进行旋转,且使得球阀3以放置槽为圆心进行旋转。
进一步的,为了使得球阀3可以进行转动,星型连接柱4的一端连接有动力件,动力件用于转动星型连接柱4,动力件为电机,通过动力件带动星型连接柱4进行转动,从而可以有效的带动球阀3进行旋转。
进一步的,连接口的内侧固定有密封环6,连接管2靠近球阀本体1的一侧开设有环形凹槽,环形凹槽内侧放置有弹簧5,用于压缩密封环6进行密封,密封环6的一端正好可以延伸至凹槽内,使得弹簧5被压缩,从而增加了密封性;
通过弹簧5加密封环6的结构,提供了更好的密封性能。
本装置通过较少的结构,可以有效的减小体积,减少零件数量,降低了成本。
对于本领域技术人员而言,显然本实用新型不限于上述示范性实施例的细节,而且在不背离本实用新型的精神或基本特征的情况下,能够以其他的具体形式实现本实用新型。因此,无论从哪一点来看,均应将实施例看作是示范性的,而且是非限制性的,本实用新型的范围由所附权利要求而不是上述说明限定,因此旨在将落在权利要求的等同要件的含义和范围内的所有变化囊括在本实用新型内。不应将权利要求中的任何附图标记视为限制所涉及的权利要求。
Claims (6)
1.一种新型球阀,包括球阀本体(1),其特征在于:所述球阀本体(1)的侧面设置有三个连接口,三个所述连接口成T型排列;
所述球阀本体(1)位于连接口的一侧固定有连接管(2),所述球阀本体(1)的上端开设有用于放置星型连接柱(4)的圆孔,所述星型连接柱(4)的底端固定有球阀(3),所述球阀(3)位于球阀本体(1)的内侧,所述球阀(3)表面与连接口完全贴合。
2.根据权利要求1所述的一种新型球阀,其特征在于:所述球阀本体(1)和连接管(2)通过旋转摩擦焊进行连接。
3.根据权利要求2所述的一种新型球阀,其特征在于:所述连接口的内侧固定有密封环(6),所述连接管(2)靠近球阀本体(1)的一侧开设有环形凹槽,所述环形凹槽内侧放置有弹簧(5),用于压缩密封环(6)进行密封。
4.根据权利要求3所述的一种新型球阀,其特征在于:所述球阀(3)的底端固定有旋转圆柱,所述球阀本体(1)的内部且与旋转圆柱相应的位置设置有放置槽,所述旋转圆柱与放置槽完全贴合。
5.根据权利要求4所述的一种新型球阀,其特征在于:所述星型连接柱(4)的一端连接有动力件,所述动力件用于转动星型连接柱(4)。
6.根据权利要求5所述的一种新型球阀,其特征在于:所述动力件为电机。
Priority Applications (1)
| Application Number | Priority Date | Filing Date | Title |
|---|---|---|---|
| CN202220331832.1U CN217003174U (zh) | 2022-02-18 | 2022-02-18 | 一种新型球阀 |
Applications Claiming Priority (1)
| Application Number | Priority Date | Filing Date | Title |
|---|---|---|---|
| CN202220331832.1U CN217003174U (zh) | 2022-02-18 | 2022-02-18 | 一种新型球阀 |
Publications (1)
| Publication Number | Publication Date |
|---|---|
| CN217003174U true CN217003174U (zh) | 2022-07-19 |
Family
ID=82393775
Family Applications (1)
| Application Number | Title | Priority Date | Filing Date |
|---|---|---|---|
| CN202220331832.1U Active CN217003174U (zh) | 2022-02-18 | 2022-02-18 | 一种新型球阀 |
Country Status (1)
| Country | Link |
|---|---|
| CN (1) | CN217003174U (zh) |
-
2022
- 2022-02-18 CN CN202220331832.1U patent/CN217003174U/zh active Active
Similar Documents
| Publication | Publication Date | Title |
|---|---|---|
| CN114294440A (zh) | 一种防泄露球阀 | |
| CN217003174U (zh) | 一种新型球阀 | |
| CN210461787U (zh) | 控制阀 | |
| CN215214842U (zh) | 一种球形平衡阀 | |
| CN215981045U (zh) | 一种法兰蝶阀的密封法兰 | |
| CN215214882U (zh) | 三通四密封球阀 | |
| CN210240637U (zh) | 一种防泄漏球阀结构 | |
| CN212106961U (zh) | 一种五维偏心阀门弹性线密封结构 | |
| CN2620140Y (zh) | 无泄漏环保磁控阀门 | |
| CN112377640B (zh) | 两瓣式球阀 | |
| CN212338253U (zh) | 一种实现在线带压更换填料的阀杆防爆喷出球阀 | |
| CN221569500U (zh) | 一种硬密封固定球阀 | |
| CN212080196U (zh) | 一种五维偏心阀门刚性线密封结构 | |
| CN210661452U (zh) | 一种可分流的球阀 | |
| CN219588159U (zh) | 一种硬密封固定球阀 | |
| CN218440747U (zh) | 一种气动球阀和具有该气动球阀的低温设备 | |
| CN212107012U (zh) | 一种抗老化延长使用寿命的球阀 | |
| CN220581729U (zh) | 一种高密封的球阀 | |
| CN215720895U (zh) | 一种新型法兰蝶阀 | |
| CN211145416U (zh) | 一种双重定位球阀 | |
| CN221196144U (zh) | 一种切割流体面的金属球阀 | |
| CN111734841B (zh) | 一种球阀 | |
| CN211039754U (zh) | 一种轨道式球阀 | |
| CN220302766U (zh) | 一种球形蝶阀 | |
| CN216131412U (zh) | 一种高性能偏心球阀 |
Legal Events
| Date | Code | Title | Description |
|---|---|---|---|
| GR01 | Patent grant | ||
| GR01 | Patent grant |