CN216998865U - Textile sizing device convenient for recycling size - Google Patents
Textile sizing device convenient for recycling size Download PDFInfo
- Publication number
- CN216998865U CN216998865U CN202122648133.8U CN202122648133U CN216998865U CN 216998865 U CN216998865 U CN 216998865U CN 202122648133 U CN202122648133 U CN 202122648133U CN 216998865 U CN216998865 U CN 216998865U
- Authority
- CN
- China
- Prior art keywords
- box
- sizing
- fixedly connected
- processing box
- textile
- Prior art date
- Legal status (The legal status is an assumption and is not a legal conclusion. Google has not performed a legal analysis and makes no representation as to the accuracy of the status listed.)
- Expired - Fee Related
Links
- 238000004513 sizing Methods 0.000 title claims abstract description 44
- 239000004753 textile Substances 0.000 title claims abstract description 33
- 238000004064 recycling Methods 0.000 title claims abstract description 11
- 238000001035 drying Methods 0.000 claims abstract description 10
- 239000007788 liquid Substances 0.000 claims description 33
- OKTJSMMVPCPJKN-UHFFFAOYSA-N Carbon Chemical compound [C] OKTJSMMVPCPJKN-UHFFFAOYSA-N 0.000 claims description 11
- 238000001179 sorption measurement Methods 0.000 claims description 6
- XLYOFNOQVPJJNP-UHFFFAOYSA-N water Substances O XLYOFNOQVPJJNP-UHFFFAOYSA-N 0.000 claims description 3
- 238000007599 discharging Methods 0.000 claims description 2
- 238000000034 method Methods 0.000 abstract description 7
- 230000005484 gravity Effects 0.000 abstract description 6
- 239000002699 waste material Substances 0.000 abstract description 6
- 238000011084 recovery Methods 0.000 abstract description 5
- 239000000428 dust Substances 0.000 abstract description 3
- 239000012535 impurity Substances 0.000 abstract description 3
- 210000004911 serous fluid Anatomy 0.000 abstract 7
- 239000002002 slurry Substances 0.000 description 17
- 239000004744 fabric Substances 0.000 description 8
- 238000004519 manufacturing process Methods 0.000 description 2
- 238000009955 starching Methods 0.000 description 2
- 239000000126 substance Substances 0.000 description 2
- 238000009941 weaving Methods 0.000 description 2
- 238000010521 absorption reaction Methods 0.000 description 1
- 238000007605 air drying Methods 0.000 description 1
- 230000009286 beneficial effect Effects 0.000 description 1
- 229910052799 carbon Inorganic materials 0.000 description 1
- 230000007547 defect Effects 0.000 description 1
- 239000000835 fiber Substances 0.000 description 1
- 238000012423 maintenance Methods 0.000 description 1
- 238000005086 pumping Methods 0.000 description 1
- 230000029058 respiratory gaseous exchange Effects 0.000 description 1
- 239000002759 woven fabric Substances 0.000 description 1
Images
Landscapes
- Treatment Of Fiber Materials (AREA)
Abstract
The utility model discloses a textile sizing device convenient for recycling size, which comprises a sizing box, wherein a blanking pipe communicated with the inside of the sizing box is arranged on the sizing box, a collecting mechanism used for collecting size is arranged on the side wall of the sizing box, the collecting mechanism comprises a processing box fixedly connected with the side wall of the sizing box, and the inner wall of the processing box is rotatably connected with a plurality of second rotating rollers. The utility model is provided with the processing box, the serous fluid falls into the processing box under the action of gravity in the process of conveying the textile on the plurality of second rotating rollers, the serous fluid can be recovered before drying the textile, the waste of the serous fluid is avoided, in addition, the serous fluid is recovered and arranged in the processing box, the waste of the serous fluid caused by the fact that the impurities such as external dust fall into the recovered serous fluid is avoided, the serous fluid recovery efficiency is improved, in addition, the processing box is arranged, the random discharge of harmful gas generated by drying the textile is avoided, and the sanitation of the workshop environment is ensured.
Description
Technical Field
The utility model relates to the technical field of textile production equipment, in particular to a textile sizing device convenient for recycling size.
Background
The textile is a product formed by processing and weaving textile fibers, which is divided into woven fabric and knitted fabric, and the textile is widely applied in the aspects of human life and production.
The utility model discloses a fabrics starching equipment for CN213389260U, including the thick liquid case, the bottom fixedly connected with of thick liquid case air-dries the device, the left end fixedly connected with support frame of air-drying the device, the bottom fixedly connected with auxiliary frame of support frame, the bottom swing joint of auxiliary drum has the recovery box, the fabrics falls into under the action of gravity in hanging the thick liquid on the thick liquid in-process auxiliary drum and retrieves the box, there is the drawback in this kind of recovery mode, it sets up at the device outsidely to retrieve the box, it exposes in the air, debris in the weaving workshop wafts extremely easily to retrieving in the box, cause the pollution of retrieving the thick liquid, even can't utilize, so, need design a fabrics starching device convenient to retrieve the thick liquid and solve above-mentioned problem.
SUMMERY OF THE UTILITY MODEL
The utility model aims to solve the defects in the prior art and provides a textile sizing device convenient for recycling size.
In order to achieve the purpose, the utility model adopts the following technical scheme:
the utility model provides a fabrics sizing apparatus convenient to retrieve thick liquid, includes the sizing box, be equipped with the unloading pipe rather than inside intercommunication on the sizing box, the sizing box lateral wall is equipped with the collection mechanism that is used for collecting the thick liquid, collect the processing case that the mechanism includes fixed connection at the sizing box lateral wall, it is connected with a plurality of second live-rollers to handle the rotation of incasement wall, it is connected with a plurality of first live-rollers to go up the rotation of sizing box inner wall, handle case lateral wall fixedly connected with liquid pump, the end of intaking of liquid pump communicates with the play water outlet end respectively and is equipped with feed liquor pipe and drain pipe, the one end and the processing case intercommunication of liquid pump are kept away from to the feed liquor pipe, the one end and the sizing box intercommunication of liquid pump are kept away from to the drain pipe, be equipped with the stoving mechanism that is used for drying the fabrics on the sizing box.
Preferably, the drying mechanism comprises an air heater fixedly connected to the upper end of the upper sizing box, an air outlet end of the air heater is communicated with a hot air pipe, one end of the hot air pipe, far away from the air heater, is communicated with an air outlet box, and a plurality of air outlet holes are formed in the side wall of the air outlet box.
Preferably, handle case lateral wall fixedly connected with casing, two electric putter of shells inner wall fixedly connected with, electric putter's output and the box lateral wall fixed connection of giving vent to anger.
Preferably, the upper end of the sizing box is fixedly connected with a processing box, the upper end of the processing box is fixedly connected with a suction fan, an air outlet pipe communicated with the processing box is arranged at the air suction end of the suction fan in a communicated manner, the inner wall of the processing box is fixedly connected with three activated carbon adsorption plates, and the processing box is provided with two air suction pipes communicated with the processing box in a communicated manner.
Preferably, handle incasement wall fixedly connected with mounting panel, the sliding tray has been seted up to the mounting panel upper end, sliding tray inner wall sliding connection has the brush board, the brush board is through a plurality of fixing bolt and mounting panel fixed connection.
Preferably, a box door is arranged on the side wall of the treatment box, four support rods are fixedly connected to the lower end of the treatment box, and four support legs are fixedly connected to the lower end of the upper sizing box.
The utility model has the following beneficial effects:
1. the device is provided with the collecting mechanism, the slurry falls into the treatment box under the action of gravity in the process of conveying the textiles on the second rotating rollers, the brush plate scrapes the slurry which is prevented from adhering to the second rotating rollers, the slurry falls into the treatment box under the action of gravity, the slurry can be recovered before drying the textiles, the waste of the slurry is avoided, in addition, the slurry is recovered and arranged in the treatment box, the waste of the slurry caused by the fact that impurities such as external dust fall into the recovered slurry is avoided, and therefore the slurry recovery efficiency is improved;
2. the device is provided with the electric push rod, the electric push rod is started, and the output shaft of the electric push rod extends or contracts so as to drive the air outlet box to move leftwards or rightwards, so that textiles with different thicknesses can be dried;
3. this device has set up the processing box, starts the suction fan, and the suction fan will be handled in the incasement unnecessary air suction processing box through setting up the breathing pipe in handling case both sides, and the air is purified by its absorption at the inside harmful substance of a plurality of active carbon adsorption plate flow in-process to avoided textile to dry the random emission of the harmful gas who produces, and then guaranteed workshop environment's health.
Drawings
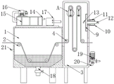
FIG. 1 is a schematic structural view of a textile sizing apparatus for facilitating the recovery of size in accordance with the present invention;
FIG. 2 is an enlarged view of the structure at A in FIG. 1;
fig. 3 is a front view of fig. 1.
In the figure: 1 sizing box, 2 first rotating roller, 3 processing boxes, 4 second rotating rollers, 5 mounting plates, 6 brush plates, 7 sliding grooves, 8 fixing bolts, 9 air outlet boxes, 10 shells, 11 electric push rods, 12 hot air pipes, 13 air suction pipes, 14 processing boxes, 15 activated carbon adsorption plates, 16 suction fans, 17 hot air fans, 18 discharging pipes, 19 liquid pumps, 20 liquid inlet pipes, 21 liquid outlet pipes and 22 box doors.
Detailed Description
The technical solutions in the embodiments of the present invention will be clearly and completely described below with reference to the drawings in the embodiments of the present invention, and it is obvious that the described embodiments are only a part of the embodiments of the present invention, and not all of the embodiments.
In the description of the present invention, it is to be understood that the terms "upper", "lower", "front", "rear", "left", "right", "top", "bottom", "inner", "outer", and the like, indicate orientations or positional relationships based on the orientations or positional relationships shown in the drawings, are merely for convenience in describing the present invention and simplifying the description, and do not indicate or imply that the device or element being referred to must have a particular orientation, be constructed and operated in a particular orientation, and thus, should not be construed as limiting the present invention.
Referring to fig. 1-3, a fabrics sizing apparatus convenient to retrieve thick liquid, includes dressing case 1, is equipped with the unloading pipe 18 rather than inside intercommunication on dressing case 1, handles 3 lateral walls of case and has seted up chamber door 22, handles 3 lower extreme fixedly connected with four bracing pieces of case, and dressing case 1 lower extreme fixedly connected with four supporting legs, chamber door 22 are used for changing maintenance brush board 6.
Go up 1 lateral wall of dressing case and be equipped with the collection mechanism that is used for collecting the thick liquid, it includes the processing case 3 of fixed connection at 1 lateral wall of dressing case to collect the mechanism, it is connected with a plurality of second live-rollers 4 to handle 3 inner walls of case rotation, it is connected with a plurality of first live-rollers 2 to go up 1 inner wall of dressing case rotation, it has liquid pump 19 to handle 3 lateral walls fixedly connected with of case, the end of intaking of liquid pump 19 communicates respectively with the outlet end and is equipped with feed liquor pipe 20 and drain pipe 21, the one end that liquid pump 19 was kept away from to feed liquor pipe 20 communicates with processing case 3, the one end that liquid pump 19 was kept away from to drain pipe 21 communicates with last dressing case 1.
Be equipped with the stoving mechanism that is used for drying the fabrics on dressing case 1, stoving mechanism includes fixed connection at the air heater 17 of 1 upper end of dressing case, the end intercommunication of giving vent to anger of air heater 17 is equipped with hot-blast main 12, the one end intercommunication that hot-blast main 12 kept away from air heater 17 is equipped with out gas box 9, it has seted up a plurality of ventholes to give vent to anger 9 lateral walls of box, handle 3 lateral wall fixedly connected with casings of case 10, two electric putter 11 of casing 10 inner wall fixedly connected with, electric putter 11's output and the box 9 lateral wall fixed connection that gives vent to anger.
In the utility model, the upper end of a sizing box 1 is fixedly connected with a processing box 14, the upper end of the processing box 14 is fixedly connected with a suction fan 16, the air suction end of the suction fan 16 is communicated with an air outlet pipe communicated with the processing box 14, the inner wall of the processing box 14 is fixedly connected with three activated carbon adsorption plates 15, and the processing box 14 is communicated with two air suction pipes 13 communicated with a processing box 3.
According to the utility model, the inner wall of the treatment box 3 is fixedly connected with a mounting plate 5, the upper end of the mounting plate 5 is provided with a sliding groove 7, the inner wall of the sliding groove 7 is connected with a brush plate 6 in a sliding manner, and the brush plate 6 is fixedly connected with the mounting plate 5 through a plurality of fixing bolts 8.
When the device is used, textiles are wound out of the treatment box 3 from right to left according to the figure, when the textiles enter the sizing box 1 and are conveyed out of the treatment box 3, the textiles fall into the treatment box 3 under the action of gravity in the conveying process of the textiles on the second rotating rollers 4, the slurry which is prevented from being adhered to the second rotating rollers 4 is scraped by the brush plate 6 in the rotating process of the second rotating rollers 4 at the upper ends, the slurry falls into the treatment box 3 under the action of gravity, the slurry can be recovered before the textiles are dried, the waste of the slurry is avoided, and in addition, the slurry is recovered and arranged in the treatment box 3, so that the waste of the slurry caused by the fact that impurities such as external dust fall into the recovered slurry is avoided;
the hot air blower 17 is started, the hot air blower 17 sends hot air into the air outlet box 9 through the hot air pipe 12, the hot air is sprayed out through the air outlet holes, and therefore the textile is dried, when the thickness of the textile changes, the electric push rod 11 is started, the output shaft of the electric push rod 11 extends or contracts, and therefore the air outlet box 9 is driven to move leftwards or rightwards, and further the textile with different thicknesses can be dried;
the suction fan 16 is started, the suction fan 16 sucks redundant air in the treatment box 3 into the treatment box 14 through the air suction pipes 13 arranged at two sides of the treatment box 3, and harmful substances in the air are adsorbed and purified by the air in the flowing process of the plurality of activated carbon adsorption plates 15, so that the random discharge of harmful gas generated by drying textiles is avoided, and the sanitation of the workshop environment is further ensured;
and starting the liquid pump 19, and pumping the slurry in the treatment box 3 into the sizing box 1 through the liquid inlet pipe 20 and the liquid outlet pipe 21 by the liquid pump 19.
The above description is only for the preferred embodiment of the present invention, but the scope of the present invention is not limited thereto, and any person skilled in the art should be able to cover the technical scope of the present invention, the technical solutions and the practical concepts of the present invention equivalent or changed within the technical scope of the present invention.
Claims (6)
1. The textile sizing device convenient for recycling the size comprises a sizing box (1) and is characterized in that a discharging pipe (18) communicated with the inside of the sizing box (1) is arranged on the sizing box (1), a collecting mechanism used for collecting the size is arranged on the side wall of the sizing box (1), the collecting mechanism comprises a processing box (3) fixedly connected with the side wall of the sizing box (1), the inner wall of the processing box (3) is rotatably connected with a plurality of second rotating rollers (4), the inner wall of the sizing box (1) is rotatably connected with a plurality of first rotating rollers (2), the side wall of the processing box (3) is fixedly connected with a liquid pump (19), the water inlet end and the water outlet end of the liquid pump (19) are respectively communicated with a liquid inlet pipe (20) and a liquid outlet pipe (21), one end of the liquid inlet pipe (20) far away from the liquid pump (19) is communicated with the processing box (3), one end of the liquid outlet pipe (21) far away from the liquid pump (19) is communicated with the sizing box (1), and a drying mechanism for drying textiles is arranged on the sizing box (1).
2. The textile sizing device convenient for recycling size according to claim 1, wherein the drying mechanism comprises a hot air blower (17) fixedly connected to the upper end of the sizing box (1), the air outlet end of the hot air blower (17) is communicated with a hot air pipe (12), one end of the hot air pipe (12) far away from the hot air blower (17) is communicated with an air outlet box (9), and the side wall of the air outlet box (9) is provided with a plurality of air outlet holes.
3. The textile sizing device convenient for recycling size as claimed in claim 2, characterized in that a casing (10) is fixedly connected to the side wall of the processing box (3), two electric push rods (11) are fixedly connected to the inner wall of the casing (10), and the output ends of the electric push rods (11) are fixedly connected to the side wall of the air outlet box (9).
4. The textile sizing device convenient for recycling size according to claim 1, characterized in that a processing box (14) is fixedly connected to the upper end of the sizing box (1), a suction fan (16) is fixedly connected to the upper end of the processing box (14), an air outlet pipe communicated with the processing box (14) is arranged at the air suction end of the suction fan (16), three activated carbon adsorption plates (15) are fixedly connected to the inner wall of the processing box (14), and two air suction pipes (13) communicated with the processing box (3) are arranged on the processing box (14).
5. The textile sizing device convenient for recycling size as claimed in claim 1, characterized in that a mounting plate (5) is fixedly connected to the inner wall of the processing box (3), a sliding groove (7) is formed in the upper end of the mounting plate (5), a brush plate (6) is slidably connected to the inner wall of the sliding groove (7), and the brush plate (6) is fixedly connected with the mounting plate (5) through a plurality of fixing bolts (8).
6. The textile sizing device convenient for recycling size as claimed in claim 1, wherein a box door (22) is opened on the side wall of the treatment box (3), four support rods are fixedly connected to the lower end of the treatment box (3), and four support legs are fixedly connected to the lower end of the sizing box (1).
Priority Applications (1)
| Application Number | Priority Date | Filing Date | Title |
|---|---|---|---|
| CN202122648133.8U CN216998865U (en) | 2021-11-01 | 2021-11-01 | Textile sizing device convenient for recycling size |
Applications Claiming Priority (1)
| Application Number | Priority Date | Filing Date | Title |
|---|---|---|---|
| CN202122648133.8U CN216998865U (en) | 2021-11-01 | 2021-11-01 | Textile sizing device convenient for recycling size |
Publications (1)
| Publication Number | Publication Date |
|---|---|
| CN216998865U true CN216998865U (en) | 2022-07-19 |
Family
ID=82380640
Family Applications (1)
| Application Number | Title | Priority Date | Filing Date |
|---|---|---|---|
| CN202122648133.8U Expired - Fee Related CN216998865U (en) | 2021-11-01 | 2021-11-01 | Textile sizing device convenient for recycling size |
Country Status (1)
| Country | Link |
|---|---|
| CN (1) | CN216998865U (en) |
-
2021
- 2021-11-01 CN CN202122648133.8U patent/CN216998865U/en not_active Expired - Fee Related
Similar Documents
| Publication | Publication Date | Title |
|---|---|---|
| CN209131319U (en) | An energy-saving and environmentally friendly chemical fiber cloth drying equipment | |
| CN108094523A (en) | A kind of application method of grain storage drying unit and the device | |
| CN106076943A (en) | A kind of energy-conservation gear cleans device | |
| CN212859097U (en) | Rust removal equipment for outer wall of heat preservation pipeline | |
| CN215447305U (en) | Drying device for textile processing | |
| CN110125098A (en) | A kind of cleaner for cloth dyeing and printing process | |
| CN212339825U (en) | Quick drying device is used in corn processing | |
| CN216998865U (en) | Textile sizing device convenient for recycling size | |
| CN112007405A (en) | Material solid-liquid separation processing equipment | |
| CN216998996U (en) | Textile fabric dust collector | |
| CN216297466U (en) | A kind of grain and grain screw propulsion screening device | |
| CN214950158U (en) | Chemical industry is with high-efficient centrifuge of taking drying device | |
| CN210730318U (en) | Cleaning, drying and drying machine for cleaning small supercapacitors | |
| CN219756805U (en) | Printed circuit board drying device | |
| CN208388535U (en) | A kind of textile manufacturing floor cleaning device | |
| CN218545176U (en) | Drying equipment for clothing textile fabric | |
| CN216092875U (en) | Dust collecting equipment is used in production of tiling dry-mixed mortar | |
| CN214515535U (en) | Mining programmable control case processing rust-resistant processing apparatus | |
| CN216522877U (en) | High-efficient type weaving drying-machine | |
| CN216897731U (en) | Waste heat recovery processing device for new trend system | |
| CN211838673U (en) | A spray recovery device | |
| CN108480176A (en) | A dehumidification and screening device for fine grain processing | |
| CN209772912U (en) | Energy-saving bicycle spoke washs dry integrated device | |
| CN218024427U (en) | A cleaning and winding device for decorative cloth | |
| CN212499496U (en) | Dust removing equipment on printing machine |
Legal Events
| Date | Code | Title | Description |
|---|---|---|---|
| GR01 | Patent grant | ||
| GR01 | Patent grant | ||
| CF01 | Termination of patent right due to non-payment of annual fee |
Granted publication date: 20220719 |
|
| CF01 | Termination of patent right due to non-payment of annual fee |