CN216996753U - A high-altitude delivery device for fireproof materials - Google Patents
A high-altitude delivery device for fireproof materials Download PDFInfo
- Publication number
- CN216996753U CN216996753U CN202220085169.1U CN202220085169U CN216996753U CN 216996753 U CN216996753 U CN 216996753U CN 202220085169 U CN202220085169 U CN 202220085169U CN 216996753 U CN216996753 U CN 216996753U
- Authority
- CN
- China
- Prior art keywords
- auxiliary
- hopper
- altitude
- collecting cylinder
- collar
- Prior art date
- Legal status (The legal status is an assumption and is not a legal conclusion. Google has not performed a legal analysis and makes no representation as to the accuracy of the status listed.)
- Expired - Fee Related
Links
- 239000000463 material Substances 0.000 title claims abstract description 16
- 238000007789 sealing Methods 0.000 claims abstract description 23
- 238000012546 transfer Methods 0.000 claims description 23
- 230000005540 biological transmission Effects 0.000 claims description 12
- 238000000465 moulding Methods 0.000 claims description 6
- 238000003466 welding Methods 0.000 claims 1
- 239000003973 paint Substances 0.000 abstract description 24
- 239000000428 dust Substances 0.000 abstract description 4
- 230000000694 effects Effects 0.000 abstract description 4
- 238000004519 manufacturing process Methods 0.000 abstract description 2
- 238000012545 processing Methods 0.000 abstract description 2
- 239000011248 coating agent Substances 0.000 description 5
- 238000000576 coating method Methods 0.000 description 5
- 238000000034 method Methods 0.000 description 4
- 239000000243 solution Substances 0.000 description 3
- 229910000831 Steel Inorganic materials 0.000 description 2
- 238000010586 diagram Methods 0.000 description 2
- 238000012986 modification Methods 0.000 description 2
- 230000004048 modification Effects 0.000 description 2
- 230000001681 protective effect Effects 0.000 description 2
- 239000010959 steel Substances 0.000 description 2
- 238000009825 accumulation Methods 0.000 description 1
- 230000009286 beneficial effect Effects 0.000 description 1
- 230000001934 delay Effects 0.000 description 1
- 238000005516 engineering process Methods 0.000 description 1
- 239000003063 flame retardant Substances 0.000 description 1
- 238000002347 injection Methods 0.000 description 1
- 239000007924 injection Substances 0.000 description 1
- 238000003780 insertion Methods 0.000 description 1
- 230000037431 insertion Effects 0.000 description 1
- 238000009434 installation Methods 0.000 description 1
- 239000000758 substrate Substances 0.000 description 1
- 230000001360 synchronised effect Effects 0.000 description 1
Images
Landscapes
- Filling Or Emptying Of Bunkers, Hoppers, And Tanks (AREA)
Abstract
本实用新型涉及防火材料生产加工技术领域,尤其为一种用于防火材料的高空投放装置,包括支撑机架,所述支撑机架的内部中央处位置嵌设有集料筒,且集料筒的左上方位置密封连接有螺旋输送管,所述螺旋输送管的左下方位置接通有下料斗,通过设置的螺纹套环、下料斗、密封垫圈、辅助套环、辅助半环、连接柱和定位夹板,在涂料经下料斗的内部实现高空投放操作时,左右一组辅助半环将会联合嵌设于辅助套环内部的密封垫圈具体的辅助密封效果,来对从高空投放出的涂料的外部起到一定的外防护的作用,通过能够预先对整个装置的出料端口位置进行对应的外防护处理,可避免因涂料的直接投放带出,导致扩散出的涂料对周围环境造成一定的粉尘污染。
The utility model relates to the technical field of production and processing of fireproof materials, in particular to a high-altitude throwing device for fireproof materials, comprising a support frame, a collecting cylinder is embedded in the inner center of the support frame, and the collecting cylinder is The upper left position of the screw conveyor is sealed and connected with a screw conveying pipe, and the lower left position of the screw conveying pipe is connected to a lower hopper, through the provided threaded collar, lower hopper, sealing gasket, auxiliary collar, auxiliary half ring, connecting column and Positioning the splint, when the paint is put into the high-altitude operation through the interior of the lower hopper, the left and right auxiliary half-rings will combine the specific auxiliary sealing effect of the sealing gasket embedded in the auxiliary ring to prevent the paint from high-altitude. The exterior plays a certain role in external protection. By being able to perform the corresponding external protection treatment on the discharge port position of the entire device in advance, it can be avoided that the diffused paint will cause a certain amount of dust to the surrounding environment due to the direct delivery of the paint. Pollution.
Description
技术领域technical field
本实用新型涉及防火材料生产加工技术领域,具体为一种用于防火材料的高空投放装置。The utility model relates to the technical field of production and processing of fireproof materials, in particular to a high-altitude throwing device for fireproof materials.
背景技术Background technique
防火涂料,施用于建筑钢构件表面,用以阻隔火灾热量传递,控制钢材温度升高,提高构件耐火时间的耐火、隔热材料,防火涂料的的作用是能够起到防火隔热的作用,有效的延缓温度导向建筑基材表面,从而提高建筑构件耐火时间的特种涂料,在将防火涂料生产加工出后,需要借助高空投放装置,来将生产出的涂料快速提升到高空中,向着大容量存储罐的内部实现投放处理。市面上的高空投放装置在使用时,涂料的直接投放带出,将会直接对周围环境造成一定的粉尘污染,并且涂料在滑落到转料端口的内部时,受端口空间有限的因素限制,转料端口的内部极其容易发生涂料堆积堵塞的现象,从而影响下一级提升输送操作的快速进行。Fire retardant coating is applied to the surface of building steel components to block fire heat transfer, control the temperature rise of steel, and improve the fire resistance of components. The special coating that delays the temperature to the surface of the building substrate, thereby improving the fire resistance time of the building components, after the fireproof coating is produced and processed, it is necessary to use the high-altitude injection device to quickly lift the produced coating to the high-altitude, towards large-capacity storage. The inside of the tank realizes the delivery process. When the high-altitude delivery device on the market is in use, the direct delivery of paint will directly cause certain dust pollution to the surrounding environment, and when the paint slides into the inside of the transfer port, it is limited by the limited port space. The inside of the material port is extremely prone to the phenomenon of paint accumulation and blockage, which affects the rapid progress of the next-level lifting and conveying operation.
实用新型内容Utility model content
本实用新型的目的在于提供一种用于防火材料的高空投放装置,以解决上述背景技术中提出涂料的直接带入,导致周围环境受到粉尘污染和涂料滑落到转料端口内部时,易出现内部堵塞的现象的问题。The purpose of the present utility model is to provide a high-altitude throwing device for fireproof materials, so as to solve the problem that the direct introduction of the paint proposed in the above-mentioned background technology causes the surrounding environment to be polluted by dust and the paint slips into the inside of the transfer port. The problem of clogging phenomenon.
为实现上述目的,本实用新型提供如下技术方案:To achieve the above object, the utility model provides the following technical solutions:
一种用于防火材料的高空投放装置,包括支撑机架,所述支撑机架的内部中央处位置嵌设有集料筒,且集料筒的左上方位置密封连接有螺旋输送管,所述螺旋输送管的左下方位置接通有下料斗,且螺旋输送管的一侧端位置连接有密封堵盖,所述下料斗的中下方位置螺旋安装有螺纹套环,且螺纹套环的两侧位置均穿插连接有连接柱,所述连接柱的一侧位置螺钉固定有定位夹板,且定位夹板的底端位置连接有辅助半环,所述连接柱的一侧位置连接有辅助套环,且辅助套环的内部嵌设有密封垫圈。A high-altitude throwing device for fireproof materials, comprising a support frame, a collecting cylinder is embedded in the inner center of the support frame, and a spiral conveying pipe is sealed and connected to the upper left position of the collecting cylinder, and the The lower left position of the spiral conveying pipe is connected to a lower hopper, and one side end of the spiral conveying pipe is connected with a sealing cover. Connecting posts are interspersed at all positions, a positioning splint is fixed with a screw at one side of the connecting post, an auxiliary half ring is connected at the bottom end of the positioning splint, and an auxiliary collar is connected at one side of the connecting post, and A sealing gasket is embedded inside the auxiliary collar.
优选的,所述集料筒的右下方位置连接有转向器,且转向器的右上方位置连接有驱动电机,所述驱动电机嵌设于支撑机架的内部,所述转向器的一侧端和螺旋输送管内部中设有的螺旋输送轴的一端相连接。Preferably, a steering gear is connected to the lower right position of the collecting cylinder, and a driving motor is connected to the upper right position of the steering gear. The driving motor is embedded in the inside of the support frame, and one side end of the steering gear is It is connected with one end of the spiral conveying shaft provided in the inside of the spiral conveying pipe.
优选的,所述集料筒的右上方位置密封连接有转接料斗,且转接料斗的右上方位置通过一体成型设置有进料斗,所述进料斗的内部通过转接料斗和集料筒的内部相互接通,且集料筒的内部通过螺旋输送管和下料斗的内部相互接通,所述进料斗的内部一侧位置通过一体成型设置有组合框。Preferably, a transfer hopper is sealingly connected to the upper right position of the collecting cylinder, and the upper right position of the transfer hopper is provided with a feeding hopper through integral molding, and the interior of the feeding hopper is connected with the transfer hopper and the collecting material. The inside of the barrel is connected to each other, and the inside of the collecting barrel is connected to each other through the screw conveying pipe and the inside of the lower hopper, and a combination frame is provided on one side of the inside of the feeding hopper by integral molding.
优选的,所述组合框的内部转动安装有滚珠丝杆,且组合框的顶端位置相邻设置有辅助挡板,所述辅助挡板和进料斗一体成型,所述滚珠丝杆的上方外部套接有操作齿盘,且操作齿盘嵌设于组合框的内部,所述滚珠丝杆的底端位置转动连接有三角底座,且滚珠丝杆的下方外部套接接有传动套筒,所述传动套筒的左上方位置连接有活动支架,且活动支架的外形呈“L”型结构,所述活动支架通过传动套筒、滚珠丝杆和操作齿盘传动连接,所述活动支架的一端呈尖状结构分布设置,所述三角底座和转接料斗点焊固定。Preferably, a ball screw is rotatably installed inside the combination frame, and an auxiliary baffle is arranged adjacent to the top of the combination frame, the auxiliary baffle and the feeding hopper are integrally formed, and the upper outer part of the ball screw is The operating toothed plate is sleeved, and the operating toothed plate is embedded in the interior of the combination frame, the bottom end of the ball screw is rotatably connected with a triangular base, and the lower outer part of the ball screw is sleeved with a transmission sleeve, so The upper left position of the transmission sleeve is connected with a movable bracket, and the shape of the movable bracket is an "L"-shaped structure. Distributed and arranged in a pointed structure, the triangular base and the transfer hopper are spot welded and fixed.
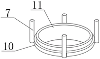
优选的,所述辅助半环沿着辅助套环的竖向中轴线为对称轴对称设置,且辅助套环、密封垫圈分别与下料斗穿插连接,且密封垫圈的内表面和下料斗的外表面之间相互贴合,所述辅助套环和螺纹套环之间上下平行设置。Preferably, the auxiliary half-ring is symmetrically arranged along the vertical central axis of the auxiliary collar, and the auxiliary collar and the sealing gasket are respectively connected to the lower hopper, and the inner surface of the sealing washer and the outer surface of the lower hopper are respectively inserted and connected. The auxiliary collars and the threaded collars are arranged in parallel up and down.
与现有技术相比,本实用新型的有益效果是:Compared with the prior art, the beneficial effects of the present utility model are:
1、本实用新型中,通过设置的螺纹套环、下料斗、密封垫圈、辅助套环、辅助半环、连接柱和定位夹板,在涂料经下料斗的内部实现高空投放操作时,左右一组辅助半环将会联合嵌设于辅助套环内部的密封垫圈具体的辅助密封效果,来对从高空投放出的涂料的外部起到一定的外防护的作用,通过能够预先对整个装置的出料端口位置进行对应的外防护处理,可避免因涂料的直接投放带出,导致扩散出的涂料对周围环境造成一定的粉尘污染;1. In the present utility model, through the provided threaded collar, lower hopper, sealing gasket, auxiliary collar, auxiliary half ring, connecting column and positioning splint, when the paint is put into operation at high altitude through the interior of the lower hopper, a group of left and right The auxiliary half ring will combine the specific auxiliary sealing effect of the sealing gasket embedded in the auxiliary collar to play a certain external protection effect on the outside of the paint thrown from high altitude. Corresponding external protection treatment at the port position can avoid the direct delivery of paint, which will cause the diffused paint to cause certain dust pollution to the surrounding environment;
2、本实用新型中,通过设置的操作齿盘、辅助挡板、转接料斗、集料筒、活动支架、传动套筒、滚珠丝杆、三角底座、组合框和进料斗,在滚珠丝杆实现回旋转动时,传动套筒将会携带一端呈尖状结构的活动支架朝着转接料斗和集料筒的连接端口进行往复式的拉伸动作,来将出现内部堵塞的连接端口进行快速疏通处理,通过能够快速对涂料的转接端口进行辅助疏通处理,可有效地加快进行下一级涂料的提升输送操作的进度。2. In the present utility model, through the set operating toothed plate, auxiliary baffle, transfer hopper, collecting cylinder, movable bracket, transmission sleeve, ball screw, triangular base, combination frame and feeding hopper, the ball screw When the rod rotates, the transmission sleeve will carry a movable bracket with a pointed structure at one end to perform a reciprocating stretching action towards the connecting port of the transfer hopper and the collecting cylinder, so as to quickly remove the internal blockage of the connecting port. The dredging treatment can effectively speed up the progress of the lifting and conveying operation of the next-level paint by quickly performing auxiliary dredging treatment on the transfer port of the paint.
附图说明Description of drawings
图1为本实用新型整体结构示意图;Fig. 1 is the overall structure schematic diagram of the present utility model;
图2为本实用新型图1的A处结构示意图;Fig. 2 is the structural representation at A of the utility model Fig. 1;
图3为本实用新型辅助套环立体结构示意图;FIG. 3 is a schematic diagram of the three-dimensional structure of the auxiliary collar of the present invention;
图4为本实用新型图1的B处结构示意图;Fig. 4 is the structural representation at B of the utility model Fig. 1;
图5为本实用新型图1的C处结构示意图。FIG. 5 is a schematic view of the structure at C in FIG. 1 of the present invention.
图中:1-支撑机架、2-集料筒、3-螺旋输送管、4-下料斗、5-密封堵盖、6-螺纹套环、7-连接柱、8-定位夹板、9-辅助半环、10-辅助套环、11-密封垫圈、12-转接料斗、13-进料斗、14-转向器、15-驱动电机、16-组合框、17-滚珠丝杆、18-辅助挡板、19-操作齿盘、20-三角底座、21-传动套筒、22-活动支架。In the picture: 1-support frame, 2-collecting cylinder, 3-spiral conveying pipe, 4-lowering hopper, 5-sealing cover, 6-threaded collar, 7-connecting column, 8-positioning splint, 9- Auxiliary half ring, 10-auxiliary collar, 11-sealing washer, 12-transfer hopper, 13-feed hopper, 14-director, 15-drive motor, 16-combination frame, 17-ball screw, 18- Auxiliary baffle, 19-operating gear plate, 20-triangular base, 21-transmission sleeve, 22-active bracket.
具体实施方式Detailed ways
下面将结合本实用新型实施例中的附图,对本实用新型实施例中的技术方案进行清楚、完整地描述,显然,所描述的实施例仅仅是本实用新型一部分实施例,而不是全部的实施例。基于本实用新型中的实施例,本领域普通技术人员在没有做出创造性劳动前提下所获得的所有其他实施例,都属于本实用新型保护的范围。The technical solutions in the embodiments of the present utility model will be clearly and completely described below with reference to the accompanying drawings in the embodiments of the present utility model. Obviously, the described embodiments are only a part of the embodiments of the present utility model, rather than all the implementations. example. Based on the embodiments of the present invention, all other embodiments obtained by those of ordinary skill in the art without creative work fall within the protection scope of the present invention.
请参阅图1-5,本实用新型提供一种技术方案:Please refer to Figures 1-5, the present utility model provides a technical solution:
一种用于防火材料的高空投放装置,包括支撑机架1,支撑机架1的内部中央处位置嵌设有集料筒2,且集料筒2的左上方位置密封连接有螺旋输送管3,螺旋输送管3的左下方位置接通有下料斗4,且螺旋输送管3的一侧端位置连接有密封堵盖5,下料斗4的中下方位置螺旋安装有螺纹套环6,且螺纹套环6的两侧位置均穿插连接有连接柱7,连接柱7的一侧位置螺钉固定有定位夹板8,且定位夹板8的底端位置连接有辅助半环9,连接柱7的一侧位置连接有辅助套环10,且辅助套环10的内部嵌设有密封垫圈11。A high-altitude throwing device for fireproof materials, comprising a supporting frame 1, a collecting
集料筒2的右下方位置连接有转向器14,且转向器14的右上方位置连接有驱动电机15,驱动电机15嵌设于支撑机架1的内部,转向器14的一侧端和螺旋输送管3内部中设有的螺旋输送轴的一端相连接,转向器14的设置能够对驱动电机15产生的驱动作用力进行快速转向处理,方便后期涂料提升输出操作的快速进行;集料筒2的右上方位置密封连接有转接料斗12,且转接料斗12的右上方位置通过一体成型设置有进料斗13,进料斗13的内部通过转接料斗12和集料筒2的内部相互接通,且集料筒2的内部通过螺旋输送管3和下料斗4的内部相互接通,进料斗13的内部一侧位置通过一体成型设置有组合框16,当所需提升的涂料被预先投放到进料斗13的内部时,在相互接通的配合下,涂料将会经转接料斗12的内部快速滑落到集料筒2的内部,后期进行的涂料提升输送操作将会更加便捷;组合框16的内部转动安装有滚珠丝杆17,且组合框16的顶端位置相邻设置有辅助挡板18,辅助挡板18和进料斗13一体成型,滚珠丝杆17的上方外部套接有操作齿盘19,且操作齿盘19嵌设于组合框16的内部,滚珠丝杆17的底端位置转动连接有三角底座20,且滚珠丝杆17的下方外部套接接有传动套筒21,传动套筒21的左上方位置连接有活动支架22,且活动支架22的外形呈“L”型结构,活动支架22通过传动套筒21、滚珠丝杆17和操作齿盘19传动连接,活动支架22的一端呈尖状结构分布设置,三角底座20和转接料斗12点焊固定,辅助挡板18能够对操作齿盘19和组合框16连接时产生的夹缝起到一定的辅助遮挡的作用;辅助半环9沿着辅助套环10的竖向中轴线为对称轴对称设置,且辅助套环10、密封垫圈11分别与下料斗4穿插连接,且密封垫圈11的内表面和下料斗4的外表面之间相互贴合,辅助套环10和螺纹套环6之间上下平行设置,密封垫圈11的设置能够一组辅助半环9与下料斗4连接时存在的夹缝起到一定的密封填充的作用。A diverter 14 is connected to the lower right position of the collecting
工作流程:当所需投放的涂料经进料斗13和转接料斗12的内部,被快速带入集料筒2的内部,在支撑机架1的支撑配合下,驱动电机15在受控启动后,在转向器14的转向配合下,安置到螺旋输送管3内部中的螺纹输送轴将会实现同步的旋转转动,直至整个装置能够利用转动过程中产生的输送作用力,来将涂料快速实现向上提升,直至得到提升处理后的涂料在经下料斗4的内部从高空中投放出后,即可完成整个高空投放的操作,并且该项结构涉及到的轴承转向器和物料提升机的相关原理为已公开的现有技术,当涂料在经中途滑落过程中出现内部堆积堵塞的现象时,在三角底座20、组合框16和进料斗13的连接配合下,受到人工牵引作用力的操作齿盘19在借助辅助挡板18对其的辅助防护,来携带滚珠丝杆17实现回旋转动的同时,受到传动作用力后的传动套筒21将会携带一端呈尖状结构的活动支架22朝着转接料斗12和集料筒2的连接端口进行往复式的拉伸动作,直至整个装置借助往复动作过程中产生的作用力,来快速对出现内部堵塞的连接端口进行快速疏通处理,结合螺纹套环6借助自身与下料斗4的螺旋连接,预先携带整个防护结构实现固定安装,当实现提升输送操作后的涂料经下料斗4的内部实现高空投放操作时,在连接柱7和定位夹板8的连接配合下,左右一组辅助半环9将会联合嵌设于辅助套环10内部的密封垫圈11具体的辅助密封效果,来对从高空投放出的涂料的外部起到一定的外防护的作用。Workflow: When the paint to be put in is quickly brought into the
尽管已经示出和描述了本实用新型的实施例,对于本领域的普通技术人员而言,可以理解在不脱离本实用新型的原理和精神的情况下可以对这些实施例进行多种变化、修改、替换和变型,本实用新型的范围由所附权利要求及其等同物限定。Although the embodiments of the present invention have been shown and described, it will be understood by those skilled in the art that various changes and modifications can be made to these embodiments without departing from the principles and spirit of the present invention , alternatives and modifications, the scope of the present invention is defined by the appended claims and their equivalents.
Claims (5)
Priority Applications (1)
| Application Number | Priority Date | Filing Date | Title |
|---|---|---|---|
| CN202220085169.1U CN216996753U (en) | 2022-01-13 | 2022-01-13 | A high-altitude delivery device for fireproof materials |
Applications Claiming Priority (1)
| Application Number | Priority Date | Filing Date | Title |
|---|---|---|---|
| CN202220085169.1U CN216996753U (en) | 2022-01-13 | 2022-01-13 | A high-altitude delivery device for fireproof materials |
Publications (1)
| Publication Number | Publication Date |
|---|---|
| CN216996753U true CN216996753U (en) | 2022-07-19 |
Family
ID=82388731
Family Applications (1)
| Application Number | Title | Priority Date | Filing Date |
|---|---|---|---|
| CN202220085169.1U Expired - Fee Related CN216996753U (en) | 2022-01-13 | 2022-01-13 | A high-altitude delivery device for fireproof materials |
Country Status (1)
| Country | Link |
|---|---|
| CN (1) | CN216996753U (en) |
-
2022
- 2022-01-13 CN CN202220085169.1U patent/CN216996753U/en not_active Expired - Fee Related
Similar Documents
| Publication | Publication Date | Title |
|---|---|---|
| CN116785886B (en) | Full-automatic circulation desorption type waste gas treatment device | |
| CN216996753U (en) | A high-altitude delivery device for fireproof materials | |
| CN117086012B (en) | Oxidation washing system equipment based on resin new material is handled | |
| CN219468780U (en) | Novel transfer bucket elevator | |
| CN206291700U (en) | A kind of medicinal material drier of the convenient cleaning for being easy to uniform feeding | |
| CN220176310U (en) | Solid-liquid separation device for environmental engineering | |
| CN216144155U (en) | Plastic profile smelting furnace with anti-sticking furnace function | |
| CN214456880U (en) | Expandable graphite processing is with even feeding expansion furnace | |
| CN214714843U (en) | Mechanical automation medicinal material processing filter media equipment of adjustable filter speed | |
| CN109517721B (en) | A kind of turning device | |
| CN115970888A (en) | Powder iron removal equipment for biomass fuel | |
| CN209721556U (en) | A kind of adhesive bulking system | |
| CN211070268U (en) | Active carbon grinding equipment | |
| CN218608691U (en) | A desulfurization tower that facilitates the replacement of the inner packing layer | |
| CN219547050U (en) | Electroslag furnace convenient to it is reinforced | |
| CN217102212U (en) | High temperature resistant anticorrosive porous heat insulation material production feed arrangement that leaves of micropore | |
| CN218077438U (en) | Mixing device in phosphogypsum recycling system | |
| CN218349166U (en) | Drying device for slag remover block materials | |
| CN209338501U (en) | A kind of turning device | |
| CN221924526U (en) | Continuous discharging device of rotary furnace | |
| CN118595981B (en) | Rust removal device for inner wall of water conservancy pipeline | |
| CN221850688U (en) | Processing device for self-cleaning cement-based composite material | |
| CN222033131U (en) | A sterilization device based on microbial inoculants | |
| CN219650328U (en) | Feeding device for bathroom injection mold | |
| CN221739925U (en) | A rotary kiln for producing activated carbon |
Legal Events
| Date | Code | Title | Description |
|---|---|---|---|
| GR01 | Patent grant | ||
| GR01 | Patent grant | ||
| CF01 | Termination of patent right due to non-payment of annual fee | ||
| CF01 | Termination of patent right due to non-payment of annual fee |
Granted publication date: 20220719 |
