CN216990035U - 一种电解槽阳极母线维修铣面装置 - Google Patents
一种电解槽阳极母线维修铣面装置 Download PDFInfo
- Publication number
- CN216990035U CN216990035U CN202123198871.3U CN202123198871U CN216990035U CN 216990035 U CN216990035 U CN 216990035U CN 202123198871 U CN202123198871 U CN 202123198871U CN 216990035 U CN216990035 U CN 216990035U
- Authority
- CN
- China
- Prior art keywords
- clamping plate
- maintenance
- milling cutter
- plate
- electrolytic cell
- Prior art date
- Legal status (The legal status is an assumption and is not a legal conclusion. Google has not performed a legal analysis and makes no representation as to the accuracy of the status listed.)
- Active
Links
- 238000003801 milling Methods 0.000 title claims abstract description 48
- 238000012423 maintenance Methods 0.000 title claims abstract description 21
- 238000005868 electrolysis reaction Methods 0.000 claims description 6
- 230000000694 effects Effects 0.000 abstract description 4
- XAGFODPZIPBFFR-UHFFFAOYSA-N aluminium Chemical compound [Al] XAGFODPZIPBFFR-UHFFFAOYSA-N 0.000 description 4
- 229910052782 aluminium Inorganic materials 0.000 description 4
- 238000004519 manufacturing process Methods 0.000 description 4
- 238000003825 pressing Methods 0.000 description 4
- 230000009286 beneficial effect Effects 0.000 description 1
- 238000010276 construction Methods 0.000 description 1
- 238000009434 installation Methods 0.000 description 1
- 238000000034 method Methods 0.000 description 1
- 238000005498 polishing Methods 0.000 description 1
Images
Landscapes
- Electrolytic Production Of Metals (AREA)
Abstract
本实用新型提供了一种电解槽阳极母线维修铣面装置,包括装夹板,所述装夹板上设有铣刀,所述铣刀可沿装夹板长度方向移动,所述装夹板上设有用于安装槽阳极母线的卡固件。本实用新型在装夹板上设置卡固件,通过卡固件将阳极母线安装于装夹板上,并在装夹板上设置可移动的铣刀,通过铣刀自动移动对阳极母线表面进行铣削,铣削效果好;使用方式便捷,省时省力。
Description
技术领域
本实用新型属于电解设备技术领域,涉及一种电解槽阳极母线维修铣面装置。
背景技术
阳极母线是电解铝系统的重要部件,生产使用时与阳极导杆紧密联接,其在电解铝生产中负载的直流电流极大,极易造成阳极母线的接触面烧伤并损坏,使得阳极母线表面出现不同程度的弧坑,造成与阳极导杆接触面不平整,从而使电解槽负载增大,导致电解电流大小不均,直接影响生产效率以及质量,因此电解系统检修时阳极母线接触面维修至关重要,以500KA电解槽维修作业为例,平行的母线数量将达到48组,人工维修作业量极大,并且铝电解车间作业环境复杂,人工补修效率低。
以前施工中,电解槽阳极母线接触面维修都是通过人工打磨修补,人工修补阳极母线表面相对比较粗糙,与阳极导杆接触发热严重,造成维修后的阳极母线使用寿命像对待较短。因此在电解槽维修中母线的表面质量的好坏直接影响阳极导电性,其导电性能的优劣和使用寿命极大影响电解铝生产电耗和综合效益。因此创新研制一种适用于电解槽阳极母线维修铣面的专用装置是十分必要的。
实用新型内容
本实用新型的目的在于针对现有技术存在的问题,提供一种电解槽阳极母线维修铣面装置。
为此,本实用新型采取如下技术方案:
一种电解槽阳极母线维修铣面装置,包括装夹板,所述装夹板上设有铣刀,所述铣刀可沿装夹板长度方向移动,所述装夹板上设有用于安装槽阳极母线的卡固件。
进一步地,所述装夹板上设有通孔,所述通孔处沿其长度方向设有导轨,所述导轨上安装有滑板,所述滑板可沿导轨长度方向移动,所述铣刀安装于滑板上,所述铣刀连接有转轴,所述转轴从滑板中穿过。
进一步地,所述转轴远离铣刀的一端连接有第一电机,所述第一电机固定于滑板上。
进一步地,所述通孔处沿其长度方向设有丝杠,所述滑板上设有螺母副,所述螺母副安装于丝杠上,所述丝杠的一端连接有用于驱动丝杠转动的第二电机,所述第二电机固定于装夹板上。
进一步地,所述第二电机为伺服电机。
进一步地,所述卡固件包括设置于装夹板宽度方向一侧的夹板,所述装夹板远离夹板的一侧固定有螺母,所述螺母中设有与夹板相垂直设置的螺杆,所述螺杆靠近夹板的一端设有压板。
进一步地,所述螺杆远离压板的一端设有用于转动螺杆的把手。
进一步地,所述夹板与装夹板呈垂直设置。
进一步地,所述装夹板长度方向的一端设有挡板。
本实用新型的有益效果在于:在装夹板上设置卡固件,通过卡固件将阳极母线安装于装夹板上,并在装夹板上设置可移动的铣刀,通过铣刀自动移动对阳极母线表面进行铣削,铣削效果好;使用方式便捷,省时省力。
附图说明
图1为本实用新型的结构示意主视图;
图2为本实用新型的结构示意侧视图;
图3为本实用新型的结构示意俯视图;
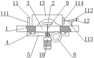
图中,1-装夹板,2-铣刀,3-通孔,4-导轨,5-滑板,6-丝杠,7-螺母副,8-第二电机,9-转轴,10-第一电机,11-卡固件,111-夹板,112-螺母,113-螺杆,114-压板,12-把手,13-挡板。
具体实施方式
下面结合附图对本实用新型做详细说明:
如图1-3所示,一种电解槽阳极母线维修铣面装置,包括装夹板1,使用时可将阳极母线沿装夹板1长度方向安装于装夹板1上,装夹板1上设有铣刀2,铣刀2可沿装夹板1长度方向移动,通过铣刀2的移动对阳极母线的表面进行铣削维修操作,具体地,装夹板1上设有通孔3,通孔3处沿其长度方向设有导轨4,导轨4结构为现有车床常用导轨,导轨4上安装有滑板5,滑板5结构与常用现有车床常用滑板5即可,滑板5可沿导轨4长度方向移动,通孔3处沿其长度方向设有丝杠6(同时丝杠6与导轨4平行),滑板5上设有螺母副7,螺母副7安装于丝杠6上,构成机床常见的滚珠丝杠螺母副,通过丝杠6的转动,带动滑板5沿丝杠6长度方向移动,丝杠6的一端连接有用于驱动丝杠6转动的第二电机8,第二电机8固定于装夹板1上,第二电机8为伺服电机,铣刀2安装于滑板5上,铣刀2连接有转轴9,转轴9从滑板5中穿过,转轴9远离铣刀2的一端连接有第一电机10,第一电机10固定于滑板5远离铣刀2的一侧,设置通孔3可减小整个装置的体积,使得整个装置结构更加紧凑,提高装置使用使得稳定性。
装夹板1上还设有用于安装槽阳极母线的卡固件11,卡固件11位于铣刀2一侧,卡固件11包括设置于装夹板1宽度方向一侧的夹板111,装夹板1远离夹板111的一侧固定有螺母112,螺母112中设有与夹板111相垂直设置的螺杆113,螺杆113靠近夹板111的一端设有压板114,通过夹板111和压板114可将阳极母线安装于装夹板1上,为了便于使用,螺杆113远离压板114的一端设有用于转动螺杆113的把手12。
为了在使用过程中更加稳定,装夹板1长度方向的一端设有挡板13,挡板13可对阳极母线在其长度方向进行限位,提高铣削操作的效果,确保铣削操作顺利进行。
本实用新型的使用方式如下:
首先启动第二电机8移动滑板5至导轨4的端部,将需要加工的阳极母线安装于装夹板1上,将阳极母线长度方向的一端抵靠于挡板13上,然后调整阳极母线与装夹板1之间至合适距离(即铣刀2铣削的适当距离),然后通过把手12转动螺杆113,使得压板114向阳极母线移动,通过压板114和夹板111将阳极母线夹紧,安装于装夹板1上,安装完成后启动第一电机10通过转轴9带动铣刀2转动,并通过第一电机10控制铣刀2的转速,然后启动第二电机8带动丝杠6转动,丝杠6与螺母副配合带动滑板5已经铣刀2沿丝杠6长度方向移动,使得铣刀2对阳极母线整个表面进行铣削加工,将阳极母线表面铣削平整,铣削效果好,高效快捷,省时省力。
Claims (8)
1.一种电解槽阳极母线维修铣面装置,其特征在于,包括装夹板(1),所述装夹板(1)上设有铣刀(2),所述铣刀(2)可沿装夹板(1)长度方向移动,所述装夹板(1)上设有用于安装槽阳极母线的卡固件(11),所述卡固件(11)包括设置于装夹板(1)宽度方向一侧的夹板(111),所述装夹板(1)远离夹板(111)的一侧固定有螺母(112),所述螺母(112)中设有与夹板(111)相垂直设置的螺杆(113),所述螺杆(113)靠近夹板(111)的一端设有压板(114)。
2.根据权利要求1所述的一种电解槽阳极母线维修铣面装置,其特征在于,所述装夹板(1)上设有通孔(3),所述通孔(3)处沿其长度方向设有导轨(4),所述导轨(4)上安装有滑板(5),所述滑板(5)可沿导轨(4)长度方向移动,所述铣刀(2)安装于滑板(5)上,所述铣刀(2)连接有转轴(9),所述转轴(9)从滑板(5)中穿过。
3.根据权利要求2所述的一种电解槽阳极母线维修铣面装置,其特征在于,所述转轴(9)远离铣刀(2)的一端连接有第一电机(10),所述第一电机(10)固定于滑板(5)上。
4.根据权利要求2所述的一种电解槽阳极母线维修铣面装置,其特征在于,所述通孔(3)处沿其长度方向设有丝杠(6),所述滑板(5)上设有螺母(112)副(7),所述螺母(112)副(7)安装于丝杠(6)上,所述丝杠(6)的一端连接有用于驱动丝杠(6)转动的第二电机(8),所述第二电机(8)固定于装夹板(1)上。
5.根据权利要求4所述的一种电解槽阳极母线维修铣面装置,其特征在于,所述第二电机(8)为伺服电机。
6.根据权利要求1所述的一种电解槽阳极母线维修铣面装置,其特征在于,所述螺杆(113)远离压板(114)的一端设有用于转动螺杆(113)的把手(12)。
7.根据权利要求1所述的一种电解槽阳极母线维修铣面装置,其特征在于,所述夹板(111)与装夹板(1)呈垂直设置。
8.根据权利要求1所述的一种电解槽阳极母线维修铣面装置,其特征在于,所述装夹板(1)长度方向的一端设有挡板(13)。
Priority Applications (1)
| Application Number | Priority Date | Filing Date | Title |
|---|---|---|---|
| CN202123198871.3U CN216990035U (zh) | 2021-12-20 | 2021-12-20 | 一种电解槽阳极母线维修铣面装置 |
Applications Claiming Priority (1)
| Application Number | Priority Date | Filing Date | Title |
|---|---|---|---|
| CN202123198871.3U CN216990035U (zh) | 2021-12-20 | 2021-12-20 | 一种电解槽阳极母线维修铣面装置 |
Publications (1)
| Publication Number | Publication Date |
|---|---|
| CN216990035U true CN216990035U (zh) | 2022-07-19 |
Family
ID=82383840
Family Applications (1)
| Application Number | Title | Priority Date | Filing Date |
|---|---|---|---|
| CN202123198871.3U Active CN216990035U (zh) | 2021-12-20 | 2021-12-20 | 一种电解槽阳极母线维修铣面装置 |
Country Status (1)
| Country | Link |
|---|---|
| CN (1) | CN216990035U (zh) |
Cited By (1)
| Publication number | Priority date | Publication date | Assignee | Title |
|---|---|---|---|---|
| CN117182714A (zh) * | 2023-09-26 | 2023-12-08 | 中国二十冶集团有限公司 | 一种半自动铝母线磨光机 |
-
2021
- 2021-12-20 CN CN202123198871.3U patent/CN216990035U/zh active Active
Cited By (1)
| Publication number | Priority date | Publication date | Assignee | Title |
|---|---|---|---|---|
| CN117182714A (zh) * | 2023-09-26 | 2023-12-08 | 中国二十冶集团有限公司 | 一种半自动铝母线磨光机 |
Similar Documents
| Publication | Publication Date | Title |
|---|---|---|
| CN216990035U (zh) | 一种电解槽阳极母线维修铣面装置 | |
| CN216177592U (zh) | 一种激光自动化焊接设备 | |
| CN219786998U (zh) | 一种钢制托盘生产用激光切割机 | |
| CN210818923U (zh) | 一种轴承套圈滚道磨床的砂轮修整装置 | |
| CN108480526A (zh) | 一种电缆切割装置及电缆切割方法 | |
| CN112296458B (zh) | 一种整体叶轮电解成型加工装置 | |
| CN204700359U (zh) | 一种铝电解槽水平母线修复工具 | |
| CN216656480U (zh) | 一种铝母线斜面加工用铣床 | |
| CN114029568B (zh) | 一种简单高效的螺杆钻具转子电解加工工艺以及装置 | |
| CN220093153U (zh) | 一种基于船用气缸盖的复合加工装置 | |
| CN112872617A (zh) | 一种用于加工大直径金刚石锯片的五轴激光机 | |
| CN109015065B (zh) | 一种可调式风电叶片钻孔工装及定位方法 | |
| CN202169424U (zh) | 卧式电解加工机床 | |
| CN215547253U (zh) | 平刮刀修刀装置 | |
| CN216585262U (zh) | 一种180kA电解槽斜立柱母线在线修复工装 | |
| CN218137569U (zh) | 一种锂电池加工用夹持机构 | |
| CN212497015U (zh) | 一种电解铝工业用阳极自动打磨装置 | |
| CN217859675U (zh) | 一种电池模组焊接用装夹治具 | |
| CN202278470U (zh) | 一种在线磨削装置 | |
| CN2851290Y (zh) | 一种用于铝电解槽短路停电的装置 | |
| CN216882666U (zh) | 风力发电机轴承座铣面钻孔装置 | |
| CN104289998A (zh) | 铝型材自动去毛刺机 | |
| CN209738052U (zh) | 一种陶瓷加工切割用固定装置 | |
| CN115182000A (zh) | 一种电解阴极板结粒去除装置及其使用方法 | |
| CN212333862U (zh) | U型槽铁生产用翻转机构 |
Legal Events
| Date | Code | Title | Description |
|---|---|---|---|
| GR01 | Patent grant | ||
| GR01 | Patent grant |