CN216990017U - Drilling and positioning device for rocker arm seat - Google Patents
Drilling and positioning device for rocker arm seat Download PDFInfo
- Publication number
- CN216990017U CN216990017U CN202122864675.9U CN202122864675U CN216990017U CN 216990017 U CN216990017 U CN 216990017U CN 202122864675 U CN202122864675 U CN 202122864675U CN 216990017 U CN216990017 U CN 216990017U
- Authority
- CN
- China
- Prior art keywords
- back plate
- base
- fixed
- positioning device
- drilling
- Prior art date
- Legal status (The legal status is an assumption and is not a legal conclusion. Google has not performed a legal analysis and makes no representation as to the accuracy of the status listed.)
- Active
Links
- 238000005553 drilling Methods 0.000 title claims abstract description 17
- 238000003754 machining Methods 0.000 claims description 12
- 230000001105 regulatory effect Effects 0.000 claims description 7
- 238000000034 method Methods 0.000 claims description 3
- 230000000149 penetrating effect Effects 0.000 claims description 3
- 230000001788 irregular Effects 0.000 abstract 1
- 230000004075 alteration Effects 0.000 description 1
- 230000009286 beneficial effect Effects 0.000 description 1
- 230000003750 conditioning effect Effects 0.000 description 1
- 238000010586 diagram Methods 0.000 description 1
- 238000005516 engineering process Methods 0.000 description 1
- 230000002349 favourable effect Effects 0.000 description 1
- 238000009434 installation Methods 0.000 description 1
- 238000004519 manufacturing process Methods 0.000 description 1
- 238000012986 modification Methods 0.000 description 1
- 230000004048 modification Effects 0.000 description 1
- 238000006467 substitution reaction Methods 0.000 description 1
Images
Landscapes
- Drilling And Boring (AREA)
Abstract
The utility model discloses a drilling and positioning device for a rocker arm seat, which comprises a processing workpiece; the base is square, and the side edge of the base is connected with a back plate; the support plate is fixed on one side of the base, which is far away from the back plate, through bolts; the bottom of the workpiece is placed on the back plate, and the rear end of the workpiece abuts against the back plate; the rocker arm seat fixing device can effectively fix the rocker arm seat which is irregular in shape and not easy to clamp, and accurately positions the position of the hole to be drilled.
Description
Technical Field
The utility model relates to the technical field of positioning and processing of rocker arm seats, in particular to a drilling and positioning device for a rocker arm seat.
Background
The rocker arm seat is used for supporting a rocker arm shaft and parts of a rocker arm on the shaft, and in the machining process, in order to facilitate the machining of the parts, the parts are usually fixed by using a tool and then machined; among the prior art, what adopt to this kind of irregularly shaped work piece of rocking arm seat carries out the cylinder from the multi-angle and compresses tightly, operates like this that the fastening is effectual but comparatively hard, and is not suitable for the multi-angle to process the work piece, is unfavorable for carrying out drilling technology to the rocking arm seat.
SUMMERY OF THE UTILITY MODEL
In order to solve the above problems, the present invention provides the following technical solutions: a drilling and positioning device for a rocker arm seat comprises a processing workpiece; the base is square, and the side edge of the base is connected with a back plate; the support plate is fixed on one side, far away from the back plate, of the base through bolts; the bottom of the workpiece is placed on the back plate, and the rear end of the workpiece abuts against the back plate.
Preferably, the back plate is provided with a fixing hole opposite to the central hole of the processing workpiece; the fixing shaft penetrates through the fixing hole and the center hole.
Preferably, the surface of the fixed shaft is provided with threads, and the front and the rear of the fixed shaft are fixed with the back plate through hexagonal nuts.
Preferably, a positioning block is arranged at the top end of the back plate, and the positioning block is over against the upper part of the processing workpiece and is provided with two processing holes.
Preferably, adjusting blocks are arranged on two sides of the supporting plate and used for propping against the processing workpiece, the adjusting blocks are connected with the base through bolts, and sliding grooves penetrating through the adjusting blocks are formed in the surfaces of the adjusting blocks; the limiting rod is fixed to the bottom of the base, a spring is sleeved outside the limiting rod, and the upper end of the limiting rod penetrates through the adjusting block and is fixed to the adjusting block through a nut.
Preferably, a fixed drill bushing is arranged inside the machining hole.
Compared with the prior art, the utility model has the beneficial effects that:
1. the rocker arm seat is fixed at three points through the back plate and the adjusting block, so that the rocker arm seat is fixed transversely and longitudinally, is not influenced by machining vibration, and is convenient for subsequent positioning of a drilling position;
2. the device simple structure, convenient operation can finish the part clamping fast accurately to pinpoint the position that needs drilling, be favorable to improving production efficiency.
Drawings
FIG. 1 is a view of the overall installation of the present invention;
FIG. 2 is a side view of the present invention;
FIG. 3 is a diagram of a conditioning block according to the present invention;
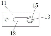
in the figure: 1. processing a workpiece; 2. a base; 3. a back plate; 4. a support plate; 5. a fixing hole; 6. a central bore; 7. a fixed shaft; 8. a hexagonal nut; 9. positioning blocks; 10. machining a hole; 11. an adjusting block; 12. a chute; 13. a limiting rod; 14. a spring; 15. a nut; 16. and fixing the drill bushing.
Detailed Description
The technical solutions in the embodiments of the present invention will be clearly and completely described below with reference to the drawings in the embodiments of the present invention, and it is obvious that the described embodiments are only a part of the embodiments of the present invention, and not all of the embodiments. All other embodiments, which can be derived by a person skilled in the art from the embodiments given herein without making any creative effort, shall fall within the protection scope of the present invention.
Referring to fig. 1 to 3, a rocker arm seat drilling positioning device includes a processing workpiece 1; the device is characterized by further comprising a base 2, wherein the base 2 is square, and the side edge of the base is connected with a back plate 3; the support plate 4 is fixed on one side, far away from the back plate 3, of the base 2 through bolts; the bottom of the processing workpiece 1 is placed on the back plate 3, and the rear end of the processing workpiece 1 is abutted against the back plate 3; the rear end of the rocker arm seat can be leaned through the back plate 3.
The back plate 3 is provided with a fixed hole 5 opposite to a central hole 6 of the processing workpiece 1; the fixing device further comprises a fixing shaft 7, and the fixing shaft 7 penetrates through the fixing hole 5 and the central hole 6. The surface of the fixed shaft 7 is provided with threads, and the front and the back of the fixed shaft are fixed with the back plate 3 through hexagonal nuts 8. Thus, the workpiece 1 can be fixed to the backing plate 3 by the fixing shaft 7.
In order to drill and position the top end of the machined workpiece 1, a positioning block 9 is arranged at the top end of the back plate 3, and the positioning block 9 is over against the upper part of the machined workpiece 1 and is provided with two machining holes 10; a fixed drill bushing 16 is arranged in the machining hole 10; the drilling tool can conveniently extend into the drilling tool for machining.
Adjusting blocks 11 are arranged on two sides of the supporting plate 4 and used for supporting the processing workpiece 1, the adjusting blocks 11 are connected with the base 2 through bolts, and sliding grooves 12 penetrating through the adjusting blocks 11 are formed in the surface of the adjusting blocks 11; still include gag lever post 13, gag lever post 13 bottom with base 2 is fixed, and the outside has cup jointed spring 14, and the upper end passes regulating block 11 and through nut 15 with regulating block 11 is fixed mutually. Wherein, the regulating block 11 can cooperate with the backup pad 4 and will process work piece 1 and press from both sides tightly, and spring 14 makes regulating block 11 can be along with the thickness of processing work piece 1 jack-up height-adjusting upwards through the power of deformation, screws the gag lever post 13 through nut 15 finally and realizes that regulating block 11 presss from both sides tightly.
Although embodiments of the present invention have been shown and described, it will be appreciated by those skilled in the art that changes, modifications, substitutions and alterations can be made in these embodiments without departing from the principles and spirit of the utility model, the scope of which is defined in the appended claims and their equivalents.
Claims (6)
1. A drilling and positioning device for a rocker arm seat comprises a processing workpiece (1); the method is characterized in that: the device is characterized by also comprising a base (2), wherein the base (2) is square, and the side edge of the base is connected with a back plate (3); the support plate (4) is fixed on one side, far away from the back plate (3), of the base (2) through bolts; the bottom of the processing workpiece (1) is placed on the back plate (3), and the rear end of the processing workpiece (1) is abutted against the back plate (3).
2. The rocker seat drilling positioning device of claim 1, wherein: the back plate (3) is provided with a fixing hole (5) opposite to a central hole (6) of the processing workpiece (1); the fixing device further comprises a fixing shaft (7), and the fixing shaft (7) penetrates through the fixing hole (5) and the central hole (6).
3. The rocker seat drilling positioning device of claim 2, wherein: the surface of the fixed shaft (7) is provided with threads, and the front and the back of the fixed shaft are fixed with the back plate (3) through hexagonal nuts (8).
4. The rocker seat drilling positioning device of claim 1, wherein: the machining device is characterized in that a positioning block (9) is arranged at the top end of the back plate (3), and the positioning block (9) is over against the upper portion of the machining workpiece (1) and is provided with two machining holes (10).
5. The rocker-arm seat drilling and positioning device of claim 1, wherein: adjusting blocks (11) are arranged on two sides of the supporting plate (4) and are used for supporting the processing workpiece (1), the adjusting blocks (11) are connected with the base (2) through bolts, and sliding grooves (12) penetrating through the adjusting blocks (11) are formed in the surfaces of the adjusting blocks (11); still include gag lever post (13), gag lever post (13) bottom with base (2) are fixed, and spring (14) have been cup jointed to the outside, and the upper end passes regulating block (11) and through nut (15) with regulating block (11) are fixed mutually.
6. The rocker seat drilling positioning device of claim 4, wherein: and a fixed drill bushing (16) is arranged in the machining hole (10).
Priority Applications (1)
| Application Number | Priority Date | Filing Date | Title |
|---|---|---|---|
| CN202122864675.9U CN216990017U (en) | 2021-11-22 | 2021-11-22 | Drilling and positioning device for rocker arm seat |
Applications Claiming Priority (1)
| Application Number | Priority Date | Filing Date | Title |
|---|---|---|---|
| CN202122864675.9U CN216990017U (en) | 2021-11-22 | 2021-11-22 | Drilling and positioning device for rocker arm seat |
Publications (1)
| Publication Number | Publication Date |
|---|---|
| CN216990017U true CN216990017U (en) | 2022-07-19 |
Family
ID=82382184
Family Applications (1)
| Application Number | Title | Priority Date | Filing Date |
|---|---|---|---|
| CN202122864675.9U Active CN216990017U (en) | 2021-11-22 | 2021-11-22 | Drilling and positioning device for rocker arm seat |
Country Status (1)
| Country | Link |
|---|---|
| CN (1) | CN216990017U (en) |
-
2021
- 2021-11-22 CN CN202122864675.9U patent/CN216990017U/en active Active
Similar Documents
| Publication | Publication Date | Title |
|---|---|---|
| CN205147887U (en) | Bearing retainer's machining anchor clamps | |
| CN216990017U (en) | Drilling and positioning device for rocker arm seat | |
| CN202877925U (en) | Universal fixture used for drilling on inclined surface | |
| CN204868192U (en) | Brill mills case boring jig | |
| CN108381235B (en) | Boring fixture for bent chain plate | |
| CN112823984A (en) | Fixture for drilling L-shaped part and using method | |
| CN213969959U (en) | Lathe fixture for machining eccentric hole shaft sleeve | |
| CN206622669U (en) | A kind of bidirectional slider formula drilling tool | |
| CN116765468B (en) | Drilling device and method for rocker arm parts | |
| CN211889113U (en) | Crankcase boring tool | |
| CN218696206U (en) | Drilling clamping device for small-size sheet structure products | |
| CN218109996U (en) | Rigidity-unchanged resetting milling fixture | |
| CN210849793U (en) | Clamp for grinding chute | |
| CN211708714U (en) | A self-positioning fitting tool | |
| CN222520051U (en) | Drilling jig tool for supporting seat | |
| CN223071263U (en) | Press-fit balance gear clamp | |
| CN209698504U (en) | A boring machine jig for machining holes | |
| CN220993648U (en) | Milling groove clamp for metal rotating shaft | |
| CN217530592U (en) | Automatic machining clamp for gearbox body workpiece | |
| CN222471540U (en) | Clamp for machining multiple valve bodies | |
| CN221735483U (en) | Brake caliper boring tool | |
| CN217121800U (en) | Portable radial drilling machine | |
| CN215035601U (en) | Clamping jig capable of facilitating clamping and fixing cylindrical workpiece | |
| CN217493500U (en) | Punching tool for peripheral holes of lower triangular mounting base | |
| CN221984491U (en) | A plate hole processing fixture |
Legal Events
| Date | Code | Title | Description |
|---|---|---|---|
| GR01 | Patent grant | ||
| GR01 | Patent grant |