CN216980426U - Lightning arrester combined ice melting isolating switch - Google Patents
Lightning arrester combined ice melting isolating switch Download PDFInfo
- Publication number
- CN216980426U CN216980426U CN202122593651.4U CN202122593651U CN216980426U CN 216980426 U CN216980426 U CN 216980426U CN 202122593651 U CN202122593651 U CN 202122593651U CN 216980426 U CN216980426 U CN 216980426U
- Authority
- CN
- China
- Prior art keywords
- conductive tube
- tube
- conductive
- gear
- lightning arrester
- Prior art date
- Legal status (The legal status is an assumption and is not a legal conclusion. Google has not performed a legal analysis and makes no representation as to the accuracy of the status listed.)
- Active
Links
- 238000002844 melting Methods 0.000 title claims abstract description 23
- 230000008018 melting Effects 0.000 title claims abstract description 20
- 239000012212 insulator Substances 0.000 claims abstract description 18
- 230000003068 static effect Effects 0.000 claims abstract description 11
- 230000005540 biological transmission Effects 0.000 claims description 4
- 230000000694 effects Effects 0.000 claims description 4
- 238000010030 laminating Methods 0.000 claims 1
- 238000009434 installation Methods 0.000 abstract description 3
- 238000012423 maintenance Methods 0.000 description 2
- 230000009286 beneficial effect Effects 0.000 description 1
- 238000010276 construction Methods 0.000 description 1
- 230000007547 defect Effects 0.000 description 1
- 238000010586 diagram Methods 0.000 description 1
- 238000005516 engineering process Methods 0.000 description 1
- 238000012986 modification Methods 0.000 description 1
- 230000004048 modification Effects 0.000 description 1
- 230000002093 peripheral effect Effects 0.000 description 1
- 230000001012 protector Effects 0.000 description 1
Images
Landscapes
- Elimination Of Static Electricity (AREA)
Abstract
The utility model discloses a combined ice-melting isolating switch of a lightning arrester, which comprises a base, the lightning arrester and a main conducting post, wherein a conducting arm is movably arranged on the conducting base, a driving mechanism is arranged on one side of the movable base and used for driving the conducting arm to rotate in the vertical direction through a direct-current rotary insulator, a static contact rod is arranged on the main conducting post, a V-shaped clamping contact is arranged at one end of the conducting arm, and the V-shaped clamping contact is contacted with the static contact rod when the conducting arm is in the vertical state. According to the utility model, the upper and lower conductive tubes can be folded, so that the horizontal distance between the lightning arrester and the ice melting disconnecting link is reduced, the installation and the arrangement can be carried out by utilizing a narrow site in a transformer substation, the floor area of the transformer substation is not required to be enlarged, the investment cost is saved, and the influence of surrounding terrain and environment on the transformer substation due to the enlarged site is reduced.
Description
Technical Field
The utility model relates to the technical field of isolating switch equipment, in particular to a lightning arrester combined ice melting isolating switch.
Background
The conventional direct-current ice melting current bridging scheme has the defects of large investment, large occupied area, long construction time, low working efficiency, high operation risk, complex operation, inconvenience in operation and maintenance and the like, the direct-current ice melting technology needs to connect direct current generated by a direct-current ice melting device into a power transmission line, and the common isolating switch bridging scheme has large occupied area and large investment; the trolley bridging scheme has the advantages of large investment, complex and inflexible operation and inconvenient operation and maintenance.
The lightning protection type ice melting isolating switch combines the functions of the lightning protector and the ice melting isolating switch, and is a novel product. However, in the current lightning protection type ice melting disconnecting switch, the horizontal distance between the lightning arrester and the ice melting disconnecting switch is far, and the requirements on the conditions of the peripheral field are also strict, so that the lightning protection type ice melting disconnecting switch is not beneficial to installation in a narrow field.
SUMMERY OF THE UTILITY MODEL
The utility model aims to provide a lightning arrester combined ice melting isolating switch which is convenient to open and close and shortens the distance between a lightning arrester and an ice melting disconnecting link.
In order to achieve the purpose, the technical scheme adopted by the utility model is as follows: a combined ice-melting isolating switch for an arrester comprises a base, the arrester and a main conductive column, wherein a chassis and a direct-current insulating column are installed on the base, a direct-current post insulator is fixedly installed on the chassis, a conductive base is installed on the direct-current post insulator, a conductive arm is movably installed on the conductive base, a driving mechanism is installed on one side of the base and used for driving the conductive arm to rotate in the vertical direction through a direct-current rotating insulator, a static contact rod is installed on the main conductive column, a V-shaped clamping contact is installed at one end of the conductive arm, the V-shaped clamping contact of the conductive arm is in contact with the static contact rod when the conductive arm is in the vertical state, the conductive arm comprises a lower conductive tube and an upper conductive tube, a slide rod is arranged inside the lower conductive tube, a rack is fixedly installed at the upper end of the slide rod, a gear is movably installed at the upper end of the lower conductive tube, and the gear is meshed with the rack, go up the contact tube lower extreme and rotate and install the gear box, lower contact tube upper end gear passes through round pin axle and gear box fixed connection, and the contact tube rotates on the gear drive of contact tube upper end down, and the flange and the actuating mechanism of lower contact tube lower extreme are connected, and actuating mechanism is used for driving this flange rotation, the inside fixed mounting of lower contact tube has the axle sleeve, and axle sleeve one side is equipped with first spring, and first spring housing is established on the slide bar surface.
Preferably, go up the inside ejector pin that is equipped with of contact tube, the equal activity in ejector pin both ends runs through the contact tube both ends, and ejector pin lower extreme movable mounting has the gyro wheel, works as when gear box parallel and level and last contact tube, the gyro wheel laminates with gear box one end, ejector pin surface activity cover is equipped with the second spring.
Preferably, the driving mechanism is a servo motor, an output end of the servo motor is fixedly connected with a direct current rotary insulator, and the direct current rotary insulator is in transmission connection with a sliding rod at the lower end of the lower conductive pipe through a rotary flange.
Preferably, the upper conductive tube and the lower conductive tube are electrically connected through a conductive flexible connection.
Compared with the prior art, the utility model has the advantages that:
according to the utility model, the upper and lower conductive tubes can be folded, so that the horizontal distance between the lightning arrester and the ice melting disconnecting link is reduced, the installation and the setting can be carried out by utilizing a narrow field in a transformer substation, the occupied area of the transformer substation is not required to be enlarged, the investment cost is saved, and the influence of surrounding terrain and environment on the transformer substation due to the enlarged field is reduced.
Drawings
In order to more clearly illustrate the embodiments of the present invention or the technical solutions in the prior art, the drawings used in the description of the embodiments or the prior art will be briefly described below, it is obvious that the drawings in the following description are only some embodiments of the present invention, and for those skilled in the art, other drawings can be obtained according to the drawings without creative efforts.
FIG. 1 is a structural diagram of a lightning arrester combined ice melting isolating switch of the utility model;
FIG. 2 is a side view of the lightning arrester combined ice melting isolating switch of the utility model;
FIG. 3 is a cross-sectional view of a lower conductive tube of the present invention;
fig. 4 is a cross-sectional view of an upper conductive tube of the present invention.
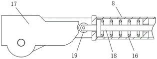
In the figure: the lightning arrester comprises a base 1, a chassis 2, a direct current post insulator 3, an alternating current insulating column 4, a driving mechanism 5, a direct current rotary insulator 6, a lower conductive tube 7, an upper conductive tube 8, a conductive base 9, a lightning arrester 10, a main conductive column 11, a sliding rod 12, a first spring 13, a rack 14, a gear 15, a second spring 16, a gear box 17, a push rod 18, a roller 19, a static contact rod 20 and a 21V-shaped clamping contact.
Detailed Description
The preferred embodiments of the present invention will be described in detail below with reference to the accompanying drawings so that the advantages and features of the present invention can be more easily understood by those skilled in the art, and the scope of the present invention will be more clearly and clearly defined.
Referring to fig. 1 and 2, the utility model provides a combined ice-melting isolating switch for a lightning arrester, which comprises a base 1, a lightning arrester 10 and a main conducting post 11, wherein the base 1 is provided with a chassis 2 and a direct current insulating post 4, the chassis 2 is fixedly provided with a direct current post insulator 3, the direct current post insulator 3 is provided with a conducting base 9, the conducting base 9 is movably provided with a conducting arm, one side of the base 1 is provided with a driving mechanism 5, the driving mechanism 5 is used for driving the conducting arm to rotate in a vertical direction through a direct current rotating insulator 6, the main conducting post 11 is provided with a static contact rod 20, one end of the conducting arm is provided with a V-shaped clamping contact 21, when the conducting arm 21 is in a vertical state, the V-shaped clamping contact 21 is in contact with the static contact rod 20 to complete closing work, when opening is needed, the conducting arm only needs to rotate through the driving mechanism 5, the switch can be opened by separating the switch from the static contact rod 20.
Referring to fig. 2 and fig. 3, in this embodiment, in order to further reduce the space occupancy rate, the conductive arm includes a lower conductive tube 7 and an upper conductive tube 8, a sliding rod 12 is disposed inside the lower conductive tube 7, racks 14 are fixedly connected to both ends of the sliding rod 12, gears 15 are movably mounted at both ends of the lower conductive tube 7, the gears 15 are engaged with the racks 14, a gear box 17 is rotatably mounted at the lower end of the upper conductive tube 8, the gear 15 at the upper end of the lower conductive tube 7 is fixedly connected to the gear box 17 through a pin shaft, the gear 15 at the upper end of the lower conductive tube 7 drives the upper conductive tube 8 to rotate, the gear 15 at the lower end of the lower conductive tube 7 is connected to a driving mechanism 5, the driving mechanism 5 is used for driving the gear 15 to rotate, a shaft sleeve is fixedly mounted inside the lower conductive tube 7, a first spring 13 is disposed on one side of the shaft sleeve, and the first spring 13 is sleeved on the surface of the sliding rod 12;
when the driving mechanism 5 drives the gear 15 at the lower end of the lower conductive tube 7, the gear 15 drives the rack 14 to rotate, the rack 14 pulls the sliding rod 12 to move, when the sliding rod 12 moves, the gear 15 at the other end of the sliding rod drives the upper conductive tube 8 to rotate, so that the lower conductive tube 7 and the upper conductive tube 8 vertically deflect, when the conductive tube 7 and the upper conductive tube 8 are in a straight line, the V-shaped clamping contact 21 of the upper conductive tube 8 can be contacted with the static contact rod 20 to complete closing operation, otherwise, opening operation is completed.
Referring to fig. 4, in this embodiment, an ejector rod 18 is disposed inside the upper conductive tube 8, two ends of the ejector rod 18 movably penetrate two ends of the upper conductive tube 8, a roller 19 is movably mounted at a lower end of the ejector rod 18, when the gear box 17 is flush with the upper conductive tube 8, the roller 19 is attached to one end of the gear box 17, and a second spring 16 is movably sleeved on the surface of the ejector rod 18.
In this embodiment, the driving mechanism 5 is a servo motor, an output end of the servo motor is fixedly connected with the dc rotary insulator 6, and the dc rotary insulator 6 is in transmission connection with the sliding rod at the lower end of the lower conductive tube 7 through a rotary flange, so that the number of rotating turns can be accurately controlled, and the deflection angle of the lower conductive tube 7 can be accurately controlled.
In this embodiment, the upper conductive tube 8 and the lower conductive tube 7 are electrically connected through a conductive flexible connection.
Although the embodiments of the present invention have been described with reference to the accompanying drawings, various changes or modifications may be made by the patentees within the scope of the appended claims, and within the scope of the utility model, as long as they do not exceed the scope of the utility model described in the claims.
Claims (4)
1. The utility model provides a combined ice-melt isolator of arrester, includes basic base, arrester and main electric pole, its characterized in that: the base is provided with a chassis and a direct current insulating column, the chassis is fixedly provided with a direct current post insulator, the direct current post insulator is provided with a conductive base, the conductive base is movably provided with a conductive arm, one side of the base is provided with a driving mechanism, the driving mechanism is used for driving the conductive arm to rotate in the vertical direction through a direct current rotating insulator, the main conductive column is provided with a static contact rod, one end of the conductive arm is provided with a V-shaped clamping contact, when the conductive arm is in a vertical state, the V-shaped clamping contact is contacted with the static contact rod, the conductive arm comprises a lower conductive tube and an upper conductive tube, a sliding rod is arranged inside the lower conductive tube, a rack is fixedly arranged at the upper end of the sliding rod, the upper end of the lower conductive tube is provided with a gear, the gear is meshed with the rack, the lower end of the upper conductive tube is rotatably provided with a gear box, and the gear at the upper end of the lower conductive tube is fixedly connected with the gear box through a pin shaft, and the gear at the upper end of the lower conductive tube drives the upper conductive tube to rotate, the gear at the lower end of the lower conductive tube is connected with a driving mechanism, the driving mechanism is used for driving the gear to rotate, a shaft sleeve is fixedly arranged in the lower conductive tube, a first spring is arranged on one side of the shaft sleeve, and the first spring is sleeved on the surface of the slide bar.
2. The lightning arrester combined ice melting isolating switch as claimed in claim 1, characterized in that: go up the inside ejector pin that is equipped with of contact tube, the equal activity in ejector pin both ends runs through the contact tube both ends, and ejector pin lower extreme movable mounting has the gyro wheel, works as when gear box parallel and level and last contact tube, gyro wheel and gear box one end laminating, ejector pin surface activity cover is equipped with the second spring.
3. The lightning arrester combined ice melting isolating switch as claimed in claim 1, characterized in that: the driving mechanism is a servo motor, the output end of the servo motor is fixedly connected with a direct current rotary insulator, and the direct current rotary insulator is in transmission connection with a sliding rod at the lower end of the lower conductive tube through a rotary flange.
4. The lightning arrester combined ice melting isolating switch as claimed in claim 1, characterized in that: the upper conductive tube and the lower conductive tube are electrically connected through a conductive flexible connection.
Priority Applications (1)
| Application Number | Priority Date | Filing Date | Title |
|---|---|---|---|
| CN202122593651.4U CN216980426U (en) | 2021-10-27 | 2021-10-27 | Lightning arrester combined ice melting isolating switch |
Applications Claiming Priority (1)
| Application Number | Priority Date | Filing Date | Title |
|---|---|---|---|
| CN202122593651.4U CN216980426U (en) | 2021-10-27 | 2021-10-27 | Lightning arrester combined ice melting isolating switch |
Publications (1)
| Publication Number | Publication Date |
|---|---|
| CN216980426U true CN216980426U (en) | 2022-07-15 |
Family
ID=82344657
Family Applications (1)
| Application Number | Title | Priority Date | Filing Date |
|---|---|---|---|
| CN202122593651.4U Active CN216980426U (en) | 2021-10-27 | 2021-10-27 | Lightning arrester combined ice melting isolating switch |
Country Status (1)
| Country | Link |
|---|---|
| CN (1) | CN216980426U (en) |
-
2021
- 2021-10-27 CN CN202122593651.4U patent/CN216980426U/en active Active
Similar Documents
| Publication | Publication Date | Title |
|---|---|---|
| CN101320891B (en) | Side-mounted removable high-voltage switchgear | |
| KR101762407B1 (en) | Shorting device for Grounding of converter | |
| CN104979126A (en) | Extra-high-voltage direct-current grounding switch | |
| CN115561584B (en) | A distribution network ground fault locating device cooperating with the equipment in the station | |
| CN216980426U (en) | Lightning arrester combined ice melting isolating switch | |
| CN213383893U (en) | Remote control transfer trolley for circuit breaker of centrally-mounted switch cabinet | |
| CN111463673B (en) | Combined switch cabinet and use method | |
| CN216120792U (en) | Insulating earthing device of distribution network earth connection | |
| CN107046250B (en) | Vertical lifting type high-safety dual-power-supply power supply device and control method | |
| CN104135602B (en) | Mine explosion-suppression dollying system | |
| CN204792580U (en) | Earthing switch with lightning arrester combination | |
| CN213364841U (en) | Cable test handcart device | |
| CN213692663U (en) | A metal armored cabinet grounding device | |
| CN108257813B (en) | Transmission device for switching on and off of independent grounding switch | |
| CN201060783Y (en) | Supervoltage AC 1100kV isolating switch | |
| CN208127741U (en) | Metal-enclosed ring network switchgear | |
| CN221668731U (en) | High-voltage isolating switch | |
| CN213878893U (en) | Intelligent switch cabinet | |
| CN107968345B (en) | Intensive dual-power transfer switch for side-mounting line | |
| CN213877937U (en) | Spring type intelligent high-voltage vacuum circuit breaker | |
| CN212063168U (en) | Low-voltage switchgear convenient to installation | |
| CN120016351B (en) | In put general formula ground connection dolly circuit breaker of cabinet | |
| CN213521213U (en) | Ground wire ice melting and wire changing switch device | |
| CN215934107U (en) | Safety isolation mechanism of mechanical interlocking power distribution cabinet | |
| CN116169595B (en) | Explosion-proof intelligent on-off switch for 10kV power distribution network |
Legal Events
| Date | Code | Title | Description |
|---|---|---|---|
| GR01 | Patent grant | ||
| GR01 | Patent grant |