CN216918063U - Pay-off for electric power construction - Google Patents

Pay-off for electric power construction Download PDF

Info

Publication number
CN216918063U
CN216918063U CN202123360119.4U CN202123360119U CN216918063U CN 216918063 U CN216918063 U CN 216918063U CN 202123360119 U CN202123360119 U CN 202123360119U CN 216918063 U CN216918063 U CN 216918063U
Authority
CN
China
Prior art keywords
pay
electric power
pulley
power construction
cable
Prior art date
Legal status (The legal status is an assumption and is not a legal conclusion. Google has not performed a legal analysis and makes no representation as to the accuracy of the status listed.)
Expired - Fee Related
Application number
CN202123360119.4U
Other languages
Chinese (zh)
Inventor
刘冬冬
Current Assignee (The listed assignees may be inaccurate. Google has not performed a legal analysis and makes no representation or warranty as to the accuracy of the list.)
Henan Tailong Power Equipment Co ltd
Original Assignee
Henan Tailong Power Equipment Co ltd
Priority date (The priority date is an assumption and is not a legal conclusion. Google has not performed a legal analysis and makes no representation as to the accuracy of the date listed.)
Filing date
Publication date
Application filed by Henan Tailong Power Equipment Co ltd filed Critical Henan Tailong Power Equipment Co ltd
Priority to CN202123360119.4U priority Critical patent/CN216918063U/en
Application granted granted Critical
Publication of CN216918063U publication Critical patent/CN216918063U/en
Expired - Fee Related legal-status Critical Current
Anticipated expiration legal-status Critical

Links

Images

Landscapes

  • Storing, Repeated Paying-Out, And Re-Storing Of Elongated Articles (AREA)

Abstract

本实用新型提供一种电力施工用放线装置,属于线缆放线设备技术领域,包括安装架、支撑板和活动板,所述安装架上设置有安装槽,所述支撑板固定设置在安装槽的一侧,所述活动板与所述安装槽滑动连接,所述活动板通过滑块滑动安装在所述安装槽内,所述安装槽内转动安装有螺纹杆;在线缆进行轴向时,移动块能够通过滚轮在滑槽内移动,转盘也能够随着力的方向进行转动,减小线缆拉出的摩擦力,在停止放线时,弹簧能够拉动第一滑轮,使其与第二滑轮配合对线缆进行夹紧,防止出现电缆线放出太多导致电缆线之间发生缠绕不便整理的问题,安装架底部通过设置支撑腿和移动轮,不仅方便了本装置的移动,也能够在放线时让本装置更加稳定。

Figure 202123360119

The utility model provides a wire pay-off device for electric construction, belonging to the technical field of cable pay-off equipment, comprising an installation frame, a support plate and a movable plate. On one side of the groove, the movable plate is slidably connected to the installation groove, the movable plate is slidably installed in the installation groove through a slider, and a threaded rod is rotatably installed in the installation groove; The moving block can move in the chute through the roller, and the turntable can also rotate in the direction of the force, reducing the frictional force of the cable pulling out. The two pulleys work together to clamp the cables to prevent the cables from being released too much, causing the cables to be entangled and inconvenient to arrange. The bottom of the mounting frame is provided with support legs and moving wheels, which not only facilitates the movement of the device, but also enables Makes the unit more stable when paying out.

Figure 202123360119

Description

Pay-off for electric power construction
Technical Field
The utility model relates to the technical field of cable pay-off equipment, in particular to a pay-off device for electric power construction.
Background
Electric power engineering, i.e. engineering related to the production, transmission and distribution of electric energy, also broadly includes engineering using electricity as power and energy source in a variety of fields. At present at the in-process of laying the cable, often make the cable dish can rotate, then remove by workman pulling cable, but at the pulling in-process, because the cable is the winding in the pivot, do not have other fixed mode, can take place to twine inconvenient arrangement when emitting too much, some pay-off can add solid traditional thread binding putting, but the winding of electric wire has certain axial width, at the in-process of unwrapping wire, when the cable passes through solid traditional thread binding putting, axial displacement produces great frictional force easily, inconvenient pulling out, pay-off among the prior art is on the paying out spool with the cable winding, install the paying out spool on the pay off rack again, in practical application, because the size of paying out spool is different, can not general, wait to improve.
SUMMERY OF THE UTILITY MODEL
In view of this, the utility model provides a pay-off device for electric power construction, which is labor-saving in pay-off and good in stability.
In order to solve the technical problems, the utility model provides a pay-off device for electric power construction, which comprises an installation frame, a support plate and a movable plate, wherein the installation frame is provided with a mounting groove, the support plate is fixedly arranged at one side of the mounting groove, the movable plate is in sliding connection with the mounting groove, the movable plate is slidably arranged in the mounting groove through a slide block, a threaded rod is rotatably arranged in the mounting groove and is in threaded connection with a threaded hole formed in the slide block, connecting parts are rotatably arranged in through holes formed in the movable plate and the support plate, the installation frame is also provided with slide grooves, the slide grooves are arranged at the right side of the mounting groove and are symmetrically arranged into two groups, movable blocks are slidably arranged in the slide grooves through idler wheels, a rotary table is rotatably arranged in the movable blocks, auxiliary frames are symmetrically arranged on the rotary table, and a first pulley and a second pulley are arranged between the auxiliary frames, the vertical bar groove of having seted up on the auxiliary frame, first pulley with bar groove sliding connection, second pulley fixed mounting be in on the auxiliary frame, the cooperation is installed the spring between first pulley and the second pulley.
Furthermore, the connecting part further comprises a socket joint, and a plurality of first balls are installed between the through hole and the socket joint in a matched mode.
Furthermore, a stepped groove for sleeving cable shafts with different diameters is formed in the connecting part.
Furthermore, a plurality of second balls are installed between the moving block and the rotary table in a matched mode.
Furthermore, one end of the threaded rod extends out of the mounting groove, and a rotating handle convenient to rotate is mounted on the threaded rod.
Furthermore, the supporting leg is installed to the bottom surface left end position of mounting bracket, and the right-hand member position is installed and is removed the wheel.
Further, a handle for pushing and pulling is installed on the left side of the mounting frame.
The technical scheme of the utility model has the following beneficial effects:
the distance between the supporting plate and the movable plate is adjusted by rotating the threaded rod, then the cable wound with the cable is sleeved in the proper stepped groove for use, when the cable is paid off, the wire head passes through the middle position of the first pulley and the second pulley for use, when the cable is pulled, the first pulley and the second pulley can rotate, the cable is conveniently pulled out, because the cable is wound on the cable shaft, when the cable is paid off for a certain length, the cable axially moves, when the cable is axially moved, the moving block can move in the chute through the roller, the turntable can also rotate along with the direction of force, the friction force of the cable pulled out is reduced, when the cable is stopped to be paid off, the spring can pull the first pulley to be matched with the second pulley to clamp the cable, and the problem that the cable is wound and inconvenient to arrange between the cables due to too much cable is paid off is prevented, the first ball that sets up between through-hole and the cup joint can also relax the unwrapping wire when the cable is heavier, and is more laborsaving, and the bottom is through setting up the supporting leg and removing the wheel, has not only made things convenient for the removal of this device, also can let this device more stable when the unwrapping wire.
Drawings
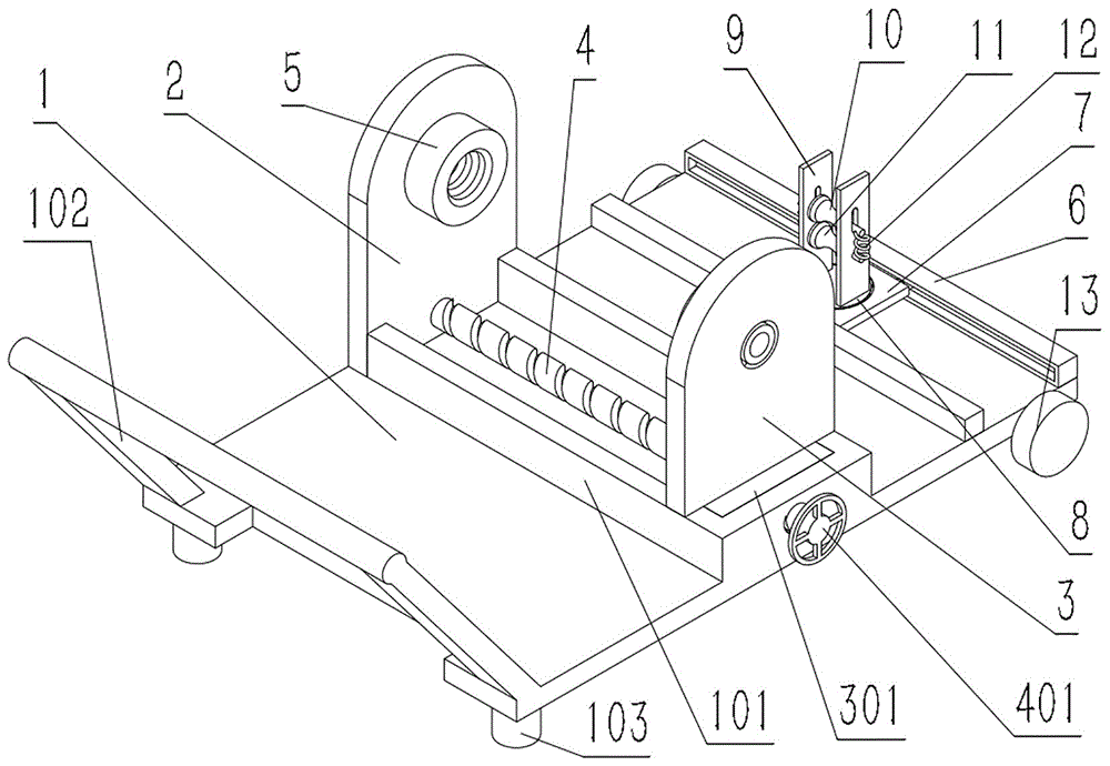
FIG. 1 is a schematic structural view of a pay-off device for electric power construction according to the present invention;
FIG. 2 is a sectional view showing a structure of a connection part of the pay-off for power construction of the present invention;
FIG. 3 is a sectional view showing a structure of a moving block of the wire discharging device for power construction according to the present invention;
fig. 4 is a schematic view of an overall structure of an auxiliary frame of the pay-off device for electric power construction according to the present invention.
1. A mounting frame; 101. mounting grooves; 102. a handle; 103. supporting legs; 2. a support plate; 3. a movable plate; 301. a slider; 4. a threaded rod; 401. turning a handle; 5. a connecting portion; 501. a stepped recess; 502. sleeving a joint; 6. a chute; 7. a moving block; 701. a roller; 8. a turntable; 9. an auxiliary frame; 901. a strip-shaped groove; 10. a first pulley; 11. a second pulley; 12. a spring; 13. a moving wheel; 14. a first ball bearing; 15. a second ball bearing; 16. and a through hole.
Detailed Description
In order to make the objects, technical solutions and advantages of the embodiments of the present invention clearer, the technical solutions of the embodiments of the present invention will be clearly and completely described below with reference to fig. 1 to 4 of the embodiments of the present invention. It is to be understood that the embodiments described are only a few embodiments of the present invention, and not all embodiments. All other embodiments, which can be derived by a person skilled in the art from the described embodiments of the utility model, are within the scope of the utility model.
As shown in fig. 1-4: a paying-off device for electric power construction comprises an installation frame 1, a support plate 2 and movable plates 3, wherein an installation groove 101 is formed in the installation frame 1, the support plate 2 is fixedly arranged on one side of the installation groove 101, the movable plates 3 are slidably connected with the installation groove 101, the movable plates 3 are slidably arranged in the installation groove 101 through sliders 301, threaded rods 4 are rotatably arranged in the installation groove 101, the threaded rods 4 are in threaded connection with threaded holes formed in the sliders 301, connecting parts 5 are rotatably arranged in through holes 16 formed in the movable plates 3 and the support plate 2, sliding grooves 6 are further arranged on the installation frame 1, the sliding grooves 6 are arranged on the right side of the installation groove 101 and are symmetrically arranged into two groups, moving blocks 7 are slidably arranged in the sliding grooves 6 through rollers 701, rotary tables 8 are rotatably arranged in the moving blocks 7, auxiliary frames 9 are symmetrically arranged on the rotary tables 8, and a first pulley 10 and a second pulley 11 are arranged between the auxiliary frames 9, a strip-shaped groove 901 is vertically formed in the auxiliary frame 9, the first pulley 10 is connected with the strip-shaped groove 901 in a sliding mode, the second pulley 11 is fixedly installed on the auxiliary frame 9, and a spring 12 is installed between the first pulley 11 and the second pulley 11 in a matched mode.
According to one embodiment of the present invention, as shown in figures 1-4,
connecting portion 5 still includes the socket joint 502, and the cooperation is installed a plurality of first balls 14 between through-hole 16 and the socket joint 502, can reduce frictional force through rolling friction, and is more laborsaving when the unwrapping wire.
According to another embodiment of the present invention, as shown in figures 1-4,
the connecting portion 5 is internally provided with a stepped groove 501 for sleeving cable shafts with different diameters, and the stepped groove is used for installing cable shafts with different diameters and is wide in application range.
According to another embodiment of the present invention, as shown in figures 1-4,
a plurality of second balls 15 are arranged between the moving block 7 and the rotating disc 8 in a matched mode, friction force can be reduced through rolling friction, and resistance borne by the rotating disc 8 is smaller when the rotating disc rotates.
One end of the threaded rod 4 extends out of the mounting groove 101 and is provided with a rotating handle 401 which is convenient to rotate.
According to another embodiment of the present invention, as shown in figures 1-4,
supporting leg 103 is installed to the bottom surface left end position of mounting bracket 1, and the right-hand member position is installed and is removed wheel 13, removes wheel 13 and has made things convenient for the removal of this device, and supporting leg 103 can be when the unwrapping wire, lets this device more stable.
According to another embodiment of the present invention, as shown in figures 1-4,
a handle 102 for pushing and pulling is installed on the left side of the mounting bracket 1.
The working method (or working principle) of the utility model is as follows:
when the utility model is used, the distance between the supporting plate 2 and the movable plate 3 is adjusted by rotating the threaded rod 4, then the cable wound with the cable is sleeved in the proper stepped groove 501 for use, when the cable is paid off, the cable head passes through the middle position of the first pulley 10 and the second pulley 11 for use, when the cable is pulled, the first pulley 10 and the second pulley 11 can rotate, the cable is conveniently pulled out, because the cable is wound on the cable shaft, when the cable is paid off for a certain length, the cable moves axially, when the cable is axially moved, the moving block 7 can move in the chute 6 through the roller 701, the turntable 8 can also rotate along with the direction of the force, the friction force of the cable pulling out is reduced, when the cable is stopped to be paid off, the spring 12 can pull the first pulley 10 to be matched with the second pulley 11 to clamp the cable, and the problem that too many cables are wound and tidied up due to the cable paying off is prevented, the first ball 14 that sets up between through-hole 16 and the cup joint 502 can also can relax the unwrapping wire when the cable is heavier, and is more laborsaving, and 1 bottom of mounting bracket has not only made things convenient for the removal of this device through setting up supporting leg 103 and removing wheel 13, also can let this device more stable when the unwrapping wire.
In the present invention, unless otherwise explicitly specified or limited, for example, it may be fixedly attached, detachably attached, or integrated; can be mechanically or electrically connected; the terms may be directly connected or indirectly connected through an intermediate, and may be communication between two elements or interaction relationship between two elements, unless otherwise specifically limited, and the specific meaning of the terms in the present invention will be understood by those skilled in the art according to specific situations.
While the foregoing is directed to the preferred embodiment of the present invention, it will be understood by those skilled in the art that various changes and modifications may be made without departing from the spirit and scope of the utility model as defined in the appended claims.

Claims (8)

1. The utility model provides a pay-off for electric power construction, includes mounting bracket (1), backup pad (2) and fly leaf (3), be provided with mounting groove (101) on mounting bracket (1), backup pad (2) are fixed to be set up in one side of mounting groove (101), fly leaf (3) with mounting groove (101) sliding connection, its characterized in that: fly leaf (3) through slider (301) slidable mounting in mounting groove (101), threaded rod (4) are installed to mounting groove (101) internal rotation, threaded rod (4) with the screw hole threaded connection who sets up on slider (301), fly leaf (3) with all rotate in through-hole (16) of setting up on backup pad (2) and install connecting portion (5), still install spout (6) on mounting bracket (1), spout (6) are arranged in the right side of mounting groove (101) to the symmetry is established to two sets of, there is supplementary clamping device through gyro wheel (701) slidable mounting in spout (6).
2. The pay-off device for electric power construction as claimed in claim 1, wherein: the auxiliary clamping device comprises a moving block (7), a rotary table (8) is rotatably mounted in the moving block (7), auxiliary frames (9) are symmetrically mounted on the rotary table (8), a first pulley (10) and a second pulley (11) are arranged between the auxiliary frames (9), a strip-shaped groove (901) is vertically formed in each auxiliary frame (9), the first pulley (10) is in sliding connection with the strip-shaped groove (901), the second pulley (11) is fixedly mounted on each auxiliary frame (9), and a spring (12) is mounted between the first pulley (10) and the second pulley (11) in a matched mode.
3. The pay-off device for electric power construction as claimed in claim 2, wherein: the connecting part (5) further comprises a sleeve joint (502), and a plurality of first balls (14) are installed between the through hole (16) and the sleeve joint (502) in a matched mode.
4. The pay-off device for electric power construction as claimed in claim 2, wherein: and a stepped groove (501) for sleeving cable shafts with different diameters is formed in the connecting part (5).
5. The pay-off device for electric power construction as claimed in claim 2, wherein: a plurality of second balls (15) are arranged between the moving block (7) and the rotary table (8) in a matching way.
6. The pay-off device for electric power construction as claimed in claim 2, wherein: one end of the threaded rod (4) extends out of the mounting groove (101) and is provided with a rotating handle (401) convenient to rotate.
7. The pay-off device for electric power construction as claimed in claim 2, wherein: the supporting leg (103) is installed to the bottom surface left end position of mounting bracket (1), and the right-hand member position is installed and is removed wheel (13).
8. The pay-off device for electric power construction as claimed in claim 2, wherein: and a handle (102) for pushing and pulling is arranged on the left side of the mounting rack (1).
CN202123360119.4U 2021-12-29 2021-12-29 Pay-off for electric power construction Expired - Fee Related CN216918063U (en)

Priority Applications (1)

Application Number Priority Date Filing Date Title
CN202123360119.4U CN216918063U (en) 2021-12-29 2021-12-29 Pay-off for electric power construction

Applications Claiming Priority (1)

Application Number Priority Date Filing Date Title
CN202123360119.4U CN216918063U (en) 2021-12-29 2021-12-29 Pay-off for electric power construction

Publications (1)

Publication Number Publication Date
CN216918063U true CN216918063U (en) 2022-07-08

Family

ID=82254190

Family Applications (1)

Application Number Title Priority Date Filing Date
CN202123360119.4U Expired - Fee Related CN216918063U (en) 2021-12-29 2021-12-29 Pay-off for electric power construction

Country Status (1)

Country Link
CN (1) CN216918063U (en)

Cited By (1)

* Cited by examiner, † Cited by third party
Publication number Priority date Publication date Assignee Title
CN116730108A (en) * 2023-08-14 2023-09-12 安徽博诺思信息科技有限公司 Paying-off pulley structure for electric power construction overhead line

Cited By (2)

* Cited by examiner, † Cited by third party
Publication number Priority date Publication date Assignee Title
CN116730108A (en) * 2023-08-14 2023-09-12 安徽博诺思信息科技有限公司 Paying-off pulley structure for electric power construction overhead line
CN116730108B (en) * 2023-08-14 2023-10-24 安徽博诺思信息科技有限公司 Paying-off pulley structure for electric power construction overhead line

Similar Documents

Publication Publication Date Title
CN205687294U (en) A mobile cable winding device with adjustable radius
CN110790091B (en) Cable winding and unwinding devices for communication engineering winding displacement
CN108574232B (en) A power cable protection device
CN113443519B (en) Cable length metering equipment and method based on self-adaptive function
CN108736379B (en) Electric power construction leading truck
CN216918063U (en) Pay-off for electric power construction
CN204847587U (en) Electric wire rolling machine
CN108439054A (en) A kind of cable automatic rolling device
CN106516884A (en) Cable take-up mechanism
CN211971409U (en) Active heavy cable winding machine with driving force
CN211521218U (en) Enameled wire stretching machine
CN210577705U (en) Cable tractor for power engineering
CN218859908U (en) A cloth winding device
CN116587168A (en) Spool processing device for clamping and messy wires
CN214798752U (en) Cable fixing device for municipal works
CN116453850A (en) Coil winding positioning jig
CN221352557U (en) An electromechanical winding machine
CN115459160A (en) A hidden pre-embedded wiring device for building electrical construction
CN218320057U (en) A wire and cable winding machine capable of fast rolling and unwinding
CN209368368U (en) A kind of cylindrical workpiece electroplating clamp
CN215402251U (en) Pay-off rack with positioning structure for cable
CN217534950U (en) Construction unwrapping wire equipment is built in room
CN220007359U (en) Spool processing device for clamping and messy wires
CN219469251U (en) Building electric cable conveying equipment
CN223273759U (en) Cable threading equipment

Legal Events

Date Code Title Description
GR01 Patent grant
GR01 Patent grant
CF01 Termination of patent right due to non-payment of annual fee
CF01 Termination of patent right due to non-payment of annual fee

Granted publication date: 20220708