CN216906126U - 用于边防和野外站点的农作物种植方舱及电力供给、淋雨式灌溉和出风除湿系统 - Google Patents
用于边防和野外站点的农作物种植方舱及电力供给、淋雨式灌溉和出风除湿系统 Download PDFInfo
- Publication number
- CN216906126U CN216906126U CN202220200058.0U CN202220200058U CN216906126U CN 216906126 U CN216906126 U CN 216906126U CN 202220200058 U CN202220200058 U CN 202220200058U CN 216906126 U CN216906126 U CN 216906126U
- Authority
- CN
- China
- Prior art keywords
- planting
- shelter
- irrigation
- water
- air
- Prior art date
- Legal status (The legal status is an assumption and is not a legal conclusion. Google has not performed a legal analysis and makes no representation as to the accuracy of the status listed.)
- Active
Links
- 238000003973 irrigation Methods 0.000 title claims abstract description 90
- 230000002262 irrigation Effects 0.000 title claims abstract description 89
- 230000007123 defense Effects 0.000 title claims abstract description 30
- 238000007791 dehumidification Methods 0.000 title claims abstract description 16
- 239000000725 suspension Substances 0.000 claims abstract description 24
- 230000012010 growth Effects 0.000 claims abstract description 11
- 239000007788 liquid Substances 0.000 claims description 121
- XLYOFNOQVPJJNP-UHFFFAOYSA-N water Substances O XLYOFNOQVPJJNP-UHFFFAOYSA-N 0.000 claims description 71
- 239000003337 fertilizer Substances 0.000 claims description 61
- 238000002156 mixing Methods 0.000 claims description 45
- 235000015097 nutrients Nutrition 0.000 claims description 43
- CURLTUGMZLYLDI-UHFFFAOYSA-N Carbon dioxide Chemical compound O=C=O CURLTUGMZLYLDI-UHFFFAOYSA-N 0.000 claims description 28
- 238000000746 purification Methods 0.000 claims description 28
- 230000007246 mechanism Effects 0.000 claims description 20
- 239000003621 irrigation water Substances 0.000 claims description 19
- 238000009833 condensation Methods 0.000 claims description 18
- 230000005494 condensation Effects 0.000 claims description 17
- 229910002092 carbon dioxide Inorganic materials 0.000 claims description 14
- 239000001569 carbon dioxide Substances 0.000 claims description 14
- 238000010248 power generation Methods 0.000 claims description 13
- 239000004065 semiconductor Substances 0.000 claims description 13
- 238000009423 ventilation Methods 0.000 claims description 13
- 238000001514 detection method Methods 0.000 claims description 12
- 239000000523 sample Substances 0.000 claims description 12
- CBENFWSGALASAD-UHFFFAOYSA-N Ozone Chemical compound [O-][O+]=O CBENFWSGALASAD-UHFFFAOYSA-N 0.000 claims description 11
- 238000005057 refrigeration Methods 0.000 claims description 9
- 238000005507 spraying Methods 0.000 claims description 8
- 238000001914 filtration Methods 0.000 claims description 7
- 229920006395 saturated elastomer Polymers 0.000 claims description 6
- 238000003860 storage Methods 0.000 claims description 6
- 239000000463 material Substances 0.000 claims description 5
- 210000003608 fece Anatomy 0.000 claims 4
- 239000010871 livestock manure Substances 0.000 claims 4
- 230000003750 conditioning effect Effects 0.000 claims 2
- 239000012530 fluid Substances 0.000 claims 2
- QVGXLLKOCUKJST-UHFFFAOYSA-N atomic oxygen Chemical compound [O] QVGXLLKOCUKJST-UHFFFAOYSA-N 0.000 abstract description 7
- 229910052760 oxygen Inorganic materials 0.000 abstract description 7
- 239000001301 oxygen Substances 0.000 abstract description 7
- 230000008901 benefit Effects 0.000 abstract description 2
- 239000000243 solution Substances 0.000 description 15
- 230000001276 controlling effect Effects 0.000 description 8
- 238000004519 manufacturing process Methods 0.000 description 6
- 239000000047 product Substances 0.000 description 6
- 230000001105 regulatory effect Effects 0.000 description 6
- 230000000694 effects Effects 0.000 description 5
- 238000004659 sterilization and disinfection Methods 0.000 description 5
- 238000011161 development Methods 0.000 description 4
- 238000003306 harvesting Methods 0.000 description 4
- 238000005286 illumination Methods 0.000 description 4
- 230000035699 permeability Effects 0.000 description 4
- 230000029553 photosynthesis Effects 0.000 description 4
- 238000010672 photosynthesis Methods 0.000 description 4
- 230000008117 seed development Effects 0.000 description 4
- 230000007226 seed germination Effects 0.000 description 4
- 239000007921 spray Substances 0.000 description 4
- 230000000295 complement effect Effects 0.000 description 3
- 238000005516 engineering process Methods 0.000 description 3
- 230000007613 environmental effect Effects 0.000 description 3
- 238000002347 injection Methods 0.000 description 3
- 239000007924 injection Substances 0.000 description 3
- 238000012546 transfer Methods 0.000 description 3
- 230000009471 action Effects 0.000 description 2
- 238000010586 diagram Methods 0.000 description 2
- 238000009826 distribution Methods 0.000 description 2
- 230000005611 electricity Effects 0.000 description 2
- 230000002349 favourable effect Effects 0.000 description 2
- 230000003993 interaction Effects 0.000 description 2
- 238000000034 method Methods 0.000 description 2
- 238000010992 reflux Methods 0.000 description 2
- 230000029058 respiratory gaseous exchange Effects 0.000 description 2
- 239000007787 solid Substances 0.000 description 2
- 238000012271 agricultural production Methods 0.000 description 1
- 230000005540 biological transmission Effects 0.000 description 1
- 238000004891 communication Methods 0.000 description 1
- 238000010924 continuous production Methods 0.000 description 1
- 238000013461 design Methods 0.000 description 1
- 229920001971 elastomer Polymers 0.000 description 1
- 239000007789 gas Substances 0.000 description 1
- 238000009413 insulation Methods 0.000 description 1
- 239000011159 matrix material Substances 0.000 description 1
- 230000008635 plant growth Effects 0.000 description 1
- 238000001556 precipitation Methods 0.000 description 1
- 238000004321 preservation Methods 0.000 description 1
- 230000002265 prevention Effects 0.000 description 1
- 230000008569 process Effects 0.000 description 1
- 238000005096 rolling process Methods 0.000 description 1
- 239000000126 substance Substances 0.000 description 1
- 239000000758 substrate Substances 0.000 description 1
- 239000013589 supplement Substances 0.000 description 1
- 239000008400 supply water Substances 0.000 description 1
Images
Classifications
-
- Y—GENERAL TAGGING OF NEW TECHNOLOGICAL DEVELOPMENTS; GENERAL TAGGING OF CROSS-SECTIONAL TECHNOLOGIES SPANNING OVER SEVERAL SECTIONS OF THE IPC; TECHNICAL SUBJECTS COVERED BY FORMER USPC CROSS-REFERENCE ART COLLECTIONS [XRACs] AND DIGESTS
- Y02—TECHNOLOGIES OR APPLICATIONS FOR MITIGATION OR ADAPTATION AGAINST CLIMATE CHANGE
- Y02A—TECHNOLOGIES FOR ADAPTATION TO CLIMATE CHANGE
- Y02A40/00—Adaptation technologies in agriculture, forestry, livestock or agroalimentary production
- Y02A40/10—Adaptation technologies in agriculture, forestry, livestock or agroalimentary production in agriculture
- Y02A40/25—Greenhouse technology, e.g. cooling systems therefor
Landscapes
- Hydroponics (AREA)
Abstract
本实用新型公开了用于边防和野外站点的农作物种植方舱及电力供给、淋雨式灌溉和出风除湿系统,包括方舱;方舱上设有门;门设置为方舱前门、方舱后门和方舱侧门中的至少一种或其组合;方舱顶部设置为平顶或有坡的顶,方舱设有进风口和/或出风口;方舱内设有种植区;种植区设置悬挂杆、种植容器、生长灯、电路连接头中的至少一种或其组合;方舱设有控制器,控制器包括控制电路板和/或电器元件,并与供电系统连接,控制电路板设有种植控制系统;本实用新型还公开了用于种植方舱的电力供给系统、淋雨式灌溉系统和种植方舱出风除湿系统;本实用新型种植方舱各系统简洁及结构紧凑,可灵活转移;智能化高效种植,向人居区域供给可调控湿度的富氧空气。
Description
技术领域
本实用新型涉及农作物种植方舱技术领域,尤其涉及用于边防和野外站点的农作物种植方舱及电力供给、淋雨式灌溉和出风除湿系统。
背景技术
植物工厂是通过设施内高精度环境控制,实现农作物连续生产的高效农业系统,是利用智能计算机和电子传感系统对植物生长的生态因子等环境条件进行自动控制,使农业生产从自然生态束缚中脱离出来,按计划不间断进行植物产品生产的工厂化农业系统,使设施内植物在更适宜环境中周期连续性生长发育,增加植物产品产量和品质。
边防站和野外工作站点条件艰苦,农作物产品运输成本高,新鲜程度低,完全照搬植物工厂模式到边防站和野外工作站点,其较大的体积,使其移动和转移很不方便,如果种植区占比及种植密度低,必然种植效率跟不上需要。
植物工厂采用植物补光灯的电能来源,主要由电网输送配电或离网光伏电站供给,植物需要在24小时内提供一定量的光照进行光合作用,供电系统要在各种天气情况下稳定供电;由于边防站和野外工作站点地区,大部分是远离电网系统的,所以需要自身配制风光互补电力系统进行供电;在高海拔地区,植物通过光合作用产生的氧气是人居环境的重要资源,应当科学利用。
在现有方舱种植技术中,集装箱式植物工厂存在灌溉系统复杂,故障率高,种植区占比低和种植密度低导致生产效率低的问题,以及用电问题,其不适合边防及野外高效种植。
为此,急需紧凑性、高效率方舱种植设计,智能化控制高效生产,特别是在边防、野外保温建筑有限的条件下,种植方舱内需要科学而更大的种植区域,使农作物种植区占比要高,种植密度要科学加大;在边防、野外需要高效而自主发电能力很强的种植方舱,使供电效率提高至保证农作物高效生产之需要,并向人居区域供给可控制湿度的富氧空气,使人居环境舒适健康,使灌溉系统简化并密切连接,需要其系统组件可拆卸组合,方便运输和转移。综上所述,现急需用于边防站或野外工作站点的农作物种植系统及配套装置。
实用新型内容
本实用新型的目的在于提供一种用于边防和野外站点的农作物种植方舱,以解决上述背景技术中提出的问题。
为实现上述目的,本实用新型提供如下技术方案:
一种用于边防和野外站点的农作物种植方舱,包括方舱,所述方舱上设有供人员进出和/或操作的门;所述门设置为前门、后门和侧门中的至少一种或其组合;门设置为单开门、双开门、多开门、平开门和卷帘门中的至少一种或其组合,门下方可设置门槛;方舱顶部设置为平顶或设置为带有坡度的顶,如:单坡/双坡/三坡/四坡/多坡顶,使种植方舱顶部不易积水和积雪,并具有风向导流作用;方舱上设有进风口和/或出风口,方舱具有保温性,方舱舱体上可设置吊装连接件和/或连接孔,方舱底部可设置可调支脚和/或轮子;
所述方舱内设有种植区;种植区设置悬挂杆、种植容器、生长灯、电路连接头中的至少一种或其组合;若干个所述悬挂杆、种植容器、生长灯和电路连接头组合形成种植区;所述门和/或方舱内设有电路和/或照明灯;所述方舱设置控制区、供给区和种植区;
所述方舱设有控制器,所述控制器,包括控制电路板和/或电器元件,并与供电系统连接,控制电路板中设有种植控制系统,该种植控制系统对水肥混合、灌溉、光照、恒温、恒湿、通风、二氧化碳供给和臭氧消毒中的至少一种或其组合进行控制,控制器及组件设置在控制区;
其中,控制电路板可设置为PLC控制电路板,所述方舱上可设有用于人机交互的控制面板,所述控制面板与控制电路板连接;
农作物种植控制系统,通过温度传感器数据,对进风机、加热器或具有可控制温度的轴流式热风机进行控制;通过湿度传感器数据,对灌溉泵和三通电磁阀进行控制;通过控制生长灯的开启时间,控制光照;通过回液净化池中的液位传感器数据,控制回液泵启动/关闭;通过水肥混合箱中的EC值检测探头获取参考数据,然后通过各计量泵,分别控制水、A营养素、B营养素、C营养素和其他营养物质的计量,进行水肥混合配比;通过水肥混合箱中的PH值检测探头数据,控制PH值调节液的计量泵;通过智能控制系统设置数据,控制通风时间、二氧化碳供给时间和臭氧消毒时间;如打开门时,种植控制系统控制的电路关闭,照明灯开启;
控制组件、灌溉组件、电池组及电器组件及装置设置在控制区和供给区,为了操作方便,控制区和供给区可设置在门附近。
作为本实用新型进一步的方案:所述种植区还设有支撑件;若干个所述悬挂杆与方舱底板平行,悬挂杆的两端分别与方舱内侧板或支撑件可拆卸连接;悬挂杆一端设有电路连接头,与方舱内侧板或支撑件上设置的电路连接头可拆卸连接;方舱内侧板或支撑件上设置的电路连接头与控制器及电源连接;所述生长灯设置在悬挂杆上,并与悬挂杆上的电路连接头的电路连接;若干个悬挂杆在种植区设置为一层、两层或两层以上,设置为一排、两排或两排以上;所述种植容器可拆卸连接在悬挂杆上;对农作物进行采收或种植操作时,可打开门进行农作物采收,或取出种植容器,或进入种植区顺序取下种植容器和悬挂杆进行采收和种植操作;
所述方舱内可设置培养箱,培养箱用于种子发芽与发育培养,培养箱内可设置恒温装置,用于培养箱内温度恒定,营造培养箱中有利于种子发芽和发育环境因子中更适宜温度;培养箱可设置在方舱内侧板或门上。
作为本实用新型进一步的方案:所述方舱内设置通风温控组件和灌溉循环组件;通风温控组件包括温度传感器、进风口、进风道、进风机、加热器、出风机、出风道和出风口中的至少一种或其组合;温度传感器设置在所述种植区;进风机、加热器和进风门设置在进风道上,进风口向方舱外可加装延长进风道;其中,加热器可设置为风道加热器,进风机和风道加热器可以合并设置为具有可控温度的轴流式热风机,当控制电路板控制进风时,如种植区需提高温度,可控制加热器或热风机工作;当种植方舱用于低纬度、低海拔地区时,可在风道中设置制冷装置,并与恒温系统连接;
通风温控组件中可包括进风门和出风门,用于进风和出风管理;进风门设置在种植区与进风口之间的进风道中;出风门设置在出风道中,或设置在种植区与出风机之间;
灌溉循环组件包括湿度传感器、灌溉泵、阀门(包括:三通阀、电磁阀等)、灌溉水箱、水肥混合箱、PH值调节液箱、营养素箱(包括:A营养素箱、B营养素箱和C营养素箱等)、计量泵、灌溉管道、灌溉喷/滴头和连接配件中的至少一种或其组合,湿度传感器设置在种植区,灌溉泵与灌溉水箱和水肥混合箱通过三通阀门连接,灌溉水箱与水肥混合箱通过计量泵连接向水肥混合箱供水,水肥混合箱与PH值调节液箱和营养素箱分别通过计量泵连接,各营养素和水,按计量通过计量泵输送到水肥混合箱中进行混合,并进行PH值调节;灌溉水箱、水肥混合箱、PH值调节液箱、A营养素箱、B营养素箱和C营养素箱分别设有注液口;灌溉喷/滴头设置在种植容器上方,通过灌溉管道与灌溉泵相连接,对农作物进行灌溉。
作为本实用新型进一步的方案:所述方舱底板上设有回液槽,回液槽通过回液口与回液净化池连接;回液净化池中设有液位传感器;回液净化池设有回液泵,回液泵通过回液管与水肥混合箱连接,液位传感器根据设定的阈值对回液净化池液位进行监控,当液位传感器监控到数据达到设定最高阈值时,控制电路板控制回液泵启动,将净化后的回流液体输送到水肥混合箱中;当液位传感器监控到数据降至设定最低阈值时,控制电路板控制回液泵停止;回液净化池内可设置过滤净化器,对回流液体进行净化处理;回液净化池可设置出液口;水肥混合箱中可设置搅拌器、PH值检测探头和EC值检测探头中的一种或其组合;搅拌器用于水肥均匀混合;PH值检测探头检测水肥均匀混合后的PH值,并与控制电路板连接;EC值检测探头检测水肥均匀混合后的 EC值,并与控制电路板连接。
作为本实用新型进一步的方案:所述方舱上设置二氧化碳发生器和/或臭氧发生器,或设置二氧化碳输入口和/或臭氧输入口;其中,可在方舱的进风道上设置二氧化碳发生器和/或臭氧发生器,或在进风道上设置二氧化碳输入口和/或臭氧输入口,用于二氧化碳气肥供给和农作物种植区臭氧消毒。
本实用新型还涉及的一种用于边防和野外站点的农作物种植方舱的电力供给系统,根据上述所述的一种用于边防和野外站点的农作物种植方舱,所述用于种植方舱的电力供给系统,在种植方舱上设置风力发电装置,为种植方舱提供电力,包括导风板、升降机构、支柱和垂直轴风力发电机组;所述升降机构和支柱设置在种植方舱顶部;所述导风板通过升降机构和/或支柱设置在垂直轴风力发电机组上方;所述导风板迎风面设置为平面、凹面和凹凸面中的至少一种或其组合;在垂直轴风力发电机组周边设有至少一个导风板;所述导风板上设置导风片和/或导风槽;所述升降机构通过驱动连杆与导风板连接,导风板仰角度正常风速以下时设置为45°,遇强风速时,其仰角或倾角角度可根据风速,通过升降机构进行调整;导风板具有汇聚气流和改变气流方向的作用,使风轮在低风速时易启动,并增加风轮转速;导风板上可设置伪装隐蔽网进行隐蔽发电;
所述垂直轴风力发电机组,包括一个、两个或两个以上垂直轴风力发电机,及配套设备、控制电路板和蓄电池组。
作为本实用新型进一步的方案:还包括太阳能电池板和控制电路板,太阳能电池板设置在所述导风板上和/或种植方舱顶部,或将所述导风板设置为太阳能电池板;所述控制电路板可设置为风光互补控制电路板,控制电路板及组件可设置在电器盒中,蓄电池组和电器盒可设置在方舱的电池箱中。
作为本实用新型进一步的方案:还包括挡雪排水板/槽;挡雪排水板/槽设置在所述垂直轴风力发电机组上方,用于防止风轮积雪,并对降水进行导流;挡雪排水板/槽可与导风板连接。
本实用新型还涉及的一种用于边防和野外站点的农作物种植方舱的淋雨式灌溉系统:根据上述所述的一种用于边防和野外站点的农作物种植方舱,所述淋雨式灌溉系统包括种植容器、灌溉泵、灌溉管道、三通阀、灌溉水箱、水肥混合箱和灌溉淋雨头中的至少一种或其组合;
所述种植容器设有透水底板、排水孔和/或溢液口;
所述种植容器中设置种植基质、营养液和/或含具有保水、透水和透气性的人造种植材料基质;
所述灌溉泵与灌溉水箱和水肥混合箱通过三通阀连接;
所述灌溉淋雨头设置在种植容器上方,通过灌溉管道与灌溉泵连接,对农作物进行灌溉;
所述种植容器下方设有回液槽并与出水口和/或回液净化池连接;回液净化池上连接回液泵,回液泵通过回液管与水肥混合箱或出水口连接,将回流液体或净化后的回流液体输送到水肥混合箱中或出水口;可在回液净化池设置过滤净化器对回流液体进行净化处理;
灌溉淋雨头可以是滴水头、喷水头或花洒头;三通阀可采用三通电磁阀;
在所述灌溉淋雨头下方设置一层、两层或两层以上的种植容器,灌溉水箱或水肥混合箱中的水或水肥营养液,通过灌溉泵输送到灌溉淋雨头,并向下方种植容器进行灌溉,当上一层种植容器中水或水肥营养液灌溉饱和后,通过上一层种植容器设有的透水底板、排水孔或溢液口,向下层种植容器进行灌溉,每层如此,当灌溉到底层种植容器水或水肥营养液饱和后向下流入回液槽,或者流入回液净化池中过滤净化,或者由回液泵经回液管输送到水肥混合箱进行循环灌溉。
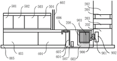
本实用新型还涉及的一种用于边防和野外站点的农作物种植方舱出风除湿系统:根据上述所述的一种用于边防和野外站点的农作物种植方舱,所述种植方舱出风除湿系统包括种植区、出风道、出风机、出风口、冷凝格栅、半导体制冷片、散热器和回液槽中的至少一种或其组合;
所述出风机和冷凝格栅设置在出风道中,出风机与出风口之间设置冷凝格栅,冷凝格栅下方设置回液槽;
所述冷凝格栅与所述半导体制冷片冷端贴合连接;所述散热器与半导体制冷片热端贴合连接,可设置于进风道中,使散热器散发出的热量通过进风道输送到农作物种植区,可使散热器散发的热量被利用;
所述半导体制冷片和散热器可用制冷机替代,用所述冷凝格栅或冷凝器与制冷机连接,而不使用半导体制冷片及散热器;
种植方舱出风除湿系统中还可设置出风门,用于出风管理;出风门可设置在出风道中,或设置在种植区与出风机之间;
其中,可以将所述出风机与冷凝格栅之间的出风道设置为喇叭形,可提高除湿效率。
作为本实用新型进一步的方案:当种植方舱与人居活动区域相接时,无需另外通风管道进行连接,或当种植方舱在人居活动区域中时,种植区农作物在光合作用下空气富氧,人居活动区域在人的呼吸作用下使空气二氧化碳浓度偏高,两区域可进行空气交换,但由于农作物种植区空气湿度大,因此,在农作物种植区出风时,需进行出风空气除湿,以适合人居活动区域环境的适宜湿度,向人居活动区域供给可控制湿度的富氧空气,使人居环境舒适健康;种植方舱出风口和进风口设置在与人居活动区域,利于空气交换。
采用了上述技术方案后,本实用新型的效果是:
1、本实用新型使用淋雨式灌溉系统及种植技术,灌溉系统得以简化,各系统能够密切连接,使种植方舱结构紧凑,方便转移和运输;
2、本实用新型使用了淋雨式灌溉系统及种植技术,使农作物种植区占比更高,可种植密度更大,并通过智能化控制,减少人工,高效种植;
3、本实用新型与人居活动区域相接时,向人居活动区域供给可调控湿度的富氧空气,使人居环境舒适健康;
4、本实用新型采用风光互补供电方式,用导风板、导流板、挡雪板和配套改进型风轮及垂直轴风力发电机组装置,克服了高海拔、高纬度地区,降水积雪积冰,对发电系统的影响,充分利用风能进行高效发电,真正保证了农作物的高效生产;
5、本实用新型的种植方舱上面的导风板、导流板和挡雪板,设置为伪装板或用伪装网覆盖,不会影响风力发电系统运行,使种植方舱具有隐蔽性;
6、本实用新型的种植方舱安装有轮子或安放在车辆上,可灵活转移,农作物在行进中稳定生长,不受影响;
7、本实用新型解决了现有技术中,集装箱式植物工厂存在灌溉系统复杂,故障率高,种植区占比低和种植密度低等导致生产效率低的问题。
附图说明
图1是本实用新型实施例种植方舱结构1立体解剖图;
图2是本实用新型实施例种植方舱结构2立体解剖图;
图3是本实用新型实施例种植方舱结构左侧解剖图;
图4是本实用新型实施例种植方舱结构右侧解剖图;
图5是本实用新型实施例种植方舱生产状态右侧解剖图;
图6是图5A-A剖面图;
图7是本实用新型实施例种植方舱结构3立体解剖图;
图8是本实用新型实施例种植方舱种植区悬挂杆结构仰视图;
图9是图8A-A剖面图;
图10是本实用新型实施例种植方舱控制区和供给区布置形式1立体图;
图11是本实用新型实施例种植方舱控制区和供给区布置形式1正视图;
图12是图11A-A剖面俯视图;
图13是图11B-B剖面俯视图;
图14是本实用新型实施例种植方舱控制区和供给区布置形式1俯视图;
图15是图14C-C剖面图;
图16是本实用新型实施例种植方舱控制区和供给区布置形式1后视图;
图17是本实用新型实施例种植方舱控制区和供给区布置形式2立体图;
图18是本实用新型实施例方舱电池箱立体图;
图19是本实用新型实施例方舱电池箱俯视图;
图20是本实用新型实施例方舱发电系统风光互补控制框图;
图21是本实用新型实施例方舱发电系统升降机构1导风板升起时立体图;
图22是本实用新型实施例方舱发电系统升降机构1导风板平放时立体图;
图23是本实用新型实施例方舱发电系统升降机构1导风板降下时立体图;
图24是本实用新型实施例方舱发电系统升降机构1导风板升起时左视图;
图25是本实用新型实施例方舱发电系统升降机构2导风板升起时立体图;
图26是本实用新型实施例方舱发电系统升降机构2导风板降下时立体图;
图27是本实用新型实施例种植方舱淋雨式灌溉系统结构图;
图28是本实用新型实施例种植方舱出风除湿系统结构正视图;
图29是本实用新型实施例种植方舱出风除湿系统结构俯视图;
图30是本实用新型实施例种植方舱实际应用形式之一示意图。
其中:001-方舱,002-顶板,003-内侧板,004-支柱,005-底板,006- 前门,007-后门,008-供给箱,009-电池箱,100-种植区,101-生长灯,102- 悬挂杆,103-溢液口,104-种植容器,105-农作物,106-实体板,107-人造种植材料基质,108-网孔板,109-支撑件,110-培养箱,111-营养液,200- 布管式风道,201-进风口,202-进风道,203-进风机,204-风道加热器,207- 出风机,208-出风道,209-出风口,401-灌溉泵,402-三通电磁阀,403-灌溉水箱,404-水肥混合箱,405-计量泵,501-PH值调节液箱,502-A营养素箱, 503-B营养素箱,504-C营养素箱,505-注液口,506-出液口,507-过滤净化器,601-灌溉淋雨头,602-灌溉管道,603-回液槽,604-回液净化池,605- 回液口,606-回液泵,607-回液管,608-控制器,609-PLC控制电路板,610- 控制面板,701-垂直轴风力发电机,702-导风板,703-升降机构,704-驱动连杆,705-蓄电池组,706-电器盒,710-导风片,805-太阳能电池板,806- 挡雪排水板,809-半导体制冷片,900-冷端,901-热端,902-散热器,903- 冷凝格栅,904-喇叭形风道,906-厨房,908-营房人居活动区域。
具体实施方式
在本实用新型的描述中,需要理解的是,术语“中心”、“纵向”、“横向”、“上”、“下”、“前”、“后”、“左”、“右”、“垂直”、“水平”、“上面”、“下面”、“顶”、“底”、“内”、“外”等指示的方位或位置关系为基于附图所示的方位或位置关系,仅是为了便于描述本实用新型和简化描述,而不是指示或暗示所指的装置或元件必须具有特定的方位、以特定的方位构造和操作,因此不能理解为对本实用新型的限制。
在本实用新型的描述中,需要说明的是,除非另有明确的规定和限定,术语“若干个”的含义是两个或两个以上,“多排”的含义是两排或两排以上,“多层”的含义是两层或两层以上,术语“安装”、“相连”、“连接”应做广义理解,其“连接”包含固定连接、可拆卸连接、电连接、防水连接、铰链连接、软连接、硬连接、伸缩连接、直接相连、通过中间媒介间接相连和两个元件内部的连通等;对于本领域的普通技术人员而言,可以通过具体情况理解上述术语在本实用新型中的具体含义。
下面将结合本实用新型实施例中的附图,对本实用新型实施例中的技术方案进行清楚、完整地描述,显然,所描述的实施例,仅仅是本实用新型的一部分实施例,而不是全部的实施例。基于本实用新型中的实施例,本领域技术人员在没有做出创造性劳动前提下所获得的所有其他实施例,都属于本实用新型保护的范围。
实施例1
如图1~19所示,为用于边防和野外站点的农作物种植方舱001,方舱 001上设有供人员进出和操作的前门006和后门007,前门006设置为单开门,门下方及旁边设置供给箱008,前门006附近区域及供给箱008设置为控制区和供给区,其中设有控制器608及组件、灌溉装置及组件,控制器608内设有控制电路板和电器元件,并与供电系统连接,控制电路板中设有种植控制系统,该种植控制系统对水肥混合、灌溉、光照、恒温、恒湿、通风、二氧化碳供给和臭氧消毒进行控制;控制电路板设置为PLC控制电路板609,前门 006设有用于人机交互的控制面板610,控制面板610与控制电路板连接;后门007设置为双开门,后门007下方设置供给箱008和电池箱009,电池箱 009内设置电池组及电器组件;
前门006、后门007和方舱001内设有电路开关和照明灯;方舱001顶部顶板002设置为四坡顶板002;前门006附近设有进风口201和出风口209;
种植区100设有支撑件109;若干个悬挂杆102与底板005平行,悬挂杆 102的两端分别与方舱001内侧板003或支撑件109插接;悬挂杆102一端设有电路连接头,与方舱001内侧板003或支撑件109上设置的电路连接头防水插接;内侧板003或支撑件109上设置的电路连接头与控制电路板及电源连接;所述生长灯101设置在悬挂杆102上,并与悬挂杆102上的电路连接头的电路连接;六十六个悬挂杆102在种植区100设置为六层十一排;种植容器104悬挂在悬挂杆102上;对农作物105进行采收或种植操作时,打开前门006或后门007进行农作物105采收,或取出种植容器104,或进入种植区100顺序取下种植容器104和悬挂杆102进行采收和种植操作;
方舱001内及前门006附近设有培养箱110,培养箱110用于种子发芽与发育培养,培养箱110内设有恒温装置,用于培养箱110内温度恒定,营造培养箱110中有利于种子发芽和发育环境因子中更适宜温度;
其中,方舱001内还设有通风温控组件和灌溉循环组件;通风温控组件设有温度传感器、进风口201、进风道202、进风机203、加热器、出风机207、出风道208和出风口209;温度传感器设置在种植区100;进风机203、加热器和进风门设置在进风道202上,进风口201向方舱001外可加装延长进风道202;其中,加热器设置为风道加热器204,当控制电路板控制进风时,如种植区100需提高温度,可控制加热器或热风机工作;在种植区100上部的进风道202设置为布管式风道200;
通风温控组件中可设置进风门和出风门(图中未示出),用于进风和出风管理;进风门设置在种植区100与进风口201之间的进风道202中;出风门设置在出风道208中,或设置在种植区100与出风机207之间;
灌溉循环组件设有湿度传感器、灌溉泵401、三通电磁阀402、灌溉水箱 403、水肥混合箱404、搅拌器、PH值调节液箱501、A营养素箱502、B营养素箱503、C营养素箱504、计量泵405、灌溉管道602、灌溉喷头、回液槽 603、回液净化池604、液位传感器、回液泵606和回液管607;控制器608 内设有农作物105种植智能控制系统控制电路板和电路开关;
湿度传感器设置在种植区100,灌溉泵401与灌溉水箱403和水肥混合箱 404通过三通电磁阀402连接,灌溉水箱403与水肥混合箱404通过计量泵 405连接向水肥混合箱404供水,PH值调节液箱501、A营养素箱502、B营养素箱503和C营养素箱504分别通过计量泵405连接水肥混合箱404,按计量输送各液体到水肥混合箱404中进行混合,并进行PH值调节;水肥混合箱 404中设置搅拌器、PH值检测探头和EC值检测探头;搅拌器用于水肥均匀混合;PH值检测探头检测水肥均匀混合后的PH值,并与控制电路板连接;EC 值检测探头检测水肥均匀混合后的EC值,并与控制电路板连接;
灌溉水箱403、水肥混合箱404、PH值调节液箱501、A营养素箱502、B 营养素箱503和C营养素箱504分别设有注液口505;灌溉喷头设置在种植容器104上方,通过灌溉管道602与灌溉泵401连接,对农作物105进行灌溉;
方舱001底板005上设有回液槽603,回液槽603通过回液口605与回液净化池604连接;回液净化池604中设有液位传感器;回液净化池604设有回液泵606,回液泵606通过回液管607与水肥混合箱404连接,液位传感器根据设定的阈值对回液净化池604液位进行监控,当液位传感器监控到数据达到设定最高阈值时,控制电路板控制回液泵606启动,将净化后的回流液体输送到水肥混合箱404中;当液位传感器监控到数据降至设定最低阈值时,控制电路板控制回液泵606停止;回液净化池604内设有过滤净化器507,对回流液体进行净化处理;回液净化池604设有出液口506;
其中,生长灯101设置为防水LED生长灯101灯条,使生长灯101防水、防潮;电路连接头设有防水橡胶件,用于防水、防潮;种植方舱001内设置二氧化碳发生器和臭氧发生器(图中未示出),用于二氧化碳供给和农作物 105种植区100消毒。
实施例2
如图18~26所示,为用于种植方舱001的电力供给系统,采用上述一种用于边防和野外站点的农作物种植方舱001,为向种植方舱001提供电力,在种植方舱001顶部设置导风板702、升降机构703、支柱004和垂直轴风力发电机701组;导风板702通过升降机构703和支柱004设置在垂直轴风力发电机701组上方;导风板702迎风面设置为平面;在垂直轴风力发电机701 组上方设有两个导风板702;导风板702上设置导风片710;升降机构703通过驱动连杆704与导风板702连接,导风板702仰角度正常风速以下时设置为45°,遇强风速时,其仰角或倾角角度根据风速,通过升降机构703进行调整;导风板702及导风片710具有汇聚气流和改变气流方向的作用,使风轮在低风速时易启动,并增加风轮转速;
垂直轴风力发电机701组,设置为四个垂直轴风力发电机701,及配套设备、控制电路板和蓄电池组705;
其中,还设有太阳能电池板805和控制电路板,太阳能电池板805设置在种植方舱001顶部阳坡上,导风板702设置为太阳能电池板805;控制电路板设置为风光互补控制电路板,蓄电池组705和电器盒706设置在电池箱009 中,控制电路板及组件设置在电器盒706中;
其中,还设有挡雪排水板806;挡雪排水板806设置在垂直轴风力发电机 701组上方,用于防止发电机风轮积雪,并对降水进行导流;挡雪排水板806 与导风板702连接。
实施例3
如图27所示,为淋雨式灌溉系统,采用上述一种用于边防和野外站点的农作物种植方舱001,为种植方舱001中种植容器104提供淋雨式灌溉系统,设有种植容器104、灌溉泵401、灌溉管道602、三通阀、灌溉水箱403、水肥混合箱404和灌溉淋雨头601;种植容器104形式之一容器底板采用透水的网孔板108,其中设置含具有保水、透水和透气性的人造种植材料基质107;种植容器104形式之二容器采用不透水的实体板106,并设有溢液管及溢液口103,其中设置营养液111;灌溉泵401、灌溉水箱403和水肥混合箱404通过三通阀连接;灌溉淋雨头601设置在种植容器104上方,通过灌溉管道602 与灌溉泵401连接,对农作物105进行灌溉;种植容器104下方设有回液槽 603并与出水口和回液净化池604连接;回液净化池604上连接回液泵606,回液泵606通过回液管607与水肥混合箱404连接,将净化后的回流液体输送到水肥混合箱404中;在回液净化池604设有过滤净化器507对回流液体进行净化处理;
灌溉淋雨头601设置为花洒头;三通阀采用三通电磁阀402;
在灌溉淋雨头601下方设置六层种植容器104,灌溉水箱403或水肥混合箱404中的水或水肥营养液111,通过灌溉泵401输送到灌溉淋雨头601,并向下方种植容器104进行灌溉,当上一层种植容器104中水或水肥营养液111 灌溉饱和后,通过上一层种植容器104设置的透水网孔板108或溢液口103,向下层种植容器104进行灌溉,每层如此,当灌溉到底层种植容器104水或水肥营养液111饱和后向下流入回液槽603,再流入回液净化池604中过滤净化,然后由回液泵606经回液管607输送到水肥混合箱404进行循环灌溉。
实施例4
如图28~29所示,为种植方舱001出风除湿系统,采用上述一种用于边防和野外站点的农作物种植方舱001,种植方舱001出风除湿系统包括农作物 105种植区100、出风道208、出风机207、出风口209、冷凝格栅903、半导体制冷片809、散热器902、回液槽603和进风道202;
种植方舱001出风除湿系统中可设置出风门(图中未示出),用于出风管理;出风门设置在出风道208中,或设置在种植区100与出风机207之间;
出风机207与出风口209之间设置冷凝格栅903,冷凝格栅903下方设置回液槽603;出风机207和冷凝格栅903设置在出风道208中,冷凝格栅903 与半导体制冷片809冷端900贴合连接;散热器902与半导体制冷片809热端901贴合连接,并置于进风道202中,散热器902散发出的热量通过进风道202输送到农作物105种植区100,利用散热器902热量进行种植;其中,出风机207与冷凝格栅903之间的出风道208设置为喇叭形风道904,提高除湿效率。
实施例5
如图30所示,为种植方舱001实际应用形式之一,当种植方舱001与人居活动区域相接时,无需另外通风管道进行连接,种植区100农作物105在光合作用下空气富氧,人居活动区域在人的呼吸作用下使空气二氧化碳浓度偏高,两区域可进行空气交换,但由于农作物105种植区100空气湿度大,因此,在农作物105种植区100出风时,需进行出风空气除湿,以适合人居活动区域环境的适宜湿度,向人居活动区域供给可控制湿度的富氧空气,使人居环境舒适健康;种植方舱001出风口209和进风口201设置在与营房人居活动区域908,利于空气交换,种植方舱001后门007与厨房906连接,方便新鲜食材的获取和操作。
对于本领域技术人员而言,显然本实用新型不限于上述示范性实施例的细节,而且在不背离本实用新型的精神或基本特征的情况下,能够以其他的具体形式实现本实用新型。因此,无论从哪一点来看,均应将实施例看作是示范性的,而且是非限制性的,本实用新型的范围由所附权利要求而不是上述说明限定,因此旨在将落在权利要求的等同要件的含义和范围内的所有变化囊括在本实用新型内。不应将权利要求中的任何附图标记视为限制所涉及的权利要求。
此外,应当理解,虽然本说明书按照实施方式加以描述,但并非每个实施方式仅包含一个独立的技术方案,说明书的这种叙述方式仅仅是为清楚起见,本领域技术人员应当将说明书作为一个整体,各实施例中的技术方案也可以经适当组合,形成本领域技术人员可以理解的其他实施方式。
Claims (10)
1.一种用于边防和野外站点的农作物种植方舱,其特征在于:包括方舱,所述方舱上设有门,所述门设置为方舱前门、方舱后门和方舱侧门中的至少一种或其组合;方舱顶部设置为平顶或有坡的顶,方舱设有进风口和/或出风口;
所述方舱内设有种植区;种植区设置悬挂杆、种植容器、生长灯、电路连接头中的至少一种或其组合;
所述方舱设有控制器,所述控制器,包括控制电路板和/或电器元件,并与供电系统连接,控制电路板中设有种植控制系统。
2.根据权利要求1所述的一种用于边防和野外站点的农作物种植方舱,其特征在于:所述种植区还设有支撑件;所述悬挂杆与方舱底板平行,悬挂杆的两端分别与方舱内侧板或支撑件连接;悬挂杆一端设有电路连接头,与方舱内侧板或支撑件上设置的电路连接头连接;方舱内侧板或支撑件上设置的电路连接头与控制器及电源连接;所述生长灯设置在悬挂杆上,并与悬挂杆上的电路连接头的电路连接;所述种植容器设置在所述悬挂杆上;所述方舱内可设置培养箱,培养箱内可设置恒温装置。
3.根据权利要求1所述的一种用于边防和野外站点的农作物种植方舱,其特征在于:所述方舱内设置通风温控组件和灌溉循环组件;
通风温控组件包括温度传感器、进风口、进风道、进风机、加热器、出风机、出风道和出风口中的至少一种或其组合;温度传感器设置在所述种植区;进风机、加热器和进风门设置在进风道上;
灌溉循环组件包括湿度传感器、灌溉泵、阀门、灌溉水箱、水肥混合箱、PH值调节液箱、营养素箱、计量泵、灌溉管道、灌溉头和连接配件中的至少一种或其组合,湿度传感器设置在种植区,灌溉泵与灌溉水箱和水肥混合箱通过阀门连接,灌溉水箱与水肥混合箱通过计量泵连接,水肥混合箱与PH值调节液箱和营养素箱分别通过计量泵连接,灌溉头设置在种植容器上方,通过灌溉管道与灌溉泵连接。
4.根据权利要求2所述的一种用于边防和野外站点的农作物种植方舱,其特征在于:所述方舱底板上设有回液槽,回液槽通过回液口与回液净化池连接,回液净化池中设有液位传感器,回液净化池设有回液泵,回液泵通过回液管与水肥混合箱连接,回液净化池内可设置过滤净化器;水肥混合箱中可设置搅拌器、PH值检测探头和EC值检测探头中的一种或其组合。
5.根据权利要求1所述的一种用于边防和野外站点的农作物种植方舱,其特征在于:所述方舱上设置二氧化碳发生器和/或臭氧发生器,或设置二氧化碳输入口和/或臭氧输入口。
6.一种用于边防和野外站点的农作物种植方舱的电力供给系统,根据权利要求1~5中任意一项所述的一种用于边防和野外站点的农作物种植方舱,所述用于种植方舱的电力供给系统,在种植方舱上设置风力发电装置,其特征在于:包括导风板、升降机构、支柱和垂直轴风力发电机组;所述升降机构和支柱设置在种植方舱顶部;所述导风板通过升降机构和/或支柱设置在垂直轴风力发电机组上方;导风板迎风面设置为平面、凹面和凹凸面中的至少一种或其组合;在垂直轴风力发电机组周边设有至少一个导风板;导风板上设置导风片和/或导风槽;所述升降机构通过驱动连杆与导风板连接;
所述垂直轴风力发电机组,包括一个、两个或两个以上垂直轴风力发电机,及配套设备、控制电路板和蓄电池组。
7.根据权利要求6所述的一种用于边防和野外站点的农作物种植方舱的电力供给系统,其特征在于:还包括太阳能电池板和控制电路板,太阳能电池板设置在所述导风板上和/或种植方舱顶部,或将所述导风板设置为太阳能电池板。
8.根据权利要求6所述的一种用于边防和野外站点的农作物种植方舱的电力供给系统,其特征在于:还包括挡雪排水板/槽;挡雪排水板/槽设置在所述垂直轴风力发电机组上方;挡雪排水板/槽可与导风板连接。
9.一种用于边防和野外站点的农作物种植方舱的淋雨式灌溉系统,根据权利要求1~5中任意一项所述的一种用于边防和野外站点的农作物种植方舱,其特征在于:所述淋雨式灌溉系统包括种植容器、灌溉泵、灌溉管道、三通阀、灌溉水箱、水肥混合箱和灌溉淋雨头中的至少一种或其组合;
所述种植容器设有透水底板、排水孔和/或溢液口;
所述种植容器中设置种植基质、营养液和/或人造种植材料;
所述灌溉泵与灌溉水箱和水肥混合箱通过阀门连接;
所述灌溉淋雨头设置在种植容器上方,通过灌溉管道与灌溉泵连接;
所述种植容器下方设有回液槽并与出水口和/或回液净化池连接;
在所述灌溉淋雨头下方设置一层、两层或两层以上的种植容器,灌溉水箱或水肥混合箱中的水或水肥营养液,通过灌溉泵输送到灌溉淋雨头,并向下方种植容器进行灌溉,当上一层种植容器中水或水肥营养液灌溉饱和后,通过上一层种植容器设有的透水底板、排水孔或溢液口,向下层种植容器进行灌溉,每层如此,当灌溉到底层种植容器中水或水肥营养液饱和后向下流入回液槽。
10.一种用于边防和野外站点的农作物种植方舱出风除湿系统,根据权利要求1~5中任意一项所述的一种用于边防和野外站点的农作物种植方舱,其特征在于:所述种植方舱出风除湿系统包括种植区、出风道、出风机、出风口、冷凝格栅、半导体制冷片、散热器和回液槽中的至少一种或其组合;
所述出风机和冷凝格栅设置在出风道中,出风机与出风口之间设置冷凝格栅,冷凝格栅下方设置回液槽;
所述冷凝格栅与所述半导体制冷片冷端贴合连接;所述散热器与半导体制冷片热端贴合连接;
所述半导体制冷片和散热器可用制冷机替代,用所述冷凝格栅或冷凝器与制冷机连接。
Priority Applications (1)
| Application Number | Priority Date | Filing Date | Title |
|---|---|---|---|
| CN202220200058.0U CN216906126U (zh) | 2022-01-25 | 2022-01-25 | 用于边防和野外站点的农作物种植方舱及电力供给、淋雨式灌溉和出风除湿系统 |
Applications Claiming Priority (1)
| Application Number | Priority Date | Filing Date | Title |
|---|---|---|---|
| CN202220200058.0U CN216906126U (zh) | 2022-01-25 | 2022-01-25 | 用于边防和野外站点的农作物种植方舱及电力供给、淋雨式灌溉和出风除湿系统 |
Publications (1)
| Publication Number | Publication Date |
|---|---|
| CN216906126U true CN216906126U (zh) | 2022-07-08 |
Family
ID=82265107
Family Applications (1)
| Application Number | Title | Priority Date | Filing Date |
|---|---|---|---|
| CN202220200058.0U Active CN216906126U (zh) | 2022-01-25 | 2022-01-25 | 用于边防和野外站点的农作物种植方舱及电力供给、淋雨式灌溉和出风除湿系统 |
Country Status (1)
| Country | Link |
|---|---|
| CN (1) | CN216906126U (zh) |
Cited By (3)
| Publication number | Priority date | Publication date | Assignee | Title |
|---|---|---|---|---|
| CN114521424A (zh) * | 2022-01-25 | 2022-05-24 | 史顺海 | 一种可用于边防和野外站点的紧凑型植物工厂式种植方舱 |
| CN116868814A (zh) * | 2023-06-08 | 2023-10-13 | 万国数据服务有限公司 | 一种种植方舱 |
| CN117204244A (zh) * | 2023-11-06 | 2023-12-12 | 东川区耀春种植专业合作社 | 一种农作物种植区出风除湿装置 |
-
2022
- 2022-01-25 CN CN202220200058.0U patent/CN216906126U/zh active Active
Cited By (4)
| Publication number | Priority date | Publication date | Assignee | Title |
|---|---|---|---|---|
| CN114521424A (zh) * | 2022-01-25 | 2022-05-24 | 史顺海 | 一种可用于边防和野外站点的紧凑型植物工厂式种植方舱 |
| CN116868814A (zh) * | 2023-06-08 | 2023-10-13 | 万国数据服务有限公司 | 一种种植方舱 |
| CN117204244A (zh) * | 2023-11-06 | 2023-12-12 | 东川区耀春种植专业合作社 | 一种农作物种植区出风除湿装置 |
| CN117204244B (zh) * | 2023-11-06 | 2024-01-19 | 东川区耀春种植专业合作社 | 一种农作物种植区出风除湿装置 |
Similar Documents
| Publication | Publication Date | Title |
|---|---|---|
| CN216906126U (zh) | 用于边防和野外站点的农作物种植方舱及电力供给、淋雨式灌溉和出风除湿系统 | |
| CN205018017U (zh) | 智能水培蔬菜种植柜 | |
| CN106212111A (zh) | 一种植物工厂系统 | |
| CN107810751B (zh) | 一种可集雨灌溉的智能农业大棚 | |
| CN102235102A (zh) | 一种内营养源农业种植设施 | |
| CN102692909B (zh) | 空气置换环境修复装置及修复系统 | |
| CN201766905U (zh) | 大棚能量调控和循环系统 | |
| CN201766906U (zh) | 导热管道水循环系统 | |
| CN110326579A (zh) | 适于北方地区的双面连体温室鱼菜种养系统及种养方法 | |
| CN202819146U (zh) | 智能型鸟巢式综合种植大棚 | |
| CN114521424A (zh) | 一种可用于边防和野外站点的紧凑型植物工厂式种植方舱 | |
| CN109105071A (zh) | 一种玉米种植育苗用模拟生长环境的智能大棚 | |
| CN207167195U (zh) | 一种用于油茶种植的大棚 | |
| CN110896758A (zh) | 一种可移动生态集装箱种植系统 | |
| CN204697665U (zh) | 基于太阳能滴灌的无土栽培设备 | |
| CN114503857A (zh) | 一种苦荞培育大棚 | |
| CN113089937A (zh) | 一种基于太阳能和微生物发电的自动化蓝绿屋顶系统 | |
| CN218388940U (zh) | 可控制二氧化碳的环保温室 | |
| US12464993B2 (en) | Vertical hydroponic system | |
| CN205922345U (zh) | 一种用于无土栽培的智能城市屋顶菜园 | |
| CN212910967U (zh) | 一种智能植物加代育种舱 | |
| CN204968839U (zh) | 一种喷雾式无土栽培装置 | |
| CN213662759U (zh) | 一种用于温室内酿热补气的装置 | |
| CN116391545A (zh) | 一种大棚内的光伏组件一体化水循环智能温度调节装置 | |
| CN110856465A (zh) | 一种全天侯智慧化立体种养农业设施系统 |
Legal Events
| Date | Code | Title | Description |
|---|---|---|---|
| GR01 | Patent grant | ||
| GR01 | Patent grant |