CN216880553U - 用于陶瓷窑炉的挡边砖清扫装置 - Google Patents
用于陶瓷窑炉的挡边砖清扫装置 Download PDFInfo
- Publication number
- CN216880553U CN216880553U CN202123356219.XU CN202123356219U CN216880553U CN 216880553 U CN216880553 U CN 216880553U CN 202123356219 U CN202123356219 U CN 202123356219U CN 216880553 U CN216880553 U CN 216880553U
- Authority
- CN
- China
- Prior art keywords
- connecting plate
- motors
- support rod
- translation
- cleaning
- Prior art date
- Legal status (The legal status is an assumption and is not a legal conclusion. Google has not performed a legal analysis and makes no representation as to the accuracy of the status listed.)
- Active
Links
- 239000011449 brick Substances 0.000 title claims abstract description 41
- 238000004140 cleaning Methods 0.000 title claims abstract description 34
- 239000000919 ceramic Substances 0.000 title claims abstract description 20
- 230000007246 mechanism Effects 0.000 claims abstract description 16
- 238000004519 manufacturing process Methods 0.000 claims description 7
- 238000010408 sweeping Methods 0.000 claims description 6
- 230000000903 blocking effect Effects 0.000 abstract description 10
- 239000000835 fiber Substances 0.000 abstract description 6
- 229920000742 Cotton Polymers 0.000 description 5
- 239000000853 adhesive Substances 0.000 description 1
- 230000001070 adhesive effect Effects 0.000 description 1
- 239000000084 colloidal system Substances 0.000 description 1
- 238000010304 firing Methods 0.000 description 1
- 238000012423 maintenance Methods 0.000 description 1
- 239000000463 material Substances 0.000 description 1
Images
Classifications
-
- Y—GENERAL TAGGING OF NEW TECHNOLOGICAL DEVELOPMENTS; GENERAL TAGGING OF CROSS-SECTIONAL TECHNOLOGIES SPANNING OVER SEVERAL SECTIONS OF THE IPC; TECHNICAL SUBJECTS COVERED BY FORMER USPC CROSS-REFERENCE ART COLLECTIONS [XRACs] AND DIGESTS
- Y02—TECHNOLOGIES OR APPLICATIONS FOR MITIGATION OR ADAPTATION AGAINST CLIMATE CHANGE
- Y02P—CLIMATE CHANGE MITIGATION TECHNOLOGIES IN THE PRODUCTION OR PROCESSING OF GOODS
- Y02P40/00—Technologies relating to the processing of minerals
- Y02P40/60—Production of ceramic materials or ceramic elements, e.g. substitution of clay or shale by alternative raw materials, e.g. ashes
Landscapes
- Cleaning In General (AREA)
Abstract
本实用新型公开了一种用于陶瓷窑炉的挡边砖清扫装置,属于陶瓷窑炉清洁技术领域,包括设置在流水线两侧支柱上的移动机构、支撑杆和清扫刷;所述移动机构包括升降电机和平移电机,升降电机对称设置在支柱之间的相邻侧,升降电机之间设置有平移电机;移动机构对称设置在流水线两侧的支柱上;平移电机之间连接固定有支撑杆,支撑杆上旋转配合有清扫刷;所述升降电机和平移电机之间设置有连接板,连接板分别与升降电机和平移电机通过螺栓螺纹配合。与现有技术相比现有的挡边砖底部因粘连高温纤维碎薄棉,导致再使用时,影响挡边砖和垫板之间的密闭性,进而影响产品质量的问题,并且具有结构简单,操作方便的特点。
Description
技术领域
本实用新型涉及陶瓷窑炉清洁技术领域,特别是属于一种用于陶瓷窑炉的挡边砖清扫装置。
背景技术
陶瓷窑炉在长时间工作后,其内部挡边砖底部常会粘连高温纤维碎薄棉,当粘连过厚时,会影响挡边砖和垫板之间的密闭性,导致陶瓷在烧成发泡的过程中,胶体料与挡边砖和垫板发生粘连,造成烂边角,甚至砖体拉裂的情况发生,影响产品质量。
发明内容
本实用新型的目的即在于提供一种用于陶瓷窑炉的挡边砖清扫装置,达到解决现有的挡边砖底部粘连高温纤维碎薄棉后,再使用影响挡边砖和垫板之间的密闭性,进而影响产品质量的问题。
本实用新型提供的用于陶瓷窑炉的挡边砖清扫装置,包括设置在流水线两侧支柱上的移动机构、支撑杆和清扫刷;所述移动机构包括升降电机和平移电机,升降电机对称设置在支柱之间的相邻侧,升降电机之间设置有平移电机;移动机构对称设置在流水线两侧的支柱上;平移电机之间连接固定有支撑杆,支撑杆上旋转配合有清扫刷。
进一步的,所述升降电机和平移电机之间设置有连接板,连接板分别与升降电机和平移电机通过螺栓螺纹配合。
进一步的,所述平移电机和支撑杆之间设置有连接板;连接板和平移电机通过螺栓螺纹配合;支撑杆穿过连接板,并在连接板远离流水线的一侧设置有连接环;连接环分别与支撑杆和连接板通过螺栓螺纹配合。
进一步的,所述连接板为L型板。
进一步的,所述支撑杆在清扫刷两端对称设置有限位卡箍。
进一步的,所述清扫刷为硬毛刷筒。
本实用新型所提供的一种用于陶瓷窑炉的挡边砖清扫装置,每次陶瓷烧制完成后,在窑尾机械手将挡边砖转载到流水线时,在流水线上方设计有清扫刷,清扫刷通过设置在流水线两侧支柱上的移动机构,带动其进行位置移动,从而实现对挡边砖底部的清扫,避免挡边砖再使用时,其底部粘连的高温纤维碎薄棉过厚,影响挡边砖和垫板之间密闭性的问题,进而有效保证产品的质量。
附图说明
附图部分公开了本实用新型具体实施例,其中,
图1为本实用新型的结构示意图;
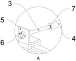
图2为本实用新型由图1引出的A局部放大图;
图3为本实用新型的正视图;
图4为本实用新型由图3引出的B-B剖视图;
图5为本实用新型的俯视图。
具体实施方式
本实用新型提供的用于陶瓷窑炉的挡边砖清扫装置,安装在窑尾转载挡边砖的流水线C上方,用于清扫挡边砖的底部。包括移动机构、支撑杆3和清扫刷4;移动机构对称设置在流水线C两侧的支柱D上,移动机构包括升降电机1和平移电机2;如图1,升降电机1通过螺栓螺纹配合在支柱D一侧,且升降电机1对称设置在支柱D之间的相邻侧,升降电机1用于带动清扫刷4进行高度位置移动;升降电机1一侧通过螺栓螺纹配合有连接板5,连接板5优选L型板,每对升降电机1在相应的连接板5之间通过螺栓螺纹配合有平移电机2,平移电机2用于带动清扫刷4进行前后方向移动;
平移电机2上方通过螺栓螺纹配合有连接板5;在流水线C两侧,每对平移电机2的上方,支撑杆3位于连接板5之间,且支撑杆3两端分别穿出连接板5;支撑杆3穿出连接板5的两端,在连接板5远离流水线的一侧设置有连接环6;连接环6分别与支撑杆3和连接板5通过螺栓螺纹配合;支撑杆3上旋转配合有清扫刷4,清扫刷4优选为硬毛刷筒;支撑杆3与连接板5之间采用螺栓连接,便于安装拆卸,方便后续保养时对清扫刷4进行维护更换;
支撑杆3在清扫刷4两端对称设置有限位卡箍7,限位卡箍7用来限位清扫刷4,避免清扫刷4受力发生偏移,进一步避免挡边砖清扫不干净。
在具体的实施例中,操作人员在窑尾机械手将挡边砖转载到流水线C上方时暂停,然后启动升降电机1,带动清扫刷4移动至刷毛贴靠挡边砖底部位置,即可停止升降电机1,之后启动平移电机2,进行往复直线运动,带动清扫刷4往复清扫挡边砖底部,去除粘连的高温纤维碎薄棉,待挡边砖底部清理完成后,操作人员操作移动机构,带动清扫刷4移动至不妨碍挡边砖转载的一旁即可。
综上所述,本实用新型结构简单,操作方便,有效解决了现有的挡边砖底部因粘连高温纤维碎薄棉,导致再使用时,影响挡边砖和垫板之间的密闭性,进而影响产品质量的问题。
Claims (6)
1.一种用于陶瓷窑炉的挡边砖清扫装置,其特征在于,包括设置在流水线两侧支柱上的移动机构、支撑杆(3)和清扫刷(4);所述移动机构包括升降电机(1)和平移电机(2),升降电机(1)对称设置在支柱之间的相邻侧,升降电机(1)之间设置有平移电机(2);移动机构对称设置在流水线两侧的支柱上;平移电机(2)之间连接固定有支撑杆(3),支撑杆(3)上旋转配合有清扫刷(4)。
2.根据权利要求1所述的用于陶瓷窑炉的挡边砖清扫装置,其特征在于,所述升降电机(1)和平移电机(2)之间设置有连接板(5),连接板(5)分别与升降电机(1)和平移电机(2)通过螺栓螺纹配合。
3.根据权利要求1所述的用于陶瓷窑炉的挡边砖清扫装置,其特征在于,所述平移电机(2)和支撑杆(3)之间设置有连接板(5);连接板(5)和平移电机(2)通过螺栓螺纹配合;支撑杆(3)穿过连接板(5),并在连接板(5)远离流水线的一侧设置有连接环(6);连接环(6)分别与支撑杆(3)和连接板(5)通过螺栓螺纹配合。
4.根据权利要求2或3所述的用于陶瓷窑炉的挡边砖清扫装置,其特征在于,所述连接板(5)为L型板。
5.根据权利要求1所述的用于陶瓷窑炉的挡边砖清扫装置,其特征在于,所述支撑杆(3)在清扫刷(4)两端对称设置有限位卡箍(7)。
6.根据权利要求1所述的用于陶瓷窑炉的挡边砖清扫装置,其特征在于,所述清扫刷(4)为硬毛刷筒。
Priority Applications (1)
| Application Number | Priority Date | Filing Date | Title |
|---|---|---|---|
| CN202123356219.XU CN216880553U (zh) | 2021-12-29 | 2021-12-29 | 用于陶瓷窑炉的挡边砖清扫装置 |
Applications Claiming Priority (1)
| Application Number | Priority Date | Filing Date | Title |
|---|---|---|---|
| CN202123356219.XU CN216880553U (zh) | 2021-12-29 | 2021-12-29 | 用于陶瓷窑炉的挡边砖清扫装置 |
Publications (1)
| Publication Number | Publication Date |
|---|---|
| CN216880553U true CN216880553U (zh) | 2022-07-05 |
Family
ID=82208923
Family Applications (1)
| Application Number | Title | Priority Date | Filing Date |
|---|---|---|---|
| CN202123356219.XU Active CN216880553U (zh) | 2021-12-29 | 2021-12-29 | 用于陶瓷窑炉的挡边砖清扫装置 |
Country Status (1)
| Country | Link |
|---|---|
| CN (1) | CN216880553U (zh) |
-
2021
- 2021-12-29 CN CN202123356219.XU patent/CN216880553U/zh active Active
Similar Documents
| Publication | Publication Date | Title |
|---|---|---|
| CN216880553U (zh) | 用于陶瓷窑炉的挡边砖清扫装置 | |
| CN210679346U (zh) | 一种塑料模具除尘装置 | |
| CN207746181U (zh) | 一种全自动夹抱式洗瓶机 | |
| CN113175567B (zh) | 一种耐高温柔性金属软管及制造方法 | |
| CN218234246U (zh) | 一种可调节的建筑施工用立式贴墙砖装置 | |
| CN202974736U (zh) | 一种拉伸试件模具 | |
| CN218227137U (zh) | 一种用于坭兴陶的坯体修整台 | |
| CN208613138U (zh) | 一种轴承清洗机 | |
| CN209832071U (zh) | 一种瓶胚施内釉机 | |
| CN217550047U (zh) | 一种浆料电磁浆料除铁机 | |
| CN208527527U (zh) | 旋转型轴承清洗机 | |
| CN214082507U (zh) | 一种模具用清洗装置 | |
| CN212088586U (zh) | 一种毛刷基盘压合装置 | |
| CN211073416U (zh) | 一种活塞销拆除机床 | |
| CN211334318U (zh) | 一种用于按钮零件包胶的自动上下料装置 | |
| CN209034928U (zh) | 一种陶瓷盘刷洗机 | |
| CN210333581U (zh) | 一种楔角条超声波清洗夹具 | |
| CN211122240U (zh) | 具有送料功能的混凝土强度检测装置 | |
| CN210171913U (zh) | 一种藜麦加工用高效振动筛 | |
| CN212444298U (zh) | 便于收料的模具生产用扫屑机构 | |
| CN206281229U (zh) | 反射镜背板的清理装置 | |
| CN205096120U (zh) | 一种清洁装置 | |
| CN221854012U (zh) | 一种等静压石墨浸渍用吊具 | |
| CN222406392U (zh) | 一种陶瓷练泥成型夹取机构 | |
| CN218476646U (zh) | 一种玻璃器皿加工用夹具 |
Legal Events
| Date | Code | Title | Description |
|---|---|---|---|
| GR01 | Patent grant | ||
| GR01 | Patent grant | ||
| PE01 | Entry into force of the registration of the contract for pledge of patent right | ||
| PE01 | Entry into force of the registration of the contract for pledge of patent right |
Denomination of utility model: Edge brick cleaning device for ceramic kiln Effective date of registration: 20230227 Granted publication date: 20220705 Pledgee: Rizhao Bank Co.,Ltd. Pledgor: Wulian Hongbang Resource Recycling Technology Co.,Ltd. Registration number: Y2023370000043 |