CN216867599U - A purifying faucet structure and mixing water outlet device - Google Patents
A purifying faucet structure and mixing water outlet device Download PDFInfo
- Publication number
- CN216867599U CN216867599U CN202220274947.1U CN202220274947U CN216867599U CN 216867599 U CN216867599 U CN 216867599U CN 202220274947 U CN202220274947 U CN 202220274947U CN 216867599 U CN216867599 U CN 216867599U
- Authority
- CN
- China
- Prior art keywords
- water
- inlet pipe
- water inlet
- valve core
- operation part
- Prior art date
- Legal status (The legal status is an assumption and is not a legal conclusion. Google has not performed a legal analysis and makes no representation as to the accuracy of the status listed.)
- Active
Links
Images
Landscapes
- Domestic Plumbing Installations (AREA)
- Water Treatment By Sorption (AREA)
Abstract
本实用新型提供一种净水龙头结构,涉及净水龙头领域,包括本体、净水阀芯、混合阀芯、冷水进水管、热水进水管、净水器及操作部。热水进水管与本体内的热水进水管道连通,冷水进水管与本体内的冷水进水管道连通,净水器与本体内的净水出水管道连通。操作部包括第一操作部和第二操作部,第一操作部与混合阀芯适配,控制冷水进水管道或热水进水管道与本体内的混合出水管道连通;第二操作部与净水阀芯适配,且配置为能够在用户的操作下,使得冷水进水管中的水进入净水阀芯并经由净水器过滤;通过采用两个阀芯来控制净水和自来水,改善了现有净水龙头的内部结构复杂,龙头在组装和安装时较为麻烦,且占用空间的问题。本申请另提供一种混合出水装置。
The utility model provides a purifying faucet structure, which relates to the field of purifying faucets. The hot water inlet pipe is communicated with the hot water inlet pipe in the body, the cold water inlet pipe is communicated with the cold water inlet pipe in the body, and the water purifier is communicated with the purified water outlet pipe in the body. The operation part includes a first operation part and a second operation part. The first operation part is adapted to the mixing valve core and controls the cold water inlet pipe or the hot water inlet pipe to communicate with the mixed water outlet pipe in the body; the second operation part is connected to the clean water inlet pipe. The water spool is adapted and configured to enable the water in the cold water inlet pipe to enter the water purification spool and be filtered through the water purifier under the operation of the user; by using two spools to control the purified water and tap water, the The internal structure of the existing water purification faucet is complex, the faucet is troublesome to assemble and install, and the problem of taking up space is also a problem. The present application further provides a mixed water outlet device.
Description
技术领域technical field
本实用新型涉及净水龙头技术领域,具体而言,涉及一种净水龙头结构及混合出水装置。The utility model relates to the technical field of purifying faucets, in particular to a purifying faucet structure and a mixing water outlet device.
背景技术Background technique
随着生活水平的提高,人们越来越重视自身的身体健康了,饮水安全也日渐引起了人们的关注,尤其在一些发达国家,饮用水标准越来越高,水龙头作为直接供水产品,也需要符合饮用水标准。在此情况下,能够提供净水的净水龙头也随之产生。With the improvement of living standards, people pay more and more attention to their own health, and the safety of drinking water has also attracted people's attention. Especially in some developed countries, the drinking water standard is getting higher and higher, and the faucet, as a direct water supply product, also needs to be Compliant with drinking water standards. In this case, a clean faucet that can provide clean water is also produced.
现有的净水龙头其净水和自来水多为分开走不同的水路,或者由两个或多个本体拼接完成的水路搭建,这导致净水龙头的内部结构复杂,龙头在组装和安装时较为麻烦,且占用空间。Most of the existing water purification faucets have different water channels for water purification and tap water, or are constructed by splicing two or more bodies, which leads to the complex internal structure of the water purification faucet, and the faucet is relatively difficult to assemble and install. Cumbersome and takes up space.
实用新型内容Utility model content
本实用新型公开了一种净水龙头结构,旨在改善现有净水龙头的内部结构复杂,龙头在组装和安装时较为麻烦,且占用空间的问题。The utility model discloses a purifying faucet structure, which aims to improve the problems that the existing purifying faucet has a complicated internal structure, is troublesome to assemble and install, and occupies space.
本实用新型采用了如下方案:The utility model adopts the following scheme:
一种净水龙头结构,包括本体、净水阀芯、混合阀芯、冷水进水管、热水进水管、净水器及操作部,所述热水进水管与所述本体内的热水进水管道连通,所述冷水进水管与所述本体内的冷水进水管道连通,所述净水器与所述本体内的净水出水管道连通;所述操作部包括第一操作部和第二操作部,所述第一操作部与所述混合阀芯适配,控制所述冷水进水管道或所述热水进水管道与所述本体内的混合出水管道连通;所述第二操作部与所述净水阀芯适配,且配置为能够在用户的操作下,使得所述冷水进水管中的水进入所述净水阀芯。A water purification faucet structure includes a body, a water purification valve core, a mixing valve core, a cold water inlet pipe, a hot water inlet pipe, a water purifier and an operation part, and the hot water inlet pipe is connected to the hot water inlet in the body. The water pipe is connected, the cold water inlet pipe is communicated with the cold water inlet pipe in the body, and the water purifier is communicated with the clean water outlet pipe in the body; the operation part includes a first operation part and a second operation part. an operation part, the first operation part is adapted to the mixing valve core, and controls the cold water inlet pipe or the hot water inlet pipe to communicate with the mixed water outlet pipe in the body; the second operation part It is adapted to the water purification valve core, and is configured to enable the water in the cold water inlet pipe to enter the water purification valve core under the operation of the user.
作为进一步改进,所述混合阀芯和所述净水阀芯设置在所述本体内的相对两侧;所述第一操作部和第二操作部设置在所述本体外的相对两侧,供用户操作。As a further improvement, the mixing valve core and the water purification valve core are arranged on opposite sides of the body; the first operating part and the second operating part are arranged on opposite sides outside the body for supplying User action.
作为进一步改进,所述净水器设置在所述净水阀芯的后端,且内部设置有净水滤芯。As a further improvement, the water purifier is arranged at the rear end of the water purifying valve core, and a water purifying filter element is arranged inside.
作为进一步改进,包括净水出水管,所述净水出水管与所述净水阀芯、净水器及净水出水管道均连通。As a further improvement, a water purification outlet pipe is included, and the water purification outlet pipe is communicated with the water purification valve core, the water purifier and the water purification outlet pipe.
作为进一步改进,包括设置所述本体上的水嘴,所述水嘴上设置有终端出水装置用于出水。As a further improvement, a water nozzle is provided on the body, and a terminal water outlet device is provided on the water nozzle for water outlet.
作为进一步改进,包括接杆,所述接杆设置在所述水嘴内,所述接杆一端连通所述净水出水管道,另一端与所述本体适配;所述接杆中间设有贯穿的通孔,且所述接杆和所述水嘴两侧边之间设有镂空结构,所述通孔用于净水通过,所述镂空结构用于混合水通过。As a further improvement, an extension rod is included, the extension rod is arranged in the water nozzle, one end of the extension rod is connected to the water purification outlet pipe, and the other end is adapted to the body; the extension rod is provided with a through-hole in the middle A through hole is provided between the connecting rod and both sides of the water nozzle, the through hole is used for the passage of purified water, and the hollow structure is used for the passage of mixed water.
一种混合出水装置,包括终端出水结构以及如上述任意一项所述的净水龙头结构,所述终端出水结构与所述净水龙头结构适配连接。A mixed water outlet device includes a terminal water outlet structure and the water purification faucet structure according to any one of the above, wherein the terminal water outlet structure is adapted and connected to the water purification faucet structure.
通过采用上述技术方案,本实用新型可以取得以下技术效果:By adopting the above-mentioned technical scheme, the utility model can obtain the following technical effects:
本申请的净水龙头结构,本体上设置有第一操作部和第二操作部,且第一操作部与混合阀芯适配,控制冷水进水管道或热水进水管道与本体内的混合出水管道连通;第二操作部与净水阀芯适配,且配置为能够在用户的操作下,使得冷水进水管中的水进入净水阀芯并经由净水器过滤;通过采用两个阀芯来控制净水和自来水,改善了现有净水龙头的内部结构复杂,龙头在组装和安装时较为麻烦,且占用空间的问题。和现有技术相比,本申请的优点是显而易见的。In the purifying faucet structure of the present application, the body is provided with a first operation part and a second operation part, and the first operation part is adapted to the mixing valve core to control the mixing of the cold water inlet pipe or the hot water inlet pipe and the body. The water outlet pipe is communicated; the second operation part is adapted to the water purification valve core, and is configured to enable the water in the cold water inlet pipe to enter the water purification valve core and be filtered through the water purifier under the operation of the user; by using two valves The core is used to control the purified water and tap water, which improves the complex internal structure of the existing water purification faucet, the faucet is troublesome to assemble and install, and takes up space. Compared with the prior art, the advantages of the present application are obvious.
附图说明Description of drawings
为了更清楚地说明本实用新型实施方式的技术方案,下面将对实施方式中所需要使用的附图作简单地介绍,应当理解,以下附图仅示出了本实用新型的某些实施例,因此不应被看作是对范围的限定,对于本领域普通技术人员来讲,在不付出创造性劳动的前提下,还可以根据这些附图获得其他相关的附图。In order to illustrate the technical solutions of the embodiments of the present invention more clearly, the accompanying drawings required in the embodiments will be briefly introduced below. It should be understood that the following drawings only show some embodiments of the present invention. Therefore, it should not be regarded as a limitation of the scope. For those of ordinary skill in the art, other related drawings can also be obtained from these drawings without any creative effort.
图1是本实用新型的装配图;Fig. 1 is the assembly drawing of the present utility model;
图2是本实用新型的部分结构的爆炸图;Fig. 2 is the exploded view of the partial structure of the present utility model;
图3是本实用新型的部分结构的剖面图;Fig. 3 is the sectional view of the partial structure of the present utility model;
图4是图3中A的放大图;Fig. 4 is the enlarged view of A in Fig. 3;
图5是图3在其中一种截面下的剖面图;Figure 5 is a sectional view of Figure 3 under one of the cross sections;
图6是图5中B的放大图。FIG. 6 is an enlarged view of B in FIG. 5 .
具体实施方式Detailed ways
为使本实用新型实施方式的目的、技术方案和优点更加清楚,下面将结合本实用新型实施方式中的附图,对本实用新型实施方式中的技术方案进行清楚、完整地描述,显然,所描述的实施方式是本实用新型一部分实施方式,而不是全部的实施方式。基于本实用新型中的实施方式,本领域普通技术人员在没有作出创造性劳动前提下所获得的所有其他实施方式,都属于本实用新型保护的范围。因此,以下对在附图中提供的本实用新型的实施方式的详细描述并非旨在限制要求保护的本实用新型的范围,而是仅仅表示本实用新型的选定实施方式。基于本实用新型中的实施方式,本领域普通技术人员在没有作出创造性劳动前提下所获得的所有其他实施方式,都属于本实用新型保护的范围。In order to make the purposes, technical solutions and advantages of the embodiments of the present invention more clear, the technical solutions in the embodiments of the present invention will be clearly and completely described below with reference to the accompanying drawings in the embodiments of the present invention. Obviously, the described The embodiments of the present invention are a part of the embodiments of the present invention, but not all of the embodiments. Based on the embodiments of the present invention, all other embodiments obtained by those of ordinary skill in the art without creative work fall within the protection scope of the present invention. Accordingly, the following detailed description of the embodiments of the invention provided in the accompanying drawings is not intended to limit the scope of the invention as claimed, but is merely representative of selected embodiments of the invention. Based on the embodiments of the present invention, all other embodiments obtained by those of ordinary skill in the art without creative work fall within the protection scope of the present invention.
在本实用新型的描述中,需要理解的是,术语“中心”、“纵向”、“横向”、“长度”、“宽度”、“厚度”、“上”、“下”、“前”、“后”、“左”、“右”、“竖直”、“水平”、“顶”、“底”、“内”、“外”、“顺时针”、“逆时针”等指示的方位或位置关系为基于附图所示的方位或位置关系,仅是为了便于描述本实用新型和简化描述,而不是指示或暗示所指的设备或元件必须具有特定的方位、以特定的方位构造和操作,因此不能理解为对本实用新型的限制。In the description of the present invention, it should be understood that the terms "center", "longitudinal", "lateral", "length", "width", "thickness", "upper", "lower", "front", "Back", "Left", "Right", "Vertical", "Horizontal", "Top", "Bottom", "Inner", "Outer", "Clockwise", "Counterclockwise" etc. Or the positional relationship is based on the orientation or positional relationship shown in the accompanying drawings, which is only for the convenience of describing the present invention and simplifying the description, rather than indicating or implying that the referred device or element must have a specific orientation, be constructed in a specific orientation and operation, so it cannot be construed as a limitation to the present invention.
此外,术语“第一”、“第二”仅用于描述目的,而不能理解为指示或暗示相对重要性或者隐含指明所指示的技术特征的数量。由此,限定有“第一”、“第二”的特征可以明示或者隐含地包括一个或者更多个该特征。在本实用新型的描述中,“多个”的含义是两个或两个以上,除非另有明确具体的限定。In addition, the terms "first" and "second" are only used for descriptive purposes, and should not be construed as indicating or implying relative importance or implying the number of indicated technical features. Thus, a feature defined as "first" or "second" may expressly or implicitly include one or more of that feature. In the description of the present invention, "plurality" means two or more, unless otherwise expressly and specifically defined.
在本实用新型中,除非另有明确的规定和限定,术语“安装”、“相连”、“连接”、“固定”等术语应做广义理解,例如,可以是固定连接,也可以是可拆卸连接,或成一体;可以是机械连接,也可以是电连接;可以是直接相连,也可以通过中间媒介间接相连,可以是两个元件内部的连通或两个元件的相互作用关系。对于本领域的普通技术人员而言,可以根据具体情况理解上述术语在本实用新型中的具体含义。In the present utility model, unless otherwise expressly specified and limited, the terms "installation", "connection", "connection", "fixed" and other terms should be understood in a broad sense, for example, it may be a fixed connection or a detachable connection Connection, or integration; it can be a mechanical connection or an electrical connection; it can be a direct connection or an indirect connection through an intermediate medium, and it can be the internal communication between the two elements or the interaction relationship between the two elements. For those of ordinary skill in the art, the specific meanings of the above terms in the present invention can be understood according to specific situations.
在本实用新型中,除非另有明确的规定和限定,第一特征在第二特征之“上”或之“下”可以包括第一和第二特征直接接触,也可以包括第一和第二特征不是直接接触而是通过它们之间的另外的特征接触。而且,第一特征在第二特征“之上”、“上方”和“上面”包括第一特征在第二特征正上方和斜上方,或仅仅表示第一特征水平高度高于第二特征。第一特征在第二特征“之下”、“下方”和“下面”包括第一特征在第二特征正下方和斜下方,或仅仅表示第一特征水平高度小于第二特征。In the present invention, unless otherwise expressly specified and limited, a first feature "on" or "under" a second feature may include the first and second features in direct contact, or may include the first and second features The features are not in direct contact but through additional features between them. Also, the first feature being "above", "over" and "above" the second feature includes the first feature being directly above and obliquely above the second feature, or simply means that the first feature is level higher than the second feature. The first feature is "below", "below" and "below" the second feature includes the first feature being directly below and diagonally below the second feature, or simply means that the first feature has a lower level than the second feature.
实施例Example
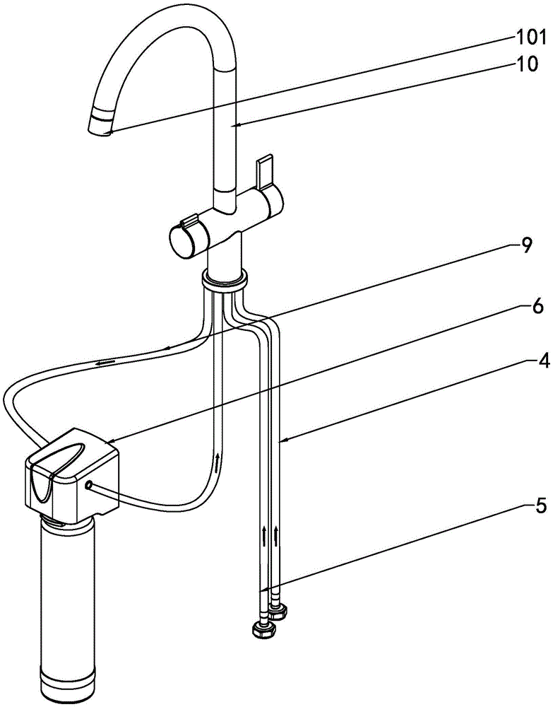
本实用新型第一实施例提供一种净水龙头结构,包括本体1、净水阀芯2、混合阀芯3、冷水进水管4、热水进水管5、净水器6及操作部,净水器6与本体1内的净水出水管道11连通,使得净水出水管道11中的水可经由净水器6过滤以获得净水,供用户饮用;热水进水管5与本体1内的热水进水管道12连通,冷水进水管4与本体1内的冷水进水管道13连通。The first embodiment of the present utility model provides a water purification faucet structure, including a
在本实施例中,操作部包括第一操作部7和第二操作部8,第一操作部7与混合阀芯3适配连接,冷水时,混合阀芯3会控制冷水进水管道13与混合出水管道14连通;热水时,混合阀芯3会控制热水进水管道12与混合出水管道14连通,冷水和热水都经由混合出水管道14出水,使得净水龙头内部结构简单,并降低了生产成本。第二操作部8与净水阀芯2适配连接,且配置为能够在用户的操作下,使得冷水进水管4中的水进入净水阀芯2并经由净水器6过滤,两个操作部分别控制两个阀芯以获得净水和自来水,改善了现有的净水龙头其净水和自来水多为分开走不同的水路,或者由两个或多个本体1拼接完成的水路搭建,这导致净水龙头的内部结构复杂,龙头在组装和安装时较为麻烦,且占用空间。In this embodiment, the operation part includes a
进一步地,操作部为把手开关,用户可通过操作把手开关及自身的需求,来控制流出的是净水、冷水或是热水。把手开关可快速对水流的选择及启闭进行控制,使其整个过程操作简单、方便。操作部也可以为按钮或旋钮等,本实施新型不做具体限制。Further, the operation part is a handle switch, and the user can control whether the outflow is clean water, cold water or hot water by operating the handle switch and their own needs. The handle switch can quickly control the selection and opening and closing of the water flow, making the whole process simple and convenient to operate. The operation part may also be a button or a knob, which is not specifically limited in the present embodiment.
在本实施例中,混合阀芯3和净水阀芯2设置在本体1内的相对两侧,第一操作部7和第二操作部8设置在本体1外的相对两侧,方便用户操作,且使得净水龙头内部和外部结构布置均衡、方便安装。In this embodiment, the mixing
进一步地,净水器6设置在净水阀芯2的后端,防止了净水器6直接承受进水管道的水压,对净水造成损害,长时间使用影响净水器6的寿命;且净水器6内部设置有净水滤芯,主要对水进行过滤以获得净水。Further, the water purifier 6 is arranged at the rear end of the water
在本实施例中,包括净水出水管9,净水出水管9与净水阀芯2、净水器6及净水出水管道11均连通,水从净水出水管道11及净水出水管9流至净水器6过滤,最终经由本体内的终端净水出水管道15从水嘴10流出,供用户使用。In this embodiment, the water purification outlet pipe 9 is included, and the water purification outlet pipe 9 is connected with the water
进一步地,包括设置本体1上的水嘴10,水嘴10上设置有终端出水装置101用于出水,内部还设置有接杆102,接杆102一端连通本体1内的终端净水出水管道15,另一端与本体1适配;接杆102中间设有贯穿的通孔,且接杆102和水嘴10两侧边之间设有镂空结构;通孔用于净水通过,镂空结构用于混合水通过同时还起到了固定作用;净水通过终端净水出水管道15后从接杆102中间穿过,最终到达终端出水装置101出水,混合水通过混合出水管道14后从接杆102侧面镂空结构进入水嘴10最终到达终端出水装置101出水。两条水路最终都在水嘴10出水,且水嘴10可360度旋转,方便调整出水的角度供用户使用。Further, it includes a
本实用新型第二实施例提供一种混合出水装置,包括终端出水结构以及如上述任意一项所述的净水龙头结构,终端出水结构与净水龙头结构适配连接,且终端出水结构可实现抽拉功能。The second embodiment of the present invention provides a mixed water outlet device, which includes a terminal water outlet structure and a water purification faucet structure according to any one of the above. The terminal water outlet structure is adapted and connected to the water purification faucet structure, and the terminal water outlet structure can realize Pull function.
具体切换过程:需要净水时,用户可操作第二操作部8来获得净水,供用户饮用;需要冷水或热水时,用户可左右转动第一操作部7,来获得冷水或热水,供用户洗漱。The specific switching process: when purified water is needed, the user can operate the
以上仅是本实用新型的优选实施方式,本实用新型的保护范围并不仅局限于上述实施例,凡属于本实用新型思路下的技术方案均属于本实用新型的保护范围。The above are only the preferred embodiments of the present utility model, and the protection scope of the present utility model is not limited to the above-mentioned embodiments, and all technical solutions under the idea of the present utility model belong to the protection scope of the present utility model.
Claims (7)
Priority Applications (1)
| Application Number | Priority Date | Filing Date | Title |
|---|---|---|---|
| CN202220274947.1U CN216867599U (en) | 2022-02-10 | 2022-02-10 | A purifying faucet structure and mixing water outlet device |
Applications Claiming Priority (1)
| Application Number | Priority Date | Filing Date | Title |
|---|---|---|---|
| CN202220274947.1U CN216867599U (en) | 2022-02-10 | 2022-02-10 | A purifying faucet structure and mixing water outlet device |
Publications (1)
| Publication Number | Publication Date |
|---|---|
| CN216867599U true CN216867599U (en) | 2022-07-01 |
Family
ID=82153955
Family Applications (1)
| Application Number | Title | Priority Date | Filing Date |
|---|---|---|---|
| CN202220274947.1U Active CN216867599U (en) | 2022-02-10 | 2022-02-10 | A purifying faucet structure and mixing water outlet device |
Country Status (1)
| Country | Link |
|---|---|
| CN (1) | CN216867599U (en) |
Cited By (1)
| Publication number | Priority date | Publication date | Assignee | Title |
|---|---|---|---|---|
| CN115961678A (en) * | 2023-01-06 | 2023-04-14 | 北京万筑创享建筑科技有限公司 | Wall-in type multifunctional faucet device |
-
2022
- 2022-02-10 CN CN202220274947.1U patent/CN216867599U/en active Active
Cited By (1)
| Publication number | Priority date | Publication date | Assignee | Title |
|---|---|---|---|---|
| CN115961678A (en) * | 2023-01-06 | 2023-04-14 | 北京万筑创享建筑科技有限公司 | Wall-in type multifunctional faucet device |
Similar Documents
| Publication | Publication Date | Title |
|---|---|---|
| CN204459353U (en) | Water-band hot and cold water filtered water tap from the beginning | |
| CN216867599U (en) | A purifying faucet structure and mixing water outlet device | |
| CN205495860U (en) | Shower head and water heater with same | |
| CN205570106U (en) | Electroless purifier | |
| CN210397791U (en) | Take kitchen tap of pure water function | |
| CN113735224A (en) | Filter element device and water purifier | |
| CN213839681U (en) | A water purifier kitchen faucet | |
| CN216812973U (en) | Integrated water purification faucet structure and combined water outlet device | |
| CN112252418A (en) | Tap with microbubble function | |
| CN217041641U (en) | Tap water purifier | |
| CN217539733U (en) | Non-pressure cold and hot water mixing accurate temperature regulating faucet | |
| CN201706004U (en) | Tap | |
| CN214233100U (en) | Tap water purifier | |
| CN209762325U (en) | water tap using ultrafiltration carbon fiber composite filter element | |
| CN205099418U (en) | Water purification system and water purifier that has it | |
| CN214037040U (en) | Shower bath | |
| CN212251293U (en) | Double-outlet faucet structure | |
| CN212246508U (en) | Filter core and water purification system | |
| CN207437841U (en) | A kind of Kitchen tap | |
| CN209411932U (en) | An integrated waterway board | |
| CN207514300U (en) | A kind of Magnetizing water purifying tap | |
| CN223424703U (en) | A faucet with filter | |
| CN222811250U (en) | A multifunctional water faucet | |
| CN213839673U (en) | A basin faucet device with filtering function | |
| CN112303291A (en) | A water purifier kitchen faucet |
Legal Events
| Date | Code | Title | Description |
|---|---|---|---|
| GR01 | Patent grant | ||
| GR01 | Patent grant |
