CN216866180U - Rotary friction energy dissipater - Google Patents
Rotary friction energy dissipater Download PDFInfo
- Publication number
- CN216866180U CN216866180U CN202122864254.6U CN202122864254U CN216866180U CN 216866180 U CN216866180 U CN 216866180U CN 202122864254 U CN202122864254 U CN 202122864254U CN 216866180 U CN216866180 U CN 216866180U
- Authority
- CN
- China
- Prior art keywords
- friction
- steel plate
- plate
- connecting piece
- pressing plate
- Prior art date
- Legal status (The legal status is an assumption and is not a legal conclusion. Google has not performed a legal analysis and makes no representation as to the accuracy of the status listed.)
- Active
Links
- 238000003825 pressing Methods 0.000 claims abstract description 55
- 229910000831 Steel Inorganic materials 0.000 claims abstract description 54
- 239000010959 steel Substances 0.000 claims abstract description 54
- 239000002783 friction material Substances 0.000 claims abstract description 39
- 238000003466 welding Methods 0.000 claims description 4
- 230000000712 assembly Effects 0.000 abstract 1
- 238000000429 assembly Methods 0.000 abstract 1
- 238000006073 displacement reaction Methods 0.000 description 6
- 239000000463 material Substances 0.000 description 6
- 239000002861 polymer material Substances 0.000 description 6
- 238000000576 coating method Methods 0.000 description 5
- 229910001369 Brass Inorganic materials 0.000 description 4
- 229910045601 alloy Inorganic materials 0.000 description 4
- 239000000956 alloy Substances 0.000 description 4
- 239000010951 brass Substances 0.000 description 4
- VYZAMTAEIAYCRO-UHFFFAOYSA-N Chromium Chemical compound [Cr] VYZAMTAEIAYCRO-UHFFFAOYSA-N 0.000 description 3
- 230000005540 biological transmission Effects 0.000 description 3
- 230000007797 corrosion Effects 0.000 description 3
- 238000005260 corrosion Methods 0.000 description 3
- 238000005516 engineering process Methods 0.000 description 3
- 238000002955 isolation Methods 0.000 description 3
- 238000004519 manufacturing process Methods 0.000 description 3
- 238000012986 modification Methods 0.000 description 3
- 230000004048 modification Effects 0.000 description 3
- 230000021715 photosynthesis, light harvesting Effects 0.000 description 3
- 230000035939 shock Effects 0.000 description 3
- 239000010935 stainless steel Substances 0.000 description 3
- 229910001220 stainless steel Inorganic materials 0.000 description 3
- 238000010521 absorption reaction Methods 0.000 description 2
- 238000006243 chemical reaction Methods 0.000 description 2
- 229910052804 chromium Inorganic materials 0.000 description 2
- 239000011651 chromium Substances 0.000 description 2
- 239000011248 coating agent Substances 0.000 description 2
- 238000009434 installation Methods 0.000 description 2
- 238000000034 method Methods 0.000 description 2
- 238000007747 plating Methods 0.000 description 2
- 230000008569 process Effects 0.000 description 2
- 230000009467 reduction Effects 0.000 description 2
- 239000003566 sealing material Substances 0.000 description 2
- 238000005245 sintering Methods 0.000 description 2
- 238000005299 abrasion Methods 0.000 description 1
- 239000006096 absorbing agent Substances 0.000 description 1
- 230000002421 anti-septic effect Effects 0.000 description 1
- 230000009286 beneficial effect Effects 0.000 description 1
- 230000008859 change Effects 0.000 description 1
- 239000002131 composite material Substances 0.000 description 1
- 230000006835 compression Effects 0.000 description 1
- 238000007906 compression Methods 0.000 description 1
- 238000010276 construction Methods 0.000 description 1
- 239000000428 dust Substances 0.000 description 1
- 230000000694 effects Effects 0.000 description 1
- 230000006872 improvement Effects 0.000 description 1
- 238000009413 insulation Methods 0.000 description 1
- 238000010030 laminating Methods 0.000 description 1
- 238000003475 lamination Methods 0.000 description 1
- 239000011150 reinforced concrete Substances 0.000 description 1
- 239000000565 sealant Substances 0.000 description 1
- XLYOFNOQVPJJNP-UHFFFAOYSA-N water Substances O XLYOFNOQVPJJNP-UHFFFAOYSA-N 0.000 description 1
Images
Landscapes
- Buildings Adapted To Withstand Abnormal External Influences (AREA)
Abstract
A rotary friction energy dissipater comprises a plurality of pressing plates and a friction steel plate which is less than the pressing plates in number, the plate body of each friction steel plate is arranged between the plate bodies of the two pressing plates in a laminated mode, the pressing plates and the friction steel plate are connected together through fastening bolt assemblies, rotary friction force is tightly pressed on the pressing plates and the friction steel plate through fastening bolts, the friction steel plate outputs when rotating, the size of the friction force can be adjusted through prestress of bolts and can also be adjusted through the number of the laminated layers, the pressing plates are connected with upper connecting pieces through pin shafts, clamping grooves are formed in the outer circle sides of the pressing plates, and the clamping grooves are connected with lower connecting pieces through pins; through arranging the pressing plate and the friction steel plate in a laminated mode and setting the pre-pressing bolts to compress the friction materials and the friction steel plate, the friction energy dissipater solves the problems that the friction materials are not high in utilization rate, the structure is heavy and the economical efficiency is greatly reduced due to the fact that the friction materials are uneven in compressive stress through the matching of the upper connecting piece and the pin shaft.
Description
Technical Field
The patent relates to a building subtracts shock insulation technical field, especially relates to a rotation type friction energy dissipater.
Background
In earthquake-prone areas, high-rise buildings often adopt structures such as cabinet frames, shear walls, cabinet scissors and the like to improve the shock resistance, but the size of a beam column needs to be increased to meet the requirements of strength and rigidity of the structure, the using amount of reinforced concrete needs to be increased, and the manufacturing cost is increased.
With the continuous improvement of the social and economic level and the continuous development of the technical level, people realize that the seismic isolation and reduction technology of buildings can also meet the requirements of 'no damage by small earthquake, repairable by medium earthquake and no fall by large earthquake'. Therefore, in many seismic isolation and reduction technologies, a relatively mature buckling restrained brace, a viscous damper, other displacement-related dampers, speed-related dampers, a composite type energy dissipation damper, a seismic isolation rubber support and the like are provided. The friction energy dissipater has the advantages of low manufacturing cost, high performance, easy production and installation, adjustable pre-pressure, large displacement capacity, good energy dissipation absorption capacity, no yield in the friction energy dissipation displacement process and wind resistance reaction capacity, and is a shock absorption technology with certain advancement. However, the existing friction energy dissipater has low utilization rate of friction materials due to uneven pressure stress of the friction materials, and the structure is often heavy, so that the economic efficiency is greatly reduced. Therefore, a rotary friction energy absorber structure is provided, which can solve the above problems well.
SUMMERY OF THE UTILITY MODEL
The utility model aims to provide a rotary friction energy dissipater, which is a device for converting the rotary friction force of a friction steel plate and a friction material into force output in the horizontal direction by arranging a pressing plate and the friction steel plate in a laminated manner and arranging pre-pressing bolts to press the friction material and the friction steel plate, and matching an upper connecting piece with a pin shaft, and is used for solving the problems of low utilization rate of the friction material, heavy structure and great economic discount caused by uneven pressure stress of the friction material of the friction energy dissipater.
In order to solve the technical problems, the utility model adopts the following technical scheme:
the utility model provides a rotation type friction energy dissipater, includes a plurality of clamp plates and than the less friction steel sheet of clamp plate quantity, the body setting of every friction steel sheet is stromatolite between the body of two clamp plates and is arranged, and clamp plate and friction steel sheet link together through the fastening bolt subassembly, and clamp plate and upper portion connecting piece pass through round pin hub connection, and clamp plate excircle side is equipped with the draw-in groove, and the draw-in groove links together through bolt and lower part connecting piece.
Furthermore, the friction steel plate is in a key shape, and a bolt hole and a pin shaft hole are formed in the friction steel plate.
Furthermore, the pin shaft hole on the upper connecting piece is of a kidney-shaped groove structure, and can provide certain up-and-down movement displacement for the pin shaft. Between the upper connecting piece and the friction steel plate, the purpose of force transmission is achieved through the pin shaft, and the friction force of the friction steel plate and the pressing plate is converted into horizontal output force.
Furthermore, the two sides of the inner side pressing plate in the middle position are fixed with inner side pressing plate friction materials.
Furthermore, only one side of the outer side pressing plate positioned at the outer side is fixed with an outer side pressing plate friction material.
Furthermore, a gasket is arranged on the outer side pressing plate, and the pressure applied by the fastening bolt is transmitted to the pressing plate and the friction steel plate through the gasket.
Further, the upper connecting piece and the lower connecting piece are connected with the embedded part through bolts.
Furthermore, the upper connecting piece and the lower connecting piece are connected with the embedded part in a welding mode.
Furthermore, the inner pressing plate friction material and the outer pressing plate friction material are made of rubber formula materials with excellent wear resistance, wear-resistant coatings, mould pressing high polymer materials, brass alloys and other materials.
Furthermore, the friction steel plate is made of stainless steel or is subjected to hard chromium plating treatment, so that the corrosion resistance of the friction steel plate is ensured.
Compared with the prior art, the utility model has the beneficial effects that: the friction steel plate is not easy to deviate and lose stability, the utilization rate of the friction material and the friction steel plate is high, and the laminating area is high. The pressing plates on the two sides are not easy to warp, the construction and installation are simple, and the pressing plates can be connected through bolts or welding.
The utility model can solve the problems of uneven pressure stress and uneven abrasion of friction materials and friction steel plates of the friction damper through the change of the whole structure, and can realize the effect of doubling and increasing the friction force through lamination.
The principle of the utility model of the utility model is introduced: the friction steel plates are fewer than the pressing plates in number; the friction steel plates are in a key shape, bolt holes and pin shaft holes are formed in the friction steel plates, and the plate body of each friction steel plate is arranged between the plate bodies of the two pressing plates in a laminated mode; the pressing plate and the friction steel plate are connected together through a fastening bolt assembly, and the fastening bolt assembly provides pressure for the rotary friction damper. The pressing plate is connected with the upper connecting piece through a pin shaft, and a pin shaft hole in the upper connecting piece is of a waist-shaped groove structure and can provide certain up-and-down movement displacement for the pin shaft. Between the upper connecting piece and the friction steel plate, the purpose of force transmission is achieved through the pin shaft, and the friction force of the friction steel plate and the pressing plate is converted into horizontal output force. The two sides of the pressing plate in the middle position are fixed with friction materials which can be rubber formula materials with excellent wear resistance, wear-resistant coatings, mould pressing high polymer materials, high-temperature sintering high polymer materials, brass alloys and the like. Only one side of the pressing plate at the outer side is fixed with friction materials. The outer circle side of the pressing plate is provided with a clamping groove which is connected with a lower connecting piece through a bolt.
The friction steel plate can be made of stainless steel; or the surface of the common steel is subjected to antiseptic treatment. The friction material is installed on the pressing plate, the pressing plate has two structural modes, the friction material is installed on only one side of the outer pressing plate, and the friction material is installed on both sides of the middle pressing plate. The friction material can be rubber formula material with excellent wear resistance, wear-resistant coating, mould pressing high polymer material, high temperature sintering high polymer material, brass alloy and the like. Two faces of the friction material are respectively contacted with the friction steel plate and the pressing plate, the side face of the friction material is sealed by the sealing material, the friction material can be effectively prevented from being aged, moisture, oil stain, dust and the like are isolated from the friction damper, and the product is more durable. The sealing material can be a sealant or other coating capable of preventing water and oil stains.
And a gasket can be arranged between the compression bolt and the outermost pressure plate. The gasket can be a disc spring gasket or a wide gasket which is matched with a single bolt for use, and the gasket can enable the pressure plate to be stressed uniformly and prevent the pressure plate from warping.
Drawings
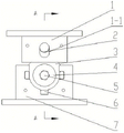
Fig. 1 is a schematic structural view according to embodiment 1 of the present invention;
fig. 2 is a sectional view according to embodiment 1 of the present invention;
fig. 3 is a schematic view of an outer platen according to embodiment 1 of the present invention;
fig. 4 is a plan view of the outer platen according to embodiment 1 of the present invention;
fig. 5 is a schematic view of an inside platen according to embodiment 1 of the present invention;
fig. 6 is a schematic view of a friction steel plate according to embodiment 1 of the present invention.
In the figure, 1: an upper connecting member; 1-1: a kidney-shaped groove structure; 2: a pin shaft; 3: pressing a plate; 4: a gasket; 5: fastening the bolt assembly; 5-1: a nut; 6: a bolt; 7: a lower connecting member; 8: rubbing a steel plate; 9: an outer platen friction material; 10-1: the inner platen rubs the material.
Detailed Description
As shown in fig. 1 to 6, in order to make the objects, technical solutions and advantages of the present invention more clearly understood, the present invention will be further described in detail with reference to the accompanying drawings and embodiments. It should be understood that the specific embodiments described herein are merely illustrative of the utility model and are not intended to limit the utility model.
Example 1
A rotational friction energy dissipater as shown in fig. 1 to 3, comprising a pressing plate 3 and a smaller number of friction steel plates 8 than the pressing plate 3; the friction steel plates 8 are in a key shape, bolt holes and pin shaft holes are formed in the friction steel plates, and the plate body of each friction steel plate 8 is arranged between the plate bodies of the two pressing plates 3 in a laminated mode; the pressure plate 3 and the friction steel plate 8 are connected together by a fastening bolt assembly 5, and the fastening bolt assembly 5 provides pressure to the rotary type friction damper. The pressing plate 3 is connected with the upper connecting piece 1 through a pin shaft 2, and a pin shaft hole on the upper connecting piece 1 is of a waist-shaped groove structure 1-1 and can provide certain up-and-down movement displacement for the pin shaft 2. Between the upper connecting piece 1 and the friction steel plate 8, the purpose of force transmission is achieved through the pin shaft 2, and the friction force of the friction steel plate 8 and the pressing plate 3 is converted into horizontal output force.
The working process of the embodiment is as follows: the friction steel plate and the pressing plate are distributed in a stacked mode, pretightening force is applied through the fastening bolt, the friction steel plate and the pressing plate rotate mutually, and rotary friction force is generated. The rotating friction force can be converted into horizontal force to be output through the conversion of the upper connecting piece and the pin shaft. The scheme can realize that the magnitude of the horizontal output friction force can be adjusted along with the number of the laminated layers of the pressing plate and the friction steel plate, and the pretightening force of the fastening bolt can also be adjusted.
Example 2
The friction material 9 is fixed on the two sides of the pressing plate 3 in the middle, and the friction material 9 is made of rubber formula material with excellent wear resistance. The outer pressure plate 3 is fixed with friction material 9 on only one side.
Example 3
And friction materials 9 are fixed on two sides of the pressure plate 3 in the middle position, and the friction materials 9 are wear-resistant coatings. Only one side of the outer pressure plate 3 is fixed with a friction material 9.
Example 4
The two sides of the pressing plate 3 in the middle position are fixed with friction materials 9, and the friction materials 9 are molded high polymer material layers. The outer pressure plate 3 is fixed with friction material 9 on only one side.
Example 5
And friction materials 9 are fixed on two sides of the pressure plate 3 in the middle position, and the friction materials 9 are brass alloy. Only one side of the outer pressure plate 3 is fixed with a friction material 9.
Example 6
The friction steel plate 8 is made of a stainless steel plate plated with hard chrome, so that the corrosion resistance of the friction steel plate is ensured.
Example 7
The friction steel plate 8 is made of a common steel plate through hard chromium plating treatment, and the corrosion resistance of the friction steel plate is ensured.
Example 8
The excircle side of the pressing plate 3 is provided with a clamping groove which is connected with a lower connecting piece 7 through a bolt 6.
Example 9
The upper connecting piece 1 and the lower connecting piece 7 are connected with the embedded part through bolts.
Example 10
The upper connecting piece 1 and the lower connecting piece 7 are connected with the embedded part in a welding mode.
Although the utility model has been described with reference to a number of illustrative embodiments thereof, it should be understood that numerous other modifications and embodiments can be devised by those skilled in the art that will fall within the scope and spirit of the principles of this disclosure. More specifically, various variations and modifications are possible in the component parts and/or arrangements of the subject combination arrangement within the scope of the disclosure, the drawings and the appended claims. In addition to variations and modifications in the component parts and/or arrangements, other uses will also be apparent to those skilled in the art.
Claims (8)
1. A rotation type friction energy dissipater is characterized in that: including a plurality of clamp plates (3) and compare the friction steel sheet (8) that clamp plate (3) is a small number, the board body setting of every friction steel sheet (8) is stromatolite between the board body of two clamp plates (3) and is arranged, clamp plate (3) link together through fastening bolt subassembly (5) with friction steel sheet (8), clamp plate (3) are connected through round pin axle (2) with upper portion connecting piece (1), clamp plate (3) excircle side is equipped with the draw-in groove, the draw-in groove links together through bolt (6) and lower part connecting piece (7).
2. A rotational friction dissipater according to claim 1, wherein: the friction steel plate (8) is provided with a bolt hole and a pin shaft hole.
3. A rotational friction dissipater according to claim 1, wherein: the pin shaft hole on the upper connecting piece (1) is a waist-shaped groove structure (1-1).
4. A rotational friction dissipater according to claim 1, wherein: and inner side pressing plate friction materials (10-1) are fixed on two sides of the inner side pressing plate (10) in the middle position.
5. A rotary friction dissipater according to claim 1, wherein: and only one side of the outer side pressing plate positioned at the outer side is fixed with an outer side pressing plate friction material (9).
6. A rotary friction dissipater according to claim 5, wherein: the outer side pressing plate is provided with a gasket (4).
7. A rotational friction dissipater according to claim 1, wherein: the upper connecting piece (1) and the lower connecting piece (7) are connected with the embedded part through bolts.
8. A rotational friction dissipater according to claim 1, wherein: the upper connecting piece (1) and the lower connecting piece (7) are connected with the embedded part in a welding mode.
Priority Applications (1)
| Application Number | Priority Date | Filing Date | Title |
|---|---|---|---|
| CN202122864254.6U CN216866180U (en) | 2021-11-22 | 2021-11-22 | Rotary friction energy dissipater |
Applications Claiming Priority (1)
| Application Number | Priority Date | Filing Date | Title |
|---|---|---|---|
| CN202122864254.6U CN216866180U (en) | 2021-11-22 | 2021-11-22 | Rotary friction energy dissipater |
Publications (1)
| Publication Number | Publication Date |
|---|---|
| CN216866180U true CN216866180U (en) | 2022-07-01 |
Family
ID=82125718
Family Applications (1)
| Application Number | Title | Priority Date | Filing Date |
|---|---|---|---|
| CN202122864254.6U Active CN216866180U (en) | 2021-11-22 | 2021-11-22 | Rotary friction energy dissipater |
Country Status (1)
| Country | Link |
|---|---|
| CN (1) | CN216866180U (en) |
Cited By (1)
| Publication number | Priority date | Publication date | Assignee | Title |
|---|---|---|---|---|
| CN113882737A (en) * | 2021-11-22 | 2022-01-04 | 震安科技股份有限公司 | A rotating friction energy dissipator |
-
2021
- 2021-11-22 CN CN202122864254.6U patent/CN216866180U/en active Active
Cited By (1)
| Publication number | Priority date | Publication date | Assignee | Title |
|---|---|---|---|---|
| CN113882737A (en) * | 2021-11-22 | 2022-01-04 | 震安科技股份有限公司 | A rotating friction energy dissipator |
Similar Documents
| Publication | Publication Date | Title |
|---|---|---|
| CN109989610B (en) | Axial damping friction damper | |
| CN111664208B (en) | Axial type rigidity-variable friction damper | |
| CN115075417A (en) | Double-step friction damper | |
| CN202380601U (en) | Variable-friction damper | |
| CN216866180U (en) | Rotary friction energy dissipater | |
| CN112576670B (en) | Rotatable reduction friction composite metal damper | |
| CN212479984U (en) | An axial type variable stiffness friction damper | |
| CN113026977A (en) | Multi-joint rotary friction damping device | |
| CN218758058U (en) | Compound large-displacement metal energy dissipater | |
| CN114922296B (en) | Three-dimensional energy-consumption shock-insulation support | |
| CN113417500B (en) | A boltless friction damping device | |
| CN217001130U (en) | Bolt-free friction damping device | |
| CN113882737A (en) | A rotating friction energy dissipator | |
| CN111425040B (en) | Friction damper with additional spring | |
| CN217557880U (en) | Novel friction damping shock insulation rubber support | |
| CN220247263U (en) | Simple to operate's double-order friction damper | |
| CN114622761B (en) | Composite friction buckling restrained brace | |
| CN217679781U (en) | Double-step friction energy dissipater | |
| CN219175533U (en) | Multi-order sliding polymer composite friction damper | |
| CN211547305U (en) | Anchoring type rigidity difference combined rubber damping support | |
| CN115992557B (en) | A multi-stage friction damper | |
| CN220247768U (en) | Composite type variable stiffness friction damper | |
| CN217557881U (en) | Double-order friction damping device | |
| CN108915332B (en) | Laminated friction damper with pressure variable device | |
| CN207794331U (en) | A kind of complex building aseismic joint device |
Legal Events
| Date | Code | Title | Description |
|---|---|---|---|
| GR01 | Patent grant | ||
| GR01 | Patent grant |