CN216861556U - Wire pole conveyer - Google Patents
Wire pole conveyer Download PDFInfo
- Publication number
- CN216861556U CN216861556U CN202122739187.5U CN202122739187U CN216861556U CN 216861556 U CN216861556 U CN 216861556U CN 202122739187 U CN202122739187 U CN 202122739187U CN 216861556 U CN216861556 U CN 216861556U
- Authority
- CN
- China
- Prior art keywords
- workbench
- moving
- support plate
- bottom end
- support
- Prior art date
- Legal status (The legal status is an assumption and is not a legal conclusion. Google has not performed a legal analysis and makes no representation as to the accuracy of the status listed.)
- Expired - Fee Related
Links
- 238000010586 diagram Methods 0.000 description 4
- 238000000034 method Methods 0.000 description 3
- 230000009286 beneficial effect Effects 0.000 description 2
- 230000007812 deficiency Effects 0.000 description 1
- 230000000694 effects Effects 0.000 description 1
Images
Landscapes
- Workshop Equipment, Work Benches, Supports, Or Storage Means (AREA)
Abstract
本实用新型涉及电线杆运输的技术领域,特别是涉及一种电线杆运输装置,其方便工人对工作台顶端的电线杆的一端进行高度的调节作业,使电线杆处于水平状态,提高了电线杆运输时的稳定性,提高了实用性;工作台的顶端左部设置有支撑件,工作台的顶端设置有第一移动槽,工作台的顶端右部通过第一支柱安装有第一支撑板,第一支撑板的底端和工作台的顶端纵向设置有两组滑杆,两组滑杆上滑动连接有移动板,移动板的顶端设置有支杆,支杆的顶端穿过第一支撑板的底端,移动块的底端通过滑动机构安装在第一移动槽的顶端,移动块的左端设置有气缸。
The utility model relates to the technical field of telephone pole transportation, in particular to a telephone pole transportation device, which is convenient for workers to adjust the height of one end of the telephone pole at the top of the workbench, so that the telephone pole is in a horizontal state and improves the performance of the telephone pole. The stability during transportation improves the practicability; the top left part of the workbench is provided with a support piece, the top end of the workbench is provided with a first moving groove, and the top right part of the workbench is installed with a first support plate through the first pillar, The bottom end of the first support plate and the top end of the worktable are longitudinally provided with two sets of sliding bars, the two sets of slide bars are slidably connected with a moving plate, the top of the moving plate is provided with a strut, and the top of the strut passes through the first support plate The bottom end of the moving block is installed on the top end of the first moving groove through a sliding mechanism, and the left end of the moving block is provided with a cylinder.
Description
技术领域technical field
本实用新型涉及电线杆运输的技术领域,具体为一种电线杆运输装置。The utility model relates to the technical field of electric pole transportation, in particular to a telephone pole transportation device.
背景技术Background technique
众所周知,电线杆顾名思义就是架电线的杆,出现于各个农村、田野、马路和街道,是早期中国重要的基础设施之一,早期的各种电线杆,都是从木杆起步的,甚至包括电压等级不是太高的高压线电杆。As we all know, telephone poles, as the name suggests, are poles for electric wires. They appeared in various rural areas, fields, roads and streets. They were one of the important infrastructures in early China. In the early days, all kinds of telephone poles started from wooden poles, even including voltage. High-voltage line poles that are not too high-grade.
经检索,中国专利公开号为CN214138552U的实用新型专利公开了一种电线杆运输装置,其包括车架和车轮,所述车架包括两个相互平行的延伸杆,两个所述延伸杆之间连接有若干个用于承接电线杆的承载板,两个所述延伸杆的上方设置用于配合承载板固定电线杆的定位组件,所述定位组件包括可拆卸架设于两个延伸杆之间的安装架,所述安装架上螺纹连接有若干个用于抵紧电线杆的丝杆,所述丝杆的端部设置有用于驱使丝杆转动的驱动件。本申请具有提升电线杆运输过程中稳定性的效果。After searching, the utility model patent with the Chinese Patent Publication No. CN214138552U discloses a utility model patent for a utility pole, which includes a frame and a wheel, the frame includes two mutually parallel extension rods, and between the two extension rods A number of bearing plates for receiving utility poles are connected, and a positioning assembly for fixing the utility poles is arranged above the two extending rods. A mounting frame is threadedly connected with a plurality of screw rods for abutting against the electric pole, and the end of the screw rod is provided with a driving member for driving the screw rod to rotate. The present application has the effect of improving the stability of the utility pole during transportation.
但是上述现有技术方案不能对装置上面电线杆的高度进行调节作业,由于电线杆的两端的尺寸是有差异的,所以上述现有的技术方案在对电线杆进行运输的过程中,电线杆的受力是不均匀的,在运输的过程中容易发生平移,造成电线杆的脱落,影响对电线杆的运输,具有一定的局限性,因此需要一种电线杆运输装置。However, the above-mentioned prior art scheme cannot adjust the height of the utility pole on the device. Since the dimensions of the two ends of the utility pole are different, the above-mentioned prior art scheme is in the process of transporting the utility pole. The force is uneven, and it is easy to translate during transportation, causing the poles to fall off, affecting the transportation of the poles, and has certain limitations. Therefore, a transportation device for the poles is required.
实用新型内容Utility model content
(一)解决的技术问题(1) Technical problems solved
针对现有技术的不足,本实用新型提供了一种方便工人对工作台顶端的电线杆的一端进行高度的调节作业,使电线杆处于水平状态,提高了电线杆运输时的稳定性,提高了实用性的电线杆运输装置。Aiming at the deficiencies of the prior art, the utility model provides a method that is convenient for workers to adjust the height of one end of an electric pole at the top of the workbench, so that the electric pole is in a horizontal state, which improves the stability of the electric pole during transportation, and improves the Practical utility pole transporter.
(二)技术方案(2) Technical solutions
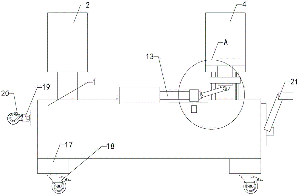
为实现上述目的,本实用新型提供如下技术方案:一种电线杆运输装置,包括工作台,所述工作台的顶端左部设置有支撑件,工作台的顶端设置有第一移动槽,工作台的顶端右部通过第一支柱安装有第一支撑板,第一支撑板的底端和工作台的顶端纵向设置有两组滑杆,两组滑杆上滑动连接有移动板,移动板的顶端设置有支杆,支杆的顶端穿过第一支撑板的底端,支杆的顶端设置有第二支撑板,第二支撑板位于第一支撑板的上侧,移动板的底端设置有第一连接件,第一连接件的底端旋转安装有拉杆,拉杆的左端旋转安装有移动块,移动块的底端通过滑动机构安装在第一移动槽的顶端,移动块的左端设置有气缸。In order to achieve the above purpose, the utility model provides the following technical solutions: a utility model for transporting electric poles, comprising a workbench, a support member is provided on the top left of the workbench, a first moving groove is provided on the top of the workbench, and the workbench is provided with a support. A first support plate is installed on the right part of the top end of the first support plate through the first pillar. The bottom end of the first support plate and the top end of the workbench are longitudinally provided with two sets of sliding rods. A support rod is provided, the top end of the support rod passes through the bottom end of the first support plate, the top end of the support rod is provided with a second support plate, the second support plate is located on the upper side of the first support plate, and the bottom end of the moving plate is provided with a The first connecting piece, the bottom end of the first connecting piece is rotatably installed with a pull rod, the left end of the pull rod is rotatably installed with a moving block, the bottom end of the moving block is installed on the top of the first moving groove through a sliding mechanism, and the left end of the moving block is provided with a cylinder .
优选的,所述滑动机构包括第二支柱,第二支柱安装在移动块的底端,第二支柱的底端设置有滑块,工作台的内部设置有滑槽并与滑块滑动连接。Preferably, the sliding mechanism includes a second pillar, the second pillar is mounted on the bottom end of the moving block, the bottom end of the second pillar is provided with a sliding block, and the inside of the worktable is provided with a sliding groove and is slidably connected with the sliding block.
进一步的,所述第二支撑板的表面设置有多组防滑块。Further, a plurality of groups of anti-skid blocks are arranged on the surface of the second support plate.
再进一步的,所述工作台的底端四周设置有四组第三支柱,每组第三支柱的底端均设置有轮。Still further, four groups of third pillars are arranged around the bottom end of the workbench, and wheels are arranged at the bottom end of each group of third pillars.
再前述方案的基础上,所述工作台的左端设置有钩子。On the basis of the foregoing solution, the left end of the workbench is provided with a hook.
进一步的,所述钩子上设置有档把。Further, a gear handle is provided on the hook.
再进一步的,所述工作台的右端设置有把手。Still further, the right end of the workbench is provided with a handle.
(三)有益效果(3) Beneficial effects
与现有技术相比,本实用新型提供了一种电线杆运输装置,具备以下有益效果。Compared with the prior art, the utility model provides an electric pole transportation device, which has the following beneficial effects.
该电线杆运输装置,通过工作台、支撑件、第一移动槽、第一支撑板和第一支柱的配合,对电线杆进行支撑作业,通过滑杆、移动板、支杆、第二支撑板、第一连接件、拉杆和移动块的配合,对电线杆的一端进行高度的调节,通过气缸对移动块提供动力支持作业,方便工人对工作台顶端的电线杆的一端进行高度的调节作业,使电线杆处于水平状态,提高了电线杆运输时的稳定性,提高了实用性。The utility pole transportation device supports the utility pole through the cooperation of the workbench, the support piece, the first moving groove, the first supporting plate and the first supporting column, and passes the sliding rod, the moving plate, the supporting rod and the second supporting plate. , The cooperation of the first connector, the tie rod and the moving block can adjust the height of one end of the pole, and provide power support for the moving block through the cylinder, which is convenient for workers to adjust the height of one end of the pole at the top of the workbench. The utility pole is kept in a horizontal state, the stability of the utility pole is improved during transportation, and the practicability is improved.
附图说明Description of drawings
图1为本实用新型剖面结构示意图;Fig. 1 is the cross-sectional structure schematic diagram of the utility model;
图2为本实用新型部分左视图的剖面结构示意图;Fig. 2 is the sectional structure schematic diagram of the left side view of the utility model part;
图3为本实用新型中工作台、第二支柱和滑块的连接结构示意图;Figure 3 is a schematic diagram of the connection structure of the workbench, the second pillar and the slider in the utility model;
图4为本实用新型图1中A部的放大结构示意图。FIG. 4 is an enlarged schematic structural diagram of part A in FIG. 1 of the present invention.
附图中标记:1、工作台;2、支撑件;3、第一移动槽;4、第一支撑板;5、第一支柱;6、滑杆;7、移动板;8、支杆;9、第二支撑板;10、第一连接件;11、拉杆;12、移动块;13、气缸;14、第二支柱;15、滑块;16、防滑块;17、第三支柱;18、轮;19、钩子;20、档把;21、把手。Markings in the drawings: 1. Workbench; 2. Supporting member; 3. First moving groove; 4. First supporting plate; 5. First support; 6. Slide bar; 9, the second support plate; 10, the first connector; 11, the pull rod; 12, the moving block; 13, the cylinder; 14, the second pillar; 15, the slider; , wheel; 19, hook; 20, gear handle; 21, handle.
具体实施方式Detailed ways
实施例Example
请参阅图1-4,一种电线杆运输装置,包括工作台1,工作台1的顶端左部设置有支撑件2,工作台1的顶端设置有第一移动槽3,工作台1的顶端右部通过第一支柱5安装有第一支撑板4,第一支撑板4的底端和工作台1的顶端纵向设置有两组滑杆6,两组滑杆6上滑动连接有移动板7,移动板7的顶端设置有支杆8,支杆8的顶端穿过第一支撑板4的底端,支杆8的顶端设置有第二支撑板9,第二支撑板9位于第一支撑板4的上侧,移动板7的底端设置有第一连接件10,第一连接件10的底端旋转安装有拉杆11,拉杆11的左端旋转安装有移动块12,移动块12的底端通过滑动机构安装在第一移动槽3的顶端,移动块12的左端设置有气缸13,该电线杆运输装置,通过工作台1、支撑件2、第一移动槽3、第一支撑板4和第一支柱5的配合,对电线杆进行支撑作业,通过滑杆6、移动板7、支杆8、第二支撑板9、第一连接件10、拉杆11和移动块12的配合,对电线杆的一端进行高度的调节,通过气缸13对移动块12提供动力支持作业,方便工人对工作台1顶端的电线杆的一端进行高度的调节作业,使电线杆处于水平状态,提高了电线杆运输时的稳定性,提高了实用性,滑动机构包括第二支柱14,第二支柱14安装在移动块12的底端,第二支柱14的底端设置有滑块15,工作台1的内部设置有滑槽并与滑块15滑动连接,通过第二支柱14和滑块15的配合,提高了移动块12在第一移动槽3顶端移动时的稳定性,第二支撑板9的表面设置有多组防滑块16,通过安装防滑块16,提高了电线杆在第二支撑板9顶端的稳定性。Please refer to FIGS. 1-4 , a utility pole transportation device includes a workbench 1 , a
还需要说明的是,工作台1的底端四周设置有四组第三支柱17,每组第三支柱17的底端均设置有轮18,通过第三支柱17和轮18的配合,方便工人对装置的移动作业,提高了工人移动装置时的便利性,工作台1的左端设置有钩子19,通过安装钩子19,方便工人对装置的移动作业,提高了工人移动装置时的便利性,钩子19上设置有档把20,通过安装档把20,防止装置在移动时脱钩,提高了装置移动时的稳定性,工作台1的右端设置有把手21,通过安装把手21,方便工人对装置的移动作业,提高了工人移动装置时的便利性。It should also be noted that four groups of
综上所述,该电线杆运输装置在使用时,将电线杆通过支撑件2和第一支撑板4放置在工作台1的顶端,启动气缸13,通过气缸13的右端输出动力,通过移动块12带动拉杆11进行移动的同时带动第一连接件10进行升降作业,通过第一连接件10带动移动板7、支杆8和第二支撑板9进行升降作业,对第二支撑板9顶端的电线杆进行高度的调节使电线杆处于水平状态,将装置通过把手21移动,通过钩子19将装置与挂车进行连接作业,对装置进行平移作业即可。To sum up, when the utility pole transport device is in use, the utility pole is placed on the top of the workbench 1 through the
Claims (7)
Priority Applications (1)
| Application Number | Priority Date | Filing Date | Title |
|---|---|---|---|
| CN202122739187.5U CN216861556U (en) | 2021-11-09 | 2021-11-09 | Wire pole conveyer |
Applications Claiming Priority (1)
| Application Number | Priority Date | Filing Date | Title |
|---|---|---|---|
| CN202122739187.5U CN216861556U (en) | 2021-11-09 | 2021-11-09 | Wire pole conveyer |
Publications (1)
| Publication Number | Publication Date |
|---|---|
| CN216861556U true CN216861556U (en) | 2022-07-01 |
Family
ID=82125224
Family Applications (1)
| Application Number | Title | Priority Date | Filing Date |
|---|---|---|---|
| CN202122739187.5U Expired - Fee Related CN216861556U (en) | 2021-11-09 | 2021-11-09 | Wire pole conveyer |
Country Status (1)
| Country | Link |
|---|---|
| CN (1) | CN216861556U (en) |
-
2021
- 2021-11-09 CN CN202122739187.5U patent/CN216861556U/en not_active Expired - Fee Related
Similar Documents
| Publication | Publication Date | Title |
|---|---|---|
| CN203865989U (en) | Special JP cabinet cross arm lifting support frame for transformer rack | |
| CN108214944B (en) | A kind of jade cutting equipment and its cutting method | |
| CN201895984U (en) | Hydraulic pay-off stand | |
| CN103979363A (en) | Cable pay-off device | |
| CN216861556U (en) | Wire pole conveyer | |
| CN210103407U (en) | A kind of auxiliary support device for communication engineering | |
| CN209366214U (en) | Trolley is used in power equipment transport | |
| CN202333531U (en) | Hydraulic elevating type tool car | |
| CN104310279A (en) | Forklift | |
| CN218434561U (en) | Hoist stable portal frame | |
| CN105672910B (en) | Oil pipe traction lifting Aided Machine | |
| CN211711476U (en) | Transfer device for power distribution cabinet | |
| CN204138229U (en) | Tire clamping and positioning lifting machine | |
| CN209614855U (en) | A fixture quick change platform | |
| CN202683389U (en) | Vehicle body loading frame positioning device of skid and matching standard support | |
| CN113600913A (en) | Automatic cutting platform of high frequency welded pipe | |
| CN215756040U (en) | Mechanical lifting type engineering machinery transfer device | |
| CN207948220U (en) | A kind of scalable mounting device of silage equipment | |
| CN221720421U (en) | A distribution box lifting structure for power engineering construction | |
| CN220637736U (en) | Pipe taking device for plastic tray | |
| CN222329749U (en) | A mobile device for facilitating the transfer of electromechanical equipment | |
| CN207876817U (en) | A kind of robot automobile cylinder cover haulage equipment | |
| CN218840263U (en) | A building material transport rack | |
| CN205211785U (en) | Glass positioning fixture of photovoltaic cell cluster type -setting machine | |
| CN112171602A (en) | Trench pipe of shallow slot and production device thereof |
Legal Events
| Date | Code | Title | Description |
|---|---|---|---|
| GR01 | Patent grant | ||
| GR01 | Patent grant | ||
| TR01 | Transfer of patent right |
Effective date of registration: 20230609 Address after: 225800 Chaoyang South Road, Industrial Concentration Zone, Huangchengji Town, Baoying Economic Development Zone, Yangzhou City, Jiangsu Province Patentee after: Jiangsu Faxiang Energy Co.,Ltd. Address before: 510000 No. 10, Zhenxing street, Nanzhou street, Haizhu District, Guangzhou, Guangdong Patentee before: Yang Yuda |
|
| TR01 | Transfer of patent right | ||
| CF01 | Termination of patent right due to non-payment of annual fee |
Granted publication date: 20220701 |
|
| CF01 | Termination of patent right due to non-payment of annual fee |
