CN216819793U - New forms of energy photovoltaic terminal box with protective structure - Google Patents
New forms of energy photovoltaic terminal box with protective structure Download PDFInfo
- Publication number
- CN216819793U CN216819793U CN202220121948.2U CN202220121948U CN216819793U CN 216819793 U CN216819793 U CN 216819793U CN 202220121948 U CN202220121948 U CN 202220121948U CN 216819793 U CN216819793 U CN 216819793U
- Authority
- CN
- China
- Prior art keywords
- box body
- wall
- welded
- bracket
- box
- Prior art date
- Legal status (The legal status is an assumption and is not a legal conclusion. Google has not performed a legal analysis and makes no representation as to the accuracy of the status listed.)
- Expired - Fee Related
Links
- 230000001681 protective effect Effects 0.000 title claims abstract description 18
- 230000017525 heat dissipation Effects 0.000 claims abstract description 19
- 238000001816 cooling Methods 0.000 claims abstract description 7
- 210000004027 cell Anatomy 0.000 description 4
- 238000010586 diagram Methods 0.000 description 3
- 230000009286 beneficial effect Effects 0.000 description 1
- 210000003850 cellular structure Anatomy 0.000 description 1
- 230000007812 deficiency Effects 0.000 description 1
- 239000000428 dust Substances 0.000 description 1
- 230000000694 effects Effects 0.000 description 1
- 230000005611 electricity Effects 0.000 description 1
- 230000007613 environmental effect Effects 0.000 description 1
- 238000004880 explosion Methods 0.000 description 1
- 238000000034 method Methods 0.000 description 1
- 238000012986 modification Methods 0.000 description 1
- 230000004048 modification Effects 0.000 description 1
- 230000002035 prolonged effect Effects 0.000 description 1
Images
Classifications
-
- Y—GENERAL TAGGING OF NEW TECHNOLOGICAL DEVELOPMENTS; GENERAL TAGGING OF CROSS-SECTIONAL TECHNOLOGIES SPANNING OVER SEVERAL SECTIONS OF THE IPC; TECHNICAL SUBJECTS COVERED BY FORMER USPC CROSS-REFERENCE ART COLLECTIONS [XRACs] AND DIGESTS
- Y02—TECHNOLOGIES OR APPLICATIONS FOR MITIGATION OR ADAPTATION AGAINST CLIMATE CHANGE
- Y02E—REDUCTION OF GREENHOUSE GAS [GHG] EMISSIONS, RELATED TO ENERGY GENERATION, TRANSMISSION OR DISTRIBUTION
- Y02E10/00—Energy generation through renewable energy sources
- Y02E10/50—Photovoltaic [PV] energy
Landscapes
- Cooling Or The Like Of Electrical Apparatus (AREA)
Abstract
本实用新型提供一种具有防护结构的新能源光伏接线盒;包括盒体,盒体远离正面外壁的另一侧焊接有第一支架,且第一支架靠近盒体一侧外壁的四周均焊接有第二凸柱,第二凸柱的内部插接有连接杆,且连接杆位于第二凸柱内部的一端焊接有限位板。本实用新型利用第一支架和第二支架之间的搭配使用,使得盒体能够达到很好的防护作用,进而延长了接线盒的使用寿命,连接杆通过限位板和拉簧的作用带动第二支架与盒体进行贴合,盒体两侧圆槽内安装的散热扇一个为进风扇一个为排风扇,使得气流在盒体内部呈灌流式流通,极大的提升了盒体内部电子元件的散热效率,使得盒体内部电子元件的使用寿命得到延长。
The utility model provides a new energy photovoltaic junction box with a protective structure, which comprises a box body, a first bracket is welded on the other side of the box body away from the front outer wall, and the first bracket is welded around the outer wall of one side of the box body. The second protruding column has a connecting rod inserted inside the second protruding column, and one end of the connecting rod located inside the second protruding column is welded with a limiting plate. The utility model utilizes the combination of the first bracket and the second bracket, so that the box body can achieve a good protective effect, thereby prolonging the service life of the junction box, and the connecting rod drives the first bracket through the action of the limit plate and the tension spring. The two brackets are attached to the box body, and one of the cooling fans installed in the circular grooves on both sides of the box body is an intake fan and the other is an exhaust fan, so that the air flow is perfused inside the box body, which greatly improves the electronic components inside the box body. The heat dissipation efficiency prolongs the service life of the electronic components inside the box.
Description
技术领域technical field
本实用新型属于光伏接线盒结构设计技术领域,具体涉及一种具有防护结构的新能源光伏接线盒。The utility model belongs to the technical field of photovoltaic junction box structure design, in particular to a new energy photovoltaic junction box with a protective structure.
背景技术Background technique
光伏接线盒是介于太阳能电池组件构成的太阳能电池方阵和太阳能电池充电控制装置之间的连接器,其主要作用是连接和保护太阳能光伏组件,使太阳能电池产生的电力与外部线路连接,将太阳能电池模块产生的电能经电缆导出。光伏接线盒和接线系统组成一个密封的空间,光伏接线盒为导线及其连接提供抗环境影响的保护,为带电部件提供可接触性的保护,为与之连接的接线系统减缓拉力。The photovoltaic junction box is a connector between the solar cell array composed of solar cell components and the solar cell charging control device. Its main function is to connect and protect the solar photovoltaic modules, so that the electricity generated by the solar cells can be The electrical energy generated by the solar cell module is exported through the cable. The photovoltaic junction box and the wiring system form a sealed space. The photovoltaic junction box provides protection against environmental influences for the wires and their connections, provides accessibility protection for live parts, and relieves tension for the wiring system connected to them.
现有的技术中,光伏接线盒并不具有防护结构,这就使得光伏接线盒在受到撞击时容易出现裂痕,安全性较差。因此亟需一种具有防护结构的新能源光伏接线盒来解决上述的问题。In the prior art, the photovoltaic junction box does not have a protective structure, which makes the photovoltaic junction box prone to cracks when it is hit, and the safety is poor. Therefore, a new energy photovoltaic junction box with a protective structure is urgently needed to solve the above problems.
发明内容SUMMARY OF THE INVENTION
本实用新型的目的在于克服现有技术的不足,适应现实需要,提供一种结构设计新颖的具有防护结构的新能源光伏接线盒。The purpose of the utility model is to overcome the deficiencies of the prior art, to meet the actual needs, and to provide a new energy photovoltaic junction box with a protective structure with a novel structural design.
为了实现本实用新型的目的,本实用新型所采用的技术方案为:In order to realize the purpose of the present utility model, the technical scheme adopted by the present utility model is:
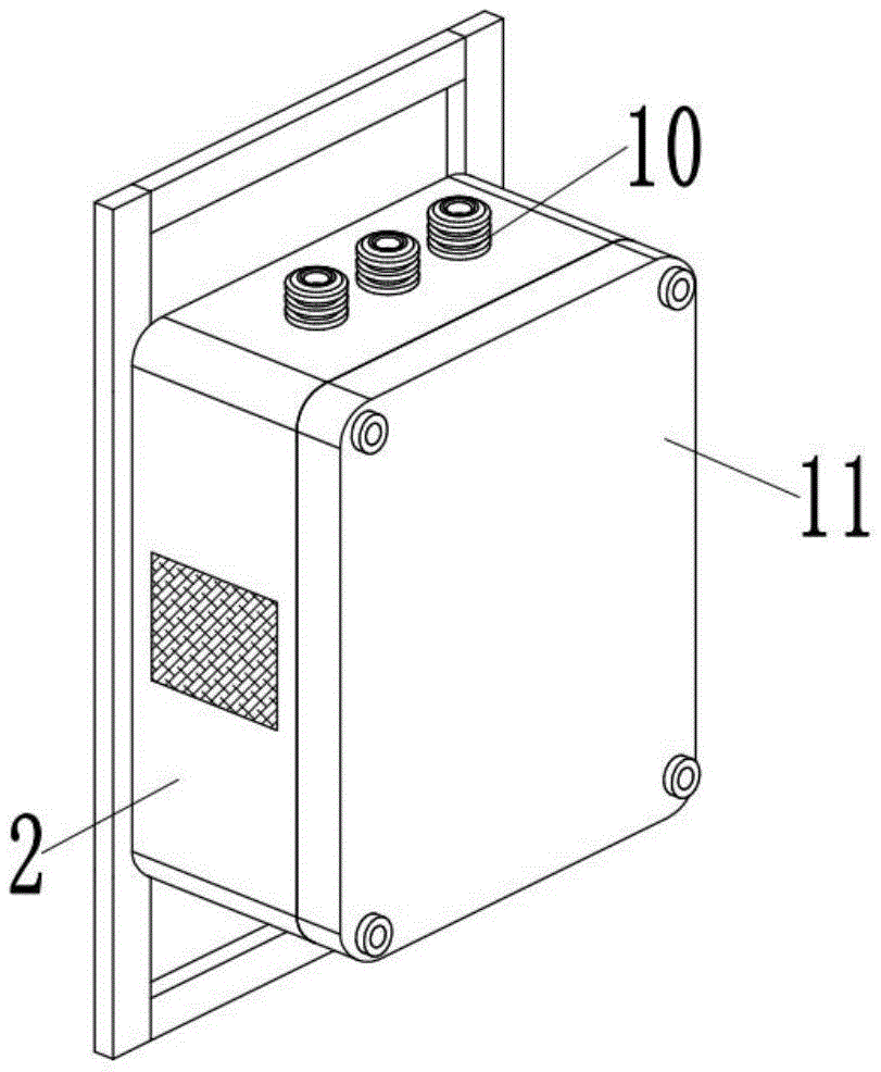
一种具有防护结构的新能源光伏接线盒,包括盒体,所述盒体远离正面外壁的另一侧焊接有第一支架,且第一支架靠近盒体一侧外壁的四周均焊接有第二凸柱,所述第二凸柱的内部插接有连接杆,且连接杆位于第二凸柱内部的一端焊接有限位板,所述限位板远离连接杆的另一侧外壁上焊接有拉簧,且拉簧远离限位板的另一端焊接在第二凸柱一端的内壁上,所述连接杆通过限位板和拉簧的作用滑动连接在第二凸柱的内部,且连接杆远离第二凸柱的一端焊接有第一凸柱,所述第一凸柱远离连接杆的另一端外壁上焊接有第二支架,且第二支架的一侧内壁上通过铰链活动连接有翻转板。A new energy photovoltaic junction box with a protective structure includes a box body, a first bracket is welded on the other side of the box body away from the front outer wall, and a second bracket is welded around the outer wall of one side of the first bracket close to the box body. A convex column, a connecting rod is inserted into the second convex column, and a limit plate is welded on one end of the connecting rod inside the second convex column, and a pull-up plate is welded on the outer wall of the other side of the limit plate away from the connecting rod. The other end of the tension spring away from the limit plate is welded to the inner wall of one end of the second convex column, the connecting rod is slidably connected to the inside of the second convex column through the action of the limit plate and the tension spring, and the connecting rod is far away from the second convex column. One end of the second protruding post is welded with a first protruding post, a second bracket is welded on the outer wall of the other end of the first protruding post away from the connecting rod, and an inner wall of one side of the second bracket is movably connected with a flip plate through a hinge.
进一步的,所述盒体顶部外壁的中心处螺纹连接有三个呈等距离结构分布的接线胶塞,且盒体的正面外壁上盖接有盒盖,所述盒盖和盒体正面外壁的四周均开设有螺孔,且螺孔的内部螺纹连接有锁紧螺栓。Further, the center of the outer wall of the top of the box body is threadedly connected with three wiring plugs distributed in an equidistant structure, and the upper cover of the front outer wall of the box body is connected with a box cover. Both are provided with screw holes, and the inner threads of the screw holes are connected with locking bolts.
进一步的,所述盒体靠近盒盖的内侧壁上开设有定位环槽,且盒盖靠近盒体的一侧外壁上焊接有插接在定位环槽内部的定位环。Further, a positioning ring groove is opened on the inner side wall of the box body close to the box cover, and a positioning ring inserted into the positioning ring groove is welded on the outer wall of one side of the box cover close to the box body.
进一步的,所述盒体两侧外壁的中心处均开设有矩形槽,且矩形槽的内部通过螺丝安装有散热翅片框。Further, rectangular grooves are opened at the center of the outer walls on both sides of the box body, and a heat dissipation fin frame is installed in the interior of the rectangular groove by screws.
进一步的,所述散热翅片框的轴心处开设有圆槽,且圆槽的内侧壁上通过螺丝安装有散热扇。Further, a circular groove is formed at the axial center of the heat dissipation fin frame, and a heat dissipation fan is installed on the inner side wall of the circular groove through screws.
进一步的,所述矩形槽内侧壁的两端均通过螺丝安装有滤网板。Further, both ends of the inner side wall of the rectangular slot are installed with screen plates through screws.
本实用新型的有益效果在于:The beneficial effects of the present utility model are:
1.本实用新型利用第一支架和第二支架之间的搭配使用,使得盒体能够达到很好的防护作用,进而延长了接线盒的使用寿命,连接杆通过限位板和拉簧的作用带动第二支架与盒体进行贴合,结构新颖,设计合理,实用性强。1. The utility model utilizes the combination of the first bracket and the second bracket, so that the box body can achieve a good protective effect, thereby prolonging the service life of the junction box, and the connecting rod passes through the action of the limit plate and the tension spring. The second bracket is driven to fit the box body, the structure is novel, the design is reasonable, and the practicability is strong.
2.本实用新型利用散热翅片框安装在矩形槽的内部,使得接线盒内部电子元件的热量可及时进行传导,有效的提升了接线盒的散热效率,结构紧凑,导热效果好,适合推广。2. The utility model utilizes the heat dissipation fin frame to be installed inside the rectangular slot, so that the heat of the electronic components inside the junction box can be conducted in time, effectively improving the heat dissipation efficiency of the junction box, the structure is compact, the heat conduction effect is good, and it is suitable for promotion.
3.本实用新型利用散热扇,盒体两侧圆槽内安装的散热扇一个为进风扇一个为排风扇,使得气流在盒体内部呈灌流式流通,极大的提升了盒体内部电子元件的散热效率,使得盒体内部电子元件的使用寿命得到延长。3. The utility model utilizes a cooling fan, one of the cooling fans installed in the circular grooves on both sides of the box body is an intake fan and the other is an exhaust fan, so that the air flow is perfused inside the box body, which greatly improves the electronic components inside the box body. The heat dissipation efficiency prolongs the service life of the electronic components inside the box.
附图说明Description of drawings
图1为本实用新型的结构示意图;Fig. 1 is the structural representation of the utility model;
图2为本实用新型的局部结构示意图;Fig. 2 is the partial structure schematic diagram of the present utility model;
图3为本实用新型的盒体结构示意图;Fig. 3 is the box body structure schematic diagram of the present invention;
图4为本实用新型的爆炸结构示意图。Figure 4 is a schematic diagram of the explosion structure of the present invention.
图中:1第一支架、2盒体、3第二支架、4翻转板、5第一凸柱、6第二凸柱、7连接杆、8限位板、9拉簧、10接线胶塞、11盒盖、12矩形槽、13散热翅片框、14散热扇、15滤网板、16定位环槽、17定位环、18螺孔、19锁紧螺栓、20圆槽。In the figure: 1 first bracket, 2 box body, 3 second bracket, 4 flip plate, 5 first convex column, 6 second convex column, 7 connecting rod, 8 limit plate, 9 tension spring, 10 wiring plug , 11 box cover, 12 rectangular slot, 13 cooling fin frame, 14 cooling fan, 15 filter plate, 16 positioning ring groove, 17 positioning ring, 18 screw holes, 19 locking bolts, 20 round grooves.
具体实施方式Detailed ways
下面将结合本实用新型实施例中的附图,对本实用新型实施例中的技术方案进行清楚、完整地描述,显然,所描述的实施例仅仅是本实用新型一部分实施例,而不是全部的实施例。基于本实用新型中的实施例,本领域普通技术人员在没有做出创造性劳动前提下所获得的所有其他实施例,都属于本实用新型保护的范围。The technical solutions in the embodiments of the present utility model will be clearly and completely described below with reference to the accompanying drawings in the embodiments of the present utility model. Obviously, the described embodiments are only a part of the embodiments of the present utility model, rather than all the implementations. example. Based on the embodiments of the present invention, all other embodiments obtained by those of ordinary skill in the art without creative work fall within the protection scope of the present invention.
参见图1至图4,本实用新型是一种具有防护结构的新能源光伏接线盒,包括盒体2,盒体2远离正面外壁的另一侧焊接有第一支架1,且第一支架1靠近盒体2一侧外壁的四周均焊接有第二凸柱6,第二凸柱6的内部插接有连接杆7,且连接杆7位于第二凸柱6内部的一端焊接有限位板8,限位板8远离连接杆7的另一侧外壁上焊接有拉簧9,且拉簧9远离限位板8的另一端焊接在第二凸柱6一端的内壁上,连接杆7通过限位板8和拉簧9的作用滑动连接在第二凸柱6的内部,且连接杆7远离第二凸柱6的一端焊接有第一凸柱5,第一凸柱5远离连接杆7的另一端外壁上焊接有第二支架3,且第二支架3的一侧内壁上通过铰链活动连接有翻转板4,第一支架1和第二支架3之间的搭配使用,使得盒体2能够达到很好的防护作用,进而延长了接线盒的使用寿命,连接杆7通过限位板8和拉簧9的作用带动第二支架3与盒体2进行贴合。1 to 4 , the present invention is a new energy photovoltaic junction box with a protective structure, comprising a
盒体2顶部外壁的中心处螺纹连接有三个呈等距离结构分布的接线胶塞10,且盒体2的正面外壁上盖接有盒盖11,盒盖11和盒体2正面外壁的四周均开设有螺孔18,且螺孔18的内部螺纹连接有锁紧螺栓19,接线胶塞10可对接线起到很好的防护作用,进而延长了接线的使用寿命。The center of the top outer wall of the
盒体2靠近盒盖11的内侧壁上开设有定位环槽16,且盒盖11靠近盒体2的一侧外壁上焊接有插接在定位环槽16内部的定位环17,定位环17插接在定位环槽16的内部,使得盒体2和盒盖11之间连接更加紧凑。A
盒体2两侧外壁的中心处均开设有矩形槽12,且矩形槽12的内部通过螺丝安装有散热翅片框13,散热翅片框13安装在矩形槽12的内部,使得接线盒内部电子元件的热量可及时进行传导,有效的提升了接线盒的散热效率。A
散热翅片框13的轴心处开设有圆槽20,且圆槽20的内侧壁上通过螺丝安装有散热扇14,散热扇14其中一个为进风扇另外一个为排风扇,使得气流在盒体2内部呈灌流式流通,极大的提升了盒体2内部电子元件的散热效率,使得盒体2内部电子元件的使用寿命得到延长。A
矩形槽12内侧壁的两端均通过螺丝安装有滤网板15,滤网板15可有效的隔绝灰尘进行盒体2的内部。Both ends of the inner side wall of the
本实用新型的工作原理如下:使用时,第一支架1和第二支架3之间的搭配使用,使得盒体2能够达到很好的防护作用,进而延长了接线盒的使用寿命,连接杆7通过限位板8和拉簧9的作用带动第二支架3与盒体2进行贴合,散热翅片框13安装在矩形槽12的内部,使得接线盒内部电子元件的热量可及时进行传导,有效的提升了接线盒的散热效率,而散热扇14其中一个为进风扇另外一个为排风扇,使得气流在盒体2内部呈灌流式流通,极大的提升了盒体2内部电子元件的散热效率,使得盒体2内部电子元件的使用寿命得到延长。The working principle of the utility model is as follows: when in use, the combination of the
以上所述,仅为本实用新型较佳的具体实施方式,但本实用新型的保护范围并不局限于此,任何熟悉本技术领域的技术人员在本实用新型揭露的技术范围内,根据本实用新型的技术方案及其实用新型构思加以等同替换或改变,都应涵盖在本实用新型的保护范围之内。The above description is only a preferred embodiment of the present invention, but the protection scope of the present invention is not limited to this. Equivalent replacement or modification of the new technical solution and its utility model concept shall be included within the protection scope of the present utility model.
Claims (6)
Priority Applications (1)
| Application Number | Priority Date | Filing Date | Title |
|---|---|---|---|
| CN202220121948.2U CN216819793U (en) | 2022-01-18 | 2022-01-18 | New forms of energy photovoltaic terminal box with protective structure |
Applications Claiming Priority (1)
| Application Number | Priority Date | Filing Date | Title |
|---|---|---|---|
| CN202220121948.2U CN216819793U (en) | 2022-01-18 | 2022-01-18 | New forms of energy photovoltaic terminal box with protective structure |
Publications (1)
| Publication Number | Publication Date |
|---|---|
| CN216819793U true CN216819793U (en) | 2022-06-24 |
Family
ID=82063845
Family Applications (1)
| Application Number | Title | Priority Date | Filing Date |
|---|---|---|---|
| CN202220121948.2U Expired - Fee Related CN216819793U (en) | 2022-01-18 | 2022-01-18 | New forms of energy photovoltaic terminal box with protective structure |
Country Status (1)
| Country | Link |
|---|---|
| CN (1) | CN216819793U (en) |
-
2022
- 2022-01-18 CN CN202220121948.2U patent/CN216819793U/en not_active Expired - Fee Related
Similar Documents
| Publication | Publication Date | Title |
|---|---|---|
| CN207053373U (en) | A kind of power protection shell for being easy to radiating | |
| CN206865413U (en) | A solar photovoltaic junction box | |
| CN206909020U (en) | A kind of charging pile with independent vertical heat dissipation wind channel | |
| CN216819793U (en) | New forms of energy photovoltaic terminal box with protective structure | |
| CN207588548U (en) | A photovoltaic power generation controller with cooling function | |
| CN109979885B (en) | Novel anti-diode is prevented to new forms of energy intelligence | |
| CN217768627U (en) | Energy storage power module structure | |
| CN213094154U (en) | A protective device for a DC combiner box for photovoltaic power generation | |
| CN218826532U (en) | Energy-saving box type transformer | |
| CN216698495U (en) | A large photovoltaic new energy battery cooling device | |
| CN216490243U (en) | Vehicle-mounted inverter with leakage protection circuit of vehicle-mounted inverter | |
| CN210928274U (en) | High-protection vehicle-mounted driver | |
| CN218958883U (en) | Energy storage control device of distributed new energy power system | |
| CN220914125U (en) | A special molded case circuit breaker for high voltage distribution cabinet | |
| CN219068163U (en) | Combined photovoltaic junction box | |
| CN219351669U (en) | Efficient dustproof photovoltaic machine room junction box | |
| CN219458577U (en) | Photovoltaic junction box and quick installation base | |
| CN219874727U (en) | Explosion-proof electrical equipment | |
| CN219575804U (en) | Battery installation mechanism with good heat dissipation effect | |
| CN217684689U (en) | Heat dissipation type projecting lamp structure | |
| CN220171884U (en) | High-safety power transformer | |
| CN210955013U (en) | Industrial touch screen with auxiliary heat dissipation function | |
| CN221827955U (en) | A battery protection structure | |
| CN223680779U (en) | Energy storage system power distribution device with power supply function | |
| CN218633853U (en) | Photovoltaic energy storage box |
Legal Events
| Date | Code | Title | Description |
|---|---|---|---|
| GR01 | Patent grant | ||
| GR01 | Patent grant | ||
| CF01 | Termination of patent right due to non-payment of annual fee | ||
| CF01 | Termination of patent right due to non-payment of annual fee |
Granted publication date: 20220624 |
