CN216813110U - A digital display temperature valve core - Google Patents

A digital display temperature valve core Download PDF

Info

Publication number
CN216813110U
CN216813110U CN202220026704.6U CN202220026704U CN216813110U CN 216813110 U CN216813110 U CN 216813110U CN 202220026704 U CN202220026704 U CN 202220026704U CN 216813110 U CN216813110 U CN 216813110U
Authority
CN
China
Prior art keywords
water
hole
cavity
digital display
valve core
Prior art date
Legal status (The legal status is an assumption and is not a legal conclusion. Google has not performed a legal analysis and makes no representation as to the accuracy of the status listed.)
Expired - Fee Related
Application number
CN202220026704.6U
Other languages
Chinese (zh)
Inventor
周剑冰
Current Assignee (The listed assignees may be inaccurate. Google has not performed a legal analysis and makes no representation or warranty as to the accuracy of the list.)
Heshan Mujia Intelligent Sanitary Ware Technology Co ltd
Original Assignee
Heshan Mujia Intelligent Sanitary Ware Technology Co ltd
Priority date (The priority date is an assumption and is not a legal conclusion. Google has not performed a legal analysis and makes no representation as to the accuracy of the date listed.)
Filing date
Publication date
Application filed by Heshan Mujia Intelligent Sanitary Ware Technology Co ltd filed Critical Heshan Mujia Intelligent Sanitary Ware Technology Co ltd
Priority to CN202220026704.6U priority Critical patent/CN216813110U/en
Application granted granted Critical
Publication of CN216813110U publication Critical patent/CN216813110U/en
Expired - Fee Related legal-status Critical Current
Anticipated expiration legal-status Critical

Links

Images

Landscapes

  • Domestic Plumbing Installations (AREA)

Abstract

A digital display temperature valve core comprises a base, a shell, a gland, a water diversion ceramic piece, a water mixing ceramic piece, a motor base, a hydroelectric generator, a temperature probe, a digital display assembly and a hand wheel, wherein the water diversion ceramic piece is arranged on the base and fixed together, and the water mixing ceramic piece is arranged on the water diversion ceramic piece; the motor base is arranged on the water mixing ceramic sheet, the mixed water inlet hole is communicated with the water collecting cavity, the mixed water guide hole is communicated with the mixed water guide hole, and the temperature probe is arranged in the axial groove on the driving plate; an impeller of the hydroelectric generator is positioned in an impeller cavity, a main body of the hydroelectric generator is in running fit and sealing with the impeller cavity, a positioning plate of the hydroelectric generator is embedded with a clamping groove at the upper end of a shell, and a gland is arranged at the upper end of the shell; the driving plate is inserted into the insertion hole, and the digital display assembly is arranged in the display device cavity and fixed with the top of the power generator; the hand wheel, the motor seat and the water mixing ceramic chip rotate together. The water generator is self-powered, the water temperature is displayed in real time, and consumers can visually see the water temperature and adjust the proper water temperature.

Description

一种数码显示温度阀芯A digital display temperature valve core

技术领域technical field

本实用新型涉及卫浴技术领域,尤其是一种混水阀芯。The utility model relates to the technical field of sanitary ware, in particular to a water mixing valve core.

背景技术Background technique

目前现有技术,中国发明专利申请201811298340.1,一种两功能阀芯,包括壳体和固定连接于壳体底端的底座,壳体与底座围成的阀芯腔内设置与底座连接的静片和与静片接触的动片,动片一端连接有穿过壳体的阀杆,动片由阀杆带动而相对静片运动,底座上开设有相互独立的冷进水口、热进水口和二个混水出口,静片上开设有与冷进水口、热进水口和二个混水出口分别对应连通的冷进水孔、热进水孔和第一混水孔、第二混水孔,动片上开设有过水通道,动片移动实现水路切换,动片转动调节水温;两个混水孔在阀芯关闭时隔离。存在问题是:不能实现显示水温,消费者不直观看到水温。Current prior art, Chinese invention patent application 201811298340.1, a dual-function valve core, comprising a casing and a base fixedly connected to the bottom end of the casing, a valve core cavity enclosed by the casing and the base is provided with a static plate and a base connected to the base The moving piece in contact with the static piece, one end of the moving piece is connected with a valve stem passing through the shell, the moving piece is driven by the valve stem to move relative to the static piece, and the base is provided with independent cold water inlet, hot water inlet and two The water mixing outlet is provided with a cold water inlet hole, a hot water inlet hole, a first water mixing hole and a second water mixing hole which are respectively connected with the cold water inlet, the hot water inlet and the two mixed water outlets on the static plate. There is a water passage, the moving plate moves to realize the water circuit switching, and the moving plate rotates to adjust the water temperature; the two water mixing holes are isolated when the valve core is closed. The problem is: the water temperature cannot be displayed, and consumers cannot see the water temperature intuitively.

实用新型内容Utility model content

本实用新型的目的是:提供一种数码显示温度阀芯,它具有设置水力发电机且实时显示水温的特点。The purpose of the utility model is to provide a digital display temperature valve core, which has the characteristics of setting a hydroelectric generator and displaying the water temperature in real time.

本实用新型是这样实现的:一种数码显示温度阀芯,其特殊之处在于:它包括底座、外壳、压盖、分水陶瓷片、混水陶瓷片、电机座、水力发电机、温度探头、数码显示组件和手轮,The utility model is realized as follows: a digital display temperature valve core, which is special in that it comprises a base, a casing, a gland, a water-separating ceramic sheet, a water-mixing ceramic sheet, a motor seat, a hydraulic generator, and a temperature probe. , digital display components and handwheels,

底座包括冷水进水孔、热水进水孔和混合水出水孔,The base includes a cold water inlet hole, a hot water inlet hole and a mixed water outlet hole.

分水陶瓷片包括轴向冷水孔、轴向热水孔、环形混合水槽和混合水出水腔,The water-dividing ceramic sheet includes an axial cold water hole, an axial hot water hole, an annular mixed water tank and a mixed water outlet cavity.

混水陶瓷片包括集水腔、混水孔和混合水导水孔,The mixed water ceramic sheet includes a water collecting cavity, a mixed water hole and a mixed water guide hole.

电机座包括上开口的叶轮腔、若干混合水进水孔、混合导水孔和至少二个驱动板,The motor base includes an impeller cavity with an upper opening, several mixed water inlet holes, mixed water guide holes and at least two drive plates,

手轮包括上开口的显示装置腔、隔板、套筒体和设在隔板上的插接孔,The handwheel includes a display device cavity with an upper opening, a partition plate, a sleeve body and an insertion hole provided on the partition plate,

分水陶瓷片设在底座上且固定在一起,轴向冷水孔、轴向热水孔和混合水出水腔分别与冷水进水孔、热水进水孔和混合水出水孔相对应;混水陶瓷片设在分水陶瓷片上且转动配合,混水孔与轴向冷水孔和轴向热水孔配合,混合水导水孔与环形混合水槽相对应;电机座设在混水陶瓷片上,混合水进水孔与集水腔连通,混合导水孔与混合水导水孔连通,温度探头设在驱动板上的轴向槽内;水力发电机的叶轮位于叶轮腔内,水力发电机的主体与叶轮腔转动配合且密封,水力发电机的定位板与外壳上端的卡槽嵌合,压盖设在外壳上端;驱动板与插接孔插接,数码显示组件设在显示装置腔内且与电力发电机的顶部固定;手轮、电机座和混水陶瓷片一起转动。The water-separating ceramic sheets are arranged on the base and fixed together, and the axial cold water hole, the axial hot water hole and the mixed water outlet cavity correspond to the cold water inlet hole, the hot water inlet hole and the mixed water outlet respectively; The ceramic sheet is arranged on the water-separating ceramic sheet and rotates together, the water mixing hole is matched with the axial cold water hole and the axial hot water hole, and the mixing water guide hole corresponds to the annular mixing water tank; The water inlet hole is connected with the water collecting cavity, the mixed water guide hole is connected with the mixed water guide hole, and the temperature probe is arranged in the axial groove on the driving plate; the impeller of the hydroelectric generator is located in the impeller cavity, and the main body of the hydroelectric generator It is rotatably matched and sealed with the impeller cavity. The positioning plate of the hydroelectric generator is fitted with the slot on the upper end of the casing, and the gland is arranged on the upper end of the casing. The top of the power generator is fixed; the handwheel, motor base and water-mixed ceramic plate rotate together.

优选的:还包括透光灯圈和环形发光组件,Preferably: it also includes a light-transmitting lamp ring and a ring-shaped light-emitting assembly,

环形发光组件设在透光灯圈的上开口的环形腔内,透光灯圈插入所述手轮的下端内且随手轮一起转动。The annular light-emitting assembly is arranged in the annular cavity with the upper opening of the light-transmitting lamp ring, and the light-transmitting lamp ring is inserted into the lower end of the hand wheel and rotates together with the hand wheel.

优选的:还包括泄压阀芯,泄压阀芯包括圆弧形基座、设圆弧形基座上端的上座体及设在下端的下阀芯片;Preferably: a pressure relief valve core is also included, and the pressure relief valve core includes a circular arc-shaped base, an upper seat body provided at the upper end of the circular arc-shaped base, and a lower valve core set at the lower end;

所述混水陶瓷片设有阀芯座腔、阀芯座腔的底板上设有下轴向泄压孔,The water-mixing ceramic sheet is provided with a valve core seat cavity, and the bottom plate of the valve core seat cavity is provided with a lower axial pressure relief hole,

所述电机座上设有上座孔,The motor seat is provided with an upper seat hole,

圆弧形基座与阀芯座腔嵌合,上座体伸入上座孔内、下阀芯片伸入下轴向泄压孔内。The arc-shaped base is fitted with the valve core seat cavity, the upper seat body extends into the upper seat hole, and the lower valve chip extends into the lower axial pressure relief hole.

优选的:所述数码显示组件包括玻璃显示面板、数码显示器和线路板,Preferably: the digital display assembly includes a glass display panel, a digital display and a circuit board,

还包括连接座,数码显示组件设在连接座的顶部,连接座下端与所述水力发电机的顶部固定。It also includes a connecting seat, the digital display assembly is arranged on the top of the connecting seat, and the lower end of the connecting seat is fixed with the top of the hydroelectric generator.

优选的:所述透光灯圈由塑料材料制成。Preferably: the light-transmitting lamp ring is made of plastic material.

优选的:所述环形发光组件包括圆环形线路板和设在圆环形线路板上的LED发光体。Preferably, the annular light-emitting assembly includes an annular circuit board and an LED light-emitting body disposed on the annular circuit board.

优选的:所述手轮上设有紧固螺钉座,紧固螺丝与紧固螺钉座的螺丝孔与所述驱动板配合。Preferably: the handwheel is provided with a fastening screw seat, and the fastening screw and the screw hole of the fastening screw seat are matched with the driving board.

本实用新型一种数码显示温度阀芯,由于采用这样的结构,利用水发电机自供电,而且实时显示水温,消费者直观看到水温,调整合适水温。The utility model has a digital display temperature valve core, which adopts such a structure, utilizes a water generator to supply power by itself, and displays the water temperature in real time, so that consumers can intuitively see the water temperature and adjust the appropriate water temperature.

附图说明Description of drawings

图1是本实用新型的剖视图之一。Figure 1 is one of the sectional views of the present invention.

图2是本实用新型的剖视图之二。Fig. 2 is the second sectional view of the present utility model.

图3是本实用新型的立体分解图之一。Figure 3 is one of the three-dimensional exploded views of the present invention.

图4是本实用新型的立体分解图之二。FIG. 4 is the second exploded perspective view of the present invention.

图5是本实用新型的立体分解图之三。Figure 5 is the third exploded perspective view of the present invention.

图6是本实用新型的混水陶瓷片的立体图。6 is a perspective view of the water-mixed ceramic sheet of the present invention.

图7是本实用新型的泄压阀芯与混水陶瓷片配合的立体剖视图。FIG. 7 is a three-dimensional cross-sectional view of the pressure relief valve core and the water-mixing ceramic sheet of the present invention.

图8是本实用新型的泄压阀芯与混水陶瓷片配合的立体分解图。FIG. 8 is an exploded perspective view of the pressure relief valve core and the water-mixing ceramic sheet of the present invention.

图9是本实用新型的手轮的立体剖视图。9 is a perspective cross-sectional view of the handwheel of the present invention.

图10是本实用新型的手轮的立体图。10 is a perspective view of the handwheel of the present invention.

具体实施方式Detailed ways

下面详细描述本实新的实施例,所述实施例的示例在附图中示出,其中自始至终相同或类似的标号表示相同或类似的元件或具有相同或类似功能的元件。下面通过参考附图描述的实施例是示例性的,仅用于解释本实新,而不能理解为对本实新的限制。Embodiments of the present invention are described in detail below, examples of which are illustrated in the accompanying drawings, wherein the same or similar reference numerals refer to the same or similar elements or elements having the same or similar functions throughout. The embodiments described below with reference to the accompanying drawings are exemplary, and are only used to explain the present invention, and should not be construed as a limitation to the present invention.

在本实新的描述中,需要理解的是,术语“中心”、“上”、“下”、“前”、“后”、“左”、“右”、“竖直”、“水平”、“顶”、“底”、“内”、“外”等指示的方位或位置关系为基于附图所示的方位或位置关系,仅是为了便于描述本实新和简化描述,而不是指示或暗示所指的装置或元件必须具有特定的方位、以特定的方位构造和操作,因此不能理解为对本实新的限制;In the description of the present invention, it should be understood that the terms "center", "upper", "lower", "front", "rear", "left", "right", "vertical", "horizontal" , "top", "bottom", "inside", "outside" and other indicated orientations or positional relationships are based on the orientations or positional relationships shown in the accompanying drawings, and are only for the convenience of describing the present invention and simplifying the description, rather than indicating Or imply that the device or element referred to must have a specific orientation, be constructed and operate in a specific orientation, and therefore should not be construed as a limitation on the present invention;

在本实新的描述中,需要说明的是,除非另有明确的规定和限定,术语“安装”、“相连”、“连接”应做广义理解,例如,可以是固定连接,也可以是可拆卸连接,或一体地连接;可以是直接相连,也可以通过中间媒介间接相连,可以是两个元件内部的连通。对于本领域的普通技术人员而言,可以具体情况理解上述术语在本实新中的具体含义。In the description of the present invention, it should be noted that the terms "installed", "connected" and "connected" should be understood in a broad sense, unless otherwise expressly specified and limited, for example, it may be a fixed connection or a Detachable connection, or integral connection; it can be directly connected, or indirectly connected through an intermediate medium, and it can be the internal communication of two components. For those of ordinary skill in the art, the specific meanings of the above terms in the present invention can be understood in specific situations.

如图1所示,一种数码显示温度阀芯,包括底座1、外壳2、压盖3、分水陶瓷片4、混水陶瓷片5、电机座6、水力发电机7、温度探头8、数码显示组件9和手轮10,As shown in Figure 1, a digital display temperature valve core includes a base 1, a casing 2, a gland 3, a water-separating ceramic sheet 4, a water-mixing ceramic sheet 5, a motor seat 6, a hydraulic generator 7, a temperature probe 8, Digital display assembly 9 and hand wheel 10,

底座1包括冷水进水孔1A、热水进水孔1B、混合水出水孔1C、轴向定位板1D、销板1E和扣钩1F,The base 1 includes a cold water inlet hole 1A, a hot water inlet hole 1B, a mixed water outlet hole 1C, an axial positioning plate 1D, a pin plate 1E and a hook 1F,

外壳2的下端设有销槽21及扣钩孔22、上端设有径向定位槽23,The lower end of the casing 2 is provided with a pin groove 21 and a hook hole 22, and the upper end is provided with a radial positioning groove 23.

分水陶瓷片4包括轴向冷水孔41、轴向热水孔42、环形混合水槽43 和混合水出水腔44,混合水出水腔44具有下开口且呈扇形,或者说,混合水出水腔44的形状和底座1上的混合水出水孔1C形状相适应,环形混合水槽43和混合水出水腔44连通;The water separation ceramic sheet 4 includes an axial cold water hole 41, an axial hot water hole 42, an annular mixed water tank 43 and a mixed water outlet cavity 44. The mixed water outlet cavity 44 has a lower opening and is fan-shaped, or in other words, the mixed water outlet cavity 44 The shape of the mixing water outlet 1C on the base 1 is compatible with the shape of the mixed water outlet hole 1C, and the annular mixing water tank 43 is communicated with the mixed water outlet cavity 44;

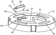
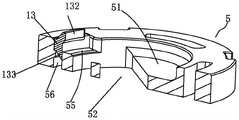
混水陶瓷片5包括设在中心的集水腔51、设在集水腔51底板上的混水孔52和环绕集水腔51设置的若干个混合水导水孔53,混合导水水孔53呈圆形分布;下端面上设有环形集水槽54,混合水导水孔53与环形集水槽连通;混合孔52沿集水腔51的直径线设置;The mixed water ceramic sheet 5 includes a water collecting cavity 51 in the center, a water mixing hole 52 arranged on the bottom plate of the water collecting cavity 51, and several mixed water guiding holes 53 arranged around the water collecting cavity 51. 53 is distributed in a circle; an annular water collecting groove 54 is arranged on the lower end surface, and the mixing water guide hole 53 is communicated with the annular water collecting groove; the mixing hole 52 is arranged along the diameter line of the water collecting cavity 51;

电机座6包括上开口的叶轮腔61、设在叶轮腔底板上的若干混合水进水孔62、混合导水孔63和二个驱动板64,混合水进水孔62所在圆的直径小于混合导水孔63所在圆的直径;The motor base 6 includes an impeller cavity 61 with an upper opening, several mixed water inlet holes 62, a mixed water guide hole 63 and two drive plates 64 arranged on the bottom plate of the impeller cavity. The diameter of the circle where the mixed water inlet hole 62 is located is smaller than the The diameter of the circle where the water guide hole 63 is located;

水力发电机7的主体上设有二个在一条直径线上的径向定位板71The main body of the hydroelectric generator 7 is provided with two radial positioning plates 71 on a diameter line

手轮10包括上开口的显示装置腔101、隔板102、套筒体103和设在隔板上的插接孔104,套筒体103上设有沿轴向的避空孔,避空孔与插接孔 104相连通;The handwheel 10 includes a display device cavity 101 with an upper opening, a partition plate 102, a sleeve body 103 and an insertion hole 104 provided on the partition plate. communicated with the insertion hole 104;

分水陶瓷片4设在底座1上且固定在一起,轴向冷水孔41、轴向热水孔42和混合水出水腔44分别与冷水进水孔1A、热水进水孔1B和混合水出水孔1C相对应,轴向定位板1D与分水陶瓷片4上的轴向定位槽嵌合;混水陶瓷片5设在分水陶瓷片4上且转动配合,混水孔52与轴向冷水孔41 和轴向热水孔42配合,混合水导水孔53与环形混合水槽43相对应,即环形集水槽54、环形混合水槽43和混合水出水腔44相对应;电机座6设在混水陶瓷片5上,混合水进水孔62与集水腔51连通,混合导水孔63与混合水导水孔53连通,温度探头8设在驱动板63上的轴向槽内并伸入叶轮腔61内;水力发电机7的叶轮72位于叶轮腔61内,水力发电机7的主体与叶轮腔61转动配合且密封,水力发电机7的定位板71与外壳2上端的卡槽23嵌合,压盖3设在外壳2上端;驱动板64与手轮10的插接孔104 插接,数码显示组件9设在显示装置腔101内且与电力发电机7的顶部固定,套筒体103环绕水力发电机7;手轮10、电机座6和混水陶瓷片5一起转动;底座1上的销板1E和扣钩1F分别与外壳2上的销槽21及扣钩孔 22配合;The water-separating ceramic sheet 4 is arranged on the base 1 and fixed together. The axial cold water hole 41, the axial hot water hole 42 and the mixed water outlet cavity 44 are respectively connected with the cold water inlet hole 1A, the hot water inlet hole 1B and the mixed water hole 44. Corresponding to the water outlet hole 1C, the axial positioning plate 1D is fitted with the axial positioning groove on the water-separating ceramic sheet 4; The cold water hole 41 is matched with the axial hot water hole 42, and the mixed water guide hole 53 corresponds to the annular mixed water tank 43, that is, the annular water collecting tank 54, the annular mixed water tank 43 and the mixed water outlet cavity 44 correspond; On the mixed water ceramic sheet 5, the mixed water inlet hole 62 is communicated with the water collecting chamber 51, the mixed water guide hole 63 is communicated with the mixed water guide hole 53, and the temperature probe 8 is arranged in the axial groove on the drive plate 63 and extends side by side into the impeller cavity 61; the impeller 72 of the hydroelectric generator 7 is located in the impeller cavity 61, the main body of the hydroelectric generator 7 is rotatably matched and sealed with the impeller cavity 61, and the positioning plate 71 of the hydroelectric generator 7 and the upper end of the casing 2 The slot 23 Fitting, the gland 3 is arranged on the upper end of the casing 2; the drive plate 64 is inserted into the insertion hole 104 of the hand wheel 10, the digital display assembly 9 is arranged in the display device cavity 101 and is fixed to the top of the power generator 7, and the sleeve The body 103 surrounds the hydroelectric generator 7; the hand wheel 10, the motor base 6 and the water-mixed ceramic plate 5 rotate together; the pin plate 1E and the hook 1F on the base 1 are respectively matched with the pin groove 21 and the hook hole 22 on the shell 2 ;

转动手轮10、电机座6和混水陶瓷片5随手轮10起转动,混合陶瓷片 5的混合孔52与分水陶瓷片4上的轴向冷水孔41、轴向热水孔42、或轴向冷水孔41及轴向热水孔42配合,实现冷水、热水和混合水;Rotate the handwheel 10, the motor base 6 and the water-mixing ceramic sheet 5 to rotate with the handwheel 10, the mixing hole 52 of the hybrid ceramic sheet 5 and the axial cold water hole 41, the axial hot water hole 42 on the water-separating ceramic sheet 4, or the The axial cold water hole 41 and the axial hot water hole 42 cooperate to realize cold water, hot water and mixed water;

混水陶瓷片5转动,水经底座1、分水陶瓷片4进入混水陶瓷片5的集水腔51内,再叶轮腔61的混合水进水孔62进入叶轮腔61驱动叶轮72转动,水力发电机7发电,且给数码显示组件9供电,数码显示组件9实时显示出水温度;水驱动叶轮72后经混合导水孔63、混合水导水孔53、环形混合水槽43、混合水出水腔44及底座1的混合水出水孔1C流出。When the water-mixing ceramic sheet 5 rotates, the water enters the water collecting chamber 51 of the water-mixing ceramic sheet 5 through the base 1 and the water-separating ceramic sheet 4, and then the mixed water inlet hole 62 of the impeller chamber 61 enters the impeller chamber 61 to drive the impeller 72 to rotate, The hydroelectric generator 7 generates electricity and supplies power to the digital display assembly 9. The digital display assembly 9 displays the water temperature in real time; the water drives the impeller 72 through the mixed water guide hole 63, the mixed water guide hole 53, the annular mixed water tank 43, and the mixed water outlet. The cavity 44 and the mixed water outlet 1C of the base 1 flow out.

作为本实用新型的改进:还包括透光灯圈11和环形发光组件12,As an improvement of the present utility model: the light-transmitting lamp ring 11 and the annular light-emitting assembly 12 are also included,

环形发光组件12设在透光灯圈11的上开口的环形腔内,透光灯圈11 插入所述手轮10的下端内且随手轮10一起转动;The annular light-emitting assembly 12 is arranged in the annular cavity with the upper opening of the light-transmitting lamp ring 11, and the light-transmitting lamp ring 11 is inserted into the lower end of the hand wheel 10 and rotates together with the hand wheel 10;

所述透光灯圈11由塑料材料制成;The light-transmitting lamp ring 11 is made of plastic material;

所述环形发光组件12包括圆环形线路板和设在圆环形线路板上的LED 发光体。The annular light-emitting assembly 12 includes an annular circuit board and an LED light-emitting body disposed on the annular circuit board.

作为本实用新型的更进一步改进:如图7、图8所示,还包括泄压阀芯 13,泄压阀芯13包括圆弧形基座131、设圆弧形基座上端的上座体132及设在下端的下阀芯片133;As a further improvement of the present utility model: as shown in Figure 7 and Figure 8, it also includes a pressure relief valve core 13, the pressure relief valve core 13 includes an arc-shaped base 131 and an upper seat body 132 with an upper end of the arc-shaped base. and the lower valve chip 133 located at the lower end;

所述混水陶瓷片5设有阀芯座腔55、阀芯座腔的底板上设有下轴向泄压孔56,阀芯座腔55与集水腔51连通;The water-mixing ceramic sheet 5 is provided with a valve core seat cavity 55, a lower axial pressure relief hole 56 is provided on the bottom plate of the valve core seat cavity, and the valve core seat cavity 55 is communicated with the water collecting cavity 51;

所述电机座6上设有上座孔65,The motor seat 6 is provided with an upper seat hole 65,

圆弧形基座131与阀芯座腔55嵌合,上座体132伸入上座孔65内、下阀芯片133伸入下轴向泄压孔56内;采用这样的结构,进入集水腔51 内的水流压力超过设定的压力时,下阀芯片133与下轴向泄压孔56分离,集水腔51的水经下轴向泄压孔56进入环形混合水槽43内,混合水出水腔 44、底座1的混合水出水孔1C排出。The arc-shaped base 131 is fitted with the valve core seat cavity 55, the upper seat body 132 extends into the upper seat hole 65, and the lower valve core 133 extends into the lower axial pressure relief hole 56; adopting such a structure, it enters the water collecting cavity 51 When the water flow pressure inside exceeds the set pressure, the lower valve chip 133 is separated from the lower axial pressure relief hole 56, the water in the water collecting chamber 51 enters the annular mixing tank 43 through the lower axial pressure relief hole 56, and the mixed water exits the water chamber. 44. The mixed water outlet hole 1C of the base 1 is discharged.

所述数码显示组件9包括玻璃显示面板91、数码显示器92和线路板 93,The digital display assembly 9 includes a glass display panel 91, a digital display 92 and a circuit board 93,

还包括连接座14,数码显示组件9设在连接座14的顶部,连接座14 下端与所述水力发电机7的顶部固定。It also includes a connection base 14 , the digital display assembly 9 is arranged on the top of the connection base 14 , and the lower end of the connection base 14 is fixed to the top of the hydroelectric generator 7 .

所述手轮10上设有紧固螺钉座105,紧固螺丝与紧固螺钉座105的螺丝孔与所述驱动板64配合。The handwheel 10 is provided with a fastening screw seat 105 , and the fastening screw and the screw hole of the fastening screw seat 105 are matched with the driving plate 64 .

在本说明书的描述中,参考术语“一个实施例”、“一些实施例”、“示意性实施例”、“示例”、“具体示例”、或“一些示例”等的描述意指结合该实施例或示例描述的具体特征、结构、材料或者特点包含于本实新的至少一个实施例或示例中。在本说明书中,对上述术语的示意性表述不一定指的是相同的实施例或示例。而且,描述的具体特征、结构、材料或者特点可以在任何的一个或多个实施例或示例中以合适的方式结合。In the description of this specification, reference to the terms "one embodiment," "some embodiments," "exemplary embodiment," "example," "specific example," or "some examples," or the like, is meant to incorporate the embodiment. A particular feature, structure, material, or characteristic described in an example or example is included in at least one embodiment or example of the present invention. In this specification, schematic representations of the above terms do not necessarily refer to the same embodiment or example. Furthermore, the particular features, structures, materials or characteristics described may be combined in any suitable manner in any one or more embodiments or examples.

尽管已经示出和描述了本实新的实施例,本领域的普通技术人员可以理解:在不脱离本实新的原理和宗旨的情况下可以对这些实施例进行多种变化、修改、替换和变型,本实新的范围由权利要求及其等同物限定。Although embodiments of the present invention have been shown and described, it will be understood by those of ordinary skill in the art that various changes, modifications, substitutions and alterations can be made in these embodiments without departing from the principles and spirit of the present invention Variations, the scope of the present invention is defined by the claims and their equivalents.

Claims (7)

1.一种数码显示温度阀芯,其特征在于:它包括底座、外壳、压盖、分水陶瓷片、混水陶瓷片、电机座、水力发电机、温度探头、数码显示组件和手轮,1. A digital display temperature valve core is characterized in that: it comprises a base, a casing, a gland, a water-separating ceramic sheet, a water-mixing ceramic sheet, a motor seat, a hydraulic generator, a temperature probe, a digital display assembly and a handwheel, 底座包括冷水进水孔、热水进水孔和混合水出水孔,The base includes a cold water inlet hole, a hot water inlet hole and a mixed water outlet hole. 分水陶瓷片包括轴向冷水孔、轴向热水孔、环形混合水槽和混合水出水腔,The water-dividing ceramic sheet includes an axial cold water hole, an axial hot water hole, an annular mixed water tank and a mixed water outlet cavity. 混水陶瓷片包括集水腔、混水孔和混合水导水孔,The mixed water ceramic sheet includes a water collecting cavity, a mixed water hole and a mixed water guide hole. 电机座包括上开口的叶轮腔、若干混合水进水孔、混合导水孔和至少二个驱动板,The motor base includes an impeller cavity with an upper opening, several mixed water inlet holes, mixed water guide holes and at least two drive plates, 手轮包括上开口的显示装置腔、隔板、套筒体和设在隔板上的插接孔,The handwheel includes a display device cavity with an upper opening, a partition plate, a sleeve body and a plug hole provided on the partition plate, 分水陶瓷片设在底座上且固定在一起,轴向冷水孔、轴向热水孔和混合水出水腔分别与冷水进水孔、热水进水孔和混合水出水孔相对应;混水陶瓷片设在分水陶瓷片上且转动配合,混水孔与轴向冷水孔和轴向热水孔配合,混合水导水孔与环形混合水槽相对应;电机座设在混水陶瓷片上,混合水进水孔与集水腔连通,混合导水孔与混合水导水孔连通,温度探头设在驱动板上的轴向槽内;水力发电机的叶轮位于叶轮腔内,水力发电机的主体与叶轮腔转动配合且密封,水力发电机的定位板与外壳上端的卡槽嵌合,压盖设在外壳上端;驱动板与插接孔插接,数码显示组件设在显示装置腔内且与电力发电机的顶部固定;手轮、电机座和混水陶瓷片一起转动。The water-separating ceramic sheets are arranged on the base and fixed together, and the axial cold water hole, the axial hot water hole and the mixed water outlet cavity correspond to the cold water inlet hole, the hot water inlet hole and the mixed water outlet respectively; The ceramic sheet is arranged on the water-separating ceramic sheet and rotates together, the water mixing hole is matched with the axial cold water hole and the axial hot water hole, and the mixing water guide hole corresponds to the annular mixing water tank; the motor base is arranged on the water mixing ceramic sheet, and the mixing The water inlet hole is connected with the water collecting cavity, the mixed water guide hole is connected with the mixed water guide hole, and the temperature probe is arranged in the axial groove on the drive plate; the impeller of the hydroelectric generator is located in the impeller cavity, and the main body of the hydroelectric generator It is rotatably matched and sealed with the impeller cavity, the positioning plate of the hydroelectric generator is fitted with the slot on the upper end of the casing, and the gland is arranged on the upper end of the casing; the driving plate is inserted into the insertion hole, and the digital display component is arranged in the display device cavity and is connected with the casing. The top of the power generator is fixed; the handwheel, motor base and water-mixed ceramic plate rotate together. 2.根据权利要求1所述的一种数码显示温度阀芯,其特征在于:还包括透光灯圈和环形发光组件,2. A digital display temperature valve core according to claim 1, characterized in that: it also comprises a light-transmitting lamp ring and an annular light-emitting assembly, 环形发光组件设在透光灯圈的上开口的环形腔内,透光灯圈插入所述手轮的下端内且随手轮一起转动。The annular light-emitting assembly is arranged in the annular cavity with the upper opening of the light-transmitting lamp ring, and the light-transmitting lamp ring is inserted into the lower end of the hand wheel and rotates together with the hand wheel. 3.根据权利要求1所述的一种数码显示温度阀芯,其特征在于:还包括泄压阀芯,泄压阀芯包括圆弧形基座、设圆弧形基座上端的上座体及设在下端的下阀芯片;3. A digital display temperature valve core according to claim 1, characterized in that: further comprising a pressure relief valve core, the pressure relief valve core comprising an arc-shaped base, an upper seat body provided with an upper end of the arc-shaped base, and The lower valve chip located at the lower end; 所述混水陶瓷片设有阀芯座腔、阀芯座腔的底板上设有下轴向泄压孔,The water-mixing ceramic sheet is provided with a valve core seat cavity, and the bottom plate of the valve core seat cavity is provided with a lower axial pressure relief hole, 所述电机座上设有上座孔,The motor seat is provided with an upper seat hole, 圆弧形基座与阀芯座腔嵌合,上座体伸入上座孔内、下阀芯片伸入下轴向泄压孔内。The arc-shaped base is fitted with the valve core seat cavity, the upper seat body extends into the upper seat hole, and the lower valve chip extends into the lower axial pressure relief hole. 4.根据权利要求1所述的一种数码显示温度阀芯,其特征在于:所述数码显示组件包括玻璃显示面板、数码显示器和线路板,4. A digital display temperature valve core according to claim 1, wherein the digital display assembly comprises a glass display panel, a digital display and a circuit board, 还包括连接座,数码显示组件设在连接座的顶部,连接座下端与所述水力发电机的顶部固定。It also includes a connecting seat, the digital display assembly is arranged on the top of the connecting seat, and the lower end of the connecting seat is fixed with the top of the hydroelectric generator. 5.根据权利要求2所述的一种数码显示温度阀芯,其特征在于:所述透光灯圈由塑料材料制成。5 . The digital display temperature valve core according to claim 2 , wherein the light-transmitting lamp ring is made of plastic material. 6 . 6.根据权利要求2所述的一种数码显示温度阀芯,其特征在于:所述环形发光组件包括圆环形线路板和设在圆环形线路板上的LED发光体。6 . The temperature valve core for digital display according to claim 2 , wherein the annular light-emitting component comprises an annular circuit board and an LED light-emitting body arranged on the annular circuit board. 7 . 7.根据权利要求1、2、3、4、5或6所述的一种数码显示温度阀芯,其特征在于:所述手轮上设有紧固螺钉座,紧固螺丝与紧固螺钉座的螺丝孔与所述驱动板配合。7. A digital display temperature valve core according to claim 1, 2, 3, 4, 5 or 6, characterized in that: the handwheel is provided with a fastening screw seat, the fastening screw and the fastening screw The screw holes of the seat are matched with the driving board.
CN202220026704.6U 2022-01-05 2022-01-05 A digital display temperature valve core Expired - Fee Related CN216813110U (en)

Priority Applications (1)

Application Number Priority Date Filing Date Title
CN202220026704.6U CN216813110U (en) 2022-01-05 2022-01-05 A digital display temperature valve core

Applications Claiming Priority (1)

Application Number Priority Date Filing Date Title
CN202220026704.6U CN216813110U (en) 2022-01-05 2022-01-05 A digital display temperature valve core

Publications (1)

Publication Number Publication Date
CN216813110U true CN216813110U (en) 2022-06-24

Family

ID=82064535

Family Applications (1)

Application Number Title Priority Date Filing Date
CN202220026704.6U Expired - Fee Related CN216813110U (en) 2022-01-05 2022-01-05 A digital display temperature valve core

Country Status (1)

Country Link
CN (1) CN216813110U (en)

Cited By (1)

* Cited by examiner, † Cited by third party
Publication number Priority date Publication date Assignee Title
WO2024188268A1 (en) * 2023-03-14 2024-09-19 鹤山市沐加智能卫浴科技有限公司 Switching and water mixing valve element with hydroelectric generator

Cited By (1)

* Cited by examiner, † Cited by third party
Publication number Priority date Publication date Assignee Title
WO2024188268A1 (en) * 2023-03-14 2024-09-19 鹤山市沐加智能卫浴科技有限公司 Switching and water mixing valve element with hydroelectric generator

Similar Documents

Publication Publication Date Title
WO2010133137A1 (en) Intelligent thermostatic water output device
US11623883B2 (en) Faucet configured to discharge ozone water
CN216813110U (en) A digital display temperature valve core
CN101576175A (en) Digital display water tap
CN210266009U (en) Simple water-dividing temperature-regulating ceramic valve core
CN210531654U (en) Double-inlet and double-outlet cold and hot water mixing valve core
CN105805390B (en) The rotation button one bond structure and its control method of shower box
CN221401808U (en) Valve core and water outlet device
CN211009994U (en) Temperature-displaying faucet
CN219493135U (en) Switch water mixing valve core with water flow generator
CN221401803U (en) Double-waterway valve core seat and double-control induction faucet
CN216789322U (en) A bathtub faucet water channel main body and bathtub faucet
EP3798373A1 (en) Faucet with luminous handle
CN214999572U (en) Low-cost food preparation machine
CN212641627U (en) Handle luminous tap
CN216951792U (en) Multifunctional water tap
CN213982133U (en) Shower faucet
CN221443364U (en) Tap choke valve and use its tap
CN116292977A (en) An on-off water mixing valve core with a flow generator
CN222746729U (en) Digital display shower faucet
CN220816743U (en) Novel faucet
CN112524296A (en) a shower faucet
CN220185845U (en) Key water outlet valve with shower nozzle socket
CN206449251U (en) A kind of multi-functional reversing water faucet
CN211039776U (en) Compact type induction water faucet with mixed water outlet

Legal Events

Date Code Title Description
GR01 Patent grant
GR01 Patent grant
CF01 Termination of patent right due to non-payment of annual fee
CF01 Termination of patent right due to non-payment of annual fee

Granted publication date: 20220624