CN216807054U - Conveyer belt dust collector for ore dressing - Google Patents

Conveyer belt dust collector for ore dressing Download PDF

Info

Publication number
CN216807054U
CN216807054U CN202220679581.6U CN202220679581U CN216807054U CN 216807054 U CN216807054 U CN 216807054U CN 202220679581 U CN202220679581 U CN 202220679581U CN 216807054 U CN216807054 U CN 216807054U
Authority
CN
China
Prior art keywords
dust
fixed
extraction
fixed column
extraction fan
Prior art date
Legal status (The legal status is an assumption and is not a legal conclusion. Google has not performed a legal analysis and makes no representation as to the accuracy of the status listed.)
Active
Application number
CN202220679581.6U
Other languages
Chinese (zh)
Inventor
温秀英
黄景斌
吴显燊
Current Assignee (The listed assignees may be inaccurate. Google has not performed a legal analysis and makes no representation or warranty as to the accuracy of the list.)
Jiangxi Zhuoye Environmental Protection Technology Co ltd
Original Assignee
Jiangxi Zhuoye Environmental Protection Technology Co ltd
Priority date (The priority date is an assumption and is not a legal conclusion. Google has not performed a legal analysis and makes no representation as to the accuracy of the date listed.)
Filing date
Publication date
Application filed by Jiangxi Zhuoye Environmental Protection Technology Co ltd filed Critical Jiangxi Zhuoye Environmental Protection Technology Co ltd
Priority to CN202220679581.6U priority Critical patent/CN216807054U/en
Application granted granted Critical
Publication of CN216807054U publication Critical patent/CN216807054U/en
Active legal-status Critical Current
Anticipated expiration legal-status Critical

Links

Images

Landscapes

  • Filtering Of Dispersed Particles In Gases (AREA)

Abstract

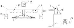
The utility model discloses a dust removal device for a conveying belt for mineral separation, which comprises a dust-proof shell and a dust-collecting cover, wherein four positioning rods are fixedly arranged on one side of the bottom end of the dust-proof shell, the bottom ends of the four positioning rods are respectively and fixedly connected with four corners of the top end of the dust-collecting cover, a cleaning mechanism positioned on one side of the positioning rods is fixedly arranged on the dust-proof shell, one side of the dust-proof shell is provided with an extraction fan, an air inlet of the extraction fan is fixedly communicated with an extraction hose, one end, away from the extraction fan, of the extraction hose is fixedly communicated with one side of the dust-collecting cover, and the middle part of the extraction hose is fixedly communicated with a filter barrel. And the danger coefficient of ore dressing is reduced.

Description

Conveyer belt dust collector for ore dressing
Technical Field
The utility model relates to the technical field of mineral separation, in particular to a dust removal device for a conveyor belt for mineral separation.
Background
In the in-process of ore dressing production, the conveyer belongs to main haulage equipment, and its transport capacity is great, and the transport distance is far away, can guarantee certain speed, satisfies the development requirement of mining industry, however, at the in-process of conveyer at the transport ore, the mineral aggregate surface of mining often has more earth and dust, and the dust that flies upward everywhere brings harm to staff's respiratory, has increased the danger coefficient of ore dressing.
SUMMERY OF THE UTILITY MODEL
The utility model aims to provide a dust removal device for a conveying belt for mineral separation, and aims to solve the problems that more soil and dust are always carried on the surface of mined mineral aggregate in the background technology, flying dust at four places causes harm to the respiratory system of workers, and the danger coefficient of mineral separation is increased.
In order to achieve the purpose, the utility model provides the following technical scheme: a dust removal device for a conveying belt for mineral separation comprises a dust-proof shell and a dust collection cover, wherein four positioning rods are fixedly arranged on one side of the bottom end of the dust-proof shell, the bottom ends of the four positioning rods are respectively and fixedly connected with four corners of the top end of the dust collection cover, a cleaning mechanism positioned at one side of the positioning rod is fixedly arranged on the dustproof shell, one side of the dustproof shell is provided with an extraction fan, an air inlet of the extraction fan is fixedly communicated with an extraction hose, one end of the extraction hose, which is far away from the extraction fan, is fixedly communicated with one side of the dust hood, the middle part of the extraction hose is fixedly communicated with a filter barrel, a folding filter plate is fixedly arranged in the filter barrel, the extraction fan is started by a worker, the extraction fan extracts dust-containing gas collected in the dust collection cover through the extraction hose, and the gas continues to flow after being filtered by the folding filter plate in the filter barrel.
Preferably, the cleaning mechanism comprises a fixed column, a length rod, a cleaning plate, a cleaning brush, two extending plates and two soft cleaning brushes, the length rod is connected to the inside of the fixed column in a sliding mode, the cleaning plate is mounted at the bottom of the length rod, the cleaning brush is mounted at the bottom of the cleaning plate, the extending plates and the two soft cleaning brushes are connected to the two sides of the cleaning plate in a sliding mode, the soft cleaning brushes are mounted at the bottom of the extending plates in a sliding mode according to actual needs, the length rod slides by workers according to actual needs, the distance between the length rod and the fixed column is adjusted, fixing screws are screwed by the workers, the length rod is mounted in the fixed column in a fixed length mode by the workers, the angle cylinders are started by the workers, the angle cylinders conduct telescopic motion, the angle cylinders drive the extending plates to slide relative to the cleaning plates, and the cleaning area of the cleaning mechanism is adjusted.
Preferably, the both sides of length pole are all rotated and are connected with the angle cylinder, two the expansion end of angle cylinder rotates with the top of two extension boards respectively and is connected, the surperficial threaded connection of fixed column has set screw, the fixed column passes through set screw and length pole fixed connection, the top fixed mounting of dirt-proof shell has the motor, the output of motor passes the top fixed connection of dirt-proof shell with the fixed column, and the staff switches on the motor, and the motor starts, and the motor drives the fixed column and rotates, and the fixed column passes through the length pole and drives the dust of cleaning brush and soft cleaning brush to conveyer belt surface adhesion and clear up.
Preferably, the surface of filter vat articulates there is sealing door, and the staff can open sealing door regularly, clears up the dust of adhesion on the folding filter plate in the filter vat.
Preferably, an air outlet of the extraction fan is fixedly communicated with an exhaust pipeline, and the gas extracted by the extraction fan is exhausted to the outside through the exhaust pipeline.
Preferably, the surface of dust cover articulates there are four mounting panels, and the staff can rotate the mounting panel, adjusts the installation direction of mounting panel, and the staff uses the screw to pass the mounting panel, installs the mounting panel in the conveyer belt both sides, installs the dust cover on the conveyer belt, and the dust cover blocks flying upward of dust from the conveyer belt outside.
Compared with the prior art, the utility model has the beneficial effects that:
by arranging the dust hood, the extraction fan and the folded filter plate, the extraction fan extracts the gas containing dust collected in the dust hood, and the dust in the gas is intercepted by the folded filter plate and then discharged, so that the dust is prevented from flying around to cause harm to a respiratory system of a worker, and the danger coefficient of ore dressing is reduced;
through setting up clean mechanism, the staff adjusts the mounting height of cleaning the board and the area that cleans of clean mechanism according to actual need, clears up the dust of adhesion on the conveyer belt, improves the cleaning efficiency to the conveyer belt.
Drawings
FIG. 1 is a side view of the present invention;
FIG. 2 is a side view of the cleaning mechanism of the present invention;
fig. 3 is a cross-sectional view of a filter vat of the utility model.
In the figure: 1. a dust-proof shell; 2. mounting a plate; 3. a cleaning mechanism; 31. fixing a column; 32. a length rod; 33. an angle cylinder; 34. a soft cleaning brush; 35. cleaning with a brush; 36. cleaning the board; 37. an extension plate; 38. a set screw; 4. extracting a fan; 5. an exhaust duct; 6. a suction hose; 7. a sealing door; 8. a filter vat; 9. a dust collection cover; 10. a motor; 11. positioning a rod; 12. a folded filter plate.
Detailed Description
The technical solution in the embodiments of the present invention will be clearly and completely described below with reference to the accompanying drawings in the embodiments of the present invention.
Referring to fig. 1-3, the utility model provides a dust removing device for a conveyor belt for mineral separation, which comprises a dust-proof shell 1 and a dust-collecting hood 9, wherein one side of the bottom end of the dust-proof shell 1 is fixedly provided with four positioning rods 11, the bottom ends of the four positioning rods 11 are respectively fixedly connected with four corners of the top end of the dust-collecting hood 9, the dust-proof shell 1 is fixedly provided with a cleaning mechanism 3 positioned on one side of the positioning rods 11, one side of the dust-proof shell 1 is provided with an extraction fan 4, an air inlet of the extraction fan 4 is fixedly communicated with an extraction hose 6, one end of the extraction hose 6 far away from the extraction fan 4 is fixedly communicated with one side of the dust-collecting hood 9, the middle part of the extraction hose 6 is fixedly communicated with a filter barrel 8, the inside of the filter barrel 8 is fixedly provided with a folding filter plate 12, a worker starts the extraction fan 4, the extraction fan 4 extracts gas containing dust collected in the dust-collecting hood 9 through the extraction hose 6, the gas passes through the folded filter plate 12 in the filter barrel 8 to filter the dust and then flows continuously.
The cleaning mechanism 3 comprises a fixed column 31, a length rod 32 and a sweeping board 36, cleaning brush 35, two extension boards 37 and two soft cleaning brushes 34, the inside sliding connection of fixed column 31 has length pole 32, the bottom fixed mounting of length pole 32 has cleaning board 36, the bottom fixed mounting of cleaning board 36 has cleaning brush 35, the equal sliding connection in both sides of cleaning board 36 has extension board 37, the equal fixed mounting of bottom of two extension boards 37 has soft cleaning brush 34, the staff slides length pole 32 according to actual need, adjust the distance between length pole 32 and fixed column 31, the staff twists set screw 38, the staff installs length pole 32 in fixed column 31 with the fixed length, the staff starts angle cylinder 33, angle cylinder 33 carries out concertina movement, angle cylinder 33 drives extension board 37 and takes place to slide for cleaning board 36, adjust the clean area of cleaning mechanism 3.
Length pole 32's both sides are all rotated and are connected with angle cylinder 33, two angle cylinders 33's expansion end rotates with the top of two extension boards 37 respectively and is connected, fixed column 31's surperficial threaded connection has set screw 38, fixed column 31 passes through set screw 38 and length pole 32 fixed connection, the top fixed mounting of dust proof housing 1 has motor 10, the output of motor 10 passes dust proof housing 1 and fixed column 31's top fixed connection, the staff is with motor 10 circular telegram, motor 10 starts, motor 10 drives fixed column 31 and rotates, fixed column 31 passes through length pole 32 and drives cleaning brush 35 and soft cleaning brush 34 and clear up the dust of conveyer belt surface adhesion.
The surface of the filter vat 8 is hinged with a sealing door 7, and the staff can open the sealing door 7 periodically to clean the dust adhered on the folded filter plate 12 in the filter vat 8.
An air outlet of the extraction fan 4 is fixedly communicated with an exhaust pipeline 5, and the gas extracted by the extraction fan 4 is exhausted to the outside through the exhaust pipeline 5.
The surface of dust cover 1 articulates there are four mounting panels 2, and the staff can rotate mounting panel 2, adjusts the installation direction of mounting panel 2, and the staff uses the screw to pass mounting panel 2, installs mounting panel 2 in the conveyer belt both sides, installs dust cover 1 on the conveyer belt, and dust cover 1 blocks flying upward of dust from the conveyer belt outside.
When the embodiment of the application is used: the worker can rotate the mounting plate 2, adjust the mounting direction of the mounting plate 2, the worker uses screws to penetrate through the mounting plate 2, the mounting plate 2 is mounted on two sides of the conveying belt, the dustproof shell 1 is mounted on the conveying belt, the dustproof shell 1 prevents dust from flying from the outer side of the conveying belt, the worker starts the extraction fan 4, the extraction fan 4 extracts gas containing dust collected in the dust hood 9 through the extraction hose 6, the gas continues to flow after filtering the dust through the folded filter plate 12 in the filter barrel 8, the gas extracted by the extraction fan 4 is discharged to the outside through the exhaust pipeline 5, the worker slides the length rod 32 according to actual needs, adjusts the distance between the length rod 32 and the fixed column 31, the worker twists the fixing screw 38, the worker installs the length rod 32 in the fixed column 31 in a fixed length, and starts the angle cylinder 33, angle cylinder 33 carries out concertina movement, and angle cylinder 33 drives extension board 37 and takes place to slide for cleaning board 36, adjusts the clean area of cleaning mechanism 3, and the staff circular telegram motor 10, motor 10 start, and motor 10 drives fixed column 31 and rotates, and fixed column 31 passes through length pole 32 and drives cleaning brush 35 and soft cleaning brush 34 and clear up the dust of conveyer belt surface adhesion.
Although the present invention has been described in detail with reference to the foregoing embodiments, it will be apparent to those skilled in the art that various changes in the embodiments and/or modifications of the utility model can be made, and equivalents and modifications of some features of the utility model can be made without departing from the spirit and scope of the utility model.

Claims (6)

1. The utility model provides a conveyer belt dust collector for ore dressing, includes dust cover (9), its characterized in that: one side fixed mounting of dust cover (1) bottom has four locating levers (11), four the bottom of locating lever (11) respectively with four corner fixed connection on dust cage (9) top, fixed mounting has clean mechanism (3) that are located locating lever (11) one side on dust cover (1), one side of dust cover (1) is equipped with extraction fan (4), the fixed intercommunication of air inlet of extraction fan (4) has extraction hose (6), the fixed intercommunication in one side of one end and dust cage (9) that extraction fan (4) were kept away from in extraction hose (6), the fixed intercommunication in middle part of extraction hose (6) has filter vat (8), the inside fixed mounting of filter vat (8) has a roll over type filter plate (12).
2. The conveyor belt dust removal device for mineral separation according to claim 1, characterized in that: cleaning mechanism (3) are including fixed column (31), length pole (32), clean board (36), cleaning brush (35), two extension boards (37) and two soft cleaning brush (34), the inside sliding connection of fixed column (31) has length pole (32), the bottom fixed mounting of length pole (32) has cleaning brush (36), the bottom fixed mounting who cleans board (36) has cleaning brush (35), the equal sliding connection in both sides that cleans board (36) has extension board (37), two the equal fixed mounting in bottom of extension board (37) has soft cleaning brush (34).
3. The conveyor belt dust removal device for mineral separation according to claim 2, characterized in that: the both sides of length pole (32) are all rotated and are connected with angle cylinder (33), two the expansion end of angle cylinder (33) rotates with the top of two extension boards (37) respectively and is connected, the surperficial threaded connection of fixed column (31) has set screw (38), fixed column (31) are through set screw (38) and length pole (32) fixed connection, the top fixed mounting of dust-proof housing (1) has motor (10), the top fixed connection of dust-proof housing (1) and fixed column (31) is passed to the output of motor (10).
4. The conveyor belt dust removal device for mineral separation according to claim 1, characterized in that: the surface of the filter barrel (8) is hinged with a sealing door (7).
5. The conveyor belt dust removal device for mineral separation according to claim 1, characterized in that: an air outlet of the extraction fan (4) is fixedly communicated with an exhaust pipeline (5).
6. The conveyor belt dust removal device for mineral separation according to claim 1, characterized in that: the surface of the dustproof shell (1) is hinged with four mounting plates (2).
CN202220679581.6U 2022-03-28 2022-03-28 Conveyer belt dust collector for ore dressing Active CN216807054U (en)

Priority Applications (1)

Application Number Priority Date Filing Date Title
CN202220679581.6U CN216807054U (en) 2022-03-28 2022-03-28 Conveyer belt dust collector for ore dressing

Applications Claiming Priority (1)

Application Number Priority Date Filing Date Title
CN202220679581.6U CN216807054U (en) 2022-03-28 2022-03-28 Conveyer belt dust collector for ore dressing

Publications (1)

Publication Number Publication Date
CN216807054U true CN216807054U (en) 2022-06-24

Family

ID=82047181

Family Applications (1)

Application Number Title Priority Date Filing Date
CN202220679581.6U Active CN216807054U (en) 2022-03-28 2022-03-28 Conveyer belt dust collector for ore dressing

Country Status (1)

Country Link
CN (1) CN216807054U (en)

Similar Documents

Publication Publication Date Title
CN113648759A (en) Intelligent wet dust removal equipment
CN208711287U (en) A kind of purification device of dedusting strainer
CN216807054U (en) Conveyer belt dust collector for ore dressing
CN211329819U (en) Intelligent putty powder workshop electrostatic precipitator equipment
CN107816003A (en) Sweeper
CN208034923U (en) A kind of timber processing dust-extraction unit
CN207188005U (en) A kind of electric dust collector of timing deashing
CN214053048U (en) Cement is carried with supplementary dust device
CN215585733U (en) Mining environmental protection engineering is with dust remover convenient to clearance filter screen
CN215742585U (en) Grinding machanism uses high-efficient dust removal auxiliary assembly
CN212550959U (en) Airborne electric automation equipment dust collector
CN206965349U (en) A kind of new mobile type sack cleaner
CN208182242U (en) A kind of dry mixed mortar bulk dust collecting system
CN112023581A (en) Wet coal mine dust removal device and application method thereof
CN215742382U (en) Mine is with dust removal filtration equipment
CN217312534U (en) Electromechanical engineering workshop environmental protection dust collector
CN208588430U (en) A kind of intellectual water meter with dedusting function
CN221896880U (en) Dustproof coal mine ventilator
CN221724549U (en) Workshop ventilating duct with dust removal function
CN222902116U (en) Dust collector is used in processing of efficient printer powdered ink
CN214261080U (en) Movable reciprocating dust remover
CN218110451U (en) Marble cutting polishing sprays dust collector
CN211159123U (en) Automatic dust collector of electrical engineering
CN222568394U (en) Fluorite powder processing is with high-efficient filter-pressing device
CN219324002U (en) Air dust concentration device

Legal Events

Date Code Title Description
GR01 Patent grant
GR01 Patent grant