CN216757354U - Image acquisition device for highway that possesses self-cleaning function - Google Patents

Image acquisition device for highway that possesses self-cleaning function Download PDF

Info

Publication number
CN216757354U
CN216757354U CN202220221765.8U CN202220221765U CN216757354U CN 216757354 U CN216757354 U CN 216757354U CN 202220221765 U CN202220221765 U CN 202220221765U CN 216757354 U CN216757354 U CN 216757354U
Authority
CN
China
Prior art keywords
image acquisition
fixedly connected
acquisition device
device body
placing box
Prior art date
Legal status (The legal status is an assumption and is not a legal conclusion. Google has not performed a legal analysis and makes no representation as to the accuracy of the status listed.)
Expired - Fee Related
Application number
CN202220221765.8U
Other languages
Chinese (zh)
Inventor
陈舒涵
范谦
赵宇
Current Assignee (The listed assignees may be inaccurate. Google has not performed a legal analysis and makes no representation or warranty as to the accuracy of the list.)
Yangzhou University
Original Assignee
Yangzhou University
Priority date (The priority date is an assumption and is not a legal conclusion. Google has not performed a legal analysis and makes no representation as to the accuracy of the date listed.)
Filing date
Publication date
Application filed by Yangzhou University filed Critical Yangzhou University
Priority to CN202220221765.8U priority Critical patent/CN216757354U/en
Application granted granted Critical
Publication of CN216757354U publication Critical patent/CN216757354U/en
Expired - Fee Related legal-status Critical Current
Anticipated expiration legal-status Critical

Links

Images

Landscapes

  • Studio Devices (AREA)

Abstract

本实用新型涉及一种具备自清洗功能的高速公路用图像采集装置,包括图像采集装置本体和清理装置,所述图像采集装置本体的正面设置有清理装置,所述图像采集装置本体的外侧设置有支撑结构;所述清理装置包括两个第一放置盒,底部所述第一放置盒的右侧壁固定连接有固定杆,顶部所述第一放置盒内侧转动连接有螺纹杆,所述图像采集装置本体的正面固定连接有第二放置盒,所述第二放置盒的左侧固定连接有动力结构,所述固定杆和螺纹杆的外侧之间活动连接有移动杆。该具备自清洗功能的高速公路用图像采集装置,可以对图像采集装置本体进行自动清洗,时刻保持图像采集装置本体镜头的干净,保证图像采集装置采集信息功能的稳定。

Figure 202220221765

The utility model relates to an image acquisition device for expressways with a self-cleaning function, comprising an image acquisition device body and a cleaning device. The front of the image acquisition device body is provided with a cleaning device, and the outside of the image acquisition device body is provided with a cleaning device. support structure; the cleaning device includes two first placing boxes, a fixing rod is fixedly connected to the right side wall of the first placing box at the bottom, and a threaded rod is rotatably connected to the inner side of the first placing box at the top, and the image capture A second placing box is fixedly connected to the front of the device body, a power structure is fixedly connected to the left side of the second placing box, and a moving rod is movably connected between the fixed rod and the outer side of the threaded rod. The image acquisition device for expressway with self-cleaning function can automatically clean the image acquisition device body, keep the lens of the image acquisition device body clean at all times, and ensure the stability of the information acquisition function of the image acquisition device.

Figure 202220221765

Description

Image acquisition device for highway that possesses self-cleaning function
Technical Field
The utility model relates to the technical field of image acquisition devices, in particular to an image acquisition device for a highway with a self-cleaning function.
Background
The highway, called highway for short, is a highway specially used for automobiles to run at high speed, and is specified according to Chinese highway engineering technical standard: the highway is a multi-lane highway which is specially used for cars to drive in different directions and in different lanes and all controls the cars to come in and go out, the annual average daily designed traffic volume of the highway is above 15000 cars, and the designed speed is 80-120 kilometers per hour.
In order to collect information such as vehicle speed and images and avoid personnel and property loss caused by vehicle traffic accidents, an image acquisition device is usually required to be installed on a highway, but after the existing image acquisition device is used for a long time, the surface of a lens of the image acquisition device can be stained with dust, so that the information collected by the image acquisition device is blurred.
SUMMERY OF THE UTILITY MODEL
Aiming at the defects of the prior art, the utility model provides the image acquisition device for the expressway with the self-cleaning function, which has the advantage of automatic cleaning and solves the problem that the information acquired by the image acquisition device is blurred due to the fact that the surface of the lens of the image acquisition device is stained with dust after the conventional image acquisition device is used for a long time.
In order to achieve the purpose, the utility model provides the following technical scheme: an image acquisition device for a highway with a self-cleaning function comprises an image acquisition device body and a cleaning device, wherein the cleaning device is arranged on the front side of the image acquisition device body, and a supporting structure is arranged on the outer side of the image acquisition device body;
the cleaning device comprises two first placing boxes, the right side wall of the first placing box at the bottom is fixedly connected with a fixed rod, the inner side of the first placing box at the top is rotatably connected with a threaded rod, the front surface of the image acquisition device body is fixedly connected with a second placing box, the left side of the second placing box is fixedly connected with a power structure, a movable rod is movably connected between the fixed rod and the outer side of the threaded rod, a cleaning roller brush is movably connected with the outer side of the movable rod, the front surface of the image acquisition device body is fixedly connected with a third placing box, the right side wall of the third placing box is fixedly connected with a water pipe, the bottom of the water pipe is fixedly connected with a flexible hose, the right side of the supporting structure is fixedly connected with a protective box, the right side fixedly connected with water tank of bearing structure, the interior diapire fixedly connected with water pump of protective housing.
Further, bearing structure includes the supporting seat, two backup pads of the top fixedly connected with of supporting seat, the first pivot pole of left side fixedly connected with of image acquisition device body.
Further, the left side fixedly connected with motor case of backup pad, the left side wall fixedly connected with step motor of motor case, the right side fixedly connected with second dwang of image acquisition device body, right side the left side fixedly connected with bearing of backup pad.
Further, eleven spray heads are fixedly connected to the left side of the water pipe, the rear side of each spray head is in contact with the front face of the image acquisition device body, a first connecting pipe is fixedly connected to the top of the water pump, and a second connecting pipe is fixedly connected to the bottom of the water pump.
Further, two first box fixed mounting of placing is in the positive top and bottom of image acquisition device body, the second is placed the box and is located the positive left side of image acquisition device body, the third is placed the box and is located the positive right side of image acquisition device body.
Furthermore, two first left end of placing the box has seted up first removal hole, two first relative one side of placing the box has all seted up the second and has removed the hole, the second is placed the right side of box and has seted up the third and remove the hole, the third is placed the left side of box and has seted up the fourth and remove the hole.
Further, the dead lever is kept away from the first one end of placing the box in bottom and is run through first removal hole, third removal hole and carriage release lever in proper order and place the left side wall fixed connection of box with the second, the top the first right side fixedly connected with second bearing of placing the box.
Compared with the prior art, the technical scheme of the application has the following beneficial effects:
1. this image acquisition device for highway that possesses self-cleaning function can carry out self-cleaning to the image acquisition device body through belt cleaning device, keeps the cleanness of image acquisition device body camera lens constantly, avoids appearing the problem that the image acquisition device can be infected with the dust on the camera lens surface after long-term the use, guarantees the stability of image acquisition device information collection function.
2. This image acquisition device for highway that possesses self-cleaning function can carry out the regulation of upwards and downward angle to the image acquisition device body through bearing structure for the device possesses regulatory function, the effectual practicality that has improved the device.
Drawings
FIG. 1 is a schematic view of the structure of the present invention;
FIG. 2 is a front view of the structure of the present invention;
FIG. 3 is an enlarged view of the structure of the present invention at A;
FIG. 4 is an enlarged view of the structure of the present invention at B.
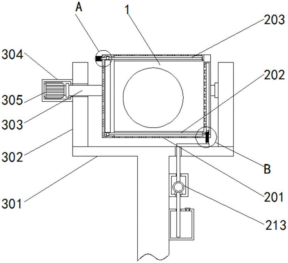
In the figure: the device comprises an image acquisition device body, a 200 cleaning device, a 201 first placing box, a 202 fixed rod, a 203 threaded rod, a 204 second placing box, a 205 power structure, a 206 movable rod, a 207 cleaning roller brush, a 208 third placing box, a 209 water pipe, a 210 telescopic hose, a 211 protective box, a 212 water tank, a 213 water pump, a 300 supporting structure, a 301 supporting seat, a 302 supporting plate, a 303 first rotating rod, a 304 motor box, a 305 stepping motor, a 306 second rotating rod and a 307 bearing.
Detailed Description
The technical solutions in the embodiments of the present invention will be clearly and completely described below with reference to the drawings in the embodiments of the present invention, and it is obvious that the described embodiments are only a part of the embodiments of the present invention, and not all of the embodiments. All other embodiments, which can be derived by a person skilled in the art from the embodiments given herein without making any creative effort, shall fall within the protection scope of the present invention.
Referring to fig. 1-4, an image capturing device for a highway with a self-cleaning function in this embodiment includes an image capturing device body 1 and a cleaning device 200, the cleaning device 200 is fixedly installed on the front surface of the image capturing device body 1, and a supporting structure 300 is fixedly installed on the outer side of the image capturing device body 1, wherein the cleaning device 200 is a device for automatically cleaning the image capturing device body 1, so as to constantly keep the lens of the image capturing device body 1 clean, thereby avoiding the problem that the lens surface of the image capturing device 1 is contaminated with dust after long-term use, and ensuring the stability of the information capturing function of the image capturing device 1, and the supporting structure 300 is a device for adjusting the image capturing device body 1, so that the device has an adjusting function, and effectively improves the practicability of the device.
The cleaning device 200 in this embodiment is a device for automatically cleaning the image pickup device body 1.
As shown in fig. 1-4, the cleaning device 200 of the present embodiment comprises two first placing boxes 201, a fixed rod 202 is fixedly connected to the right side wall of the first placing box 201 at the bottom, a threaded rod 203 is rotatably connected to the inner side of the first placing box 201 at the top, a second placing box 204 is fixedly connected to the front of the image collecting device body 1, a power structure 205 is fixedly connected to the left side of the second placing box 204, a movable rod 206 is movably connected between the fixed rod 202 and the outer side of the threaded rod 203, a cleaning roller brush 207 is movably connected to the outer side of the movable rod 206, a third placing box 208 is fixedly connected to the front of the image collecting device body 1, a water pipe 209 is fixedly connected to the right side wall of the third placing box 208, a flexible hose 210 is fixedly connected to the bottom of the water pipe 209, a protection box 211 is fixedly connected to the right side of the supporting structure 300, and a water tank 212 is fixedly connected to the right side of the supporting structure 300, the inner bottom wall fixedly connected with water pump 213 of protective housing 211, wherein, two first place box 201 fixed mounting in the positive top and bottom of image acquisition device body 1, the second place box 204 and is located the positive left side of image acquisition device body 1, the third place box 208 and is located the positive right side of image acquisition device body 1, water tank 212 fixed mounting is on the right side of supporting seat 301, protective housing 211 fixed mounting is on the right side of supporting seat 301.
It should be noted that the power structure 205 in this embodiment is composed of a second motor box and a second motor, and the second motor box is fixedly installed on the left side of the second placing box 204, and the left side wall of the second motor box is fixedly connected with the second motor.
In order to clear up image acquisition device body 1, two first left ends of placing box 201 in this embodiment have seted up first removal hole, two first relative one sides of placing box 201 have all seted up the second removal hole, the second is placed the right side of box 204 and has been seted up the third removal hole, the fourth removal hole has been seted up in the left side that box 208 was placed to the third, first connecting hole and third removal hole intercommunication, second removal hole and first removal hole intercommunication.
In order to let the movable rod 206 move, the fixed rod 202 in this embodiment is kept away from the first one end of placing the box 201 at the bottom and is run through first removal hole in proper order, third removal hole and movable rod 206 and place the left side wall fixed connection of box 204 with the second, the first right side fixedly connected with second bearing of placing the box 201 at the top, the right-hand member of threaded rod 203 and the inboard fixed connection of second bearing, the left end of threaded rod 203 runs through first removal hole in proper order, the third removes the hole, movable rod 206, box 204 is placed to the second, left side support plate 302 and second motor case and the output fixed connection of second motor, movable rod 206 cup joints with the outside of fixed rod 202, movable rod 206 and threaded rod 203 outside threaded connection.
In order to ensure the stability of the rotation of the cleaning roller brush 207, two limit rings are fixedly connected to the outer side of the moving rod 206 in this embodiment, and the two limit rings are located at the top and the bottom of the cleaning roller brush 207.
In order to clean the lens of the image acquisition device body 1, eleven nozzles are fixedly connected to the left side of the water pipe 209 in the embodiment, the rear side of each nozzle contacts with the front side of the image acquisition device body 1, a first connecting pipe is fixedly connected to the top of the water pump 213, a second connecting pipe is fixedly connected to the bottom of the water pump 213, the top end of the first connecting pipe sequentially penetrates through the protective box 211 and the supporting seat 301 and is communicated with the third connecting pipe, the bottom end of the flexible hose 210 penetrates through the third placing box 208 and is communicated with the third connecting pipe, and the bottom end of the second connecting pipe penetrates through the water tank 212 and extends to the bottom of the water tank 212.
To facilitate the filling of the water tank 212, a tank cover is screwed to the top of the water tank 212 in this embodiment.
The support structure 300 in the present embodiment is a device that adjusts the image pickup device body 1.
As shown in fig. 1-2, the supporting structure 300 in the embodiment includes a supporting base 301, two supporting plates 302 fixedly connected to the top of the supporting base 301, a first rotating rod 303 fixedly connected to the left side of the image capturing device body 1, a motor box 304 fixedly connected to the left side of the supporting plate 302, a stepping motor 305 fixedly connected to the left side wall of the motor box 304, a second rotating rod 306 fixedly connected to the right side of the image capturing device body 1, and a bearing 307 fixedly connected to the left side of the supporting plate 302.
In order to adjust the image capturing device body 1, the right end of the first rotating rod 303 in this embodiment sequentially penetrates through the left supporting plate 302 and the motor box 304 and is fixedly connected with the output end of the stepping motor 305, and the right end of the second rotating rod 306 is fixedly connected with the inner side of the bearing.
The working principle of the above embodiment is as follows:
(1) start water pump 213, take out the inside water of water tank 212 through water pump 213, the rethread first connecting pipe, third connecting pipe and expansion hose 210 send water into in the water pipe 209, wash image acquisition device body 1 from the shower nozzle blowout at last, restart the inside second motor of power structure 205, the second motor drives threaded rod 203 and rotates, under the rotatory thrust of screw thread of threaded rod 203 and the limiting displacement of dead lever 202, it controls to move movable rod 206 about to drive, it clears up the camera lens of image acquisition device body 1 to drive cleaning roller brush 207 simultaneously.
(2) The step motor 305 is started, the step motor 305 drives the first rotating rod 303 to rotate, and the image acquisition device body 1 is driven to rotate by an up-down angle under the rotation supporting effect of the second rotating rod 306.
Compared with the prior art: can carry out self-cleaning to image acquisition device body 1 through belt cleaning device 200, keep the clean of image acquisition device body 1 camera lens constantly, avoid appearing image acquisition device 1 and can be infected with the problem of dust on the long-term back lens surface of using, guarantee the stability of image acquisition device 1 information collection function, can make progress and the regulation of downward angle to image acquisition device body 1 through bearing structure 300 for the device possesses regulatory function, the effectual practicality that has improved the device.
It should be noted that, in this document, relational terms such as first and second, and the like are used solely to distinguish one entity or action from another entity or action without necessarily requiring or implying any actual such relationship or order between such entities or actions. Also, the terms "comprises," "comprising," or any other variation thereof, are intended to cover a non-exclusive inclusion, such that a process, method, article, or apparatus that comprises a list of elements does not include only those elements but may include other elements not expressly listed or inherent to such process, method, article, or apparatus. Without further limitation, an element defined by the phrase "comprising an … …" does not exclude the presence of other identical elements in a process, method, article, or apparatus that comprises the element.
Although embodiments of the present invention have been shown and described, it will be appreciated by those skilled in the art that changes, modifications, substitutions and alterations can be made in these embodiments without departing from the principles and spirit of the utility model, the scope of which is defined in the appended claims and their equivalents.

Claims (7)

1. An image acquisition device for a highway having a self-cleaning function, characterized in that: the image acquisition device comprises an image acquisition device body (1) and a cleaning device (200), wherein the cleaning device (200) is arranged on the front surface of the image acquisition device body (1), and a supporting structure (300) is arranged on the outer side of the image acquisition device body (1);
the cleaning device (200) comprises two first placing boxes (201), the right side wall of the first placing box (201) at the bottom is fixedly connected with a fixed rod (202), the inner side of the first placing box (201) at the top is rotatably connected with a threaded rod (203), the front of the image acquisition device body (1) is fixedly connected with a second placing box (204), the left side of the second placing box (204) is fixedly connected with a power structure (205), a moving rod (206) is movably connected between the fixed rod (202) and the outer side of the threaded rod (203), the outer side of the moving rod (206) is movably connected with a cleaning roller brush (207), the front of the image acquisition device body (1) is fixedly connected with a third placing box (208), the right side wall of the third placing box (208) is fixedly connected with a water pipe (209), and the bottom of the water pipe (209) is fixedly connected with a telescopic hose (210), the right side fixedly connected with protective housing (211) of bearing structure (300), the right side fixedly connected with water tank (212) of bearing structure (300), the interior diapire fixedly connected with water pump (213) of protective housing (211).
2. The image acquisition apparatus for a highway with self-cleaning function according to claim 1, characterized in that: the supporting structure (300) comprises a supporting seat (301), two supporting plates (302) are fixedly connected to the top of the supporting seat (301), and a first rotating rod (303) is fixedly connected to the left side of the image acquisition device body (1).
3. The image acquisition apparatus for a highway with self-cleaning function according to claim 2, characterized in that: left side the left side fixedly connected with motor case (304) of backup pad (302), the left side wall fixedly connected with step motor (305) of motor case (304), the right side fixedly connected with second dwang (306), the right side of image acquisition device body (1) the left side fixedly connected with bearing (307) of backup pad (302).
4. The image acquisition apparatus for a highway with self-cleaning function according to claim 1, characterized in that: eleven spray heads are fixedly connected to the left side of the water pipe (209), the rear side of each spray head is in contact with the front face of the image acquisition device body (1), a first connecting pipe is fixedly connected to the top of the water pump (213), and a second connecting pipe is fixedly connected to the bottom of the water pump (213).
5. The image acquisition apparatus for a highway with self-cleaning function according to claim 1, characterized in that: the two first placing boxes (201) are fixedly installed at the top and the bottom of the front face of the image collecting device body (1), the second placing box (204) is located on the left side of the front face of the image collecting device body (1), and the third placing box (208) is located on the right side of the front face of the image collecting device body (1).
6. The image acquisition apparatus for a highway with self-cleaning function according to claim 1, characterized in that: two first left end of placing box (201) has seted up first removal hole, two first relative one side of placing box (201) has all seted up the second and has removed the hole, the second is placed the right side of box (204) and has seted up the third and remove the hole, the third is placed the left side of box (208) and has seted up the fourth and remove the hole.
7. The image acquisition apparatus for a highway having a self-cleaning function according to claim 6, wherein: the one end that the first box (201) of placing in bottom was kept away from in dead lever (202) runs through first removal hole, third removal hole and carriage release lever (206) in proper order and places the left side wall fixed connection of box (204) with the second, the top the first right side fixedly connected with second bearing of placing box (201).
CN202220221765.8U 2022-01-27 2022-01-27 Image acquisition device for highway that possesses self-cleaning function Expired - Fee Related CN216757354U (en)

Priority Applications (1)

Application Number Priority Date Filing Date Title
CN202220221765.8U CN216757354U (en) 2022-01-27 2022-01-27 Image acquisition device for highway that possesses self-cleaning function

Applications Claiming Priority (1)

Application Number Priority Date Filing Date Title
CN202220221765.8U CN216757354U (en) 2022-01-27 2022-01-27 Image acquisition device for highway that possesses self-cleaning function

Publications (1)

Publication Number Publication Date
CN216757354U true CN216757354U (en) 2022-06-17

Family

ID=81978659

Family Applications (1)

Application Number Title Priority Date Filing Date
CN202220221765.8U Expired - Fee Related CN216757354U (en) 2022-01-27 2022-01-27 Image acquisition device for highway that possesses self-cleaning function

Country Status (1)

Country Link
CN (1) CN216757354U (en)

Similar Documents

Publication Publication Date Title
CN108540706B (en) Outdoor surveillance camera head convenient to clearance camera lens dust
CN118352925B (en) Cable power inspection robot
CN216757354U (en) Image acquisition device for highway that possesses self-cleaning function
CN110529024A (en) A kind of window with cleaning device
CN210244047U (en) Camera box with self-cleaning function
CN209803991U (en) High-speed license plate discernment banister is with diversified camera of adjusting
CN116255589B (en) Robot lighting system
CN219712999U (en) Lifting and adjusting type projector hanging bracket structure
CN213114254U (en) Marking device for highway construction
CN113259555B (en) Traffic management is with spherical camera of automatically cleaning
CN118950529B (en) High-efficient cleaning device is used to camera
CN219909686U (en) Building roof lighting equipment
CN111970429B (en) Camera equipment for intelligently identifying multiple scenes of multiple objects and using method thereof
CN211124385U (en) Road information prompting device for expressway
CN118500754B (en) An automobile detection device based on AI technology
CN221995544U (en) A security camera with self-cleaning function
CN220574175U (en) Intelligent traffic monitoring equipment with cleaning function
CN219073672U (en) Environment monitoring device
CN219087231U (en) Anti-snow mechanism for inspection lens
CN117181663A (en) Traffic monitoring device convenient to maintenance
CN218424303U (en) Plate dust removal device
CN220461484U (en) A video surveillance device
CN218014424U (en) Remote monitoring device
CN217760427U (en) Construction site faces limit protector
CN214984520U (en) An aluminum foil embossing device that can remove dust on the surface of embossing rollers

Legal Events

Date Code Title Description
GR01 Patent grant
GR01 Patent grant
CF01 Termination of patent right due to non-payment of annual fee
CF01 Termination of patent right due to non-payment of annual fee

Granted publication date: 20220617