CN216754907U - Chair special for drug abortion - Google Patents
Chair special for drug abortion Download PDFInfo
- Publication number
- CN216754907U CN216754907U CN202122706259.6U CN202122706259U CN216754907U CN 216754907 U CN216754907 U CN 216754907U CN 202122706259 U CN202122706259 U CN 202122706259U CN 216754907 U CN216754907 U CN 216754907U
- Authority
- CN
- China
- Prior art keywords
- seat plate
- legs
- frame
- chair
- medical abortion
- Prior art date
- Legal status (The legal status is an assumption and is not a legal conclusion. Google has not performed a legal analysis and makes no representation as to the accuracy of the status listed.)
- Expired - Fee Related
Links
Images
Landscapes
- Accommodation For Nursing Or Treatment Tables (AREA)
Abstract
本实用新型涉及药物流产专用椅,包括椅架和座板,其特征在于:所述椅架上位于座板之下的部位留有用于放置容器的空间,座板上设置有镂空口,且镂空口的位置与放置在座板下的容器开口相对应;所述椅架上的座板两侧均设置有扶手,所述扶手的高度可升降调节,两个扶手的前端安装有桌板,所述桌板底面的两端设有卡扣,所述卡扣卡接在扶手上并可活动拆卸;所述椅架的每条支腿下端均套接有伸缩调节式套管腿,支腿与伸缩调节式套管腿之间通过固定销相连接,所述支腿上设有供固定销穿过的固定孔,所述伸缩调节式套管腿上设置若干个供固定销穿过的调节孔。本实用新型能够让药流患者在排胎时保持坐位并可趴扶在桌板上,大大提高患者排胎时的舒适度。
The utility model relates to a special chair for medical abortion, which comprises a chair frame and a seat plate. The utility model is characterized in that: a space for placing a container is reserved on the part of the chair frame under the seat plate, and the seat plate is provided with a hollowed-out opening, and the hollowed-out opening is provided on the seat plate. The position of the mouth corresponds to the opening of the container placed under the seat plate; armrests are provided on both sides of the seat plate on the seat frame, the height of the armrests can be adjusted up and down, and the front ends of the two armrests are installed with a table plate, the Both ends of the bottom surface of the table board are provided with buckles, which are clamped on the armrests and can be movably disassembled; the lower ends of each leg of the chair frame are sleeved with telescopic adjustable sleeve legs, and the legs are connected to the telescopic The adjustable casing legs are connected by fixing pins, the legs are provided with fixing holes for the fixing pins to pass through, and the telescopic adjustable casing legs are provided with a plurality of adjustment holes for the fixing pins to pass through. The utility model can make the medical abortion patient keep the seated position and lean on the table board when the fetus is discharged, thereby greatly improving the comfort of the patient when the fetus is discharged.
Description
技术领域technical field
本实用新型涉及一种医用辅助器具,具体地说是一种药物流产专用椅,属于医用器械设计技术领域。The utility model relates to a medical auxiliary device, in particular to a special chair for medical abortion, which belongs to the technical field of medical device design.
背景技术Background technique
对于药物流产的患者来说,其排出的胚胎绒毛组织等必须收集好,然后进行检测鉴定,看胚胎是否完整排出来。目前,患者在排胎时普遍使用坐便器或痰盂进行收集,使用时蹲或坐在坐便器或痰盂上,体位很难稳定保持,而且药物流产后的患者身体本就虚弱,以上述体位排胎不舒适且费力,导致患者难以忍受。For patients who have undergone medical abortion, the embryonic villus tissue must be collected, and then tested and identified to see whether the embryos are completely discharged. At present, patients generally use the toilet or spittoon to collect the fetus. When using, squatting or sitting on the toilet or spittoon, it is difficult to maintain the stable position. Moreover, the patient after medical abortion is already weak, and the above position is used to discharge the fetus. It is uncomfortable and laborious, making it unbearable for the patient.
发明内容SUMMARY OF THE INVENTION
本实用新型的目的在于克服现有技术中存在的不足,提供一种药物流产专用椅,其结构巧妙,设计合理,能够让药物流产患者在排胎时保持坐位,大大提高患者排胎时的舒适度。The purpose of the utility model is to overcome the deficiencies existing in the prior art, and to provide a special chair for medical abortion, which has an ingenious structure and a reasonable design, which can allow the medical abortion patient to keep a seated position during the abortion, and greatly improve the comfort of the patient during the abortion. Spend.
按照本实用新型提供的技术方案:药物流产专用椅,包括椅架和座板,其特征在于:所述椅架上位于座板之下的部位留有用于放置容器的空间,所述座板上设置有镂空口,且镂空口的位置与放置在座板下的容器开口相对应;所述椅架上的座板两侧均设置有扶手,所述扶手的高度可升降调节,两个扶手的前端安装有桌板,所述桌板底面的两端设有卡扣,所述卡扣卡接在扶手上并可活动拆卸;所述椅架的每条支腿下端均套接有伸缩调节式套管腿,支腿与伸缩调节式套管腿之间通过固定销相连接,所述支腿上设有供固定销穿过的固定孔,所述伸缩调节式套管腿上设置若干个供固定销穿过的调节孔。According to the technical solution provided by the present utility model: a special chair for medical abortion, comprising a chair frame and a seat plate, characterized in that: a space for placing a container is reserved on the part of the chair frame under the seat plate, and the seat plate A hollowed-out opening is provided, and the position of the hollowed-out opening corresponds to the opening of the container placed under the seat plate; armrests are provided on both sides of the seat plate on the seat frame, and the height of the armrests can be adjusted up and down, and the front ends of the two armrests are provided with armrests. A table board is installed, and two ends of the bottom surface of the table board are provided with buckles, and the buckles are clipped on the armrests and can be movably removed; the lower ends of each leg of the chair frame are sleeved with telescopic adjustment sleeves The pipe legs are connected with the telescopic adjustable casing legs by fixing pins, the legs are provided with fixing holes for the fixing pins to pass through, and the telescopic adjustable casing legs are provided with several fixing holes for fixing Adjustment hole through which the pin goes through.
作为本实用新型的进一步改进,所述椅架前侧的两个伸缩调节式套管腿之间设有与二者一体连接的前防滑横杆,椅架后侧的两个伸缩调节式套管腿之间设有与二者一体连接的后防滑横杆。As a further improvement of the present invention, a front anti-skid crossbar integrally connected with the two telescopic adjustable sleeve legs on the front side of the chair frame is provided, and the two telescopic adjustable sleeves on the rear side of the chair frame A rear anti-skid cross bar integrally connected with the legs is arranged between the legs.
作为本实用新型的进一步改进,所述椅架为折叠式椅架,其包括矩形座板框、两条前支腿和两条后支腿,两条前支腿设置在矩形座板框前部的左右两侧,两条前支腿的中部内侧分别设有小支架,所述小支架上铰接有连接片,两个连接片的另一端分别通过销轴与矩形座板框前部的左右侧边铰接;两条后支腿设置在矩形座板框后部的左右两侧,两条后支腿的上端与两条前支腿的上部内侧边铰接,两条后支腿的中部分别通过销轴与矩形座板框后部的左右侧边铰接;所述座板底面的前后侧边上设有卡槽,所述卡槽卡接在矩形座板框的前后边框上并可活动拆卸。As a further improvement of the present invention, the seat frame is a folding seat frame, which includes a rectangular seat frame, two front legs and two rear legs, and the two front legs are arranged at the front of the rectangular seat frame. The left and right sides of the two front legs are respectively provided with small brackets on the inside of the middle of the two front legs. The small brackets are hinged with connecting pieces, and the other ends of the two connecting pieces are connected to the left and right sides of the front part of the rectangular seat plate frame through the pins respectively. Side hinged; two rear legs are arranged on the left and right sides of the rear of the rectangular seat plate frame, the upper ends of the two rear legs are hinged with the upper inner sides of the two front legs, and the middle parts of the two rear legs pass through The pin shaft is hinged with the left and right sides of the rear of the rectangular seat plate frame; the front and rear sides of the bottom surface of the seat plate are provided with card slots, which are clamped on the front and rear frames of the rectangular seat plate frame and can be movably removed.
作为本实用新型的进一步改进,所述座板底部设置有锥形筒,所述锥形筒的上端一体连接在座板底面上,且锥形筒的上端开口尺寸大于所述镂空口的尺寸。As a further improvement of the present invention, the bottom of the seat plate is provided with a conical cylinder, the upper end of the conical cylinder is integrally connected to the bottom surface of the seat plate, and the size of the upper end opening of the conical cylinder is larger than the size of the hollow opening.
作为本实用新型的进一步改进,其中一个扶手的内部设有抽拉式水管,所述抽拉式水管的后端从扶手的后端伸出并安装有接头,所述接头用于连接水源,所述抽拉式水管的前端从扶手的前端伸出并安装有冲洗头。As a further improvement of the present utility model, one of the handrails is provided with a pull-out water pipe inside, and the rear end of the pull-out water pipe extends from the rear end of the handrail and is equipped with a joint, and the joint is used to connect the water source, so The front end of the pull-out water pipe protrudes from the front end of the handrail and a flushing head is installed.
作为本实用新型的进一步改进,所述座板的底部安装有两根左右对称的滑槽杆,所述滑槽杆与座板活动连接并能左右移动调节。As a further improvement of the present invention, two left-right symmetrical chute rods are installed on the bottom of the seat plate, and the chute rods are movably connected with the seat plate and can be moved and adjusted left and right.
作为本实用新型的进一步改进,所述座板底部的前后侧分别设有L形槽道,所述滑槽杆的前后两端滑动安装在L形槽道内,滑槽杆的外侧边连接有调节螺杆,所述座板两侧安装有调节架,调节架下端安装有可自由转动的螺母,所述调节螺杆螺接在所述螺母内。As a further improvement of the present invention, the front and rear sides of the bottom of the seat plate are respectively provided with L-shaped channels, the front and rear ends of the chute rods are slidably installed in the L-shaped channels, and the outer sides of the chute rods are connected with For the adjusting screw, an adjusting frame is installed on both sides of the seat plate, a freely rotatable nut is installed at the lower end of the adjusting frame, and the adjusting screw is screwed into the nut.
作为本实用新型的进一步改进,所述前支腿上部两侧分别焊接有插接筒,所述插接筒上设有紧固螺钉,所述扶手后端设有弯折插杆,所述弯折插杆插设在插接筒内并通过紧固螺钉锁紧固定。As a further improvement of the present invention, a plug-in cylinder is welded on both sides of the upper part of the front leg respectively, the plug-in cylinder is provided with a fastening screw, the rear end of the armrest is provided with a bent plug-in rod, the bending The folding and inserting rod is inserted into the inserting cylinder and is fastened and fixed by tightening screws.
作为本实用新型的进一步改进,所述椅架上还设置有靠背,所述靠背设置在两个前支腿之间,靠背两头分别套接在两个前支腿的上端。As a further improvement of the present invention, the chair frame is also provided with a backrest, the backrest is arranged between the two front legs, and the two ends of the backrest are respectively sleeved on the upper ends of the two front legs.
作为本实用新型的进一步改进,所述前支腿的上端设有向后的L型弯折部,所述靠背两头分别套接在L型弯折部上;所述靠背中部开设有提孔。As a further improvement of the present invention, the upper end of the front leg is provided with a backward L-shaped bent portion, and the two ends of the backrest are respectively sleeved on the L-shaped bent portion; the middle of the backrest is provided with a lifting hole.
本实用新型与现有技术相比,具有如下优点:Compared with the prior art, the utility model has the following advantages:
1)、本实用新型结构巧妙,设计合理,通过在座板上设置镂空口,座板下放置容器与镂空口对应,患者可以坐在座板上进行排胎,两手臂可以放置在两侧的扶手上,整体感觉更为舒适;患者还可以根据容器的高度或自身状况调节座板和扶手的高度,提高舒适度。1), the utility model is ingenious in structure and reasonable in design. By setting a hollow port on the seat plate, and placing a container under the seat plate corresponding to the hollow port, the patient can sit on the seat plate to perform tire rowing, and the two arms can be placed on the armrests on both sides. , the overall feeling is more comfortable; patients can also adjust the height of the seat plate and armrest according to the height of the container or their own conditions to improve comfort.
2)、本实用新型的其中一个扶手内设置有抽拉式水管,抽拉式水管连接有冲洗头,患者排胎完成后,可以利用冲洗头进行简单冲洗,避免有胚胎绒毛组织留存在锥形筒内而未落入容器中。2), one of the handrails of the present utility model is provided with a pull-type water pipe, and the pull-type water pipe is connected with a flushing head. After the patient has finished discharging the tire, the flushing head can be used for simple flushing, so as to avoid the embryonic villus tissue remaining in the cone. into the barrel without falling into the container.
3)、本实用新型进一步在座板的底部安装有两根左右对称的滑槽杆,且滑槽杆与座板活动连接并能左右移动调节,这样用于盛接胚胎绒毛组织的容器可以放置在滑槽杆之上,对于高度较低的容器来说,放置在滑槽杆可以保证该容器的开口与锥形筒之间保持合适的距离。而且由于滑槽杆能够左右移动调节,这样就可以适用于多种规格的容器。3), the utility model is further equipped with two symmetrical chute rods at the bottom of the seat plate, and the chute rods are movably connected with the seat plate and can be moved left and right to adjust, so that the container for holding the embryonic fluff tissue can be placed in the Above the chute rod, for a container with a lower height, placing it on the chute rod can ensure that the opening of the container and the conical cylinder maintain a suitable distance. And because the chute rod can be moved left and right, it can be applied to containers of various specifications.
附图说明Description of drawings
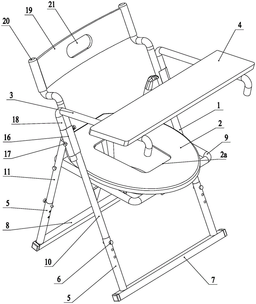
图1为本实用新型实施例1的立体结构示意图。FIG. 1 is a schematic three-dimensional structure diagram of Embodiment 1 of the present invention.
图2为本实用新型实施例1去掉桌板后的结构主视图。FIG. 2 is a front view of the structure of Embodiment 1 of the present utility model after the table board is removed.
图3为本实用新型实施例1去掉桌板后的结构侧视图。FIG. 3 is a side view of the structure of Embodiment 1 of the present invention after the table board is removed.
图4为本实用新型实施例1中桌板的结构主视图。FIG. 4 is a front view of the structure of the table board in Embodiment 1 of the present utility model.
图5为本实用新型实施例2不装桌板时的立体结构示意图。FIG. 5 is a schematic three-dimensional structure diagram of
图6为本实用新型实施例3中座板的结构示意图。6 is a schematic structural diagram of a seat plate in
附图标记说明:1-椅架、2-座板、2a-镂空口、3-扶手、4-桌板、4a-卡扣、5-伸缩调节式套管腿、6-固定销、7-前防滑横杆、8-后防滑横杆、9-矩形座板框、10-前支腿、11-后支腿、12-小支架、13-连接片、14-卡槽、15-锥形筒、16-插接筒、17-紧固螺钉、18-弯折插杆、19-靠背、20-L型弯折部、21-提孔、22-抽拉式水管、23-接头、24-冲洗头、25-滑槽杆、26-L形槽道、27-调节螺杆、28-调节架、29-螺母。Description of reference numerals: 1-chair frame, 2-seat plate, 2a-hollow opening, 3-armrest, 4-table board, 4a-buckle, 5-telescopic adjustable sleeve legs, 6-fixing pin, 7- Front anti-skid crossbar, 8-rear anti-skid crossbar, 9-rectangular seat frame, 10-front outrigger, 11-rear outrigger, 12-small bracket, 13-connecting piece, 14-card slot, 15-cone Cylinder, 16- Insertion Cylinder, 17- Fastening Screw, 18- Bending Insertion Rod, 19- Backrest, 20- L-shaped Bending Part, 21- Lifting Hole, 22- Pulling Water Pipe, 23- Joint, 24 -Rinse head, 25-chute rod, 26-L-shaped channel, 27-adjustment screw, 28-adjustment frame, 29-nut.
具体实施方式Detailed ways
下面结合具体附图和实施例对本实用新型作进一步说明。The utility model will be further described below in conjunction with the specific drawings and embodiments.
实施例1Example 1
如图1~图4所示,实施例1公开了一种药物流产专用椅,包括椅架1和座板2,所述椅架1上位于座板2之下的部位留有用于放置容器的空间,所述座板2上设置有镂空口2a,且镂空口2a的位置与放置在座板2下的容器开口相对应;所述椅架1上的座板2两侧均设置有扶手3,所述扶手3的高度可升降调节,两个扶手3的前端安装有桌板4,所述桌板4底面的两端设有卡扣4.1,所述卡扣4.1卡接在扶手3上并可活动拆卸;所述椅架1的每条支腿下端均套接有伸缩调节式套管腿5,支腿与伸缩调节式套管腿5之间通过固定销6相连接,所述支腿上设有供固定销6穿过的固定孔,所述伸缩调节式套管腿5上设置若干个供固定销6穿过的调节孔。As shown in FIG. 1 to FIG. 4 , Embodiment 1 discloses a special chair for medical abortion, including a chair frame 1 and a
具体使用时,先将用于盛接胚胎绒毛组织的容器【如便盆或痰盂】放置于座板2之下的空间内,调整容器位置,使容器的开口与镂空口2a的位置对应,患者坐于座板2上进行排胎,两手臂可以放置在两侧的扶手3上,整体感觉更为舒适;而且由于椅架1的每条支腿下端均套接有伸缩调节式套管腿5,患者还可以根据容器的高度或自身状况调节伸缩调节式套管腿5与支腿之间的相对位置【拔出固定销6,拉动伸缩调节式套管腿5,调节到合适位置后再重新插入固定销6】,从而调节座板2的高度。患者还可以根据自身需要调节扶手3的高度,提高舒适度;当患者感觉疼痛时,还可以趴扶在桌板4上,更为安全,而且桌板4可以沿着扶手3前后移动调节,让患者根据自身情况选择合适的趴扶位置;桌板4不使用时可以一头拆下并悬挂在扶手3上或完全拆下。For specific use, first place the container [such as a bedpan or spittoon] for receiving the embryonic villus tissue in the space under the
如图1~图3所示,本实施例1中,所述椅架1前侧的两个伸缩调节式套管腿5之间设有与二者一体连接的前防滑横杆7,椅架1后侧的两个伸缩调节式套管腿5之间设有与二者一体连接的后防滑横杆8。如此设置,可以让椅架1放置于地面之上更为稳固,提高使用的安全性。As shown in FIGS. 1 to 3 , in Embodiment 1, a front
如图1~图3所示,本实施例1中,所述椅架1为折叠式椅架1,其包括矩形座板框9、两条前支腿10和两条后支腿11,两条前支腿10设置在矩形座板框9前部的左右两侧,两条前支腿10的中部内侧分别设有小支架12,所述小支架12上铰接有连接片13,两个连接片13的另一端分别通过销轴与矩形座板框9前部的左右侧边铰接;两条后支腿11设置在矩形座板框9后部的左右两侧,两条后支腿11的上端与两条前支腿10的上部内侧边铰接,两条后支腿11的中部分别通过销轴与矩形座板框9后部的左右侧边铰接;所述座板2底面的前后侧边上设有卡槽14,所述卡槽14卡接在矩形座板框9的前后边框上并可活动拆卸。如此设置,椅架1在不使用时可以折叠起来,便于放置,不占据空间。As shown in FIGS. 1 to 3 , in Embodiment 1, the seat frame 1 is a foldable seat frame 1 , which includes a
如图2、图3所示,本实施例1中,所述座板2底部设置有锥形筒15,所述锥形筒15的上端一体连接在座板2底面上,且锥形筒15的上端开口尺寸大于所述镂空口2a的尺寸。如此设置,使用时可以将容器的开口套在锥形筒15的下端,使患者排出的胚胎绒毛组织完全落于容器内。As shown in FIG. 2 and FIG. 3 , in Embodiment 1, the bottom of the
如图1、图3所示,本实施例1中,所述前支腿10上部两侧分别焊接有插接筒16,所述插接筒16上设有紧固螺钉17,所述扶手3后端设有弯折插杆18,所述弯折插杆18插设在插接筒16内并通过紧固螺钉17锁紧固定。如此设置,扶手3不仅可以升降调节,而且在不使用时或收纳存放时还可以拆卸下来。As shown in FIG. 1 and FIG. 3 , in this embodiment 1, the upper sides of the
如图1~图3所示,本实施例1中,所述椅架1上还设置有靠背19,所述靠背19设置在两个前支腿10之间,靠背19两头分别套接在两个前支腿10的上端。如此设置,患者坐于椅上可以有靠背19提供支撑,使用更为舒适。As shown in FIGS. 1 to 3 , in Embodiment 1, the seat frame 1 is further provided with a
如图1~图3所示,本实施例1中,所述前支腿10的上端设有向后的L型弯折部20,所述靠背19两头分别套接在L型弯折部20上;所述靠背19中部开设有提孔21。如此设置,使得患者倚靠靠背19时能够有更大的后仰范围,进一步提高使用舒适性。靠背19上的提孔21方便搬运和收储本专用椅。As shown in FIGS. 1 to 3 , in the first embodiment, the upper end of the
实施例2Example 2
如图5所示,实施例2公开了一种其与实施例1的区别在于:其中一个扶手3的内部设有抽拉式水管22,所述抽拉式水管22的后端从扶手3的后端伸出并安装有接头23,所述接头23用于连接水源,所述抽拉式水管22的前端从扶手3的前端伸出并安装有冲洗头24。如此设置,患者排胎完成后,可以将抽拉式水管22前端拉出,利用冲洗头24进行简单冲洗,避免有胚胎绒毛组织留存在锥形筒15内而未落入容器中。As shown in FIG. 5 ,
实施例3Example 3
如图6所示,实施例3公开了一种其与实施例1的区别在于:所述座板2的底部安装有两根左右对称的滑槽杆25,所述滑槽杆25与座板2活动连接并能左右移动调节。如此设置,用于盛接胚胎绒毛组织的容器可以放置在滑槽杆25之上,对于高度较低的容器来说,放置在滑槽杆25可以保证该容器的开口与锥形筒15之间保持合适的距离。而且由于滑槽杆25能够左右移动调节,这样就可以适用于多种规格的容器。As shown in FIG. 6 ,
如图6所示,本实施例3中,所述座板2底部的前后侧分别设有L形槽道26,所述滑槽杆25的前后两端滑动安装在L形槽道26内,滑槽杆25的外侧边连接有调节螺杆27,所述座板2两侧安装有调节架28,调节架28下端安装有可自由转动的螺母29,所述调节螺杆27螺纹安装在螺母29内。如此设置,通过旋转螺母29就可以驱使调节螺杆27带着滑槽杆25沿着L形槽道26左右移动。As shown in FIG. 6 , in the third embodiment, the front and rear sides of the bottom of the
以上所描述的仅为本实用新型的较佳实施例,上述具体实施例不是对本实用新型的限制。在本实用新型的技术思想范畴内,可以出现各种变形及修改,凡本领域的普通技术人员根据以上描述所做的润饰、修改或等同替换,均属于本实用新型所保护的范围。The above descriptions are only preferred embodiments of the present invention, and the above-mentioned specific embodiments are not intended to limit the present invention. Within the scope of the technical idea of the present invention, various deformations and modifications may occur, and all modifications, modifications or equivalent replacements made by those of ordinary skill in the art according to the above descriptions belong to the scope of protection of the present invention.
Claims (10)
Priority Applications (1)
| Application Number | Priority Date | Filing Date | Title |
|---|---|---|---|
| CN202122706259.6U CN216754907U (en) | 2021-11-05 | 2021-11-05 | Chair special for drug abortion |
Applications Claiming Priority (1)
| Application Number | Priority Date | Filing Date | Title |
|---|---|---|---|
| CN202122706259.6U CN216754907U (en) | 2021-11-05 | 2021-11-05 | Chair special for drug abortion |
Publications (1)
| Publication Number | Publication Date |
|---|---|
| CN216754907U true CN216754907U (en) | 2022-06-17 |
Family
ID=81961584
Family Applications (1)
| Application Number | Title | Priority Date | Filing Date |
|---|---|---|---|
| CN202122706259.6U Expired - Fee Related CN216754907U (en) | 2021-11-05 | 2021-11-05 | Chair special for drug abortion |
Country Status (1)
| Country | Link |
|---|---|
| CN (1) | CN216754907U (en) |
-
2021
- 2021-11-05 CN CN202122706259.6U patent/CN216754907U/en not_active Expired - Fee Related
Similar Documents
| Publication | Publication Date | Title |
|---|---|---|
| CN206566154U (en) | Modified form Hysterosalpingocontrast sonography bed | |
| CN103431970A (en) | Free position seat obstetric table | |
| US2104830A (en) | Obstetrical chair | |
| CN213850420U (en) | Mobile toilet toilet seat | |
| CN216754907U (en) | Chair special for drug abortion | |
| CN110522594A (en) | A kind of gynaecology's Multifunctional back-rest chair | |
| CN211050066U (en) | Multifunctional delivery chair | |
| CN209734441U (en) | Comfortable convenient gynecological examination bed | |
| CN207804164U (en) | A kind of chair for closet to go to the toilet convenient for gynemetrics puerpera | |
| CN211675210U (en) | Novel multi-functional activity assistor that leaves bed | |
| CN110478182B (en) | Multifunctional delivery chair | |
| CN215023770U (en) | Emergency transfusion nursing device | |
| CN212853996U (en) | Gynecological examination chair | |
| CN210144576U (en) | Multifunctional chair for anus and intestine | |
| CN221154644U (en) | Medical diagnosis and treatment chair | |
| CN220309352U (en) | Gynecological examination table | |
| CN214511805U (en) | A restraint seat for psychiatric nursing | |
| CN208693716U (en) | A kind of gynecologial examination administration integrated device | |
| CN221814591U (en) | Perineum discharge collecting structure of guide and midwifery chair | |
| CN211326489U (en) | Gynaecology and obstetrics is with supplementary inspection device | |
| CN218923107U (en) | Basin bottom checking support frame | |
| CN212592928U (en) | Gynecological examination equipment | |
| CN221711777U (en) | Height-adjustable toilet stool | |
| CN221691017U (en) | Auxiliary handrail for pregnant woman on B-ultrasonic examination bed | |
| CN221106355U (en) | Folding massage bed |
Legal Events
| Date | Code | Title | Description |
|---|---|---|---|
| GR01 | Patent grant | ||
| GR01 | Patent grant | ||
| CF01 | Termination of patent right due to non-payment of annual fee | ||
| CF01 | Termination of patent right due to non-payment of annual fee |
Granted publication date: 20220617 |
