CN216746468U - 一种t型电缆接头测温装置及t型电缆接头 - Google Patents
一种t型电缆接头测温装置及t型电缆接头 Download PDFInfo
- Publication number
- CN216746468U CN216746468U CN202220173265.1U CN202220173265U CN216746468U CN 216746468 U CN216746468 U CN 216746468U CN 202220173265 U CN202220173265 U CN 202220173265U CN 216746468 U CN216746468 U CN 216746468U
- Authority
- CN
- China
- Prior art keywords
- temperature
- temperature measuring
- cable joint
- wireless
- cable
- Prior art date
- Legal status (The legal status is an assumption and is not a legal conclusion. Google has not performed a legal analysis and makes no representation as to the accuracy of the status listed.)
- Active
Links
- 238000000034 method Methods 0.000 claims abstract description 6
- 238000012545 processing Methods 0.000 claims abstract description 6
- 238000009529 body temperature measurement Methods 0.000 claims description 30
- 239000004593 Epoxy Substances 0.000 claims description 16
- 238000009413 insulation Methods 0.000 claims description 13
- RYGMFSIKBFXOCR-UHFFFAOYSA-N Copper Chemical compound [Cu] RYGMFSIKBFXOCR-UHFFFAOYSA-N 0.000 claims description 3
- 229910052802 copper Inorganic materials 0.000 claims description 3
- 239000010949 copper Substances 0.000 claims description 3
- 238000009421 internal insulation Methods 0.000 abstract description 2
- 238000010586 diagram Methods 0.000 description 3
- 238000009434 installation Methods 0.000 description 3
- 239000000463 material Substances 0.000 description 2
- 238000012544 monitoring process Methods 0.000 description 2
- 230000032683 aging Effects 0.000 description 1
- 230000009286 beneficial effect Effects 0.000 description 1
- 230000005540 biological transmission Effects 0.000 description 1
- 238000006243 chemical reaction Methods 0.000 description 1
- 238000004891 communication Methods 0.000 description 1
- 230000007547 defect Effects 0.000 description 1
- 230000000694 effects Effects 0.000 description 1
- 238000004519 manufacturing process Methods 0.000 description 1
Images
Landscapes
- Arrangements For Transmission Of Measured Signals (AREA)
Abstract
本实用新型涉及一种电缆接头测温装置,具体涉及一种T型电缆接头测温装置及具有该测温装置的T型电缆接头。解决现有测量方法无法准确测量T型电缆接头内部温度的问题。测温装置包括无线测温传感器与测温组件;无线测温传感器安装于T型电缆接头内,与电缆线鼻直接接触,用于直接测量电缆线鼻温度的同时作为电缆线鼻的平垫,并将温度数据发送至测温组件;测温组件位于T型电缆接头外部,用于接收、处理、显示和/或上传温度数据。在不改变T型电缆接头内部绝缘配合尺寸的情况下,将电缆接头内部连接平垫替换为无线测温传感器,无线测温传感器与电缆线鼻直接接触,可以真实有效的反应电缆接头的内部温度。
Description
技术领域
本实用新型涉及一种电缆接头测温装置,具体涉及一种T型电缆接头测温装置及具有该测温装置的T型电缆接头。
背景技术
高压T型电缆接头因其安装简单、运行可靠,在电力系统作为高压连接装置得到了广泛的应用。T型电缆接头作为电缆接头的一种,理论上应定时监测其内部温度及时发现可能存在的缺陷情况,避免因发热导致绝缘加速老化造成的用电短路事故。但由于T型电缆接头绝缘配合紧密,内部完全处于封闭状态,难以实现内部温度的在线监测。
目前,主要通过在线采集T型电缆接头电缆表皮温度进行等效换算得到电缆芯温度,这种方法存在一定的延时性,无法有效及时的反应电缆接头的真实温度,存在安全隐患。
发明内容
本实用新型的目的是提供一种T型电缆接头测温装置及具有该测温装置的T型电缆接头,解决现有测量方法无法准确测量T型电缆接头内部温度的问题。
本实用新型的技术方案是提供一种T型电缆接头测温装置,其特殊之处在于:包括无线测温传感器与测温组件;
上述无线测温传感器安装于T型电缆接头内,与电缆线鼻直接接触,用于直接测量电缆线鼻温度的同时作为电缆线鼻的平垫,并将温度数据发送至测温组件;
上述测温组件位于T型电缆接头外部,用于接收、处理、显示和/或上传温度数据。
进一步地,上述测温组件包括测温天线与测温终端;
上述测温天线位于T型电缆接头外部,用于接收无线测温传感器发送的温度数据,并将温度数据发送至测温终端;
上述测温终端位于T型电缆接头外部,用于处理、显示和/或上传温度数据。
进一步地,上述T型电缆接头包括紧固螺母、紧固弹垫、连接螺杆及相对设置的两个环氧绝缘塞;电缆线鼻插入两个环氧绝缘塞之间的间隙,连接螺杆一端插入其中一个环氧绝缘塞内,另一端依次穿过电缆线鼻、紧固弹垫与位于另一个环氧绝缘塞内的紧固螺母拧紧,将电缆线鼻固定在T型电缆接头内;
上述无线测温传感器位于紧固弹垫与电缆线鼻之间,用于直接测量电缆线鼻的温度的同时还可以作为紧固弹垫与电缆线鼻之间的平垫。
进一步地,上述无线测温传感器的形状为圆环状,与原T型电缆接头内部的连接平垫形状类似。
进一步地,为了能够更真实地反映电缆头内部温度,上述无线测温传感器与电缆线鼻及紧固弹垫接触面的材料选用铜材料。
进一步地,无线测温传感器不需要内部供电,测温天线可通过无线方式对上述无线测温传感器供电;无线测温传感器通过无线发送方式将温度数据发送至测温天线。
进一步地,上述的T型电缆接头测温装置还包括测温天线连接线,上述测温天线连接线的两端分别与测温天线及测温终端连接,测温天线通过测温天线连接线将温度数据发送至测温终端。
进一步地,上述测温天线连接线为同轴屏蔽导线。
进一步地,上述测温天线能够同时接收三相无线测温传感器发送的温度数据;上述测温终端能够对测温天线发送的三组温度数据进行处理、显示和/或上传。
本实用新型还提供一种T型电缆接头,其特殊之处在于:包括上述的T型电缆接头测温装置。
本实用新型的有益效果是:
1、本实用新型在不改变T型电缆接头内部绝缘配合尺寸的情况下,将电缆接头内部连接平垫替换为无线测温传感器,无线测温传感器与电缆线鼻直接接触,可以真实有效的反应电缆接头的内部温度。由T型电缆接头外部安装的测温天线接收无线测温数据并将其传输到测温终端进行处理。
2、本实用新型采用无源无线测温传感器,通过外部安装的测温天线进行供电,不需要对无线测温传感器进行维护,使用寿命长、成本低。
3、本实用新型采用无源无线测温传感器,采集的温度数据通过无线传输方式发送至测温天线,可以将高压有效隔离,具有较高的安全性能。
4、本实用新型测温天线可同时对三相传感器温度数据进行采集,结构简单,安装维护方便。
附图说明
图1为实施例中T型电缆接头测温装置的分布图;
图中附图标记为:5-无线测温传感器,8-测温天线,9-测温终端,10-测温天线连接线。
图2为实施例中无线测温传感器的安装结构示意图;
图中附图标记为:1-T型电缆接头的橡胶绝缘部分;2-紧固弹垫;3-连接螺杆;4-环氧绝缘塞;5-无线测温传感器;6-紧固螺母;7-电缆线鼻。
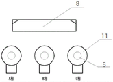
图3为实施例中T型电缆接头测温三相布局图;
图中附图标记为:5-无线测温传感器,8-测温天线,11-T型电缆接头。
具体实施方式
为使本实用新型的上述目的、特征和优点能够更加明显易懂,下面结合说明书附图对本实用新型的具体实施方式做详细的说明,显然所描述的实施例是本实用新型的一部分实施例,而不是全部实施例。基于本实用新型中的实施例,本领域普通人员在没有做出创造性劳动前提下所获得的所有其他实施例,都应当属于本实用新型的保护的范围。
在下面的描述中阐述了很多具体细节以便于充分理解本发明,但是本实用新型还可以采用其他不同于在此描述的其它方式来实施,本领域技术人员可以在不违背本实用新型内涵的情况下做类似推广,因此本实用新型不受下面公开的具体实施例的限制。
其次,此处所称的“一个实施例”或“实施例”是指可包含于本实用新型至少一个实现方式中的特定特征、结构或特性。在本说明书中不同地方出现的“在其他实施例中”并非均指同一个实施例,也不是单独的或选择性的与其他实施例互相排斥的实施例。
再其次,本实用新型结合示意图进行详细描述,在详述本发明实施例时,为便于说明,表示器件结构的剖面图会不依一般比例作局部放大,而且所述示意图只是示例,其在此不应限制本实用新型保护的范围。此外,在实际制作中应包含长度、宽度及深度的三维空间尺寸。
同时在本实用新型的描述中,需要说明的是,术语中的“左和右”等指示的方位或位置关系为基于附图所示的方位或位置关系,仅是为了便于描述本实用新型和简化描述,而不是指示或暗示所指的装置或元件必须具有特定的方位、以特定的方位构造和操作,因此不能理解为对本实用新型的限制。
本实施例在不增加T型电缆接头体积和不降低T型电缆接头的绝缘水平的前提下,可以实现T型电缆接头内部温度的实时在线监测。
如图1及图2所示,本实施例T型电缆接头无线测温装置包括无线测温传感器5、测温天线8、测温终端9及测温天线连接线10;将无线测温传感器5安装在T型电缆接头1内,用于直接测量电缆线鼻7的温度,同时还作为紧固弹垫2与电缆线鼻7的平垫,并将温度数据发送至测温天线8;测温天线8将温度数据通过测温天线连接线10传输到测温终端9,对数据进行处理、显示和/或上传温度数据。本实施例测温天线连接线10为同轴屏蔽导线。本实施例选用无源无线测温传感器5,因此,不需要内部供电,可以通过测温天线8采用无线方式为其进行供电。
从图2可以看出,本实施例T型电缆接头主要由T型电缆接头的橡胶绝缘部分1、两个环氧绝缘塞4、紧固弹垫2、紧固螺母6及连接螺杆3构成。
两个环氧绝缘塞4相对设置,从图示所示方位可以看出,位于左侧和右侧的环氧绝缘塞4上均开设螺纹孔,位于右侧的环氧绝缘塞4上还具有紧固弹垫2与紧固螺母6的安装腔。电缆线鼻7与无线测温传感器5插入两个环氧绝缘塞4之间的间隙,连接螺杆3一端旋入左侧环氧绝缘塞4内,另一端依次穿过电缆线鼻7、无线测温传感器5、紧固弹垫2与位于右侧环氧绝缘塞4内的紧固螺母6拧紧,将电缆线鼻7及无线测温传感器5固定在T型电缆接头内。
本实施例中无线测温传感器5的安装位置为原有T型电缆接头内部连接平垫的安装位置,因此,本实施例无线测温传感器5即可以实现T型电缆接头内部温度的直接采集,还可以起到原有连接平垫的作用。为了不改变原有T型电缆接头的结构,本实施例选用的无线测温传感器5形状与原连接平垫的形状类似,均为圆环状,当然在其他实施例中还可以选用类似圆环状的其他形状。无线测温传感器5与电缆线鼻7及紧固弹垫2接触面的材料为铜。
如图3所示,可以在ABC三相T型电缆接头内部各安装一个本实施例的无线测温传感器,测温天线8安装于三相T型电缆接头的中心顶部位置,使测温天线的长度方向和测温传感器的截面保持平行,这样可以使测温天线与三相传感器的距离尽量接近,能够同时接收到三相的温度数据,并发送至测温终端9显示器现场显示温度,也可以通过通讯接口远程至总控中心分析处理。
Claims (10)
1.一种T型电缆接头测温装置,其特征在于:包括无线测温传感器(5)与测温组件;
所述无线测温传感器(5)安装于T型电缆接头内,与电缆线鼻(7)直接接触,用于直接测量电缆线鼻(7)温度的同时作为电缆线鼻(7)的平垫,并将温度数据发送至测温组件;
所述测温组件位于T型电缆接头外部,用于接收、处理、显示和/或上传温度数据。
2.根据权利要求1所述的T型电缆接头测温装置,其特征在于:所述测温组件包括测温天线(8)与测温终端(9);
所述测温天线(8)位于T型电缆接头外部,用于接收无线测温传感器(5)发送的温度数据,并将温度数据发送至测温终端(9);
所述测温终端(9)位于T型电缆接头外部,用于处理、显示和/或上传温度数据。
3.根据权利要求2所述的T型电缆接头测温装置,其特征在于:所述T型电缆接头包括紧固螺母(6)、紧固弹垫(2)、连接螺杆(3)及相对设置的两个环氧绝缘塞(4);电缆线鼻(7)插入两个环氧绝缘塞(4)之间的间隙,连接螺杆(3)一端插入其中一个环氧绝缘塞(4)内,另一端依次穿过电缆线鼻(7)、紧固弹垫(2)与位于另一个环氧绝缘塞(4)内的紧固螺母(6)拧紧,将电缆线鼻(7)固定在T型电缆接头内;
所述无线测温传感器(5)位于紧固弹垫(2)与电缆线鼻(7)之间,用于直接测量电缆线鼻(7)的温度的同时作为紧固弹垫(2)与电缆线鼻(7)之间的平垫。
4.根据权利要求3所述的T型电缆接头测温装置,其特征在于:所述无线测温传感器(5)的形状为圆环状。
5.根据权利要求4所述的T型电缆接头测温装置,其特征在于:所述无线测温传感器(5)与电缆线鼻(7)及紧固弹垫(2)接触面的材料为铜。
6.根据权利要求5所述的T型电缆接头测温装置,其特征在于:所述测温天线(8)通过无线方式对所述无线测温传感器(5)供电;无线测温传感器(5)通过无线发送方式将温度数据发送至测温天线(8)。
7.根据权利要求6所述的T型电缆接头测温装置,其特征在于:还包括测温天线连接线(10),所述测温天线连接线(10)的两端分别与测温天线(8)及测温终端(9)连接,测温天线(8)通过测温天线连接线(10)将温度数据发送至测温终端(9)。
8.根据权利要求7所述的T型电缆接头测温装置,其特征在于:所述测温天线连接线(10)为同轴屏蔽导线。
9.根据权利要求8所述的T型电缆接头测温装置,其特征在于:所述测温天线(8)能够同时接收三相无线测温传感器(5)发送的温度数据;所述测温终端(9)能够对测温天线(8)发送的三组温度数据进行处理、显示和/或上传。
10.一种T型电缆接头,其特征在于:包括权利要求1-9任一所述的T型电缆接头测温装置。
Priority Applications (1)
| Application Number | Priority Date | Filing Date | Title |
|---|---|---|---|
| CN202220173265.1U CN216746468U (zh) | 2022-01-22 | 2022-01-22 | 一种t型电缆接头测温装置及t型电缆接头 |
Applications Claiming Priority (1)
| Application Number | Priority Date | Filing Date | Title |
|---|---|---|---|
| CN202220173265.1U CN216746468U (zh) | 2022-01-22 | 2022-01-22 | 一种t型电缆接头测温装置及t型电缆接头 |
Publications (1)
| Publication Number | Publication Date |
|---|---|
| CN216746468U true CN216746468U (zh) | 2022-06-14 |
Family
ID=81916221
Family Applications (1)
| Application Number | Title | Priority Date | Filing Date |
|---|---|---|---|
| CN202220173265.1U Active CN216746468U (zh) | 2022-01-22 | 2022-01-22 | 一种t型电缆接头测温装置及t型电缆接头 |
Country Status (1)
| Country | Link |
|---|---|
| CN (1) | CN216746468U (zh) |
Cited By (1)
| Publication number | Priority date | Publication date | Assignee | Title |
|---|---|---|---|---|
| CN115655497A (zh) * | 2022-09-05 | 2023-01-31 | 星沿科技(杭州)有限责任公司 | 一种测温垫片 |
-
2022
- 2022-01-22 CN CN202220173265.1U patent/CN216746468U/zh active Active
Cited By (1)
| Publication number | Priority date | Publication date | Assignee | Title |
|---|---|---|---|---|
| CN115655497A (zh) * | 2022-09-05 | 2023-01-31 | 星沿科技(杭州)有限责任公司 | 一种测温垫片 |
Similar Documents
| Publication | Publication Date | Title |
|---|---|---|
| CN206648754U (zh) | 一种包含无源无线温度传感器的高压电缆附件 | |
| CN107588866B (zh) | 一种gis盆式绝缘子温度检测系统 | |
| CN204855026U (zh) | 用于电缆中间接头测温的分布式传感器布置结构 | |
| CN206313419U (zh) | 一种可实时监测温度的可分离式电缆附件 | |
| CN216746468U (zh) | 一种t型电缆接头测温装置及t型电缆接头 | |
| CN206321347U (zh) | 一种高压、低压开关柜的在线温度检测系统 | |
| CN110739657B (zh) | 用于环网柜的电缆头及环网柜 | |
| CN201096542Y (zh) | 光纤式温度在线监测系统 | |
| CN201788030U (zh) | 母线接点智能无线测温装置 | |
| CN102403666A (zh) | 可在线测量柜内温度的开关设备 | |
| CN203629690U (zh) | 一种基于ZigBee的高压开关柜的无线测温系统 | |
| CN202274946U (zh) | 中高压开关柜多点测温装置 | |
| CN110579290A (zh) | 一种测温装置及电力系统 | |
| CN217211180U (zh) | 电缆终端测温装置 | |
| CN213815673U (zh) | 绝缘子及用于高压器件的气体绝缘全封闭组合电器 | |
| CN211744137U (zh) | 一种变压器温升监控系统 | |
| CN110763367A (zh) | 一种电缆头无线测温绝缘塞及其工作方法 | |
| CN211575849U (zh) | 冬季回转窑保温装置 | |
| CN103884437B (zh) | 具有天线功能的散热器以及包括该散热器的测温装置 | |
| CN107819294A (zh) | 一种变电站gis伸缩节位移检测系统 | |
| CN214121440U (zh) | 一种用于测量热电厂开关柜断路器温度的无源无线传感装置 | |
| CN216598190U (zh) | 一种用于开关柜连接的顶部母线连接器 | |
| CN219045995U (zh) | 一种自取电堵头测温传感器 | |
| CN223412841U (zh) | 一种探针式温度监测系统 | |
| CN219455341U (zh) | 一种环网柜电缆头温度在线监测装置 |
Legal Events
| Date | Code | Title | Description |
|---|---|---|---|
| GR01 | Patent grant | ||
| GR01 | Patent grant |