CN216736614U - 一种垛形货物装车机构 - Google Patents
一种垛形货物装车机构 Download PDFInfo
- Publication number
- CN216736614U CN216736614U CN202122698014.3U CN202122698014U CN216736614U CN 216736614 U CN216736614 U CN 216736614U CN 202122698014 U CN202122698014 U CN 202122698014U CN 216736614 U CN216736614 U CN 216736614U
- Authority
- CN
- China
- Prior art keywords
- conveying
- rack
- carriage
- limiting
- loading mechanism
- Prior art date
- Legal status (The legal status is an assumption and is not a legal conclusion. Google has not performed a legal analysis and makes no representation as to the accuracy of the status listed.)
- Expired - Fee Related
Links
- 230000007246 mechanism Effects 0.000 title claims abstract description 54
- 230000007723 transport mechanism Effects 0.000 claims description 10
- 230000032258 transport Effects 0.000 description 6
- 238000010276 construction Methods 0.000 description 2
- 238000000034 method Methods 0.000 description 2
- 230000015572 biosynthetic process Effects 0.000 description 1
- 230000014509 gene expression Effects 0.000 description 1
- 230000004048 modification Effects 0.000 description 1
- 238000012986 modification Methods 0.000 description 1
- 230000009467 reduction Effects 0.000 description 1
Images
Landscapes
- Forklifts And Lifting Vehicles (AREA)
Abstract
本实用新型涉及货物装车技术领域,特别涉及一种垛形货物装车机构,包括用于将码垛完成的托盘输送至车辆的车厢门口的输送装置和用于将输送装置上码垛完成的托盘运送至车辆的车厢内的叉运机构,输送装置设置在车辆与叉运机构之间,叉运机构沿靠近和远离车厢方向运动的机架,所述的机架的前端设有升降货叉,输送装置的输送方向垂直于机架的运动方向,本实用新型的用于输送托盘的输送装置设置在车辆与叉运机构之间,即输送装置贴近车辆设置,这样,减小了货物的输送行程,效率更高。
Description
技术领域
本实用新型涉及货物装车技术领域,特别涉及一种垛形货物装车机构。
背景技术
目前,货物装车采用人工搬运和叉车叉取后整垛装车,人工搬运劳动强度大,效率低,叉车运送需要进入至车厢,效率还是不能满足物流速度要求,为了提升物流速度,申请号为201921295099.7的专利公开了一种货物装车机构,提高装车效率,但是托盘运送设置在距离车厢较远的位置,这样货物就要在车厢外部运送一段时间才能到达车厢内,运送行程长,效率有待提升,能源消耗大。
实用新型内容
为了解决现有技术存在的运送行程长的问题,本实用新型提供一种减小运送行程的垛形货物装车机构。
本实用新型解决其技术问题所采用的技术方案是:
一种垛形货物装车机构,包括用于将码垛完成的托盘输送至车辆的车厢门口的输送装置和用于将输送装置上码垛完成的托盘运送至车辆的车厢内的叉运机构,输送装置设置在车辆与叉运机构之间,叉运机构沿靠近和远离车厢方向运动的机架,所述的机架的前端设有升降货叉,输送装置的输送方向垂直于机架的运动方向。
进一步的,所述的叉运机构还包括用于对机架进行限位和导向的限位机构。
进一步的,所述的叉运机构置于平台上,所述的叉运机构的机架上设有若干移动轮,所述的移动轮在平台上移动,平台高于车辆所在的地面。
进一步的,所述的限位机构包括固定在平台上的限位架,所述的限位架上设有若干与机架接触的限位轮,所述的限位轮对称设置在机架的两侧。
进一步的,所述的输送装置包括输送支架,所述的输送支架上若干输送辊,且在输送支架在与移动轮对齐的位置固定有桥板,所述的桥板的上表面与平台齐平。
进一步的,所述的输送支架上设有用于伸入到车厢内的延长板。
进一步的,所述的延长板为摆动延长板,所述的摆动延长板处于水平状态时与桥板平齐。
进一步的,所述的摆动延长板一端一体成型或固定有连杆,所述连杆第一端与输送机架铰接,所述的连杆的第二端连接有驱动机构。
进一步的,所述的驱动机构包括气缸,所述的气缸的活塞杆与连杆的第二端铰接。
有益效果:
(1)本实用新型的用于输送托盘的输送装置设置在车辆与叉运机构之间,即输送装置贴近车辆设置,这样,减小了货物的输送行程,更加节能;
(2)本实用新型堆垛完成的托盘位于叉运机构与车厢之间,叉运机构直接将堆垛完成的托盘运送至车厢内,效率更高;
(3)通过在输送装置上设置桥板和摆动延长板,移动轮可以从平台上运动至桥板和摆动延长板上,在减小货物输送形成的基础上,进一步增大了叉运机构的运送范围。
附图说明
为了更清楚地说明本实用新型实施例的技术方案,下面将对实施例描述中所需要使用的附图作简单地介绍,显而易见地,下面描述中的附图仅仅是本实用新型的一些实施例,对于本领域的普通技术人员来讲,在不付出创造性劳动的前提下,还可以根据这些附图获得其他附图。
图1为本实用新型的垛形货物装车机构的整体结构正视图;
图2为本实用新型的垛形货物装车机构的整体结构俯视图;
图3为本实用新型的叉运机构的正视图;
图4为本实用新型的叉运机构的俯视图;
图5为本实用新型的输送装置的正视示意图;
图6为本实用新型的输送装置的俯视示意图。
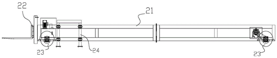
其中,1、输送装置,11、输送支架,12、输送辊,13、桥板,14、摆动延长板,15、连杆,16、气缸,2、叉运机构,21、机架,22、升降货叉,23、移动轮,24、限位架,25、限位轮,3、车辆,31、车厢,4、平台。
具体实施方式
下面将结合本实用新型实施例中的附图,对本实用新型实施例中的技术方案进行清楚、完整地描述,显然,所描述的实施例仅仅是本实用新型一部分实施例,而不是全部的实施例。以下对至少一个示例性实施例的描述实际上仅仅是说明性的,决不作为对本实用新型及其应用或使用的任何限制。基于本实用新型中的实施例,本领域普通技术人员在没有作出创造性劳动前提下所获得的所有其他实施例,都属于本实用新型保护的范围。
需要注意的是,这里所使用的术语仅是为了描述具体实施方式,而非意图限制根据本申请的示例性实施方式。如在这里所使用的,除非上下文另外明确指出,否则单数形式也意图包括复数形式,此外,还应当理解的是,当在本说明书中使用术语“包含”和/或“包括”时,其指明存在特征、步骤、操作、器件、组件和/或它们的组合。
除非另外具体说明,否则在这些实施例中阐述的部件和步骤的相对布置、数字表达式和数值不限制本实用新型的范围。同时,应当明白,为了便于描述,附图中所示出的各个部分的尺寸并不是按照实际的比例关系绘制的。对于相关领域普通技术人员已知的技术、方法和设备可能不作详细讨论,但在适当情况下,所述技术、方法和设备应当被视为授权说明书的一部分。在这里示出和讨论的所有示例中,任何具体值应被解释为仅仅是示例性的,而不是作为限制。因此,示例性实施例的其它示例可以具有不同的值。应注意到:相似的标号和字母在下面的附图中表示类似项,因此,一旦某一项在一个附图中被定义,则在随后的附图中不需要对其进行进一步讨论。
在本实用新型的描述中,需要理解的是,方位词如“前、后、上、下、左、右”、“横向、竖向、垂直、水平”和“顶、底”等所指示的方位或位置关系通常是基于附图所示的方位或位置关系,仅是为了便于描述本实用新型和简化描述,在未作相反说明的情况下,这些方位词并不指示和暗示所指的装置或元件必须具有特定的方位或者以特定的方位构造和操作,因此不能理解为对本实用新型保护范围的限制;方位词“内、外”是指相对于各部件本身的轮廓的内外。
为了便于描述,在这里可以使用空间相对术语,如“在……之上”、“在……上方”、“在……上表面”、“上面的”等,用来描述如在图中所示的一个器件或特征与其他器件或特征的空间位置关系。应当理解的是,空间相对术语旨在包含除了器件在图中所描述的方位之外的在使用或操作中的不同方位。例如,如果附图中的器件被倒置,则描述为“在其他器件或构造上方”或“在其他器件或构造之上”的器件之后将被定位为“在其他器件或构造下方”或“在其他器件或构造之下”。因而,示例性术语“在……上方”可以包括“在……上方”和“在……下方”两种方位。该器件也可以其他不同方式定位(旋转90度或处于其他方位),并且对这里所使用的空间相对描述作出相应解释。
此外,需要说明的是,使用“第一”、“第二”等词语来限定零部件,仅仅是为了便于对相应零部件进行区别,如没有另行声明,上述词语并没有特殊含义,因此不能理解为对本实用新型保护范围的限制。
如图1~6,一种垛形货物装车机构,包括用于将码垛完成的托盘输送至车辆3的车厢31门口的输送装置1和用于将输送装置1上码垛完成的托盘运送至车辆3的车厢31内的叉运机构2。本实用新型的叉运机构2连同托盘一起运送至车厢31内。输送装置1设置在车辆3与叉运机构2之间,叉运机构2沿靠近和远离车厢31方向运动的机架21,机架21的前端设有升降货叉22,升降货叉22可以采用现有叉车上的货叉结构,只是安装将整个货叉安装在机架21上。输送装置1的输送方向垂直于机架21的运动方向。输送装置1上的托盘可以人工搬运或者通过机器人搬运,同样的,托盘上的货物可以通过人工或者机器人堆垛。
叉运机构2还包括用于对机架21进行限位和导向的限位机构。机架21的移动可以采用滑轨的形式,这样滑轨同时又能起到限位作用。作为本实用新型的实施例,叉运机构2置于平台4上,叉运机构2的机架21上设有若干移动轮23,移动轮23在平台4上移动,平台4高于车辆3所在的地面。限位机构包括固定在平台4上的限位架24,限位架24上设有若干与机架21接触的限位轮25,限位轮25可以相对限位架24转动,限位轮25对称设置在机架21的两侧。
如图5~图6,输送装置1包括输送支架11,输送支架11上若干输送辊12,且在输送支架11在与移动轮23对齐的位置固定有桥板13,桥板13两侧具有输送辊12,从而保证托盘的正常输送,升降货叉22可以伸到输送辊12之间的间隙进行叉举托盘,桥板13的上表面与平台4齐平。本实用新型中,输送装置设置在阶梯台上,阶梯台的高度比地面高,比平台2低,因此,本实用新型形成了平台、阶梯台和底面三级阶梯,分别用于承载叉运机构2、输送装置1和车辆3,这样,输送装置1也实现了错位,不会对叉运机构2造成干涉,图5~图6中输送装置的长度只是示意,实际长度根据需求进行设置。
当车厢31深度较小时,叉运机构2的移动轮23可以设置在靠后的位置,这样机架21前端的升降货叉22就可以伸到车厢31内并运送堆垛的托盘至车厢31内。
当车厢31较深时,输送支架11上还设有用于伸入到车厢31内的延长板。延长板为摆动延长板14,摆动延长板14处于水平状态时与桥板13平齐。摆动延长板14一端一体成型或固定有连杆15,所述连杆15第一端与输送机架21铰接,连杆15的第二端连接有驱动机构。驱动机构包括气缸16,气缸16的活塞杆与连杆15的第二端铰接。这样,移动轮23可以从平台4上运动至桥板13和摆动延长板14上,增大了叉运机构2的运送范围。
以上,仅为本实用新型较佳的具体实施方式,但本实用新型的保护范围并不局限于此,任何熟悉本技术领域的技术人员在本实用新型揭露的技术范围内,根据本实用新型的技术方案及其实用新型构思加以等同替换或改变,都应涵盖在本实用新型的保护范围之内。
Claims (9)
1.一种垛形货物装车机构,其特征在于:包括用于将码垛完成的托盘输送至车辆(3)的车厢(31)门口的输送装置(1)和用于将输送装置(1)上码垛完成的托盘运送至车辆(3)的车厢(31)内的叉运机构(2),输送装置(1)设置在车辆(3)与叉运机构(2)之间,叉运机构(2)包括沿靠近和远离车厢(31)方向运动的机架(21),所述的机架(21)的前端设有升降货叉(22),输送装置(1)的输送方向垂直于机架(21)的运动方向。
2.根据权利要求1所述的一种垛形货物装车机构,其特征在于:所述的叉运机构(2)还包括用于对机架(21)进行限位和导向的限位机构。
3.根据权利要求2所述的一种垛形货物装车机构,其特征在于:所述的叉运机构(2)置于平台(4)上,所述的叉运机构(2)的机架(21)上设有若干移动轮(23),所述的移动轮(23)在平台(4)上移动,平台(4)高于车辆(3)所在的地面。
4.根据权利要求3所述的一种垛形货物装车机构,其特征在于:所述的限位机构包括固定在平台(4)上的限位架(24),所述的限位架(24)上设有若干与机架(21)接触的限位轮(25),所述的限位轮(25)对称设置在机架(21)的两侧。
5.根据权利要求4所述的一种垛形货物装车机构,其特征在于:所述的输送装置(1)包括输送支架(11),所述的输送支架(11)上若干输送辊(12),且在输送支架(11)在与移动轮(23)对齐的位置固定有桥板(13),所述的桥板(13)的上表面与平台(4)齐平。
6.根据权利要求5所述的一种垛形货物装车机构,其特征在于:所述的输送支架(11)上设有用于伸入到车厢(31)内的延长板。
7.根据权利要求6所述的一种垛形货物装车机构,其特征在于:所述的延长板为摆动延长板(14),所述的摆动延长板(14)处于水平状态时与桥板(13)平齐。
8.根据权利要求7所述的一种垛形货物装车机构,其特征在于:所述的摆动延长板(14)一端一体成型或固定有连杆(15),所述连杆(15)第一端与输送机架(21)铰接,所述的连杆(15)的第二端连接有驱动机构。
9.根据权利要求8所述的一种垛形货物装车机构,其特征在于:所述的驱动机构包括气缸(16),所述的气缸(16)的活塞杆与连杆(15)的第二端铰接。
Priority Applications (1)
| Application Number | Priority Date | Filing Date | Title |
|---|---|---|---|
| CN202122698014.3U CN216736614U (zh) | 2021-11-05 | 2021-11-05 | 一种垛形货物装车机构 |
Applications Claiming Priority (1)
| Application Number | Priority Date | Filing Date | Title |
|---|---|---|---|
| CN202122698014.3U CN216736614U (zh) | 2021-11-05 | 2021-11-05 | 一种垛形货物装车机构 |
Publications (1)
| Publication Number | Publication Date |
|---|---|
| CN216736614U true CN216736614U (zh) | 2022-06-14 |
Family
ID=81925107
Family Applications (1)
| Application Number | Title | Priority Date | Filing Date |
|---|---|---|---|
| CN202122698014.3U Expired - Fee Related CN216736614U (zh) | 2021-11-05 | 2021-11-05 | 一种垛形货物装车机构 |
Country Status (1)
| Country | Link |
|---|---|
| CN (1) | CN216736614U (zh) |
-
2021
- 2021-11-05 CN CN202122698014.3U patent/CN216736614U/zh not_active Expired - Fee Related
Similar Documents
| Publication | Publication Date | Title |
|---|---|---|
| CN102815546B (zh) | 车辆货物托架和车辆货物托架组 | |
| CN111137812B (zh) | 搬运小车 | |
| CN108545666A (zh) | 一种叉车 | |
| CN210504790U (zh) | 一种智能装货装置 | |
| CN108545672B (zh) | 单元化物流作业系统以及作业方法 | |
| CN102105385A (zh) | 包括两个负载托架的工业载重车 | |
| CN204281199U (zh) | 双起升堆高车 | |
| CN211643939U (zh) | 一种装车系统 | |
| CN110255222B (zh) | 一种智能装货装置及装货方法 | |
| KR200462222Y1 (ko) | 래크식 아암포크를 탑재한 스태커 크레인 | |
| CN108177636A (zh) | 升降机 | |
| US20230192425A1 (en) | Apparatus and method for unloading and loading a transport unit | |
| CN205294327U (zh) | 一种带剪叉式推进机构的有轨装车小车 | |
| CN216736614U (zh) | 一种垛形货物装车机构 | |
| CN208216677U (zh) | 升降机 | |
| CN210527535U (zh) | 一种自动化立体仓库 | |
| CN220485245U (zh) | 便携式堆高车 | |
| CN115806200B (zh) | 一种食品磷酸料桶装车系统及其装车方法 | |
| CN216426601U (zh) | 一种托盘车提升装置 | |
| CN114803557B (zh) | 一种自动装车机器人及其装车流水线 | |
| CN201165459Y (zh) | 电动掏箱叉车 | |
| CN206142746U (zh) | 一种窄巷道多向堆垛车 | |
| CN211643937U (zh) | 一种装车码垛装置及装车系统 | |
| CN211769065U (zh) | 一种装车码垛系统 | |
| KR20190087051A (ko) | 화물차량 일체형 지게장치 및 이를 구비하는 지게장치 일체형 기능성 화물차량 |
Legal Events
| Date | Code | Title | Description |
|---|---|---|---|
| GR01 | Patent grant | ||
| GR01 | Patent grant | ||
| CF01 | Termination of patent right due to non-payment of annual fee | ||
| CF01 | Termination of patent right due to non-payment of annual fee |
Granted publication date: 20220614 |