CN216734406U - An automatic electrical equipment installation and handling device - Google Patents
An automatic electrical equipment installation and handling device Download PDFInfo
- Publication number
- CN216734406U CN216734406U CN202220117483.3U CN202220117483U CN216734406U CN 216734406 U CN216734406 U CN 216734406U CN 202220117483 U CN202220117483 U CN 202220117483U CN 216734406 U CN216734406 U CN 216734406U
- Authority
- CN
- China
- Prior art keywords
- fixedly connected
- electrical equipment
- plate
- handling device
- vertical plates
- Prior art date
- Legal status (The legal status is an assumption and is not a legal conclusion. Google has not performed a legal analysis and makes no representation as to the accuracy of the status listed.)
- Expired - Fee Related
Links
- 238000009434 installation Methods 0.000 title claims abstract description 12
- 230000001681 protective effect Effects 0.000 claims description 12
- 238000010586 diagram Methods 0.000 description 2
- 208000027418 Wounds and injury Diseases 0.000 description 1
- 230000009286 beneficial effect Effects 0.000 description 1
- 230000006378 damage Effects 0.000 description 1
- 238000010292 electrical insulation Methods 0.000 description 1
- 208000014674 injury Diseases 0.000 description 1
- 238000009413 insulation Methods 0.000 description 1
- 238000000034 method Methods 0.000 description 1
- 238000012986 modification Methods 0.000 description 1
- 230000004048 modification Effects 0.000 description 1
- 239000011120 plywood Substances 0.000 description 1
Images
Landscapes
- Handcart (AREA)
Abstract
本实用新型公开了一种自动化电气设备安装搬运装置,包括底板,所述底板的上表面固定连接有两个立板,两个所述立板相互靠近的一侧面共同固定连接有放置板,所述底板的上表面固定连接有双头电机,每个所述立板的右侧面均固定镶嵌有第一轴承,所述双头电机的两个输出端均固定连接有转动杆,两个所述转动杆相互远离的一端分别贯穿两个第一轴承并固定连接有第一皮带轮。该自动化电气设备安装搬运装置通过设置的双头电机、第一皮带轮与第二皮带轮的配合,利用双头电机的工作,可以让第二皮带轮带动螺纹筒进行转动,能够让两个夹板快速的相互靠近,可以形成对电气设备的夹持固定,工作人员操作时会更加便捷,能够提高工作人员的搬运效率。
The utility model discloses an automatic electrical equipment installation and handling device, comprising a base plate, two vertical plates are fixedly connected to the upper surface of the base plate, and a side surface of the two vertical plates close to each other is jointly fixed and connected with a placing plate. The upper surface of the bottom plate is fixedly connected with a double-headed motor, the right side of each vertical plate is fixedly inlaid with a first bearing, the two output ends of the double-headed motor are fixedly connected with a rotating rod, and the two The ends of the rotating rods away from each other respectively penetrate through the two first bearings and are fixedly connected with the first pulleys. The automatic electrical equipment installation and handling device uses the double-headed motor, the cooperation of the first pulley and the second pulley, and the work of the double-headed motor can make the second pulley drive the threaded barrel to rotate, and the two splints can quickly interact with each other. By approaching, a clamping and fixing of the electrical equipment can be formed, the operation of the staff will be more convenient, and the handling efficiency of the staff can be improved.
Description
技术领域technical field
本实用新型属于电气设备技术领域,尤其涉及一种自动化电气设备安装搬运装置。The utility model belongs to the technical field of electrical equipment, in particular to an automatic electrical equipment installation and handling device.
背景技术Background technique
电气设备是在电力系统中对发电机、变压器、电力线路、断路器等设备的统称,保持配电线路和电气设备的绝缘良好,是保证人身安全和电气设备正常运行的最基本要素,电气绝缘的性能是否良好,可通过测量其绝缘电阻、耐压强度、泄漏电流和介质损耗等参数来衡量,在电器设备安装时,需要对其进行运输。Electrical equipment is a general term for generators, transformers, power lines, circuit breakers and other equipment in the power system. Keeping distribution lines and electrical equipment well insulated is the most basic element to ensure personal safety and the normal operation of electrical equipment. Electrical insulation Whether the performance of the electrical equipment is good can be measured by measuring its insulation resistance, withstand voltage strength, leakage current and dielectric loss and other parameters. When the electrical equipment is installed, it needs to be transported.
目前的搬运装置在运输时,一般都是工作人员利用绳索等工具对电气设备进行固定,操作比较繁琐,会影响到工作人员的搬运效率,因此为解决以上问题,我们提供了一种自动化电气设备安装搬运装置。When the current handling device is transported, the staff generally uses ropes and other tools to fix the electrical equipment. The operation is cumbersome and will affect the handling efficiency of the staff. Therefore, in order to solve the above problems, we provide an automatic electrical equipment. Install the carrier.
实用新型内容Utility model content
本实用新型提供,旨在解决上述存在目前的搬运装置在运输时,一般都是工作人员利用绳索等工具对电气设备进行固定,操作比较繁琐,会影响到工作人员的搬运效率的问题。The utility model is provided to solve the above-mentioned problem that the current handling device generally uses tools such as ropes to fix the electrical equipment, which is cumbersome and affects the handling efficiency of the staff.
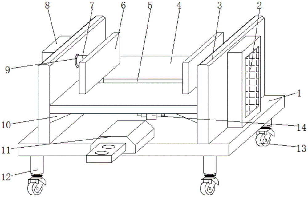
本实用新型是这样实现的,一种自动化电气设备安装搬运装置,包括底板,所述底板的上表面固定连接有两个立板,两个所述立板相互靠近的一侧面共同固定连接有放置板,所述底板的上表面固定连接有双头电机,每个所述立板的右侧面均固定镶嵌有第一轴承,所述双头电机的两个输出端均固定连接有转动杆,两个所述转动杆相互远离的一端分别贯穿两个第一轴承并固定连接有第一皮带轮,每个所述立板的右侧面均固定镶嵌有第二轴承,每个所述第二轴承的内圈均固定连接有螺纹筒,两个所述螺纹筒相互远离的一端均固定连接有第二皮带轮,每个所述第一皮带轮的外表面与第二皮带轮的外表面共同套设有连接皮带,每个所述螺纹筒的内壁均螺纹连接有螺纹杆,两个所述螺纹杆相互靠近的一端均固定连接有夹板。The utility model is realized in this way, an automatic electrical equipment installation and handling device, comprising a base plate, the upper surface of the base plate is fixedly connected with two vertical plates, and one side of the two vertical plates close to each other is fixedly connected with a placing plate. The upper surface of the bottom plate is fixedly connected with a double-headed motor, the right side of each vertical plate is fixedly inlaid with a first bearing, and the two output ends of the double-headed motor are fixedly connected with a rotating rod, The ends of the two rotating rods away from each other respectively pass through the two first bearings and are fixedly connected with the first pulleys, the right side of each of the vertical plates is fixedly inlaid with second bearings, and each of the second bearings The inner rings are fixedly connected with threaded cylinders, and the ends of the two threaded cylinders away from each other are fixedly connected with a second pulley, and the outer surface of each of the first pulleys and the outer surface of the second pulley are jointly sleeved with a connection. For the belt, a threaded rod is threadedly connected to the inner wall of each of the threaded cylinders, and a splint is fixedly connected to the ends of the two threaded rods that are close to each other.
所述放置板的上表面开设有固定槽,所述固定槽的内壁滑动连接有两个连接块,每个所述连接块的上表面均与夹板的底面固定连接。The upper surface of the placing plate is provided with a fixing groove, and the inner wall of the fixing groove is slidably connected with two connecting blocks, and the upper surface of each connecting block is fixedly connected with the bottom surface of the clamping plate.
两个所述立板相互远离的一侧面均固定连接有防护箱,每个所述防护箱的底面均与底板的上表面固定连接,两个所述防护箱相互远离的一侧面均固定连接有标牌。One side of the two vertical plates away from each other is fixedly connected with a protective box, the bottom surface of each said protective box is fixedly connected with the upper surface of the bottom plate, and one side of the two said protective boxes away from each other is fixedly connected with a protective box. signage.
两个所述立板相互靠近的一侧面均固定连接有支撑块,每个所述支撑块的上表面均与放置板的底面固定连接。A support block is fixedly connected to one side of the two vertical plates close to each other, and the upper surface of each support block is fixedly connected to the bottom surface of the placing plate.
所述底板的上方设有牵引组件,所述牵引组件的底面与底板的上表面固定连接。A traction component is arranged above the bottom plate, and the bottom surface of the traction component is fixedly connected with the upper surface of the bottom plate.
所述底板的下方设有两组支撑腿,每个所述支撑腿的顶端均与底板的底面固定连接,每个所述支撑腿的底端均固定连接有万向轮。Two sets of support legs are arranged below the bottom plate, the top end of each of the support legs is fixedly connected with the bottom surface of the bottom plate, and the bottom end of each of the support legs is fixedly connected with a universal wheel.
与现有技术相比,本实用新型的有益效果是:通过设置的双头电机、第一皮带轮与第二皮带轮的配合,利用双头电机的工作,可以让第二皮带轮带动螺纹筒进行转动,能够让两个夹板快速的相互靠近,可以形成对电气设备的夹持固定,工作人员操作时会更加便捷,能够提高工作人员的搬运效率,通过设置的防护箱,可以将第一皮带轮和第二皮带轮进行防护,还能够避免对工作人员造成伤害,提高了此装置的安全性能。Compared with the prior art, the beneficial effect of the present utility model is: through the cooperation of the provided double-headed motor, the first pulley and the second pulley, and the operation of the double-headed motor, the second pulley can drive the threaded cylinder to rotate, The two splints can be quickly approached to each other, which can form the clamping and fixing of the electrical equipment. It will be more convenient for the staff to operate, and the handling efficiency of the staff can be improved. The pulley is used for protection, which can also avoid injury to the staff and improve the safety performance of the device.
附图说明Description of drawings
图1为本实用新型底板的立体结构示意图;Fig. 1 is the three-dimensional structure schematic diagram of the base plate of the present utility model;
图2为本实用新型防护箱正视图的剖视图;Fig. 2 is the sectional view of the front view of the protective box of the present utility model;
图3为本实用新型夹板的立体结构示意图。FIG. 3 is a schematic three-dimensional structure diagram of the splint of the present invention.
图中:1、底板;2、标牌;3、立板;4、放置板;5、固定槽;6、夹板;7、螺纹筒;8、防护箱;9、第二轴承;10、支撑块;11、牵引组件;12、支撑腿;13、万向轮;14、双头电机;15、第二皮带轮;16、连接皮带;17、转动杆;18、第一轴承;19、第一皮带轮;20、螺纹杆;21、连接块。In the picture: 1. Bottom plate; 2. Signboard; 3. Vertical plate; 4. Placing plate; 5. Fixing groove; 6. Plywood; 7. Threaded cylinder; 8. Protective box; 9. Second bearing; ; 11, traction assembly; 12, support legs; 13, universal wheel; 14, double-headed motor; 15, second pulley; 16, connecting belt; 17, rotating rod; 18, first bearing; 19, first pulley ; 20, threaded rod; 21, connecting block.
具体实施方式Detailed ways
为了使本实用新型的目的、技术方案及优点更加清楚明白,以下结合附图及实施例,对本实用新型进行进一步详细说明。应当理解,此处所描述的具体实施例仅仅用以解释本实用新型,并不用于限定本实用新型。In order to make the purpose, technical solutions and advantages of the present utility model more clearly understood, the present utility model will be further described in detail below with reference to the accompanying drawings and embodiments. It should be understood that the specific embodiments described herein are only used to explain the present invention, and are not intended to limit the present invention.
在本实用新型的描述中,需要理解的是,术语“长度”、“宽度”、“上”、“下”、“前”、“后”、“左”、“右”、“竖直”、“水平”、“顶”、“底”“内”、“外”等指示的方位或位置关系为基于附图所示的方位或位置关系,仅是为了便于描述本实用新型和简化描述,而不是指示或暗示所指的装置或元件必须具有特定的方位、以特定的方位构造和操作,因此不能理解为对本实用新型的限制。此外,在本实用新型的描述中,“多个”的含义是两个或两个以上,除非另有明确具体的限定。In the description of the present invention, it should be understood that the terms "length", "width", "upper", "lower", "front", "rear", "left", "right", "vertical" , "horizontal", "top", "bottom", "inside", "outside" and other indicated orientations or positional relationships are based on the orientations or positional relationships shown in the accompanying drawings, only for the convenience of describing the present utility model and simplifying the description, Rather than indicating or implying that the indicated device or element must have a particular orientation, be constructed and operate in a particular orientation, it should not be construed as a limitation of the present invention. In addition, in the description of the present invention, "plurality" means two or more, unless otherwise expressly and specifically defined.
请参阅图1-3,一种自动化电气设备安装搬运装置,包括底板1,底板1的上表面固定连接有两个立板3,两个立板3相互靠近的一侧面共同固定连接有放置板4,底板1的上表面固定连接有双头电机14,每个立板3的右侧面均固定镶嵌有第一轴承18,双头电机14的两个输出端均固定连接有转动杆17,两个转动杆17相互远离的一端分别贯穿两个第一轴承18并固定连接有第一皮带轮19,每个立板3的右侧面均固定镶嵌有第二轴承9,每个第二轴承9的内圈均固定连接有螺纹筒7,两个螺纹筒7相互远离的一端均固定连接有第二皮带轮15,每个第一皮带轮19的外表面与第二皮带轮15的外表面共同套设有连接皮带16,每个螺纹筒7的内壁均螺纹连接有螺纹杆20,两个螺纹杆20相互靠近的一端均固定连接有夹板6。Please refer to Figure 1-3, an automatic electrical equipment installation and handling device, including a base plate 1, the upper surface of the base plate 1 is fixedly connected with two vertical plates 3, and a side surface of the two vertical plates 3 close to each other is fixedly connected with a placement plate. 4. The upper surface of the bottom plate 1 is fixedly connected with a double-
本实用新型中,放置板4的上表面开设有固定槽5,固定槽5的内壁滑动连接有两个连接块21,每个连接块21的上表面均与夹板6的底面固定连接,可以对夹板6进行连接,能够避免夹板6出现转动,两个立板3相互远离的一侧面均固定连接有防护箱8,每个防护箱8的底面均与底板1的上表面固定连接,两个防护箱8相互远离的一侧面均固定连接有标牌2,利用标牌2可以让工作人员了解到注意事项,能够让工作人员操作更加便捷。In the present invention, the upper surface of the
两个立板3相互靠近的一侧面均固定连接有支撑块10,每个支撑块10的上表面均与放置板4的底面固定连接,可以对放置板4进行加固,能够使放置板4更加稳固,底板1的上方设有牵引组件11,牵引组件11的底面与底板1的上表面固定连接,便于工作人员与车辆之间连接,底板1的下方设有两组支撑腿12,每个支撑腿12的顶端均与底板1的底面固定连接,每个支撑腿12的底端均固定连接有万向轮13,能够对此装置便捷的移动,有利于工作人员的搬运工作。A
本实用新型的工作原理是:使用时先利用牵引组件11与车辆连接在一起,然后将电气设备放置在放置板4的上面,接着点击控制面板让双头电机14进行工作,双头电机14会带动两个转动杆17分别在两个第一轴承18的内圈进行转动,同时在连接皮带16连接的作用下,第一皮带轮19会带动第二皮带轮15进行转动,螺纹筒7则会在第二轴承9的内圈进行转动,夹板6会不断的靠近并会形成对电气设备的夹持固定。The working principle of the utility model is as follows: when in use, the
以上仅为本实用新型的较佳实施例而已,并不用以限制本实用新型,凡在本实用新型的精神和原则之内所作的任何修改、等同替换和改进等,均应包含在本实用新型的保护范围之内。The above are only preferred embodiments of the present utility model, and are not intended to limit the present utility model. Any modifications, equivalent replacements and improvements made within the spirit and principles of the present utility model shall be included in the present utility model. within the scope of protection.
Claims (6)
Priority Applications (1)
| Application Number | Priority Date | Filing Date | Title |
|---|---|---|---|
| CN202220117483.3U CN216734406U (en) | 2022-01-17 | 2022-01-17 | An automatic electrical equipment installation and handling device |
Applications Claiming Priority (1)
| Application Number | Priority Date | Filing Date | Title |
|---|---|---|---|
| CN202220117483.3U CN216734406U (en) | 2022-01-17 | 2022-01-17 | An automatic electrical equipment installation and handling device |
Publications (1)
| Publication Number | Publication Date |
|---|---|
| CN216734406U true CN216734406U (en) | 2022-06-14 |
Family
ID=81914296
Family Applications (1)
| Application Number | Title | Priority Date | Filing Date |
|---|---|---|---|
| CN202220117483.3U Expired - Fee Related CN216734406U (en) | 2022-01-17 | 2022-01-17 | An automatic electrical equipment installation and handling device |
Country Status (1)
| Country | Link |
|---|---|
| CN (1) | CN216734406U (en) |
Cited By (1)
| Publication number | Priority date | Publication date | Assignee | Title |
|---|---|---|---|---|
| CN117001232A (en) * | 2023-05-04 | 2023-11-07 | 南通重矿金属新材料有限公司 | Be used for diphase stainless steel welded auxiliary device |
-
2022
- 2022-01-17 CN CN202220117483.3U patent/CN216734406U/en not_active Expired - Fee Related
Cited By (1)
| Publication number | Priority date | Publication date | Assignee | Title |
|---|---|---|---|---|
| CN117001232A (en) * | 2023-05-04 | 2023-11-07 | 南通重矿金属新材料有限公司 | Be used for diphase stainless steel welded auxiliary device |
Similar Documents
| Publication | Publication Date | Title |
|---|---|---|
| CN216734406U (en) | An automatic electrical equipment installation and handling device | |
| CN205195155U (en) | Insulating platform | |
| CN111130278A (en) | Special frame of motor assembly | |
| CN203949939U (en) | A kind of clamp-type insulating support | |
| CN209231459U (en) | Extra-high voltage GIS integrated Insulation Test platform based on SF6 insulation reactor | |
| CN211169713U (en) | Auxiliary device for electromechanical installation | |
| CN203728474U (en) | Substation special elevator | |
| CN116953594A (en) | Detection equipment for high-voltage transformer | |
| CN217193036U (en) | Foundation bolt straightening and cutting machine | |
| CN213517405U (en) | Power frequency withstand voltage test device | |
| CN211946182U (en) | Maintenance platform for transformer fault maintenance | |
| CN203582376U (en) | Slidably mounting and lifting structure | |
| CN103344799B (en) | Be applicable to the high-tension cable variable-frequency series-resonance insulator rack for experiment of many landform | |
| CN221857967U (en) | A generator base | |
| CN221862661U (en) | Energy storage converter convenient to maintain | |
| CN217361303U (en) | Adjustable transformer supporting structure for power engineering | |
| CN211209187U (en) | Fixing device for cable of wind driven generator | |
| CN217484465U (en) | High-efficiency AC power dynamometer | |
| CN203941267U (en) | A kind of integrated high-voltage test device of exempting to install | |
| CN214624665U (en) | Single-frame-core type series excitation alternating current test transformer | |
| CN211366764U (en) | Lifting equipment for road and bridge construction | |
| CN214848154U (en) | A current transformer with heat dissipation function | |
| CN210099582U (en) | Guide rail sealing device for numerical control machine tool | |
| CN203569966U (en) | Warning rail for construction site in transformer substation | |
| CN215417764U (en) | Dry-type transformer with mounting base |
Legal Events
| Date | Code | Title | Description |
|---|---|---|---|
| GR01 | Patent grant | ||
| GR01 | Patent grant | ||
| CF01 | Termination of patent right due to non-payment of annual fee | ||
| CF01 | Termination of patent right due to non-payment of annual fee |
Granted publication date: 20220614 |
