CN216728861U - Automatic cut integrated cooling type tin bar extruder - Google Patents

Automatic cut integrated cooling type tin bar extruder Download PDF

Info

Publication number
CN216728861U
CN216728861U CN202123394003.2U CN202123394003U CN216728861U CN 216728861 U CN216728861 U CN 216728861U CN 202123394003 U CN202123394003 U CN 202123394003U CN 216728861 U CN216728861 U CN 216728861U
Authority
CN
China
Prior art keywords
tin bar
extrusion
workbench
integrated cooling
cooling type
Prior art date
Legal status (The legal status is an assumption and is not a legal conclusion. Google has not performed a legal analysis and makes no representation as to the accuracy of the status listed.)
Expired - Fee Related
Application number
CN202123394003.2U
Other languages
Chinese (zh)
Inventor
陈煜伟
Current Assignee (The listed assignees may be inaccurate. Google has not performed a legal analysis and makes no representation or warranty as to the accuracy of the list.)
Shenzhen Aijiafa Industrial Co ltd
Original Assignee
Shenzhen Aijiafa Industrial Co ltd
Priority date (The priority date is an assumption and is not a legal conclusion. Google has not performed a legal analysis and makes no representation as to the accuracy of the date listed.)
Filing date
Publication date
Application filed by Shenzhen Aijiafa Industrial Co ltd filed Critical Shenzhen Aijiafa Industrial Co ltd
Priority to CN202123394003.2U priority Critical patent/CN216728861U/en
Application granted granted Critical
Publication of CN216728861U publication Critical patent/CN216728861U/en
Expired - Fee Related legal-status Critical Current
Anticipated expiration legal-status Critical

Links

Images

Landscapes

  • Extrusion Of Metal (AREA)

Abstract

本实用新型提供自动分切集成冷却式的锡条挤压机,涉及锡条挤压机技术领域,包括工作台,所述工作台的上表面固定安装有挤压箱,所述工作台的上表面且位于挤压箱的一侧安装有气缸,所述工作台的上表面固定安装有若干个第一支撑板,所述工作台的上表面且位于第一支撑板的一侧设置有分切机构,所述分切机构的一侧设置有辅助机构。本实用新型通过第一驱动电机的运转对两个切割刀片的位置进行移动,使其可对锡条进行切割,无需再次进行分切工作,切割后的锡条会掉落至接料箱的内部,通过水冷却器在输送管的作用下可对接料箱内部进行冷却,可使内部分切完成的锡条能够更快的冷却成型,生产周期更短,可有效提高工作效率。

Figure 202123394003

The utility model provides an automatic slitting and integrated cooling type tin bar extruder, which relates to the technical field of tin bar extruders. A cylinder is installed on the surface and on one side of the extrusion box, a plurality of first support plates are fixedly installed on the upper surface of the worktable, and a slitter is installed on the upper surface of the worktable and on the side of the first support plate. One side of the slitting mechanism is provided with an auxiliary mechanism. The utility model moves the positions of the two cutting blades through the operation of the first driving motor, so that the tin bar can be cut without the need to perform the slitting work again, and the cut tin bar will fall into the interior of the receiving box , The water cooler can cool the inside of the material box under the action of the conveying pipe, so that the tin strips that have been cut inside can be cooled and formed faster, the production cycle is shorter, and the work efficiency can be effectively improved.

Figure 202123394003

Description

Automatic cut integrated cooling type tin bar extruder
Technical Field
The utility model relates to the technical field of tin bar extruders, in particular to an automatic cutting and integrated cooling type tin bar extruder.
Background
There are various methods for producing the tin bar, among them, there is an extrusion molding method in which a material is extruded by an extrusion device to perform a molding work of the tin bar, and an extrusion apparatus for producing the tin bar as set forth in patent application No. 202120133628.4 includes: the device comprises a device main body, wherein a mounting frame is arranged on the outer surface of the upper end of the device main body, extrusion assemblies are arranged on the mounting frame, conveying channels are arranged at two ends of the mounting frame, a tin bar guiding device is arranged on one group of the conveying channels, and two groups of auxiliary extrusion assemblies are arranged on the other group of the conveying channels; and a traction device comprising a drive device and a traction assembly. Above-mentioned scheme can make the tin bar abundant with the extrusion subassembly contact, abundant extrusion, the tin bar better quality of production, need the manual position that changes the tin bar of people during the use moreover, the human cost is lower, can prescribe a limit to the position of tin bar, the tin bar slope when avoiding removing and extruding, can make more even of tin bar atress, the tin bar surfacing of producing, thickness is even, brings better use prospect.
But the aforesaid technical scheme can not cut the work to the tin bar after the extrusion in the course of working, need carry out cutting work once more, and is comparatively troublesome during the use, can't cool off fast the tin bar after the shaping moreover, needs wait its natural cooling, and processing cycle is longer, therefore we improve this, provides the tin bar extruder of the integrated cooling type of automatic cutting.
SUMMERY OF THE UTILITY MODEL
The utility model mainly aims to provide an automatic cutting integrated cooling type tin bar extruder which can effectively solve the problems in the background technology.
In order to achieve the purpose, the utility model adopts the technical scheme that:
automatic cut integrated cooling's tin bar extruder, comprises a workbench, the last fixed surface of workstation installs the extrusion case, the cylinder is installed to the upper surface of workstation and the one side that is located the extrusion case, the last fixed surface of workstation installs the first backup pad of a plurality of, every the top of first backup pad all is provided with first material receiving groove, the upper surface of workstation and the one side that is located first backup pad are provided with cuts the mechanism, it is provided with complementary unit to cut one side of mechanism, lower surface one side movable mounting of workstation has the material receiving box, the water cooler is installed to the lower surface of workstation and the one side that is located the material receiving box, the output of water cooler is provided with the conveyer pipe, the other end setting of conveyer pipe is inside the material receiving box.
Preferably, the top of extrusion case is provided with the charge door, the stripper plate is installed to one side and the tip that the output of cylinder runs through the extrusion case, the stripper plate sets up the inside at the extrusion case, the one end inner wall that the stripper plate was kept away from to the extrusion case is provided with a plurality of extrusion hole.
As preferred, the cutting mechanism is including the install bin, install bin fixed mounting is at the upper surface of workstation, the one end fixed surface of install bin installs first driving motor, first accommodate the lead screw is installed to first driving motor's output, the other end of first accommodate the lead screw rotates and sets up inside the one end of install bin.
Preferably, the first screw rod sleeves are movably mounted on the rod bodies at the two ends of the first adjusting screw rod, the mounting plate is fixedly mounted at the top of each first screw rod sleeve, and a cutting blade is movably mounted on one side of each mounting plate.
Preferably, the auxiliary mechanism comprises a fixing plate, the fixing plate is fixedly installed on two sides of the upper surface of one end of the workbench, a second driving motor is installed on the surface of one side of the fixing plate, a second adjusting screw rod is installed at the output end of the second driving motor, and the other end of the second adjusting screw rod is rotatably arranged on the surface of one side of the installing box.
Preferably, a limiting rod is arranged on the surface of one side, far away from the fixing plate of the second driving motor, of the limiting rod, the other end of the limiting rod is arranged on the surface of one side of the mounting box, a second support plate is movably arranged on the rod bodies of the second adjusting screw rod and the limiting rod, and a plurality of second material receiving grooves are uniformly and respectively formed in the top of the second support plate.
Preferably, limiting sliding blocks are installed on two sides of the lower surface of the second supporting plate and are arranged in limiting sliding grooves in a sliding mode, and the limiting sliding grooves are formed in two sides of the upper surface of the workbench.
Compared with the prior art, the utility model has the following beneficial effects:
(1) after the length of tin bar reaches the processing requirement, rotate through the first accommodate the lead screw of a driving motor drive, thereby make first lead screw cover drive the mounting panel and move, make two cutting blade pass through every first backup pad in proper order, thereby can cut the tin bar, need not to cut work once more, the tin bar after the cutting can drop to the inside that connects the workbin, can cool off workbin inside under the effect of conveyer pipe through the water cooler, can make inside tin bar of cutting completion can be faster cooling shaping, production cycle is shorter, can effectively improve work efficiency.
(2) Can support extrusion's tin bar through the first silo that connects of first backup pad upper end, when extrudeing to certain length, connect the silo with the second in the second backup pad and cooperate, rotate through second driving motor drive second accommodate the lead screw, can make the second backup pad remove under the screw-thread fit between second accommodate the lead screw and the second backup pad, make the second backup pad can follow the change of tin bar shaping length and remove, can keep better support to extrusion's tin bar always, conveniently carry out the work of cutting of tin bar.
Drawings
FIG. 1 is a schematic view of the overall structure of an automatic cutting integrated cooling type tin bar extruder according to the present invention;
FIG. 2 is a side view of the automatic slitting integrated cooled tin bar extruder of the present invention;
FIG. 3 is a schematic cross-sectional view taken along line A-A of FIG. 2 of the integrated cooled, self-cutting tin bar press of the present invention;
FIG. 4 is a schematic cross-sectional view taken along line B-B of FIG. 2 of the integrated cooling type automatic slitting tin bar extruder of the present invention.
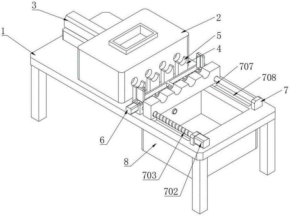
In the figure: 1. a work table; 2. extruding the box; 201. a feed inlet; 202. a pressing plate; 203. extruding the hole; 3. a cylinder; 4. a first support plate; 5. a first material receiving groove; 6. a slitting mechanism; 601. installing a box; 602. a first drive motor; 603. a first adjusting screw rod; 604. a first screw rod sleeve; 605. mounting a plate; 606. a cutting blade; 7. an auxiliary mechanism; 701. a fixing plate; 702. a second drive motor; 703. a second adjusting screw rod; 704. a second support plate; 705. a second receiving trough; 706. a limiting rod; 707. a limiting slide block; 708. a limiting chute; 8. a material receiving box; 9. a water cooler; 10. a delivery pipe.
Detailed Description
The technical solutions in the embodiments of the present invention will be clearly and completely described below with reference to the embodiments of the present invention, and it is obvious that the described embodiments are only a part of the embodiments of the present invention, and not all of the embodiments. All other embodiments, which can be derived by a person skilled in the art from the embodiments given herein without making any creative effort, shall fall within the protection scope of the present invention.
Examples
As shown in fig. 1-4, automatic cut integrated cooling's tin bar extruder, comprises a workbench 1, the last fixed surface of workstation 1 installs extrusion case 2, the cylinder 3 is installed to the upper surface of workstation 1 and the one side that is located extrusion case 2, the last fixed surface of workstation 1 installs the first backup pad 4 of a plurality of, the top of every first backup pad 4 all is provided with first silo 5 that connects, the upper surface of workstation 1 and the one side that is located first backup pad 4 are provided with cuts mechanism 6, the one side that cuts mechanism 6 is provided with complementary unit 7, lower surface one side movable mounting of workstation 1 has the workbin 8 that connects, the water cooler 9 is installed to the lower surface of workstation 1 and the one side that is located workbin 8, the output of water cooler 9 is provided with conveyer pipe 10, the other end setting of conveyer pipe 10 is inside the workbin 8 that connects.
In this embodiment, the top of extrusion case 2 is provided with charge door 201, and extrusion board 202 is installed to one side and the tip that extrusion case 2 was run through to the output of cylinder 3, and extrusion board 202 sets up the inside at extrusion case 2, and the one end inner wall that extrusion case 2 kept away from extrusion board 202 is provided with a plurality of extrusion hole 203, promotes extrusion board 202 through cylinder 3 and removes, under the effect in extrusion hole 203, makes the tin bar shaping, and is more convenient when using.
It should be noted that, the slitting mechanism 6 includes the installation box 601, the installation box 601 is fixedly installed on the upper surface of the workbench 1, a first driving motor 602 is fixedly installed on the surface of one end of the installation box 601, a first adjusting screw 603 is installed at the output end of the first driving motor 602, the other end of the first adjusting screw 603 is rotatably installed inside one end of the installation box 601, the positions of the two cutting blades 606 are adjusted through the operation of the first driving motor 602, and the slitting work of the tin bars can be completed more quickly.
First screw rod sleeves 604 are movably mounted on the rod bodies at two ends of the first adjusting screw rod 603, a mounting plate 605 is fixedly mounted at the top of each first screw rod sleeve 604, a cutting blade 606 is movably mounted on one side of each mounting plate 605, and the cutting operation of the tin bar can be completed through the relative movement between the cutting blades 606 at two different positions.
When the tin bar forming device is specifically arranged, the auxiliary mechanism 7 comprises a fixing plate 701, the fixing plate 701 is fixedly installed on two sides of the upper surface of one end of the workbench 1, a second driving motor 702 is installed on one side surface of one fixing plate 701, a second adjusting screw rod 703 is installed at the output end of the second driving motor 702, the other end of the second adjusting screw rod 703 is rotatably arranged on one side surface of the installing box 601, the second adjusting screw rod 703 is driven to rotate through the second driving motor 702, and the second supporting plate 704 can move along with the change of the tin bar forming length.
In this application, keep away from one side surface mounting of second driving motor 702's fixed plate 701 has gag lever post 706, the other end setting of gag lever post 706 is at a side surface of install bin 601, movable mounting has second backup pad 704 on the pole body of second accommodate the lead screw 703 and gag lever post 706, the top of second backup pad 704 evenly is provided with a plurality of second respectively and connects silo 705, first silo 5 that connects, the second connects silo 705 and extrusion hole 203's position all the one-to-one, can accomplish the extrusion work of a plurality of tin bars simultaneously, machining efficiency is higher.
It should be noted that, limiting sliding blocks 707 are installed on both sides of the lower surface of the second supporting plate 704, the limiting sliding blocks 707 are slidably disposed in the limiting sliding grooves 708, the limiting sliding grooves 708 are disposed on both sides of the upper surface of the workbench 1, and the limiting sliding blocks 707 slidably disposed in the limiting sliding grooves 708 can make the second supporting plate 704 more stable in the moving process, so as to better support the solder bar.
The working principle of the automatic cutting integrated cooling type tin bar extruder is as follows:
when the tin bar extruding machine is used, raw materials are added into the extruding box 2 through the feed inlet 201, the extruding plate 202 is pushed to move through the air cylinder 3, so that the raw materials in the extruding box 2 can be extruded, a specified shape is formed under the action of the extruding hole 203, an extruded tin bar can be supported through the first material receiving groove 5 at the upper end of the first supporting plate 4, when the tin bar is extruded to a certain length, the extruded tin bar is matched with the second material receiving groove 705 on the second supporting plate 704, the second adjusting screw rod 703 is driven to rotate through the second driving motor 702, the second supporting plate 704 is driven to move under the thread matching action between the second adjusting screw rod 703 and the second supporting plate 704, the extruded tin bar can be kept well supported all the time, the cutting work of the tin bar is convenient to be carried out, when the length of the tin bar reaches the processing requirement, the first adjusting screw rod 603 is driven to rotate through the first driving motor 602, thereby make first lead screw cover 604 drive mounting panel 605 and remove, make two cutting blade 606 pass through every first backup pad 4 in proper order, thereby can cut the tin bar, process into the section with it, need not to cut work once more, the tin bar after the cutting can drop to the inside that connects workbin 8, can cool off to workbin 8 inside under the effect of conveyer pipe 10 through water cooler 9, can make inside tin bar of cutting completion can faster cooling shaping, production cycle is shorter, can effectively improve work efficiency.
The foregoing shows and describes the general principles and features of the present invention, together with the advantages thereof. It will be understood by those skilled in the art that the present invention is not limited to the embodiments described above, which are described in the specification and illustrated only to illustrate the principle of the present invention, but that various changes and modifications may be made therein without departing from the spirit and scope of the present invention, which fall within the scope of the utility model as claimed. The scope of the utility model is defined by the appended claims and equivalents thereof.

Claims (7)

1. Automatic cut tin bar extruder of integrated cooling formula, including workstation (1), its characterized in that: the automatic water cooling device is characterized in that an extrusion box (2) is fixedly mounted on the upper surface of a workbench (1), a cylinder (3) is mounted on the upper surface of the workbench (1) and located on one side of the extrusion box (2), a plurality of first supporting plates (4) are fixedly mounted on the upper surface of the workbench (1), a first material receiving groove (5) is formed in the top of each first supporting plate (4), a cutting mechanism (6) is arranged on the upper surface of the workbench (1) and located on one side of the first supporting plates (4), an auxiliary mechanism (7) is arranged on one side of the cutting mechanism (6), a material receiving box (8) is movably mounted on one side of the lower surface of the workbench (1), a water cooler (9) is mounted on the lower surface of the workbench (1) and located on one side of the material receiving box (8), and a conveying pipe (10) is arranged at the output end of the water cooler (9), the other end of the conveying pipe (10) is arranged inside the material receiving box (8).
2. The automatic slitting integrated cooling type tin bar extruding machine according to claim 1, wherein: the top of extrusion case (2) is provided with charge door (201), extrusion board (202) is installed to one side and the tip that extrusion case (2) was run through to the output of cylinder (3), extrusion board (202) set up the inside at extrusion case (2), the one end inner wall that extrusion board (202) were kept away from in extrusion case (2) is provided with a plurality of extrusion hole (203).
3. The automatic slitting integrated cooling type tin bar extruding machine according to claim 1, wherein: cut mechanism (6) including install bin (601), install bin (601) fixed mounting is at the upper surface of workstation (1), the one end fixed surface of install bin (601) installs first driving motor (602), first accommodate the lead screw (603) are installed to the output of first driving motor (602), the other end of first accommodate the lead screw (603) is rotated and is set up inside the one end of install bin (601).
4. The automatic slitting integrated cooling type tin bar extruding machine according to claim 3, wherein: first screw rod sleeves (604) are movably mounted on the rod bodies at two ends of the first adjusting screw rod (603), a mounting plate (605) is fixedly mounted at the top of each first screw rod sleeve (604), and a cutting blade (606) is movably mounted on one side of each mounting plate (605).
5. The automatic slitting integrated cooling type tin bar extruding machine according to claim 4, wherein: the auxiliary mechanism (7) comprises a fixing plate (701), the fixing plate (701) is fixedly installed on two sides of the upper surface of one end of the workbench (1), a second driving motor (702) is installed on the surface of one side of the fixing plate (701), a second adjusting screw rod (703) is installed at the output end of the second driving motor (702), and the other end of the second adjusting screw rod (703) is rotatably arranged on the surface of one side of the installing box (601).
6. The automatic slitting integrated cooling type tin bar extruding machine according to claim 5, wherein: a limiting rod (706) is installed on the surface of one side of the fixing plate (701) far away from the second driving motor (702), the other end of the limiting rod (706) is arranged on the surface of one side of the installation box (601), a second supporting plate (704) is movably installed on the rod bodies of the second adjusting screw rod (703) and the limiting rod (706), and a plurality of second material receiving grooves (705) are evenly and respectively formed in the top of the second supporting plate (704).
7. The automatic slitting integrated cooling type tin bar extruding machine according to claim 6, wherein: limiting sliding blocks (707) are installed on two sides of the lower surface of the second supporting plate (704), the limiting sliding blocks (707) are arranged in the limiting sliding grooves (708) in a sliding mode, and the limiting sliding grooves (708) are arranged on two sides of the upper surface of the workbench (1).
CN202123394003.2U 2021-12-30 2021-12-30 Automatic cut integrated cooling type tin bar extruder Expired - Fee Related CN216728861U (en)

Priority Applications (1)

Application Number Priority Date Filing Date Title
CN202123394003.2U CN216728861U (en) 2021-12-30 2021-12-30 Automatic cut integrated cooling type tin bar extruder

Applications Claiming Priority (1)

Application Number Priority Date Filing Date Title
CN202123394003.2U CN216728861U (en) 2021-12-30 2021-12-30 Automatic cut integrated cooling type tin bar extruder

Publications (1)

Publication Number Publication Date
CN216728861U true CN216728861U (en) 2022-06-14

Family

ID=81910048

Family Applications (1)

Application Number Title Priority Date Filing Date
CN202123394003.2U Expired - Fee Related CN216728861U (en) 2021-12-30 2021-12-30 Automatic cut integrated cooling type tin bar extruder

Country Status (1)

Country Link
CN (1) CN216728861U (en)

Similar Documents

Publication Publication Date Title
CN115230109B (en) Extrusion molding device is used in production of plastics dysmorphism material
CN104128950B (en) The cutting trimmer of plastic pipe
CN115026583B (en) Vertical assembly line of assembled building rectangle steel pipe
CN211220910U (en) Heat insulating strip cutting device
CN116871328B (en) Aluminum alloy rolling system and method for building construction
CN216728861U (en) Automatic cut integrated cooling type tin bar extruder
CN216100049U (en) Rubber product production vulcanization molding equipment
CN220218626U (en) Casting device for plastic film production
CN116851480B (en) Copper bar extrusion device capable of continuously producing and extrusion method thereof
CN114939898B (en) Cutting processing device and method for composite rock wool insulation board
CN114131970B (en) Production equipment and production process of antibacterial plastic film
CN212822194U (en) Carousel formula multistation stamping die is with preventing putty device
CN112428555A (en) Forming and processing method of building decoration high-polymer sealing strip
CN111531600B (en) Production process of polyethylene rubber blended waterproof coiled material
CN212042266U (en) Punching device convenient to adjust shape for drawer bottom plate production
CN209175867U (en) A kind of integrated circuit component blank cleaning plant
CN220008198U (en) Autoclaved aerated concrete block mold
CN218873931U (en) Spring machine shutdown mechanism that equidistance was cut off
CN115780685B (en) Steel bar extrusion forming equipment
CN215508503U (en) Square tube forming device
CN220883088U (en) Tablet press for rubber production
CN222470914U (en) Plate shearing machine
CN222003561U (en) Blank equipment is used in sealing washer production
CN223222351U (en) Material feeding unit convenient to separation
CN218905531U (en) Plastic movable frame production cutting equipment

Legal Events

Date Code Title Description
GR01 Patent grant
GR01 Patent grant
CF01 Termination of patent right due to non-payment of annual fee

Granted publication date: 20220614