CN216712992U - Prefabricated-cast-in-place underground continuous wall structure based on BIM technology - Google Patents
Prefabricated-cast-in-place underground continuous wall structure based on BIM technology Download PDFInfo
- Publication number
- CN216712992U CN216712992U CN202123255434.0U CN202123255434U CN216712992U CN 216712992 U CN216712992 U CN 216712992U CN 202123255434 U CN202123255434 U CN 202123255434U CN 216712992 U CN216712992 U CN 216712992U
- Authority
- CN
- China
- Prior art keywords
- prefabricated
- wall
- cast
- place
- structure based
- Prior art date
- Legal status (The legal status is an assumption and is not a legal conclusion. Google has not performed a legal analysis and makes no representation as to the accuracy of the status listed.)
- Active
Links
Images
Landscapes
- Bulkheads Adapted To Foundation Construction (AREA)
Abstract
本实用新型公开了一种基于BIM技术的预制‑现浇地下连续墙结构,包括预制墙和现浇混凝土墙;所述预制墙与现浇混凝土墙依次间隔相互搭接形成连续墙;预制墙和现浇混凝土墙的墙面分别设有钢支撑进行地下侧向加固;预制墙和现浇混凝土墙顶部,采用连续的钢筋混凝土冠梁封顶。该地下连续墙结构,以结合现浇地下连续墙和预制地下连续墙的优点,解决交通领域隧道工程基坑支护的现浇地下连续墙施工工期长、接头处混凝土绕流、槽壁稳定性不足以及预制地下连续墙接头过多、防水抗渗性能差等问题。
The utility model discloses a prefabricated-cast-in-situ underground continuous wall structure based on BIM technology, comprising a prefabricated wall and a cast-in-situ concrete wall; the prefabricated wall and the cast-in-place concrete wall are overlapped with each other in sequence to form a continuous wall; The walls of the cast-in-place concrete walls are respectively provided with steel supports for underground lateral reinforcement; the tops of the prefabricated walls and the cast-in-place concrete walls are capped with continuous reinforced concrete crown beams. The underground diaphragm wall structure combines the advantages of the cast-in-situ diaphragm wall and the prefabricated diaphragm wall to solve the problem of the long construction period of the cast-in-place diaphragm wall for the foundation pit support of the tunnel engineering in the transportation field, the concrete flow around the joint, and the stability of the groove wall. Insufficient and too many prefabricated underground diaphragm wall joints, poor waterproof and impermeability and other problems.
Description
技术领域technical field
本实用新型属于交通基础设施领域,特别涉及一种基于BIM技术的预制-现浇地下连续墙结构。The utility model belongs to the field of traffic infrastructure, in particular to a prefabricated-cast-in-place underground continuous wall structure based on BIM technology.
背景技术Background technique
建筑信息模型(Building Information Modeling,BIM)是交通运输工程、建筑工程学及土木工程的新工具。BIM的核心是通过建立虚拟的三维模型,利用数字化技术,为这个模型提供完整的、与实际情况一致的构件模型信息库。BIM技术能将交通基础设施的建设管理运营全过程实现数字化,在交通信息化的背景下,BIM技术是实现交通基础设施数字转型、智能升级的重要手段。Building Information Modeling (BIM) is a new tool for transportation engineering, architectural engineering and civil engineering. The core of BIM is to establish a virtual three-dimensional model and use digital technology to provide a complete component model information database consistent with the actual situation for this model. BIM technology can digitize the entire process of construction, management and operation of transportation infrastructure. In the context of transportation informatization, BIM technology is an important means to realize the digital transformation and intelligent upgrade of transportation infrastructure.
近年来,地下连续墙在较复杂低质隧道基坑支护方面的应用越发广泛,各种不同施工方式也得到广泛地发展,成为交通基础设施工程施工的重要技术手段。目前大部分地下连续墙仍在采用现浇的施工工艺,其存在施工工期长、对周围环境影响大、槽壁稳定性不足等问题。随着预制拼装理念被引入地下连续墙的施工工艺,预制地下连续墙一经问世,就拥有了较大的施工优势,提高了墙体质量,缩短了现场施工时间,减少了混凝土绕流现象。与此同时,预制地下连续墙因受到吊装和运输能力的限制,其每幅墙体的长度和宽度均不能过大,这样会导致使用接头过多,同时在防水抗渗方面也易存在质量问题。因此,如何运用一种新型的兼顾前两种地下连续墙优点的地下连续墙结构,使其在较为复杂的地质条件下进行隧道工程基坑支护,是目前亟待解决的技术问题。In recent years, the application of underground diaphragm walls in the support of complex and low-quality tunnel foundation pits has become more and more extensive, and various construction methods have also been widely developed, becoming an important technical means for the construction of transportation infrastructure projects. At present, most of the underground diaphragm walls are still using the cast-in-place construction technology, which has problems such as long construction period, large impact on the surrounding environment, and insufficient stability of the groove wall. As the concept of prefabrication and assembly is introduced into the construction technology of the underground diaphragm wall, once the prefabricated underground diaphragm wall comes out, it has a great construction advantage, improves the quality of the wall, shortens the construction time on site, and reduces the phenomenon of concrete bypass. At the same time, due to the limitation of hoisting and transportation capacity of prefabricated underground diaphragm walls, the length and width of each wall should not be too large, which will lead to excessive use of joints, and it is also prone to quality problems in terms of waterproof and impermeability. . Therefore, how to use a new type of underground diaphragm wall structure that takes into account the advantages of the first two types of underground diaphragm walls to support tunnel engineering foundation pits under relatively complex geological conditions is a technical problem that needs to be solved urgently.
实用新型内容Utility model content
本实用新型所要解决的技术问题是针对现有技术的不足,提供一种新型的地下连续墙结构,以结合现浇地下连续墙和预制地下连续墙的优点,解决交通领域隧道工程基坑支护的现浇地下连续墙施工工期长、接头处混凝土绕流、槽壁稳定性不足以及预制地下连续墙接头过多、防水抗渗性能差等问题。The technical problem to be solved by the utility model is to provide a new type of underground continuous wall structure in view of the deficiencies of the existing technology, which can combine the advantages of the cast-in-place underground continuous wall and the prefabricated underground continuous wall to solve the foundation pit support of the tunnel engineering in the traffic field. The construction period of the cast-in-place diaphragm wall is long, the concrete flow around the joint, the lack of stability of the groove wall, the excessive joints of the prefabricated diaphragm wall, and the poor waterproof and impermeability.
为了实现上述目的,本实用新型采取的技术方案如下:In order to achieve the above object, the technical scheme adopted by the present utility model is as follows:
一种基于BIM技术的预制-现浇地下连续墙结构,包括预制墙和现浇混凝土墙;所述预制墙与现浇混凝土墙依次间隔相互搭接形成连续墙;预制墙和现浇混凝土墙的墙面分别设有钢支撑进行地下侧向加固;预制墙和现浇混凝土墙顶部,采用连续的钢筋混凝土冠梁封顶。A prefabricated-in-situ continuous wall structure based on BIM technology, including prefabricated walls and in-situ concrete walls; the prefabricated walls and the in-situ concrete walls are overlapped with each other in sequence to form a continuous wall; The walls are respectively provided with steel supports for underground lateral reinforcement; the tops of prefabricated walls and cast-in-place concrete walls are capped with continuous reinforced concrete crown beams.
具体地,所述预制墙采用箱型结构,截面为双箱截面,两侧带有凹口,通过两侧的凹口与现浇混凝土墙进行拼接。Specifically, the prefabricated wall adopts a box-shaped structure, and the cross-section is a double-box cross-section with notches on both sides, and the notch on both sides is spliced with the cast-in-place concrete wall.
具体地,所述的预制墙由两节以上预制墙体上下拼接而成;每节墙体的上下端分别设置有连接接头,通过连接接头将上下两节墙体进行拼接固定。Specifically, the prefabricated wall is formed by splicing two or more prefabricated walls up and down; the upper and lower ends of each wall are respectively provided with connection joints, and the upper and lower walls are spliced and fixed through the connection joints.
优选地,所述连接接头包括架立筋和分布筋和纵向受力筋;所述架立筋围成一矩形箱体结构,分布筋位于架立筋的四角,用于形成两侧的凹口,所述受力筋沿纵向分布在架立筋和分布筋上。Preferably, the connecting joints include erection bars, distribution bars and longitudinal stress bars; the erection bars enclose a rectangular box structure, and the distribution bars are located at the four corners of the erection bars to form notches on both sides , and the stressed tendons are distributed on the erecting tendons and the distribution tendons along the longitudinal direction.
优选地,上下两节预制墙体的连接接头之间通过法兰式接头连接,并采用高强螺栓进行固定。Preferably, the connection joints of the upper and lower prefabricated walls are connected by flanged joints and fixed by high-strength bolts.
进一步地,预制墙体顶部的连接接头上,还预制有吊点,通过吊机固定吊点移动预制墙体放入地下,完成安装。Further, the connection joints at the top of the prefabricated wall are also prefabricated with hanging points, and the prefabricated wall is moved into the ground by fixing the hanging points by a crane to complete the installation.
具体地,所述现浇混凝土墙采用一字型钢筋笼骨架,将钢筋笼骨架吊装至地下预制墙两侧后,浇筑混凝土形成;所述钢筋笼骨架上设有设置有一组钢筋笼吊点。Specifically, the cast-in-place concrete wall adopts a straight-line steel cage skeleton, which is formed by pouring concrete after hoisting the steel cage skeleton to both sides of the underground prefabricated wall; a set of steel cage hanging points are provided on the steel cage skeleton.
优选地,所述钢筋笼吊点包括顶部留有吊孔的钢板,所述钢板与钢筋笼主筋焊接固定;钢板的两侧,通过一组栓钉固定有两个锚筋;所述锚筋为钩状,分别用于勾住钢筋笼骨架。Preferably, the steel cage hanging point includes a steel plate with a hanging hole at the top, and the steel plate is welded and fixed to the main reinforcement of the steel cage; two anchor bars are fixed on both sides of the steel plate by a set of studs; the anchor bars are Hook-shaped, respectively used to hook the steel cage frame.
有益效果:Beneficial effects:
本实用新型基于BIM技术现浇-预制地下连续墙施工工艺,结合现浇地下连续墙和预制地下连续墙两者优点的新型施工工艺。使用预制地下连续墙墙段,可以达到提高施工效率,减少工期,提高墙体质量的目的;在预制地下连续墙的预制生产中,可以准确预埋结构预埋件,提高施工精度;预制地下连续墙的两端设置凹口,现浇地下连续墙施工时可以充分利用所述凹口,在槽沟中吊放钢筋笼后,进行混凝土浇筑,可以避免混凝土绕流的发生。相比于紧邻放置预制地下连续墙的现浇接头的施工方式,现浇-预制地下连续墙的施工方法采用在两端相邻的预制地下连续墙的墙体接头之间进行现浇地下连续墙的施工,现浇地下连续墙的存在可以起到增大地连墙整体性、提高地连墙整体结构性能的作用,并且现浇钢筋混凝土在结构连接处的结构性能较好。使用BIM技术对现浇-预制地下连续墙结构进行高精度建模,具有高效可视化的功能,便于零基础工人快速理解地下连续墙结构,提供工作效率。The utility model is a new construction technology based on the cast-in-place-prefabricated underground continuous wall construction technology based on the BIM technology, and combines the advantages of the cast-in-place underground continuous wall and the prefabricated underground continuous wall. The use of prefabricated underground diaphragm wall sections can achieve the purpose of improving construction efficiency, reducing construction period, and improving wall quality; in the prefabrication of prefabricated underground diaphragm walls, structural embedded parts can be accurately embedded to improve construction accuracy; prefabricated underground continuous walls The two ends of the wall are provided with notches, and the notches can be fully utilized during the construction of the cast-in-place underground continuous wall. Compared with the construction method in which the cast-in-place joints of the prefabricated diaphragm walls are placed next to each other, the construction method of the cast-in-place-prefabricated diaphragm walls adopts the construction method of the cast-in-place diaphragm walls between the wall joints of the adjacent prefabricated diaphragm walls at both ends. The existence of the cast-in-situ underground continuous wall can increase the integrity of the ground connecting wall and improve the overall structural performance of the ground connecting wall, and the structural performance of the cast-in-place reinforced concrete at the structural connection is better. Using BIM technology to model the cast-in-place-prefabricated diaphragm wall structure with high precision, it has the function of efficient visualization, which is convenient for zero-based workers to quickly understand the diaphragm wall structure and improve work efficiency.
附图说明Description of drawings
下面结合附图和具体实施方式对本实用新型做更进一步的具体说明,本实用新型的上述和/或其他方面的优点将会变得更加清楚。The present utility model will be further described in detail below with reference to the accompanying drawings and specific embodiments, and the advantages of the above-mentioned and/or other aspects of the present utility model will become clearer.
图1是该预制-现浇地下连续墙的整体结构示意图。Figure 1 is a schematic diagram of the overall structure of the prefabricated-cast-in-situ underground diaphragm wall.
图2是预制墙和现浇混凝土墙的拼接结构图。Figure 2 is a splicing structure diagram of a prefabricated wall and a cast-in-place concrete wall.
图3是预制墙上下拼接的结构示意图。Figure 3 is a schematic structural diagram of the prefabricated wall splicing up and down.
图4是连接接头的配筋结构示意图。Figure 4 is a schematic diagram of the reinforcement structure of the connecting joint.
图5是连接接头的连接示意图。Figure 5 is a schematic diagram of the connection of the connection joint.
图6是钢筋笼吊点的结构示意图。Figure 6 is a schematic diagram of the structure of the steel cage hanging point.
其中,各附图标记分别代表:Wherein, each reference sign represents:
1预制墙;11连接接头;111架立筋;112分布筋;113纵向受力筋;12凹口;13 高强螺栓;14吊点;2现浇混凝土墙;21钢筋笼主筋;22钢板;23栓钉;24锚筋;3 钢支撑;4钢筋混凝土冠梁。1 prefabricated wall; 11 connecting joints; 111 stand bars; 112 distribution bars; 113 longitudinal reinforcement bars; 12 notches; 13 high-strength bolts; 14 lifting points; 2 cast-in-place concrete walls; studs; 24 anchor bars; 3 steel bracing; 4 reinforced concrete crown beams.
具体实施方式Detailed ways
根据下述实施例,可以更好地理解本实用新型。The present invention can be better understood according to the following examples.
说明书附图所绘示的结构、比例、大小等,均仅用以配合说明书所揭示的内容,以供熟悉此技术的人士了解与阅读,并非用以限定本实用新型可实施的限定条件,故不具技术上的实质意义,任何结构的修饰、比例关系的改变或大小的调整,在不影响本实用新型所能产生的功效及所能达成的目的下,均应仍落在本实用新型所揭示的技术内容所能涵盖的范围内。同时,本说明书中所引用的如“上”、“下”、“前”、“后”、“中间”等用语,亦仅为便于叙述的明了,而非用以限定本实用新型可实施的范围,其相对关系的改变或调整,在无实质变更技术内容下,当亦视为本实用新型可实施的范畴。The structures, proportions, sizes, etc. shown in the accompanying drawings in the description are only used to cooperate with the contents disclosed in the description for the understanding and reading of those who are familiar with the technology, and are not used to limit the conditions for the implementation of the present invention. Therefore, Without technical substantive significance, any modification of structure, change of proportional relationship or adjustment of size should still fall within the scope disclosed in the present utility model without affecting the effect that the utility model can produce and the purpose that can be achieved. within the scope of the technical content. At the same time, terms such as "upper", "lower", "front", "back", "middle", etc. quoted in this specification are only for the convenience of description and clarity, and are not used to limit the implementation of the present invention. The change or adjustment of the scope and its relative relationship shall also be regarded as the applicable scope of the present invention without substantially changing the technical content.
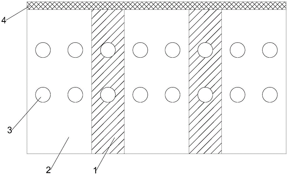
如图1所示,该基于BIM技术的预制-现浇地下连续墙结构,采用预制地下连续墙和现浇地下连续墙相间的新工艺进行施工,区段间预制地下连续墙共计4幅(区段两侧墙分别各包含2幅),预制地下连续墙深度21.2m,宽度2.4m,厚度0.76m,宽800mm。包括预制墙1和现浇混凝土墙2;所述预制墙1与现浇混凝土墙2依次间隔相互搭接形成连续墙。为保证所述实施例中墙体的稳定性及使承载能力满足要求,预制墙1和现浇混凝土墙2的墙面分别设有钢支撑3进行地下侧向加固。预制墙1和现浇混凝土墙2 顶部,采用连续的钢筋混凝土冠梁4封顶。As shown in Figure 1, the prefabricated-cast-in-situ diaphragm wall structure based on BIM technology adopts a new process of alternating between prefabricated diaphragm walls and cast-in-place diaphragm walls. The walls on both sides of the section respectively contain 2 pieces), the prefabricated underground diaphragm wall is 21.2m deep, 2.4m wide, 0.76m thick and 800mm wide. It includes a
如图2所示,预制墙1采用箱型结构,截面为双箱截面,两侧带有凹口12,通过两侧的凹口12与现浇混凝土墙2进行拼接。As shown in FIG. 2 , the
如图3所示,预制墙1由两节以上预制墙体上下拼接而成,上节长度12m,下节长度9.2m,宽度2.4m,厚度0.76m;每节墙体的上下端分别设置有连接接头11,通过连接接头11将上下两节墙体进行拼接固定。As shown in Figure 3, the
如图4所示,连接接头11包括架立筋111和分布筋112和纵向受力筋113;所述架立筋111围成一矩形箱体结构,分布筋112位于架立筋111的四角,用于形成两侧的凹口12,所述受力筋113沿纵向分布在架立筋111和分布筋112上。As shown in FIG. 4 , the connecting joint 11 includes erecting
如图5所示,上下两节预制墙体的连接接头11之间通过法兰式接头连接,并采用高强螺栓13进行固定。As shown in FIG. 5 , the connection joints 11 of the upper and lower prefabricated walls are connected by flanged joints and fixed by high-
如图3所示,预制墙体顶部的连接接头11上,还预制有吊点14,通过吊机固定吊点14移动预制墙体放入地下,完成安装。预制地下连续墙采用双机抬吊,空中回直。吊放顺序为:先吊放预制地下连续墙下节9.2m节段,再吊放预制地下连续墙上节12m 节段。下节地下连续墙下放入槽后,临时固定在槽沟地面上架设的临时固定支架上。然后根据上述吊装施工操作,进行上节12m墙段吊装。上节墙段与下节墙段对位准确后,安装高强螺栓,连接上下节接头。释放临时固定,将整幅预制地下连续墙下放入槽,然后进行定位固定。预制地下连续墙上、下分节以法兰式接头连接,采用高强螺栓,两侧共布置24个接头。As shown in FIG. 3 , the connecting joint 11 at the top of the prefabricated wall is also prefabricated with a
现浇混凝土墙2采用一字型钢筋笼骨架,长20.55m,宽6m。将钢筋笼骨架吊装至地下预制墙1两侧后,浇筑混凝土形成。钢筋笼横向设置两道吊点,纵向4道,主吊2 道、副吊2道。钢筋笼骨架上设有设置有一组钢筋笼吊点。The cast-in-place
如图6所示,钢筋笼吊点包括顶部留有吊孔的钢板22,所述钢板22与钢筋笼主筋21焊接固定;钢板22的两侧,通过一组栓钉24固定有两个锚筋24;所述锚筋24为钩状,分别用于勾住钢筋笼骨架。As shown in FIG. 6 , the lifting point of the steel cage includes a
钢筋笼吊装过程中,除了需要合理设置吊点外,尚需对钢筋笼进行针对性的加固,主要包括普通钢筋笼中的纵横向桁架筋、L型钢筋笼中的斜拉筋以及吊点位置处的加固。设置所述加固的主要目的是增加钢筋笼起吊时的刚度和强度,以最大程度地减少吊装过程中的变形。钢筋笼吊点位置也应进行相应加固处理,以防止起吊过程中由于受力方向变化产生局部应力集中而导致吊点位置脱焊。During the hoisting process of the reinforcement cage, in addition to the reasonable setting of the lifting points, the reinforcement cage still needs to be reinforced in a targeted manner, mainly including the vertical and horizontal truss bars in the ordinary reinforcement cage, the diagonal reinforcement in the L-shaped reinforcement cage and the location of the lifting point. reinforcement. The main purpose of arranging the reinforcement is to increase the rigidity and strength of the steel cage when it is hoisted, so as to minimize the deformation during the hoisting process. Corresponding reinforcement treatment should also be carried out on the position of the lifting point of the steel cage to prevent the lifting point from being de-welded due to the local stress concentration caused by the change of the force direction during the lifting process.
钢筋笼吊装完成后即开始现浇段混凝土浇筑。本例现浇地下连续墙采用的水泥混凝土为C35级。清槽完毕且泥浆经检查合格后,4h内开始灌注所述水泥混凝土。After the hoisting of the steel cage is completed, the concrete pouring of the cast-in-place section begins. The cement concrete used for the cast-in-place underground diaphragm wall in this example is C35 grade. After the tank cleaning is completed and the mud is checked and qualified, the cement concrete will be poured within 4 hours.
灌注所述水泥混凝土时,槽段内的回收泥浆全部抽回泥浆池,经沉淀和处理后,符合要求的继续使用,不符合要求的按规定弃掉。When pouring the cement concrete, all the recovered mud in the tank section is drawn back to the mud pool. After sedimentation and treatment, those that meet the requirements will continue to be used, and those that do not meet the requirements will be discarded according to regulations.
本实用新型提供了一种基于BIM技术的预制-现浇地下连续墙结构的思路及方法,具体实现该技术方案的方法和途径很多,以上所述仅是本实用新型的优选实施方式,应当指出,对于本技术领域的普通技术人员来说,在不脱离本实用新型原理的前提下,还可以做出若干改进和润饰,这些改进和润饰也应视为本实用新型的保护范围。本实施例中未明确的各组成部分均可用现有技术加以实现。The present utility model provides a thought and method for a prefabricated-cast-in-place underground diaphragm wall structure based on BIM technology. There are many specific methods and approaches for realizing the technical solution. The above are only the preferred embodiments of the present utility model. It should be pointed out that , for those skilled in the art, under the premise of not departing from the principle of the present utility model, several improvements and modifications can also be made, and these improvements and modifications should also be regarded as the protection scope of the present utility model. All components not specified in this embodiment can be implemented by existing technologies.
Claims (8)
Priority Applications (1)
| Application Number | Priority Date | Filing Date | Title |
|---|---|---|---|
| CN202123255434.0U CN216712992U (en) | 2021-12-22 | 2021-12-22 | Prefabricated-cast-in-place underground continuous wall structure based on BIM technology |
Applications Claiming Priority (1)
| Application Number | Priority Date | Filing Date | Title |
|---|---|---|---|
| CN202123255434.0U CN216712992U (en) | 2021-12-22 | 2021-12-22 | Prefabricated-cast-in-place underground continuous wall structure based on BIM technology |
Publications (1)
| Publication Number | Publication Date |
|---|---|
| CN216712992U true CN216712992U (en) | 2022-06-10 |
Family
ID=81885266
Family Applications (1)
| Application Number | Title | Priority Date | Filing Date |
|---|---|---|---|
| CN202123255434.0U Active CN216712992U (en) | 2021-12-22 | 2021-12-22 | Prefabricated-cast-in-place underground continuous wall structure based on BIM technology |
Country Status (1)
| Country | Link |
|---|---|
| CN (1) | CN216712992U (en) |
Cited By (2)
| Publication number | Priority date | Publication date | Assignee | Title |
|---|---|---|---|---|
| CN115492085A (en) * | 2022-06-20 | 2022-12-20 | 中国建设基础设施有限公司 | Unilateral superposed underground continuous wall structure capable of being used as main structure and construction method |
| CN116290057A (en) * | 2023-02-27 | 2023-06-23 | 国网湖北省电力有限公司经济技术研究院 | A kind of raft, beam-slab raft and beam-slab raft assembly foundation |
-
2021
- 2021-12-22 CN CN202123255434.0U patent/CN216712992U/en active Active
Cited By (3)
| Publication number | Priority date | Publication date | Assignee | Title |
|---|---|---|---|---|
| CN115492085A (en) * | 2022-06-20 | 2022-12-20 | 中国建设基础设施有限公司 | Unilateral superposed underground continuous wall structure capable of being used as main structure and construction method |
| CN115492085B (en) * | 2022-06-20 | 2025-10-17 | 中国建设基础设施有限公司 | Single-side overlapped underground diaphragm wall structure capable of being used as main body structure and construction method |
| CN116290057A (en) * | 2023-02-27 | 2023-06-23 | 国网湖北省电力有限公司经济技术研究院 | A kind of raft, beam-slab raft and beam-slab raft assembly foundation |
Similar Documents
| Publication | Publication Date | Title |
|---|---|---|
| CN111945891B (en) | Ring truss high-altitude in-situ splicing construction method | |
| CN104929648B (en) | A kind of tunnel branch base tunnel construction method | |
| CN109457599B (en) | Splicing structure and construction method of hollow pier and cap | |
| CN102635118B (en) | Square steel pipe concrete supporting structure for foundation pit support | |
| CN106907161A (en) | A kind of novel tunnel inclined shaft chooses item special project construction method | |
| CN110700105A (en) | Synchronous construction method for high pier column and tie beam and template used in same | |
| CN107905251A (en) | A kind of module prestressing force Retaining Wall and its assembly method | |
| CN110847062A (en) | Construction method for whole-hole assembly double-width erection in 80-meter-span wide steel box girder factory | |
| CN101694110A (en) | Connecting structure of beam column nodes and construction method thereof | |
| CN216712992U (en) | Prefabricated-cast-in-place underground continuous wall structure based on BIM technology | |
| CN202000251U (en) | Cylindrical hollow prefabricated prestressed concrete pier structure | |
| CN114790757A (en) | Cover-excavation top-down construction V-shaped column structure and construction method thereof | |
| CN206902913U (en) | A kind of high-altitude long-span overhung structure | |
| CN209114299U (en) | A single box multi-chamber box girder bridge | |
| CN217104669U (en) | Combined transfer platform of temporary construction trestle | |
| CN114263275B (en) | Construction method for same-layer construction of high-rise assembled steel structure-core tube | |
| CN113622921B (en) | Ultra-deep shaft top plate and manufacturing method thereof | |
| CN107268417A (en) | A kind of highway steel reinforced concrete combined beam structure based on assembling | |
| CN103924981B (en) | Single-arch large span shallow-depth-excavation tunnel reinforcement system and construction method thereof | |
| CN213204915U (en) | Overweight overhanging suspended component supporting system of super high-rise residential conversion layer | |
| CN114809769A (en) | Method for improving construction speed of masonry structure infilled wall | |
| CN111593874B (en) | Support system and construction method for super-high-rise residential transfer layer super-heavy cantilevered components | |
| CN212656260U (en) | Assembled rail top air duct structure of underground station | |
| CN211333866U (en) | High-speed railway beam-making pedestal suitable for unfavorable geology | |
| CN209779640U (en) | foundation pit supporting pile top crown beam construction structure |
Legal Events
| Date | Code | Title | Description |
|---|---|---|---|
| GR01 | Patent grant | ||
| GR01 | Patent grant |
