CN216708806U - 一种计算机生产线用喷码装置 - Google Patents
一种计算机生产线用喷码装置 Download PDFInfo
- Publication number
- CN216708806U CN216708806U CN202220032468.9U CN202220032468U CN216708806U CN 216708806 U CN216708806 U CN 216708806U CN 202220032468 U CN202220032468 U CN 202220032468U CN 216708806 U CN216708806 U CN 216708806U
- Authority
- CN
- China
- Prior art keywords
- frame
- code spraying
- servo motor
- support frame
- connection
- Prior art date
- Legal status (The legal status is an assumption and is not a legal conclusion. Google has not performed a legal analysis and makes no representation as to the accuracy of the status listed.)
- Expired - Fee Related
Links
- 238000005507 spraying Methods 0.000 title claims abstract description 36
- 238000004519 manufacturing process Methods 0.000 title claims abstract description 20
- 230000007246 mechanism Effects 0.000 claims abstract description 61
- 230000000903 blocking effect Effects 0.000 claims abstract description 17
- 230000003287 optical effect Effects 0.000 claims description 19
- 239000007921 spray Substances 0.000 claims description 9
- 230000008878 coupling Effects 0.000 claims description 7
- 238000010168 coupling process Methods 0.000 claims description 7
- 238000005859 coupling reaction Methods 0.000 claims description 7
- 230000007723 transport mechanism Effects 0.000 claims description 4
- 238000003466 welding Methods 0.000 claims description 4
- 238000007711 solidification Methods 0.000 abstract description 6
- 230000008023 solidification Effects 0.000 abstract description 6
- 238000000034 method Methods 0.000 description 2
- 230000008569 process Effects 0.000 description 2
- 230000009286 beneficial effect Effects 0.000 description 1
- 238000010586 diagram Methods 0.000 description 1
- 238000007641 inkjet printing Methods 0.000 description 1
- 230000006386 memory function Effects 0.000 description 1
- 230000009467 reduction Effects 0.000 description 1
Images
Landscapes
- Coating Apparatus (AREA)
- Application Of Or Painting With Fluid Materials (AREA)
Abstract
本实用新型属于计算机生产领域,具体为一种计算机生产线用喷码装置,包括底部支撑架、操作台、传送机构,还包括喷码机构、阻挡机构、固化机构,所述操作台下方设置有所述底部支撑架,所述操作台上方设置有所述传送机构,所述传送机构上方设置有所述喷码机构,所述喷码机构一侧设置有所述阻挡机构,所述阻挡机构一侧设置有所述固化机构;所述操作台上方设置有所述支撑架,通过第一伺服电机带动第一丝杆旋转,使底座移动,利用第一气缸带动连接架和喷头移动,通过第二伺服电机带动第二丝杆旋转,使移动架移动,利用第二气缸带动挡板移动,利用紫外固化灯进行喷码后的字体固化,加速字体固化速度,提高效率,防止未固化字体被人工触摸后模糊。
Description
技术领域
本实用新型属于计算机生产领域,具体是涉及一种计算机生产线用喷码装置。
背景技术
计算机俗称电脑,是现代一种用于高速计算的电子计算机器,可以进行数值计算,又可以进行逻辑计算,还具有存储记忆功能,是能够按照程序运行,自动、高速处理海量数据的现代化智能电子设备,计算机的应用在中国越来越普遍,改革开放以后,中国计算机用户的数量不断攀升,应用水平不断提高,特别是互联网、通信、多媒体等领域的应用取得了不错的成,计算机生产时需要对计算机表面进行喷码,现有的喷码设备,在加工完成后工件是无法直接拿取的,需要将工件上方的字体干燥后才能抓取,影响生产进度和加工效率。
实用新型内容
本实用新型的目的就在于提供一种计算机生产线用喷码装置。
本实用新型所采用的技术方案如下:
一种计算机生产线用喷码装置,包括底部支撑架、操作台、传送机构,还包括喷码机构、阻挡机构、固化机构,所述操作台下方设置有所述底部支撑架,所述操作台上方设置有所述传送机构,所述传送机构上方设置有所述喷码机构,所述喷码机构一侧设置有所述阻挡机构,所述阻挡机构一侧设置有所述固化机构;所述喷码机构包括支撑架、导轨、第一丝杆、第一伺服电机、底座、第一气缸、连接架、喷头,所述操作台上方设置有所述支撑架,所述支撑架上方设置有所述导轨,所述支撑架一侧设置有所述第一丝杆,所述第一丝杆前部设置有所述第一伺服电机,所述导轨和所述第一丝杆外部设置有所述底座,所述底座下方设置有所述第一气缸,所述第一气缸下方设置有所述连接架,所述连接架内部设置有所述喷头;所述阻挡机构包括连接座、光轴、第二丝杆、第二伺服电机、移动架、第二气缸、挡板,所述支撑架一侧设置有两个所述连接座,所述连接座之间设置有所述光轴,所述光轴后部设置有所述第二丝杆,所述第二丝杆一侧设置有所述第二伺服电机,所述光轴和所述第二丝杆外部设置有所述移动架,所述移动架上方设置有所述第二气缸,所述第二气缸后部设置有所述挡板;所述固化机构包括侧板、顶盖、紫外固化灯,所述连接座一侧并位于所述传送机构前部和后部设置有所述侧板,所述侧板上方设置有所述顶盖,所述顶盖下方设置有多个所述紫外固化灯。
优选地:所述传送机构包括支撑座、驱动辊轴、传送带、减速电机,所述操作台上方并位于所述支撑架下方设置有多个所述驱动辊轴,所述驱动辊轴两端设置有所述支撑座,所述驱动辊轴外部设置有所述传送带,其中一个所述驱动辊轴外部设置有所述减速电机。
如此设置,所述减速电机带动所述驱动辊轴旋转,使所述传送带移动。
优选地:所述支撑座和所述底部支撑架均与所述操作台焊接连接,所述驱动辊轴与所述支撑座轴承连接,所述传送带与所述驱动辊轴滑动连接,所述减速电机外壳与所述支撑座螺栓连接,所述减速电机输出轴与所述驱动辊轴联轴器连接。
如此设置,所述减速电机带动所述驱动辊轴旋转,使所述传送带移动。
优选地:所述支撑架与所述操作台焊接连接,所述导轨与所述支撑架螺栓连接,所述第一丝杆与所述支撑架轴承连接,所述第一伺服电机外壳与所述支撑架螺栓连接,所述第一伺服电机输出轴与所述第一丝杆联轴器连接,所述底座与所述导轨滑动连接,所述底座与所述第一丝杆螺纹连接,所述第一气缸外壳与所述底座螺栓连接,所述连接架与所述第一气缸输出轴螺栓连接,所述喷头与所述连接架螺栓连接。
如此设置,所述第一伺服电机带动所述第一丝杆旋转,使所述底座移动,所述第一气缸带动所述连接架和所述喷头移动。
优选地:所述连接座分别与所述操作台和所述光轴焊接连接,所述第二丝杆与所述连接座轴承连接,所述第二伺服电机外壳与所述连接座螺栓连接,所述第二伺服电机输出轴与所述第二丝杆联轴器连接,所述移动架与所述光轴滑动连接,所述移动架与所述第二丝杆螺纹连接,所述第二气缸外壳与所述移动架螺栓连接,所述挡板与所述第二气缸输出轴焊接连接。
如此设置,所述第二伺服电机带动所述第二丝杆旋转,使所述移动架移动,所述第二气缸带动所述挡板移动。
优选地:所述侧板与所述操作台焊接连接,所述顶盖与所述侧板螺栓连接,所述紫外固化灯与所述顶盖螺钉连接。
如此设置,所述紫外固化灯进行喷码后的字体固化。
本实用新型的有益效果为:通过第一伺服电机带动第一丝杆旋转,使底座移动,利用第一气缸带动连接架和喷头移动,通过第二伺服电机带动第二丝杆旋转,使移动架移动,利用第二气缸带动挡板移动,利用紫外固化灯进行喷码后的字体固化,加速字体固化速度,提高效率,防止未固化字体被人工触摸后模糊。
附图说明
附图是用来提供对本实用新型的进一步理解,并且构成说明书的一部分,与下面的具体实施方式一起用于解释本实用新型,但并不构成对本实用新型的限制。在附图中:
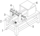
图1是本实用新型所述一种计算机生产线用喷码装置的结构示意图;
图2是本实用新型所述一种计算机生产线用喷码装置的第一视角立体示意图;
图3是本实用新型所述一种计算机生产线用喷码装置的第二视角立体示意图;
图4是本实用新型所述一种计算机生产线用喷码装置的喷码机构立体示意图;
图5是本实用新型所述一种计算机生产线用喷码装置的阻挡机构立体示意图。
附图标记说明如下:
1、底部支撑架;2、操作台;3、传送机构;4、喷码机构;5、阻挡机构;6、固化机构;31、支撑座;32、驱动辊轴;33、传送带;34、减速电机;41、支撑架;42、导轨;43、第一丝杆;44、第一伺服电机;45、底座;46、第一气缸;47、连接架;48、喷头;51、连接座;52、光轴;53、第二丝杆;54、第二伺服电机;55、移动架;56、第二气缸;57、挡板;61、侧板;62、顶盖;63、紫外固化灯。
具体实施方式
在本实用新型的描述中,需要理解的是,术语“中心”、“纵向”、“横向”、“上”、“下”、“前”、“后”、“左”、“右”、“竖直”、“水平”、“顶”、“底”、“内”、“外”等指示的方位或位置关系为基于附图所示的方位或位置关系,仅是为了便于描述本实用新型和简化描述,而不是指示或暗示所指的装置或元件必须具有特定的方位、以特定的方位构造和操作,因此不能理解为对本实用新型的限制。
下面通过实施例结合附图进一步说明本实用新型。
实施例
如图1-图5所示,一种计算机生产线用喷码装置,包括底部支撑架1、操作台2、传送机构3,还包括喷码机构4、阻挡机构5、固化机构6,操作台2下方设置有底部支撑架1,操作台2上方设置有传送机构3,传送机构3上方设置有喷码机构4,喷码机构4一侧设置有阻挡机构5,阻挡机构5一侧设置有固化机构6;喷码机构4包括支撑架41、导轨42、第一丝杆43、第一伺服电机44、底座45、第一气缸46、连接架47、喷头48,操作台2上方设置有支撑架41,支撑架41上方设置有导轨42,支撑架41一侧设置有第一丝杆43,第一丝杆43前部设置有第一伺服电机44,导轨42和第一丝杆43外部设置有底座45,底座45下方设置有第一气缸46,第一气缸46下方设置有连接架47,连接架47内部设置有喷头48;阻挡机构5包括连接座51、光轴52、第二丝杆53、第二伺服电机54、移动架55、第二气缸56、挡板57,支撑架41一侧设置有两个连接座51,连接座51之间设置有光轴52,光轴52后部设置有第二丝杆53,第二丝杆53一侧设置有第二伺服电机54,光轴52和第二丝杆53外部设置有移动架55,移动架55上方设置有第二气缸56,第二气缸56后部设置有挡板57;固化机构6包括侧板61、顶盖62、紫外固化灯63,连接座51一侧并位于传送机构3前部和后部设置有侧板61,侧板61上方设置有顶盖62,顶盖62下方设置有多个紫外固化灯63。
优选地:传送机构3包括支撑座31、驱动辊轴32、传送带33、减速电机34,操作台2上方并位于支撑架41下方设置有多个驱动辊轴32,驱动辊轴32两端设置有支撑座31,驱动辊轴32外部设置有传送带33,其中一个驱动辊轴32外部设置有减速电机34;支撑座31和底部支撑架1均与操作台2焊接连接,驱动辊轴32与支撑座31轴承连接,传送带33与驱动辊轴32滑动连接,减速电机34外壳与支撑座31螺栓连接,减速电机34输出轴与驱动辊轴32联轴器连接;支撑架41与操作台2焊接连接,导轨42与支撑架41螺栓连接,第一丝杆43与支撑架41轴承连接,第一伺服电机44外壳与支撑架41螺栓连接,第一伺服电机44输出轴与第一丝杆43联轴器连接,底座45与导轨42滑动连接,底座45与第一丝杆43螺纹连接,第一气缸46外壳与底座45螺栓连接,连接架47与第一气缸46输出轴螺栓连接,喷头48与连接架47螺栓连接;连接座51分别与操作台2和光轴52焊接连接,第二丝杆53与连接座51轴承连接,第二伺服电机54外壳与连接座51螺栓连接,第二伺服电机54输出轴与第二丝杆53联轴器连接,移动架55与光轴52滑动连接,移动架55与第二丝杆53螺纹连接,第二气缸56外壳与移动架55螺栓连接,挡板57与第二气缸56输出轴焊接连接;侧板61与操作台2焊接连接,顶盖62与侧板61螺栓连接,紫外固化灯63与顶盖62螺钉连接。
工作原理:使用时将需要喷码的零件放置在传送带33上,启动减速电机34带动零件移动,当零件移动至喷头48下方时,启动第二气缸56带动挡板57移动,将零件阻挡住,此时启动第一伺服电机44带动第一丝杆43旋转,启动第一气缸46带动喷头48移动,进行喷涂,喷涂过程中可配合第二伺服电机54带动第二丝杆53旋转,使零件短距离移动,进行喷码,结束后收回喷头48,收回挡板57,使零件继续移动,当零件移动至紫外固化灯63下方时,进行喷涂字体固化即可。
以上结合附图对本实用新型的优选实施方式做了详细说明,但本实用新型并不限于上述实施方式,在所属技术领域技术人员所具备的知识范围内,还可以在不脱离本实用新型宗旨的前提下作出各种变化。
Claims (6)
1.一种计算机生产线用喷码装置,包括底部支撑架(1)、操作台(2)、传送机构(3),其特征在于:还包括喷码机构(4)、阻挡机构(5)、固化机构(6),所述操作台(2)下方设置有所述底部支撑架(1),所述操作台(2)上方设置有所述传送机构(3),所述传送机构(3)上方设置有所述喷码机构(4),所述喷码机构(4)一侧设置有所述阻挡机构(5),所述阻挡机构(5)一侧设置有所述固化机构(6);所述喷码机构(4)包括支撑架(41)、导轨(42)、第一丝杆(43)、第一伺服电机(44)、底座(45)、第一气缸(46)、连接架(47)、喷头(48),所述操作台(2)上方设置有所述支撑架(41),所述支撑架(41)上方设置有所述导轨(42),所述支撑架(41)一侧设置有所述第一丝杆(43),所述第一丝杆(43)前部设置有所述第一伺服电机(44),所述导轨(42)和所述第一丝杆(43)外部设置有所述底座(45),所述底座(45)下方设置有所述第一气缸(46),所述第一气缸(46)下方设置有所述连接架(47),所述连接架(47)内部设置有所述喷头(48);所述阻挡机构(5)包括连接座(51)、光轴(52)、第二丝杆(53)、第二伺服电机(54)、移动架(55)、第二气缸(56)、挡板(57),所述支撑架(41)一侧设置有两个所述连接座(51),所述连接座(51)之间设置有所述光轴(52),所述光轴(52)后部设置有所述第二丝杆(53),所述第二丝杆(53)一侧设置有所述第二伺服电机(54),所述光轴(52)和所述第二丝杆(53)外部设置有所述移动架(55),所述移动架(55)上方设置有所述第二气缸(56),所述第二气缸(56)后部设置有所述挡板(57);所述固化机构(6)包括侧板(61)、顶盖(62)、紫外固化灯(63),所述连接座(51)一侧并位于所述传送机构(3)前部和后部设置有所述侧板(61),所述侧板(61)上方设置有所述顶盖(62),所述顶盖(62)下方设置有多个所述紫外固化灯(63)。
2.根据权利要求1所述的一种计算机生产线用喷码装置,其特征在于:所述传送机构(3)包括支撑座(31)、驱动辊轴(32)、传送带(33)、减速电机(34),所述操作台(2)上方并位于所述支撑架(41)下方设置有多个所述驱动辊轴(32),所述驱动辊轴(32)两端设置有所述支撑座(31),所述驱动辊轴(32)外部设置有所述传送带(33),其中一个所述驱动辊轴(32)外部设置有所述减速电机(34)。
3.根据权利要求2所述的一种计算机生产线用喷码装置,其特征在于:所述支撑座(31)和所述底部支撑架(1)均与所述操作台(2)焊接连接,所述驱动辊轴(32)与所述支撑座(31)轴承连接,所述传送带(33)与所述驱动辊轴(32)滑动连接,所述减速电机(34)外壳与所述支撑座(31)螺栓连接,所述减速电机(34)输出轴与所述驱动辊轴(32)联轴器连接。
4.根据权利要求1所述的一种计算机生产线用喷码装置,其特征在于:所述支撑架(41)与所述操作台(2)焊接连接,所述导轨(42)与所述支撑架(41)螺栓连接,所述第一丝杆(43)与所述支撑架(41)轴承连接,所述第一伺服电机(44)外壳与所述支撑架(41)螺栓连接,所述第一伺服电机(44)输出轴与所述第一丝杆(43)联轴器连接,所述底座(45)与所述导轨(42)滑动连接,所述底座(45)与所述第一丝杆(43)螺纹连接,所述第一气缸(46)外壳与所述底座(45)螺栓连接,所述连接架(47)与所述第一气缸(46)输出轴螺栓连接,所述喷头(48)与所述连接架(47)螺栓连接。
5.根据权利要求1所述的一种计算机生产线用喷码装置,其特征在于:所述连接座(51)分别与所述操作台(2)和所述光轴(52)焊接连接,所述第二丝杆(53)与所述连接座(51)轴承连接,所述第二伺服电机(54)外壳与所述连接座(51)螺栓连接,所述第二伺服电机(54)输出轴与所述第二丝杆(53)联轴器连接,所述移动架(55)与所述光轴(52)滑动连接,所述移动架(55)与所述第二丝杆(53)螺纹连接,所述第二气缸(56)外壳与所述移动架(55)螺栓连接,所述挡板(57)与所述第二气缸(56)输出轴焊接连接。
6.根据权利要求1所述的一种计算机生产线用喷码装置,其特征在于:所述侧板(61)与所述操作台(2)焊接连接,所述顶盖(62)与所述侧板(61)螺栓连接,所述紫外固化灯(63)与所述顶盖(62)螺钉连接。
Priority Applications (1)
| Application Number | Priority Date | Filing Date | Title |
|---|---|---|---|
| CN202220032468.9U CN216708806U (zh) | 2022-01-07 | 2022-01-07 | 一种计算机生产线用喷码装置 |
Applications Claiming Priority (1)
| Application Number | Priority Date | Filing Date | Title |
|---|---|---|---|
| CN202220032468.9U CN216708806U (zh) | 2022-01-07 | 2022-01-07 | 一种计算机生产线用喷码装置 |
Publications (1)
| Publication Number | Publication Date |
|---|---|
| CN216708806U true CN216708806U (zh) | 2022-06-10 |
Family
ID=81890314
Family Applications (1)
| Application Number | Title | Priority Date | Filing Date |
|---|---|---|---|
| CN202220032468.9U Expired - Fee Related CN216708806U (zh) | 2022-01-07 | 2022-01-07 | 一种计算机生产线用喷码装置 |
Country Status (1)
| Country | Link |
|---|---|
| CN (1) | CN216708806U (zh) |
Cited By (1)
| Publication number | Priority date | Publication date | Assignee | Title |
|---|---|---|---|---|
| CN117584633A (zh) * | 2023-10-23 | 2024-02-23 | 广东阿诺捷喷墨科技有限公司 | 一种物料侧面喷印设备 |
-
2022
- 2022-01-07 CN CN202220032468.9U patent/CN216708806U/zh not_active Expired - Fee Related
Cited By (1)
| Publication number | Priority date | Publication date | Assignee | Title |
|---|---|---|---|---|
| CN117584633A (zh) * | 2023-10-23 | 2024-02-23 | 广东阿诺捷喷墨科技有限公司 | 一种物料侧面喷印设备 |
Similar Documents
| Publication | Publication Date | Title |
|---|---|---|
| CN209920769U (zh) | 光纤喷码一体机 | |
| CN203862718U (zh) | 冲槽缩口一体机 | |
| CN111015225B (zh) | 一种自动化锯切、端铣设备 | |
| CN216708806U (zh) | 一种计算机生产线用喷码装置 | |
| CN207629209U (zh) | 一种十字轴端面全自动研磨机床 | |
| CN114425907B (zh) | 一种丝印机 | |
| CN219057688U (zh) | 一种pcb线路板翻转装置 | |
| CN211029141U (zh) | 一种圆铝棒自动装框机 | |
| CN111483755A (zh) | 一种模块化逆变器装置加工通用输送设备 | |
| CN215033299U (zh) | 一种摆碾机 | |
| CN108582974B (zh) | 正面平行式印刷台板移动计数定位机构 | |
| CN109433474B (zh) | 用于喷涂板材的装置 | |
| CN220810821U (zh) | 一种缓存机 | |
| CN218464615U (zh) | 一种物料旋转装置 | |
| CN111747087A (zh) | 一种汽车门锁随行板的回转装置 | |
| CN215620812U (zh) | 一种带烘干功能的数码印花设备 | |
| CN110052888A (zh) | 一种新型排屑机及组装方式 | |
| CN206155861U (zh) | 塑料瓶纸托包装机 | |
| CN211870642U (zh) | 一种试管输送装置 | |
| CN214324140U (zh) | 一种高稳定自动吹瓶机 | |
| CN222118057U (zh) | 一种电路板焊接机用自动送料机构 | |
| CN209683037U (zh) | 一种印刷纸箱生产用限位装置 | |
| CN222790912U (zh) | 一种管材切割下料装置 | |
| CN219856484U (zh) | 一种自动化程度高的洗发水瓶喷码设备 | |
| CN222742362U (zh) | 一种卫星式柔板印刷机 |
Legal Events
| Date | Code | Title | Description |
|---|---|---|---|
| GR01 | Patent grant | ||
| GR01 | Patent grant | ||
| CF01 | Termination of patent right due to non-payment of annual fee |
Granted publication date: 20220610 |
|
| CF01 | Termination of patent right due to non-payment of annual fee |