CN216705330U - Switch board dust collector - Google Patents
Switch board dust collector Download PDFInfo
- Publication number
- CN216705330U CN216705330U CN202220106153.4U CN202220106153U CN216705330U CN 216705330 U CN216705330 U CN 216705330U CN 202220106153 U CN202220106153 U CN 202220106153U CN 216705330 U CN216705330 U CN 216705330U
- Authority
- CN
- China
- Prior art keywords
- dust
- butt joint
- power distribution
- distribution cabinet
- pipe
- Prior art date
- Legal status (The legal status is an assumption and is not a legal conclusion. Google has not performed a legal analysis and makes no representation as to the accuracy of the status listed.)
- Expired - Fee Related
Links
Images
Landscapes
- Filtering Of Dispersed Particles In Gases (AREA)
Abstract
本实用新型公开了一种配电柜除尘装置,包括机座、吸尘箱和滤袋,所述机座的上方设置有吸尘箱,且吸尘箱的一端连接有电机,并且电机伸入吸尘箱的输出端上连接有扇叶,所述吸尘箱的底端连接有对接管,且吸尘箱远离电机的一端对接有吸尘管;所述对接管的外侧设置有插套,且插套的内侧开设有连接孔。该配电柜除尘装置,将吸尘管呈S形布置在机座的侧面,使得吸尘管与“C”字型的卡座进行限位卡接,避免该除尘装置在移动运输时造成吸尘管散乱,将机座在车架上进行稳定的高度调节,方便该除尘装置对于不同高度处的灰尘进行清除,将对接罩从对接管的下方抽出,再旋转对接罩和滤袋脱离螺纹连接,方便该配电柜除尘装置将收集的灰尘杂物快速倒出清理。
The utility model discloses a dust removal device for a power distribution cabinet, which comprises a machine base, a dust suction box and a filter bag. A dust suction box is arranged above the machine base, and one end of the dust suction box is connected with a motor, and the motor extends into A fan blade is connected to the output end of the vacuum box, the bottom end of the vacuum box is connected with a butt pipe, and the end of the vacuum box away from the motor is docked with a vacuum pipe; the outer side of the butt pipe is provided with a plug sleeve, The inner side of the insert sleeve is provided with a connecting hole. In the dust removal device of the power distribution cabinet, the dust suction pipe is arranged in an S shape on the side of the machine base, so that the dust suction pipe and the "C"-shaped card seat are limited and clamped, so as to avoid the dust removal device from causing suction when moving and transporting. The dust pipe is scattered, and the height of the machine base is stably adjusted on the frame, which is convenient for the dust removal device to remove dust at different heights. Pull out the docking cover from the bottom of the docking pipe, and then rotate the docking cover and filter bag to disengage the threaded connection. , which is convenient for the dust removal device of the power distribution cabinet to quickly pour out the collected dust and sundries for cleaning.
Description
技术领域technical field
本实用新型涉及配电柜除尘技术领域,具体为一种配电柜除尘装置。The utility model relates to the technical field of dust removal for power distribution cabinets, in particular to a dust removal device for power distribution cabinets.
背景技术Background technique
配电柜用于对动力设备或照明设备进行供电,配电柜安装的场所较多,并且配电柜使用时内部容易粘附灰尘。为了保证配电柜设备始终处于良好的工作状态,在使用配电柜时需要定期进行清洁和维护保养工作。同时配电柜的内壁和元器件在清理灰尘时较为麻烦。为此需要相应的除尘设备对指定位置进行吸尘处理,然而现在的配电柜除尘装置还存在着一些缺陷,就比如:The power distribution cabinet is used to supply power to power equipment or lighting equipment. There are many places where the power distribution cabinet is installed, and the interior of the power distribution cabinet is easy to adhere to dust when it is used. In order to ensure that the power distribution cabinet equipment is always in good working condition, it is necessary to regularly clean and maintain the power distribution cabinet when using it. At the same time, the inner wall and components of the power distribution cabinet are more troublesome when cleaning dust. For this reason, corresponding dust removal equipment is required to vacuumize the designated location. However, the current power distribution cabinet dust removal device still has some defects, such as:
根据专利号:CN201922320340.3一种配电柜除尘装置,通过微型电机、毛刷、漏斗形吸尘管和手握杆的配合设置,毛刷转动能有效地清理吸附在电器元件和电器元件间的狭小缝隙以及配电柜内壁上的灰尘,手握杆可以让工作人员和配电柜保持一定距离,避免吸入过多灰尘,危害身体健康,漏斗形吸尘管能加大吸尘面积且把毛刷转动清理下来的灰尘吸走,从而使清灰和吸尘同时进行,提高了工作效率;According to patent number: CN201922320340.3, a dust removal device for power distribution cabinets, through the cooperation of micro motors, brushes, funnel-shaped dust collectors and hand-held rods, the rotation of the brushes can effectively clean up and adsorb between electrical components and electrical components. The narrow gap and the dust on the inner wall of the power distribution cabinet, holding the rod can keep the staff and the power distribution cabinet at a certain distance to avoid inhaling too much dust and endangering health. The funnel-shaped vacuum tube can increase the vacuuming area and keep the The dust cleaned by the rotation of the brush is sucked away, so that the cleaning and vacuuming are carried out at the same time, which improves the work efficiency;
该技术方案还存在以下问题:The technical solution also has the following problems:
1、配电柜除尘装置不便于对收集的灰尘杂物进行快速倒出清理;1. The dust removal device of the power distribution cabinet is inconvenient to quickly pour out and clean the collected dust and sundries;
2、配电柜除尘装置难以对于不同高度处的灰尘进行清除;2. The dust removal device of the power distribution cabinet is difficult to remove the dust at different heights;
3、配电柜除尘装置在移动运输时容易造成吸尘管散乱;3. The dust removal device of the power distribution cabinet is easy to cause the dust collection pipe to be scattered when it is moved and transported;
因此要对上述问题进行改进。Therefore, the above problems should be improved.
实用新型内容Utility model content
本实用新型的目的在于提供一种配电柜除尘装置,以解决上述背景技术提出的配电柜除尘装置不便于对收集的灰尘杂物进行快速倒出清理,配电柜除尘装置难以对于不同高度处的灰尘进行清除和配电柜除尘装置在移动运输时容易造成吸尘管散乱的问题。The purpose of the present utility model is to provide a power distribution cabinet dust removal device, so as to solve the problem that the power distribution cabinet dust removal device proposed in the above-mentioned background technology is inconvenient to quickly pour out and clean the collected dust and sundries, and the power distribution cabinet dust removal device is difficult for different heights. The dust removal at the place and the dust removal device of the power distribution cabinet are easy to cause the problem of scattered vacuum pipes when moving and transporting.
为实现上述目的,本实用新型提供如下技术方案:一种配电柜除尘装置,包括机座、吸尘箱和滤袋,所述机座的上方设置有吸尘箱,且吸尘箱的一端连接有电机,并且电机伸入吸尘箱的输出端上连接有扇叶,所述吸尘箱的底端连接有对接管,且吸尘箱远离电机的一端对接有吸尘管;In order to achieve the above purpose, the present utility model provides the following technical solutions: a dust removal device for a power distribution cabinet, comprising a base, a vacuum box and a filter bag, a vacuum box is arranged above the base, and one end of the vacuum box is provided. A motor is connected, and a fan blade is connected to the output end of the motor extending into the vacuum box, the bottom end of the vacuum box is connected with a butt pipe, and the end of the vacuum box away from the motor is docked with a vacuum pipe;
所述对接管的外侧设置有插套,且插套的内侧开设有连接孔,并且连接孔的内侧连接有弹簧,而且弹簧的中部贯穿连接有限位销,所述对接管和插套之间插接有对接罩,且对接罩上端的外壁开设有卡槽,并且对接罩的底端连接有滤袋。The outer side of the butt tube is provided with a plug sleeve, and the inner side of the plug sleeve is provided with a connecting hole, and the inner side of the connection hole is connected with a spring, and the middle part of the spring is connected with a limit pin, and a plug is inserted between the butt pipe and the plug sleeve. The docking cover is connected, and the outer wall of the upper end of the docking cover is provided with a clamping slot, and the bottom end of the docking cover is connected with a filter bag.
优选的,所述对接管外壁到插套内壁之间的垂直距离和对接罩的厚度相匹配,且对接管和对接罩的顶端为套接连接,通过将滤袋上的对接罩与对接管插接,当电机通电并带动扇叶旋转时,方便灰尘沿着对接管导入滤袋中进行收集。Preferably, the vertical distance between the outer wall of the butt tube and the inner wall of the socket is matched with the thickness of the butt cover, and the top of the butt tube and the butt cover are connected by sockets. When the motor is powered on and drives the fan blades to rotate, it is convenient for dust to be guided into the filter bag along the butt tube for collection.
优选的,所述限位销的形状呈“T”字型,且限位销关于插套的轴心线呈等夹角分布,并且限位销通过弹簧和连接孔构成伸缩结构,所述对接罩外侧的卡槽呈环形设置,且卡槽与限位销的一端进行对接,所述对接罩的底端外壁与滤袋的顶端内壁均设置有螺纹,且对接罩与滤袋呈螺纹连接,将对接罩从对接管的下方抽出,再旋转对接罩和滤袋脱离螺纹连接,方便将滤袋中的灰尘杂物进行倒出清理。Preferably, the shape of the limit pin is a "T" shape, and the limit pins are distributed at an equal angle with respect to the axis line of the insert sleeve, and the limit pin forms a telescopic structure through a spring and a connecting hole, and the docking The clamping groove on the outside of the cover is arranged in a ring shape, and the clamping groove is butted with one end of the limit pin, the bottom outer wall of the docking cover and the top inner wall of the filter bag are provided with threads, and the docking cover and the filter bag are threadedly connected. Pull out the docking cover from the bottom of the docking tube, and then rotate the docking cover and the filter bag to disengage the threaded connection, so that the dust and debris in the filter bag can be easily poured out and cleaned.
优选的,所述机座的一侧固定有套管,且套管的内部对接有螺纹杆,并且螺纹杆的外侧连接有调节螺母,所述机座远离套管的一侧设置有导向套,且导向套的内部对接有插杆,并且插杆的一侧开设有凹槽,所述导向套远离机座的一侧下方螺纹连接有旋钮,通过将机座一侧的套管和车架上的螺纹杆进行插接,并且通过旋转螺纹杆外侧的调节螺母,方便调节螺母带动套管进行上升或下降。Preferably, a casing is fixed on one side of the base, a threaded rod is butted inside the casing, and an adjusting nut is connected to the outer side of the threaded rod, and a guide sleeve is provided on the side of the base away from the casing, And the inside of the guide sleeve is docked with an insertion rod, and one side of the insertion rod is provided with a groove, and a knob is threadedly connected under the side of the guide sleeve away from the machine base. The threaded rod is inserted and connected, and by rotating the adjusting nut on the outside of the threaded rod, it is convenient for the adjusting nut to drive the casing to rise or fall.
优选的,所述螺纹杆的底端和插杆的底端同时与车架相连接,所述插杆表面的凹槽呈等间隔分布,所述旋钮贯穿伸入导向套的一端与凹槽进行对接,通过将机座一侧的导向套和车架上的插杆进行插接,并且转动旋钮与对应位置的凹槽进行限位连接,从而保证机座和车架进行高度调节时具有限位效果。Preferably, the bottom end of the threaded rod and the bottom end of the plunger are connected to the frame at the same time, the grooves on the surface of the plunger are distributed at equal intervals, and the knob penetrates one end of the guide sleeve to connect with the grooves. For docking, by inserting the guide sleeve on one side of the machine base and the insert rod on the frame, and turning the knob to connect with the groove at the corresponding position, so as to ensure that the machine base and the frame have a limit when adjusting the height. Effect.
优选的,所述机座靠近吸尘箱的相邻一侧设置有安装板,且安装板的表面等间隔平行安装有卡座,并且卡座呈“C”字型结构,通过将吸尘管呈S形布置在机座的侧面,使得吸尘管与“C”字型的卡座进行限位卡接,方便对除尘用的吸尘管进行规整收纳。Preferably, a mounting plate is provided on the adjacent side of the machine base close to the vacuuming box, and the surface of the mounting plate is installed with parallel mounting brackets at equal intervals, and the brackets have a "C"-shaped structure. It is arranged in an S shape on the side of the machine base, so that the suction pipe and the "C"-shaped card seat are limited and clamped, which is convenient for the regular storage of the dust suction pipe for dust removal.
与现有技术相比,本实用新型的有益效果是:该配电柜除尘装置,将吸尘管呈S形布置在机座的侧面,使得吸尘管与“C”字型的卡座进行限位卡接,避免该除尘装置在移动运输时造成吸尘管散乱,将机座在车架上进行稳定的高度调节,方便该除尘装置对于不同高度处的灰尘进行清除,将对接罩从对接管的下方抽出,再旋转对接罩和滤袋脱离螺纹连接,方便该配电柜除尘装置将收集的灰尘杂物快速倒出清理。Compared with the prior art, the beneficial effect of the present utility model is: the dust removal device of the power distribution cabinet arranges the dust suction pipe on the side of the machine base in an S shape, so that the dust suction pipe and the "C"-shaped card seat can be removed. The limit is clamped to prevent the dust removal device from causing the dust collection pipe to be scattered when it is moved and transported, and the height of the machine base is stably adjusted on the frame to facilitate the dust removal device to remove dust at different heights, and the docking cover is removed from the opposite side. Pull out the bottom of the nozzle, and then rotate the docking cover and the filter bag to disengage the threaded connection, so that the dust removal device of the power distribution cabinet can quickly pour out the collected dust and debris for cleaning.
1、该配电柜除尘装置,当需要定期清理收集的灰尘时,通过向下按压对接罩,使得对接罩外侧环形设置的卡槽挤压限位销,使得限位销拉动弹簧在连接孔中移动,从而方便将对接罩从对接管的下方抽出,再旋转对接罩和滤袋脱离螺纹连接,进而方便该配电柜除尘装置将收集的灰尘杂物快速倒出清理;1. When the dust removal device of the power distribution cabinet needs to regularly clean up the collected dust, press the docking cover downwards, so that the ring-shaped slot on the outer side of the docking cover squeezes the limit pin, so that the limit pin pulls the spring to move in the connection hole , so that it is convenient to pull out the butt cover from the bottom of the butt pipe, and then rotate the butt cover and the filter bag to disengage the threaded connection, so as to facilitate the dust removal device of the power distribution cabinet to quickly pour out the collected dust and debris;
2、该配电柜除尘装置,将机座一侧的套管和车架上的螺纹杆进行插接,并且将机座另一侧的导向套和车架上的插杆进行插接,随后通过旋转螺纹杆外侧的调节螺母,使得调节螺母带动套管进行上升或下降,同时转动旋钮与对应位置的凹槽进行限位连接,从而使得机座在车架上进行稳定的高度调节,方便该除尘装置对于不同高度处的灰尘进行清除;2. The power distribution cabinet dust removal device plugs the casing on one side of the machine base and the threaded rod on the frame, and plugs the guide sleeve on the other side of the machine base and the insertion rod on the frame, and then By rotating the adjusting nut on the outside of the threaded rod, the adjusting nut drives the casing to rise or fall, and at the same time, the knob is rotated to connect with the groove at the corresponding position, so that the machine base can be stably adjusted on the frame, which is convenient for the Dust removal device removes dust at different heights;
3、该配电柜除尘装置,将安装板通过螺钉安装在机座的侧面,将卡座等间隔平行安装在安装板上,并且将吸尘管的一端与吸尘箱进行对接,再将吸尘管呈S形布置在机座的侧面,使得吸尘管与“C”字型的卡座进行限位卡接,方便对除尘用的吸尘管进行规整收纳,有效避免该除尘装置在移动运输时造成吸尘管散乱。3. For the dust removal device of the power distribution cabinet, install the mounting plate on the side of the machine base through screws, install the card holder on the mounting plate in parallel at equal intervals, and connect one end of the vacuum pipe with the vacuum box, and then install the vacuum cleaner. The dust pipe is arranged in an S shape on the side of the machine base, so that the dust pipe and the "C"-shaped card seat are limited and clamped, which is convenient for the regular storage of the dust pipe for dust removal, and effectively prevents the dust removal device from moving. The dust tube is scattered during transportation.
附图说明Description of drawings
图1为本实用新型主视截面结构示意图;Fig. 1 is the front view sectional structure schematic diagram of the utility model;
图2为本实用新型左视结构示意图;Fig. 2 is the left side view structure schematic diagram of the present utility model;
图3为本实用新型后视结构示意图;Fig. 3 is the rear view structure schematic diagram of the utility model;
图4为本实用新型滤袋的主视截面结构示意图;Fig. 4 is the front sectional structure schematic diagram of the filter bag of the present utility model;
图5为本实用新型图1中A处局部放大结构示意图;Fig. 5 is the partial enlarged structural schematic diagram of A in Fig. 1 of the present utility model;
图6为本实用新型图4中B处局部放大结构示意图;Fig. 6 is the partial enlarged structural schematic diagram at B in Fig. 4 of the present utility model;
图7为本实用新型插套的仰视结构示意图;Fig. 7 is the bottom view structure schematic diagram of the utility model inserting sleeve;
图8为本实用新型对接罩的立体结构示意图。FIG. 8 is a schematic three-dimensional structure diagram of the docking cover of the present invention.
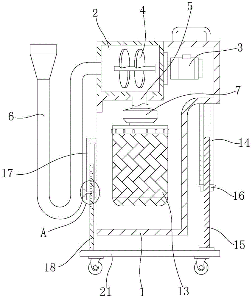
图中:1、机座;2、吸尘箱;3、电机;4、扇叶;5、对接管;6、吸尘管;7、插套;8、连接孔;9、弹簧;10、限位销;11、对接罩;12、卡槽;13、滤袋;14、套管;15、螺纹杆;16、调节螺母;17、导向套;18、插杆;19、凹槽;20、旋钮;21、车架;22、安装板;23、卡座。In the picture: 1. Machine base; 2. Vacuum box; 3. Motor; 4. Fan blade; 5. Butt pipe; 6. Vacuum pipe; 7. Insert sleeve; 8. Connecting hole; 9. Spring; 10. Limit pin; 11, butt cover; 12, card slot; 13, filter bag; 14, casing; 15, threaded rod; 16, adjusting nut; 17, guide sleeve; 18, insert rod; 19, groove; 20 , knob; 21, frame; 22, mounting plate; 23, deck.
具体实施方式Detailed ways
下面将结合本实用新型实施例中的附图,对本实用新型实施例中的技术方案进行清楚、完整地描述,显然,所描述的实施例仅仅是本实用新型一部分实施例,而不是全部的实施例。基于本实用新型中的实施例,本领域普通技术人员在没有做出创造性劳动前提下所获得的所有其他实施例,都属于本实用新型保护的范围。The technical solutions in the embodiments of the present utility model will be clearly and completely described below with reference to the accompanying drawings in the embodiments of the present utility model. Obviously, the described embodiments are only a part of the embodiments of the present utility model, rather than all the implementations. example. Based on the embodiments of the present invention, all other embodiments obtained by those of ordinary skill in the art without creative work fall within the protection scope of the present invention.
请参阅图1-8,本实用新型提供一种技术方案:一种配电柜除尘装置,包括机座1、吸尘箱2和滤袋13,机座1的上方设置有吸尘箱2,且吸尘箱2的一端连接有电机3,并且电机3伸入吸尘箱2的输出端上连接有扇叶4,吸尘箱2的底端连接有对接管5,且吸尘箱2远离电机3的一端对接有吸尘管6,对接管5的外侧设置有插套7,且插套7的内侧开设有连接孔8,并且连接孔8的内侧连接有弹簧9,而且弹簧9的中部贯穿连接有限位销10,对接管5和插套7之间插接有对接罩11,且对接罩11上端的外壁开设有卡槽12,并且对接罩11的底端连接有滤袋13。1-8, the present utility model provides a technical solution: a dust removal device for a power distribution cabinet, comprising a
对接管5外壁到插套7内壁之间的垂直距离和对接罩11的厚度相匹配,且对接管5和对接罩11的顶端为套接连接;限位销10的形状呈“T”字型,且限位销10关于插套7的轴心线呈等夹角分布,并且限位销10通过弹簧9和连接孔8构成伸缩结构,对接罩11外侧的卡槽12呈环形设置,且卡槽12与限位销10的一端进行对接,对接罩11的底端外壁与滤袋13的顶端内壁均设置有螺纹,且对接罩11与滤袋13呈螺纹连接。The vertical distance between the outer wall of the
将滤袋13上的对接罩11与对接管5插接,将电机3通电并带动扇叶4旋转,使得吸尘箱2通过吸尘管6将配电柜内部的灰尘吸走,灰尘沿着吸尘箱2下方的对接管5导入滤袋13中进行收集,当需要定期清理收集的灰尘时,通过向下按压对接罩11,使得对接罩11外侧环形设置的卡槽12挤压限位销10,使得限位销10拉动弹簧9在连接孔8中移动,从而方便将对接罩11从对接管5的下方抽出,再旋转对接罩11和滤袋13脱离螺纹连接,进而方便将滤袋13中的灰尘杂物进行倒出清理。Plug the
机座1的一侧固定有套管14,且套管14的内部对接有螺纹杆15,并且螺纹杆15的外侧连接有调节螺母16,机座1远离套管14的一侧设置有导向套17,且导向套17的内部对接有插杆18,并且插杆18的一侧开设有凹槽19,导向套17远离机座1的一侧下方螺纹连接有旋钮20;螺纹杆15的底端和插杆18的底端同时与车架21相连接,插杆18表面的凹槽19呈等间隔分布,旋钮20贯穿伸入导向套17的一端与凹槽19进行对接。A
将机座1一侧的套管14和车架21上的螺纹杆15进行插接,并且将机座1另一侧的导向套17和车架21上的插杆18进行插接,通过旋转螺纹杆15外侧的调节螺母16,使得调节螺母16带动套管14进行上升或下降,同时转动旋钮20与对应位置的凹槽19进行限位连接,从而使得机座1在车架21上进行稳定的高度调节,方便该除尘装置对于不同高度处的灰尘进行清除。Insert the
机座1靠近吸尘箱2的相邻一侧设置有安装板22,且安装板22的表面等间隔平行安装有卡座23,并且卡座23呈“C”字型结构。A mounting
将安装板22通过螺钉安装在机座1的侧面,并且将“C”字型的卡座23等间隔平行安装在安装板22上,并且将吸尘管6的一端与吸尘箱2进行对接,再将吸尘管6呈S形布置在机座1的侧面,使得吸尘管6与“C”字型的卡座23进行限位卡接,方便对除尘用的吸尘管6进行规整收纳,避免该除尘装置在移动运输时造成吸尘管6散乱。Install the mounting
综上所述,通过旋转螺纹杆15外侧的调节螺母16,使得调节螺母16带动套管14进行上升或下降,同时转动旋钮20与对应位置的凹槽19进行限位连接,从而使得该除尘装置进行高度调节,方便该除尘装置上的吸尘管6将处于不同高度处的配电柜灰尘进行清除,并且将滤袋13上的对接罩11与对接管5插接,将电机3通电并带动扇叶4旋转,使得吸尘箱2通过吸尘管6将配电柜内部的灰尘吸走,灰尘沿着吸尘箱2下方的对接管5导入滤袋13中进行收集,本说明中未作详细描述的内容属于本领域专业技术人员公知的现有技术。To sum up, by rotating the adjusting
尽管参照前述实施例对本实用新型进行了详细的说明,对于本领域的技术人员来说,其依然可以对前述各实施例所记载的技术方案进行修改,或者对其中部分技术特征进行等同替换,凡在本实用新型的精神和原则之内,所作的任何修改、等同替换、改进等,均应包含在本实用新型的保护范围之内。Although the present invention has been described in detail with reference to the foregoing embodiments, for those skilled in the art, it is still possible to modify the technical solutions described in the foregoing embodiments, or to perform equivalent replacements for some of the technical features. Within the spirit and principle of the present utility model, any modifications, equivalent replacements, improvements, etc. made shall be included within the protection scope of the present utility model.
Claims (8)
Priority Applications (1)
| Application Number | Priority Date | Filing Date | Title |
|---|---|---|---|
| CN202220106153.4U CN216705330U (en) | 2022-01-14 | 2022-01-14 | Switch board dust collector |
Applications Claiming Priority (1)
| Application Number | Priority Date | Filing Date | Title |
|---|---|---|---|
| CN202220106153.4U CN216705330U (en) | 2022-01-14 | 2022-01-14 | Switch board dust collector |
Publications (1)
| Publication Number | Publication Date |
|---|---|
| CN216705330U true CN216705330U (en) | 2022-06-10 |
Family
ID=81891971
Family Applications (1)
| Application Number | Title | Priority Date | Filing Date |
|---|---|---|---|
| CN202220106153.4U Expired - Fee Related CN216705330U (en) | 2022-01-14 | 2022-01-14 | Switch board dust collector |
Country Status (1)
| Country | Link |
|---|---|
| CN (1) | CN216705330U (en) |
-
2022
- 2022-01-14 CN CN202220106153.4U patent/CN216705330U/en not_active Expired - Fee Related
Similar Documents
| Publication | Publication Date | Title |
|---|---|---|
| CN113036612B (en) | Electric power cabinet with dust removing and collecting structure | |
| CN216705330U (en) | Switch board dust collector | |
| CN211303905U (en) | Dust collector is used in blister supporting plate processing | |
| CN207545018U (en) | A kind of work top automatic dust-absorbing device | |
| CN211134833U (en) | Equipment surface cleaning device is used in graphite electrode production | |
| CN212122857U (en) | Self-cleaning type pipe fitting inner hole polishing machine | |
| CN218051330U (en) | Vertical Machining Center Workbench | |
| CN212917626U (en) | Horizontal lathe with dustproof construction | |
| CN219293427U (en) | Machining milling machine equipment with collection function | |
| CN212310195U (en) | A dust removal maintenance device for electromechanical equipment | |
| CN217857572U (en) | Equipment cleaning device for transformer operation maintenance | |
| CN214559437U (en) | Industrial dust-collecting and dust-removing device | |
| CN215089088U (en) | Weaving equipment that possesses from cleaning function | |
| CN215278689U (en) | A solar photovoltaic power generation dust removal device | |
| CN211802776U (en) | Dust collector that electric appliance cabinet was used | |
| CN219483513U (en) | Auto-parts slot ash removal device | |
| CN219165642U (en) | Fruit picking and screening device with cleaning function | |
| CN219984196U (en) | Fish feed processing dust collector | |
| CN214770989U (en) | Hardware processing blank surface cleaning device | |
| CN215700126U (en) | Be applied to horizontal milling machine's dust collector | |
| CN221853455U (en) | Rewinding machine with air duct type dust removing system | |
| CN218608510U (en) | A kind of dust collector for dust workshop | |
| CN214353069U (en) | Furniture processing dust collector | |
| CN112190059A (en) | Multifunctional sofa | |
| CN218691801U (en) | A chip welding machine |
Legal Events
| Date | Code | Title | Description |
|---|---|---|---|
| GR01 | Patent grant | ||
| GR01 | Patent grant | ||
| CF01 | Termination of patent right due to non-payment of annual fee |
Granted publication date: 20220610 |
|
| CF01 | Termination of patent right due to non-payment of annual fee |
