CN216702108U - Folding bed capable of effectively reducing volume - Google Patents
Folding bed capable of effectively reducing volume Download PDFInfo
- Publication number
- CN216702108U CN216702108U CN202220220268.6U CN202220220268U CN216702108U CN 216702108 U CN216702108 U CN 216702108U CN 202220220268 U CN202220220268 U CN 202220220268U CN 216702108 U CN216702108 U CN 216702108U
- Authority
- CN
- China
- Prior art keywords
- bed
- main
- assembly
- bed board
- frame
- Prior art date
- Legal status (The legal status is an assumption and is not a legal conclusion. Google has not performed a legal analysis and makes no representation as to the accuracy of the status listed.)
- Expired - Fee Related
Links
- 239000000463 material Substances 0.000 claims abstract description 14
- 230000002093 peripheral effect Effects 0.000 claims description 3
- 230000006870 function Effects 0.000 abstract description 21
- 238000003860 storage Methods 0.000 abstract description 15
- 238000010586 diagram Methods 0.000 description 7
- 238000005516 engineering process Methods 0.000 description 3
- 238000012827 research and development Methods 0.000 description 3
- 238000000034 method Methods 0.000 description 2
- 230000009286 beneficial effect Effects 0.000 description 1
- 238000005520 cutting process Methods 0.000 description 1
- 238000013461 design Methods 0.000 description 1
- 238000003780 insertion Methods 0.000 description 1
- 230000037431 insertion Effects 0.000 description 1
- 238000004519 manufacturing process Methods 0.000 description 1
- 238000004806 packaging method and process Methods 0.000 description 1
- 230000000750 progressive effect Effects 0.000 description 1
- 230000009993 protective function Effects 0.000 description 1
- 238000012552 review Methods 0.000 description 1
- 235000015096 spirit Nutrition 0.000 description 1
- 239000000758 substrate Substances 0.000 description 1
- 238000012360 testing method Methods 0.000 description 1
Images
Landscapes
- Invalid Beds And Related Equipment (AREA)
Abstract
本新型有关一种可有效缩小材积的折叠床,其包括床架组件及床板组件。床架组件包括主支撑架及依序沿着床架组件纵向布设且分别位于相对应主支撑架侧边的侧翼支撑件。床板组件设于床架组件上,并包括主床板及依序沿着床板组件纵向布设且分别位于相对应的主床板侧边的侧翼床板。侧翼支撑件分别可沿着床架组件的横向作伸缩。侧翼床板分别可沿着床板组件的横向作收折。床板组件配合床架组件展开使用时,侧翼支撑件分别支撑于对应的侧翼床板底部,以增加侧翼床板承受朝向床架组件的底部下压力,俾能通过纵向与横向收折的机能设置,使床架组件与床板组件具备横向与纵向收折功能,以缩小收合材积,达到节省收藏与货运空间、便于收藏搬运降低运费成本目的。
The present invention relates to a folding bed which can effectively reduce the volume, which comprises a bed frame assembly and a bed board assembly. The bed frame assembly includes a main support frame and side support members which are sequentially arranged along the longitudinal direction of the bed frame assembly and are respectively located at the sides of the corresponding main support frame. The bed board assembly is arranged on the bed frame assembly, and includes a main bed board and side wing bed boards which are sequentially arranged along the longitudinal direction of the bed board assembly and are respectively located on the sides of the corresponding main bed board. The side wing supports are respectively extendable and retractable along the lateral direction of the bed frame assembly. The side-wing bed boards can be folded along the lateral direction of the bed board assembly respectively. When the bed board assembly is deployed and used with the bed frame assembly, the side wing supports are respectively supported on the bottom of the corresponding side wing bed board, so as to increase the side wing bed board to bear the downward pressure towards the bottom of the bed frame assembly, so that the bed can be folded vertically and horizontally. The frame assembly and the bed board assembly have horizontal and vertical folding functions to reduce the volume of the folded materials, save storage and freight space, and facilitate storage and handling to reduce freight costs.
Description
技术领域technical field
本实用新型有关一种可有效缩小材积的折叠床,尤指一种可以通过纵向与横向收折的机能设置使床架组件与床板组件兼具备横向与纵向收折功能的折叠床技术。The utility model relates to a folding bed that can effectively reduce the volume of materials, in particular to a folding bed technology that can make the bed frame assembly and the bed board assembly have both the horizontal and vertical folding functions through the function setting of the vertical and horizontal folding.
背景技术Background technique
为解决已知床架装置因无折收机构所致的材积过大、搬运上较为费力不便、需要较大的收藏空间或是货运空间及增加货运成本等缺失,因此,可折叠的床具已成为床具技术领域业者用来解决上述缺失所采取的技术手段。目前已知的折叠床架是由二个相互枢接而可沿着折叠床架的纵向相对收折的主支撑架所组成,并于二主支撑架上分别铺设床板,其床板上再供放置床垫,以组成折叠床的基本结构,其于收藏或是搬运时,则可将二个相互枢接的主支撑架予以相互对半折合,进而达到便于收藏及搬运的目的。In order to solve the shortcomings of the known bed frame device due to the lack of a folding mechanism, the volume is too large, the handling is relatively laborious and inconvenient, a large storage space or cargo space is required, and the freight cost is increased. The technical means adopted by the industry in the field of bedding technology to solve the above-mentioned shortcomings. The known foldable bed frame is composed of two main support frames that are pivotally connected to each other and can be folded relative to each other along the longitudinal direction of the foldable bed frame. The mattress is used to form the basic structure of the folding bed. When storing or transporting, the two mutually pivoted main support frames can be folded in half with each other, so as to facilitate storage and transport.
依据所知,具备相互对半折合功能的折叠床具的代表性专利如中国台湾新型公告第M621470号《可折叠的床架装置》所示。该专利包含第一框架单元、第二框架单元及二铰接单元。铰接单元用来枢接第一框架单元与第二框架单元,每一铰接单元包括铰接件,该铰接件具有二相间隔的连接壁,及连接于该等连接壁一端的底壁,每一该连接壁具有一枢接于所对应的第一端部的第一枢接部,及一相反于该第一枢接部且枢接于所对应的第二端部的第二枢接部;该专利虽然具备第二框架单元相对第一框架单元在一展开位置及一收折位置之间转动的纵向收折功能;惟,该专利并无侧翼支撑件与侧翼床板的可横向收折机能设置,所以无法使床架与床板具备横向收折的功能,以致无法进一步地缩减床架与床板的横向材积,除了会增加收藏与搬运空间之外,并会增加运费成本的支出。As far as we know, the representative patent of the folding bed with the function of folding in half is shown in Taiwan Model Announcement No. M621470 "Foldable Bed Frame Device". The patent includes a first frame unit, a second frame unit and two hinge units. The hinge unit is used for pivoting the first frame unit and the second frame unit, each hinge unit includes a hinge piece, the hinge piece has two spaced apart connecting walls, and a bottom wall connected to one end of the connecting walls, each of the The connecting wall has a first pivot portion pivotally connected to the corresponding first end portion, and a second pivot portion opposite to the first pivot portion and pivoted to the corresponding second end portion; the Although the patent has a longitudinal folding function of rotating the second frame unit relative to the first frame unit between an unfolded position and a folded position; however, the patent does not have the lateral folding function of the side wing support and the side wing bed board, Therefore, the bed frame and the bed board cannot be folded horizontally, so that the lateral volume of the bed frame and the bed board cannot be further reduced, which not only increases the storage and handling space, but also increases the freight cost.
此外,依据所知,具备可折叠功能床具的美国专利如下列所分述:In addition, as far as is known, the US patents for beds with foldable functions are as follows:
1.US2018000254号《折叠床架》,包括二个对称设置的床架单元的折叠床架。二个床架单元在连接处相互铰接。床架单元还设有与床架单元铰链连接的多个第一支撑杆。数个第一支撑杆折叠的方向垂直于床架单元折叠的方向。1. US2018000254 No. "Folding Bed Frame", including a folding bed frame with two symmetrically arranged bed frame units. The two bed frame units are hinged to each other at the joint. The bed frame unit is further provided with a plurality of first support rods hingedly connected with the bed frame unit. The direction in which the plurality of first support rods are folded is perpendicular to the direction in which the bed frame unit is folded.
2.US2020205576号《轻型床板和折叠床》,包括床架和设置在床架上的床板。床架包括并排设置且彼此枢转连接的第一框架单元和第二框架单元。床板包括固定设置在第一框架单元上侧的第一板单元和固定地设置在第二床框架单元上侧的第二板单元。第一板单元和第二板单元中的每一个包括一个或多个面板元件。每个面板元件包括基板、海绵层和覆盖物。基板设置在第一或第二框架单元的上侧。海绵层配置于基材的上侧,覆盖层配置于海绵层的上侧。2. US2020205576 "Light bed board and folding bed", including a bed frame and a bed board set on the bed frame. The bed frame includes a first frame unit and a second frame unit arranged side by side and pivotally connected to each other. The bed board includes a first board unit fixedly arranged on the upper side of the first frame unit and a second board unit fixedly arranged on the upper side of the second bed frame unit. Each of the first panel unit and the second panel unit includes one or more panel elements. Each panel element includes a substrate, a sponge layer and a cover. The base plate is provided on the upper side of the first or second frame unit. The sponge layer is arranged on the upper side of the base material, and the cover layer is arranged on the upper side of the sponge layer.
3.US2021337976号《可运输的可折叠床架》,床基包括底座,底座包括具有底部和顶部的第一框架、具有底部和顶部的第二框架以及将第二框架枢转连接到第一框架的连接器。第一框架和第二框架围绕枢轴选择性地相对于彼此枢转,使得第一框架和第二框架在打开未折叠位置之间选择性地相对于彼此枢转,其中,第一框架的顶部和第二框架大致共面并且适于支撑床垫和闭合折叠位置,其中,底部折叠并且第二框架的顶部覆盖第一框架的顶部。3. US2021337976 "Transportable Foldable Bed Frame", the bed base includes a base, the base includes a first frame with a bottom and a top, a second frame with a bottom and a top, and the second frame is pivotally connected to the first frame connector. The first frame and the second frame selectively pivot relative to each other about a pivot such that the first frame and the second frame selectively pivot relative to each other between open, unfolded positions, wherein the top of the first frame The second frame is substantially coplanar and adapted to support the mattress and in a closed folded position, wherein the bottom is folded and the top of the second frame covers the top of the first frame.
4.US2009249545号《可携式折叠床》,通过在旋转支撑杆的旋转杆与连接杆之间的接合处安装三角形支撑板,以增强旋转支撑杆的支撑强度,以及带有固定板的固定板。在固定支撑杆的床架接合单元中设置宽度为床架宽度两倍的宽度,并且在固定板和固定支撑杆之间设置更紧密的接触单元,从而获得固定支撑杆的稳定接合,以及中心支撑杆的下横杆与床架的外框之间设有可折叠弹簧,在折叠床的过程中可以方便地进行折叠操作。4. US2009249545 No. "Portable Folding Bed", by installing a triangular support plate at the junction between the rotating rod of the rotating support rod and the connecting rod to enhance the support strength of the rotating support rod, and a fixed plate with a fixed plate . A width twice the width of the bed frame is provided in the bed frame engaging unit of the fixed support rod, and a tighter contact unit is provided between the fixed plate and the fixed support rod, so as to obtain a stable engagement of the fixed support rod, and a central support A foldable spring is arranged between the lower cross bar of the rod and the outer frame of the bed frame, so that the folding operation can be conveniently performed in the process of folding the bed.
由上述得知,上述四件美国专利虽然具备床架纵向收折功能;惟,该等美国专利并无侧翼支撑件与侧翼床板的横向收折机能设置,所以无法使床架与床板具备横向收折的功能,以致无法进一步地缩减床架与床板的横向材积,于此除了会增加收藏与搬运空间之外,并会增加运费成本的支出。It can be seen from the above that although the above four US patents have the function of longitudinal folding of the bed frame; however, these US patents do not have the lateral folding function of the side wing support and the side wing bed board, so it is impossible to make the bed frame and the bed board have a horizontal folding function. Because of the folding function, it is impossible to further reduce the lateral volume of the bed frame and the bed board, which not only increases the storage and carrying space, but also increases the cost of freight.
实用新型内容Utility model content
本新型主要目的,在提供一种可有效缩小材积的折叠床,主要是通过纵向与横向收折的机能设置,使床架组件与床板组件兼具横向与纵向收折的功能,以有效地大幅缩减材积,而具有节省收藏空间与货运空间、便于收藏搬运及降低运费成本等特点。The main purpose of this new model is to provide a folding bed that can effectively reduce the volume, mainly through the function of vertical and horizontal folding, so that the bed frame assembly and the bed board assembly have both horizontal and vertical folding functions, so as to effectively reduce the size of the bed. Reducing the volume, it has the characteristics of saving storage space and freight space, facilitating storage and handling, and reducing freight costs.
为了达成上述目的,本实用新型提供一种可有效缩小材积的折叠床,包括一床架组件及一床板组件。该床架组件包括有可沿着其纵向相对折合的复数个主支撑架及依序沿着床架组件纵向布设且分别位于相对应主支撑架的至少一侧边的复数个侧翼支撑件。床板组件设于床架组件上而包括有可沿着其纵向相对折合的复数个主床板及依序沿着床板组件纵向布设且分别位于相对应的主床板的至少一侧边的复数个侧翼床板。该复数个侧翼支撑件分别可沿着床架组件的横向作伸缩。该复数个侧翼床板分别可沿着床板组件的横向作收折。该床板组件的一顶面供置放至少一床垫。床板组件配合床架组件展开使用时,侧翼支撑件相对主支撑架而横向伸出以分别支撑于对应的侧翼床板的底部,以增加侧翼床板承受朝向床架组件的底部下压力。In order to achieve the above object, the present invention provides a folding bed that can effectively reduce the volume, including a bed frame assembly and a bed board assembly. The bed frame assembly includes a plurality of main support frames that can be folded relative to each other along the longitudinal direction thereof, and a plurality of side support members arranged in sequence along the longitudinal direction of the bed frame assembly and respectively located on at least one side of the corresponding main support frame. The bed board assembly is arranged on the bed frame assembly and includes a plurality of main bed boards that can be folded relative to each other along its longitudinal direction and a plurality of side wing bed boards that are sequentially arranged along the longitudinal direction of the bed board assembly and are respectively located on at least one side of the corresponding main bed board . The plurality of side wing support members are respectively capable of extending and retracting along the lateral direction of the bed frame assembly. The plurality of side-wing bed boards can be respectively folded along the lateral direction of the bed board assembly. At least one mattress is placed on a top surface of the bed board assembly. When the bed board assembly is deployed and used with the bed frame assembly, the side wing supports extend laterally relative to the main support frame to support the bottom of the corresponding side wing bed boards respectively, so as to increase the downward pressure of the side wing bed boards towards the bottom of the bed frame assembly.
较佳地,该主支撑架设有横向延伸的复数根纳收管件,该复数个侧翼支撑件分别可伸缩地插接于相对应的该复数根纳收管件内,使该复数个侧翼支撑件分别可沿着该床架组件的横向作伸缩。Preferably, the main support frame is provided with a plurality of laterally extending root-accommodating tube parts, and the plurality of lateral wing supporting members are respectively telescopically inserted into the corresponding plurality of root-accommodating tube parts, so that the plurality of lateral wing supporting members are respectively retractable. It can be extended and retracted along the lateral direction of the bed frame assembly.
较佳地,每一复数根纳收管件上设有至少一定位孔;每一侧翼支撑件设置包括有一弹片及一定位件;该弹片设置于该侧翼支撑件内;该定位件承受该弹片的弹力而局部突露于该侧翼支撑件的一周面,用以嵌入该至少一定位孔。Preferably, at least one positioning hole is provided on each of the plurality of tube-receiving members; each side support member is provided with an elastic sheet and a positioning member; the elastic sheet is arranged in the lateral support member; the positioning member receives the elastic sheet The elastic force partially protrudes from the peripheral surface of the side wing support for inserting into the at least one positioning hole.
较佳地,该复数个侧翼床板分别以至少一连接件而连接于相对应的该复数个主床板的该至少一侧边,使该复数个侧翼床板分别以该至少一连接件为转点而朝向该主床板旋转,以沿着该床板组件的横向作收折。Preferably, the plurality of side-wing bed boards are respectively connected to the at least one side of the corresponding plurality of main bed-boards by at least one connecting piece, so that the plurality of side-wing bed boards respectively use the at least one connecting piece as a turning point. Rotate toward the main deck to fold in the lateral direction of the deck assembly.
较佳地,该至少一连接件为至少一长条带,该至少一长条带包括相连为一体的二半面部,该二半面部分别贴覆并铆固在相对的该主床板及该侧翼床板,使该侧翼床板以该二半面部相接处为转点而朝向相对的该主床板旋转。Preferably, the at least one connecting piece is at least one long strip, and the at least one long strip includes two half-surfaces that are connected as a whole. The bed board is made to rotate toward the opposite main bed board with the joint of the two half-faces as the pivot point.
较佳地,该二半面部相接处设有一条沿着其长度方向延伸的标示线,该标示线供对齐于该主床板及该侧翼床板并靠的一边。Preferably, a marking line extending along the length direction of the two halves is provided at the junction, and the marking line is arranged to be aligned with the side of the main bed board and the side wing board board.
较佳地,每一主支撑架的二侧边分别接设至少一该复数个侧翼支撑件;每一主床板的二侧边分别可沿着该主床板的横向而折合地连接至少一该复数个侧翼床板。Preferably, the two sides of each main support frame are respectively connected with at least one of the plurality of side support members; the two sides of each main bed board can be folded and connected to at least one of the plurality of side support members along the transverse direction of the main bed board respectively. A wing bed.
较佳地,插接在每一主支撑架的二侧边的该复数个侧翼支撑架相互对称;连接在每一主床板的二侧边的该复数个侧翼床板相互对称;对称地而可折合地连接于相对应的主床板二侧边的二个侧翼床板的横向宽度相等。Preferably, the plurality of side wing support frames inserted on the two sides of each main support frame are symmetrical with each other; the plurality of side wing bed boards connected on the two sides of each main bed board are symmetrical with each other; symmetrical and foldable The lateral widths of the two lateral bed boards connected to the two sides of the corresponding main bed boards are equal.
较佳地,该侧翼床板的横向宽度与该主床板的横向宽度的比值为1/6~1/2。Preferably, the ratio of the lateral width of the side wing deck to the lateral width of the main deck is 1/6-1/2.
较佳地,至少一该主支撑架的一顶部可转动地设一角度调整架;该角度调整架固设有至少一该主床板;该至少一主支撑架上设有一致动组件;该致动组件用以驱动该角度调整架相对该主支撑架沿着该床架组件的纵向作预定角度的翻转。Preferably, a top of at least one main support frame is rotatably provided with an angle adjustment frame; at least one main bed board is fixed on the angle adjustment frame; an actuating component is arranged on the at least one main support frame; The moving assembly is used for driving the angle adjusting frame to rotate relative to the main support frame along the longitudinal direction of the bed frame assembly at a predetermined angle.
本实用新型有益效果在于:The beneficial effects of the utility model are:
本实用新型提供的可有效缩小材积的折叠床,可以通过纵向与横向收折的机能设置,使床架组件与床板组件具备横向与纵向收折的功能,并让床架与床板的材积得以有效缩减,因而具有节省收藏空间与货运空间、便于收藏搬运及降低运费成本等特点。The folding bed provided by the utility model, which can effectively reduce the volume, can be set by the function of vertical and horizontal folding, so that the bed frame assembly and the bed board assembly have the functions of horizontal and vertical folding, and the material volume of the bed frame and the bed board can be effectively Therefore, it has the characteristics of saving storage space and freight space, facilitating storage and handling, and reducing freight costs.
附图说明Description of drawings
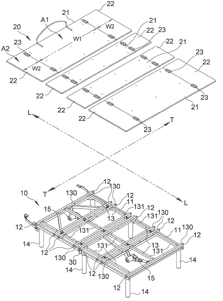
图1为本实用新型具体架构的分解实施示意图。FIG. 1 is a schematic diagram of an exploded implementation of the specific structure of the present invention.
图2为本实用新型床架组件侧翼支撑件伸展的外观示意图。FIG. 2 is a schematic view of the appearance of the extended side wing support of the bed frame assembly of the present invention.
图3为本实用新型床架组件与床板组件展开的实施示意图。FIG. 3 is an implementation schematic diagram of the unfolding of the bed frame assembly and the bed board assembly of the present invention.
图4为本实用新型床架组件与床板组件横向局部收折的实施示意图。FIG. 4 is an implementation schematic diagram of the lateral partial folding of the bed frame assembly and the bed board assembly of the present invention.
图5为本实用新型床板组件横向收折的实施示意图。FIG. 5 is a schematic diagram of the implementation of the horizontal folding of the bed board assembly of the present invention.
图6为本实用新型床架组件与床板组件横向收折的实施示意图。6 is an implementation schematic diagram of the lateral folding of the bed frame assembly and the bed board assembly of the present invention.
图7为本实用新型床架组件与床板组件横向与纵向完全收折的外观示意图。FIG. 7 is a schematic view of the appearance of the bed frame assembly and the bed board assembly of the present invention being completely folded in the horizontal and vertical directions.
图8为本实用新型床架组件与床板组件横向与纵向完全收折的俯视示意图。8 is a schematic top view of the bed frame assembly and the bed board assembly of the present invention being completely folded in the lateral and longitudinal directions.
图9为本实用新型侧翼支撑件缩入纳收管件的示意图。FIG. 9 is a schematic diagram of the side wing support of the present invention being retracted into the tube-receiving member.
图10为本实用新型侧翼支撑件伸出纳收管件的示意图。FIG. 10 is a schematic view of the utility model side wing support extending out of the receiving tube.
图11为图1示例中连接件改以长条带来连接主床板及侧翼床板的实施例示意图。FIG. 11 is a schematic diagram of an embodiment in which the connecting member is changed to a long strip to connect the main bed board and the side wing bed board in the example of FIG. 1 .
附图标记reference number
10:床架组件;11:主支撑架;12:侧翼支撑件;120:安全塞盖;121:弹片;122:定位件;13:角度调整架;130:纳收管件;131:纵管;132:定位孔;14:脚杆;15:致动组件;20:床板组件;21:主床板;22:侧翼床板;23:连接件;230:半面部;231:长条带;232:标示线;30:枢接装置;L:纵向;T:横向;W1、W2:宽度;A1、A2:板面面积。10: bed frame assembly; 11: main support frame; 12: side wing support; 120: safety plug cover; 121: shrapnel; 122: positioning member; 13: angle adjustment frame; 132: positioning hole; 14: foot bar; 15: actuation assembly; 20: deck assembly; 21: main deck; 22: side deck; 23: connecting piece; 230: half face; line; 30: pivoting device; L: longitudinal; T: transverse; W1, W2: width; A1, A2: board area.
具体实施方式Detailed ways
有鉴于上述已知技术及前述该等专利于横向收折的功能性上,确实未臻完善而产生各种缺失,本实用新型发明人以累积多年丰富的研发设计经验,积极投入研发,经不断设计、试作与试验,终有本实用新型研发成果产出。In view of the fact that the above-mentioned known technologies and the above-mentioned patents have not been perfected in terms of the functionality of the horizontal folding, the inventors of the present utility model have accumulated many years of rich experience in research and development and actively invested in research and development. Design, trial production and testing, and finally the research and development results of the utility model will be produced.
为让贵审查委员能进一步了解本新型整体的技术特征与达成本新型目的的技术手段,兹以具体实施例并配合图式加以详细说明:In order to allow your review committee to further understand the overall technical features of the new model and the technical means to achieve the purpose of the new model, specific examples and drawings are hereby described in detail:
请配合参看图1~8所示,为达成本新型主要目的的具体实施例,包括一床架组件10及一床板组件20。该床架组件10包括有可沿着其纵向L(如图1的双箭头虚线所示,对于一般的床而言,其纵向L即为床架组件10展开后的长度方向)相对折合的复数个主支撑架11。该床板组件20包括有可沿着其纵向L相对折合的复数个主床板21,其中,因为床板组件20是配合床架组件10的大小而铺设其上,以受床架组件10支撑,因而此处所称的床板组件20的纵向L,即为床板组件20展开后的长度方向。本实用新型的主要特征,在于该床架组件10包括有复数个侧翼支撑件12,该复数个侧翼支撑件12依序沿着床架组件10的纵向L而布设,且分别可沿着横向T移动地插接而位于相对应的复数个主支撑架11的至少一侧边;图示例中,是复数个侧翼支撑件12两两对称于床架组件10地依序沿着床架组件10的纵向L而布设,且分别可沿着横向T移动地插接在相对应的复数个主支撑架11的二侧边。该复数个侧翼支撑件12分别可沿着床架组件10的横向T(如图1的双箭头虚线所示,对于一般的床而言,其横向T即为床架组件10展开后的宽度方向)作伸缩。床板组件20包括有复数个侧翼床板22,该复数个侧翼床板22依序沿着床板组件20的纵向L而布设,且分别与相对应的复数个主床板21的至少一侧边可折合地连接,使复数个侧翼床板22分别可沿着床板组件20的横向T作收折,其中,因为床板组件20是配合床架组件10的大小而铺设其上,以受床架组件10支撑,因而此处所称的床板组件20的横向T,即为床板组件20展开后的宽度方向。当床板组件20配合床架组件10展开使用时,该复数个侧翼支撑件12分别伸展于主支撑架11侧边,以增加整个床架组件10展开后的宽度,进而使主支撑架11支撑于主床板21的底部,而侧翼支撑件12则配合支撑于对应的复数个侧翼床板22的底部,以增加侧翼床板22承受朝向床架组件10的底部下压力;亦即,当收折时,侧翼支撑件12收合于主支撑架11以缩小床架组件10的宽度,侧翼床板22相对主床板21弯折而收合于主床板21的顶面以缩小床板组件20的宽度,以及主支撑架11连同主床板21沿着纵向L收折呈如图7、8所示的状态;而使用时,侧翼支撑件12自主支撑架11侧边伸出以增大床架组件10的宽度,侧翼床板22相对主床板21弯折而平展于主床板21侧边以增大床板组件20的宽度,使得复数个主支撑架11支撑相对应的复数个主床板21,复数个侧翼支撑件12支撑相对应的复数个侧翼床板22,以呈如图3所示的状态。Please refer to FIGS. 1 to 8 together. In order to achieve the main purpose of the present invention, the specific embodiment includes a
如图1、2、9及10所示,本实用新型一种具体实施例,主支撑架11设有横向T延伸的复数根纳收管件130,该复数个侧翼支撑件12分别可伸缩地插接于相对应的复数根纳收管件130,使复数个侧翼支撑件12分别可沿着床架组件10及主支撑架11的横向T作伸缩。床架组件10要收合缩小材积时,侧翼支撑件12沿着床架组件10的横向T缩入纳收管件130内,使侧翼支撑件12朝向主支撑架11中央方向收合,以缩小床架组件10及主支撑架11的宽度。图9所示的示例中,侧翼支撑件12的末端套设有一安全塞盖120,安全塞盖120可为塑胶或橡胶制品,具有保护作用以避免侧翼支撑件12割伤人体,且具有定位作用,亦即,侧翼支撑件12完全缩入纳收管件130时,安全塞盖120卡制于纳收管件130末端外缘而定位,而使用欲将侧翼支撑件12自纳收管件130内拉出时,安全塞盖120则可供使用者握持。As shown in Figures 1, 2, 9 and 10, in a specific embodiment of the present invention, the
如图9、10所示,为使侧翼支撑件12具备伸缩定位的功能,于每一根纳收管件130上设有至少一定位孔132,每一侧翼支撑件12内设置包括有一弹片121及一定位件122,该弹片121设置于侧翼支撑件12内;该定位件122设于弹片121一端以承受弹片121的弹力而局部突露于侧翼支撑件12的周面,用以嵌入至少一定位孔132。图示例中,每一根纳收管件130上设置包括有二定位孔132。当侧翼支撑件12完全缩入纳收管件130时,定位件122嵌入其一定位孔132。当侧翼支撑件12相对纳收管件130伸出至可有效支撑侧翼床板22的位置时,定位件122嵌入另一定位孔132。As shown in FIGS. 9 and 10 , in order to enable the
请参看图1、3所示的实施例,该复数个侧翼床板22分别以至少一连接件23(图1示例为铰链)而连接于相对应的复数个主床板21的至少一侧边,使复数个侧翼床板22分别以至少一连接件23为转点而朝向主床板21旋转,以沿着床板组件20的横向T作收折或展开。Referring to the embodiments shown in FIGS. 1 and 3 , the plurality of side-
较佳地,请参看图11所示,该连接件23的一种较佳实施例为一种可折但无展延伸且不易撕裂的长条带231,该长条带231包括相连为一体的二半面部230,该二半面部230分别贴覆并铆固在相对的主床板21及侧翼床板22,使侧翼床板22以二半面部230相接处为转点而朝向相对的主床板21旋转。该二半面部230相接处设有一条沿着其长度方向延伸的标示线232,该标示线232供对齐于主床板21及侧翼床板22并靠的一边。长条带231可取代一般铰链,可避免勾破置于床板组件20上的床垫。Preferably, as shown in FIG. 11 , a preferred embodiment of the
请参看图1及图3~6所示的实施例,该复数个主床板21的数量为四,依床板组件20的纵向L依序为第一至第四地排列,第一与第四的主床板21的板面面积相等,第二与第三的主床板21的板面面积相等,第一与第四的主床板21的板面面积相较第二与第三的主床板21的板面面积为大。Referring to the embodiment shown in FIG. 1 and FIGS. 3-6 , the number of the plurality of
较佳的,请参看图1、3所示的实施例,该复数个侧翼支撑件12分别设置位于相对应的复数个主支撑架11的二侧边,该复数个侧翼床板22分别设置位于相对应的复数个主床板21的二侧边。而且,该复数个侧翼支撑件12两两对称地接设于相对应的复数个主支撑架11的二侧边,该复数个侧翼床板22两两对称地连接于相对应的复数个主床板21的二侧边。Preferably, please refer to the embodiment shown in FIGS. 1 and 3 , the plurality of side wing supports 12 are respectively arranged on the two sides of the corresponding plurality of main support frames 11 , and the plurality of side
再请参看图1、3~6所示的实施例,对称地而可折合地连接于相对应的主床板21二侧边的二个侧翼床板22的横向T宽度W2相等及板面面积A2相等。侧翼床板22的横向T宽度W2与主床板21的横向T宽度W1的比值为1/6~1/2,其比例可依床架组件及床板组件展开后的尺寸大小而调整,以符合较佳的收合材积,单人床及双人床分别有不同比例值,装运时所配合不同的货柜容积也有不同比例值。侧翼床板22的板面面积A2与主床板21的板面面积A1比值为1/6~1/2,基本上是配合侧翼床板22的横向T宽度W2与主床板21的横向T宽度W1的比值而定。Referring again to the embodiments shown in FIGS. 1 and 3 to 6 , the lateral T widths W2 and the board surface areas A2 of the two
请参看图1~6所示的实施例,每一主支撑架11上设置有可沿着床架组件10的纵向L而相对折合的二个主床板21。每一主支撑架11的底部接设有可分别拆卸的复数个下伸的脚杆14,至少一主支撑架11的顶部可转动地设置包括有至少一角度调整架13(图示例为,共有二个主支撑架11,每一主支撑架11的顶部可转动地设有二个角度调整架13)。每一角度调整架13固设有至少一主床板21(图示例中,每一主支撑架11的顶部可转动地设一大及一小的角度调整架13,大的角度调整架13固设一板面面积较大的主床板21,小的角度调整架13固设一板面面积较小的主床板21)。每一主支撑架11上设有一致动组件15,致动组件15用以驱动数组角度调整架13相对主支撑架11朝纵向L方向作预定角度的翻转,以达到主床板21倾斜角度的调整功能(即对应使用者头部、背部及脚部的倾斜角度调整功能)。于本实施例中,设有角度调整架13的该主支撑架11所接设的侧翼支撑件12为两两对称地接设于相对应的角度调整架13的二侧边,亦即纳收管件130设置在角度调整架13上以供侧翼支撑件12可横向移动地插接。Referring to the embodiments shown in FIGS. 1 to 6 , each
请参看于图1、3所示,当床板组件20配合床架组件10作展开使用时,该复数个侧翼支撑件12分别支撑于对应的复数个侧翼床板22的底部,以增加侧翼床板22承受朝向床架组件10的底部下压力。当床板组件20配合床架组件10作收折使用时,先将复数脚杆14依序予以拆卸下来(一般为螺牙螺合结构);接着,将复数个侧翼床板22向内收折于相对应的主床板21上,然后依序将每一侧翼支撑件12缩入定位至纳收管件130内,于是即可达到横向收合以缩小床架组件10的宽度的目的,如图4~6所示,最后通过设于二个主支撑架11之间的枢接装置30及适当的施力,以将二个主支撑架11连同设于其上的四个主床板21相对折合,于是即可达到纵向收折的目的,如图7~8所示,以形成最小材积而便于包装及运输。Please refer to FIGS. 1 and 3 , when the
具体的,请参看图1~2所示的实施例,该角度调整架13由复数横向延伸的纳收管件130及复数纵向延伸的纵管131所组成,且相邻较小间隔的二纳收管件130相对的二侧面形成可转动的枢接,每一纵管131跨接于相邻较大间隔的二纳收管件130相对的二侧面上。Specifically, please refer to the embodiment shown in FIGS. 1 to 2 , the
经上述具体的详细说明后,本新型确实可以通过纵向与横向收折的机能设置,使床架组件与床板组件具备横向与纵向收折的功能,并让床架与床板的材积得以有效缩减,因而具有节省收藏空间与货运空间、便于收藏搬运及降低运费成本等特点。After the above specific detailed description, the new model can indeed be set by the function of vertical and horizontal folding, so that the bed frame assembly and the bed board assembly have the function of horizontal and vertical folding, and the volume of the bed frame and the bed board can be effectively reduced, Therefore, it has the characteristics of saving storage space and freight space, facilitating storage and handling, and reducing freight costs.
以上所述,仅为本新型一可行实施例,并非用以限定本新型的专利范围,凡举依据下列权利要求所述的内容、特征以及其精神而为其他变化的等效实施,皆应包含于本实用新型专利范围内。本实用新型所具体界定于权利要求的结构特征,未见于同类物品,且具实用性与进步性,已符合创作专利要件,爰依法具文提出申请,谨请依法核予专利,以维护本申请人合法权益。The above description is only a feasible embodiment of the present invention and is not intended to limit the scope of the patent of the present invention. Any equivalent implementation of other changes based on the content, features and spirits described in the following claims shall include within the scope of this utility model patent. The structural features of this utility model specifically defined in the claims are not found in similar articles, and it is practical and progressive, and has met the requirements for a creation patent. It is required to file an application in accordance with the law, and please approve the patent in accordance with the law to maintain this application. legitimate rights and interests of people.
Claims (10)
Applications Claiming Priority (2)
| Application Number | Priority Date | Filing Date | Title |
|---|---|---|---|
| TW111200754 | 2022-01-19 | ||
| TW11120075 | 2022-01-19 |
Publications (1)
| Publication Number | Publication Date |
|---|---|
| CN216702108U true CN216702108U (en) | 2022-06-10 |
Family
ID=81874485
Family Applications (1)
| Application Number | Title | Priority Date | Filing Date |
|---|---|---|---|
| CN202220220268.6U Expired - Fee Related CN216702108U (en) | 2022-01-19 | 2022-01-26 | Folding bed capable of effectively reducing volume |
Country Status (1)
| Country | Link |
|---|---|
| CN (1) | CN216702108U (en) |
Cited By (1)
| Publication number | Priority date | Publication date | Assignee | Title |
|---|---|---|---|---|
| TWI884096B (en) * | 2024-10-14 | 2025-05-11 | 欣上原股份有限公司 | Adjustable Width Electric Bed |
-
2022
- 2022-01-26 CN CN202220220268.6U patent/CN216702108U/en not_active Expired - Fee Related
Cited By (1)
| Publication number | Priority date | Publication date | Assignee | Title |
|---|---|---|---|---|
| TWI884096B (en) * | 2024-10-14 | 2025-05-11 | 欣上原股份有限公司 | Adjustable Width Electric Bed |
Similar Documents
| Publication | Publication Date | Title |
|---|---|---|
| TWM629402U (en) | Folding bed capable of effectively reducing volume | |
| US7856683B2 (en) | Foldable cot with quick lock system | |
| CN203676465U (en) | Portable multifunctional desk integrating table with chair | |
| CN201630585U (en) | Drawing desk | |
| US11399998B2 (en) | Foldable electric bed | |
| CN113892754B (en) | Telescopic folding table | |
| CN215685524U (en) | Multifunctional wheel folding table | |
| CN109835570A (en) | Collapsible container | |
| CN216702108U (en) | Folding bed capable of effectively reducing volume | |
| KR102024231B1 (en) | Folding multipurpose table | |
| CN217364976U (en) | Portable outdoor folding table | |
| US5489144A (en) | Portable folding footstool | |
| CN105996564A (en) | Intelligent folding bed with storage box | |
| CN205053217U (en) | Sixty percent discount formula folding table | |
| CN111789440A (en) | A multifunctional folding deformation device | |
| JP2527088Y2 (en) | Golf bag stand | |
| CN216723618U (en) | Telescopic folding table | |
| CN212521106U (en) | Folding type functional rack | |
| CN114766811B (en) | Portable outdoor folding table | |
| WO2023165156A1 (en) | Steering wheel computer holder | |
| CN211021404U (en) | Foldable metal table | |
| JP3134261U (en) | Folding bed | |
| CN222323792U (en) | A foldable nursing bed board | |
| TWM629619U (en) | Improved structure of foot frame of folding bed | |
| CN207011931U (en) | Fold split type telescopic platform |
Legal Events
| Date | Code | Title | Description |
|---|---|---|---|
| GR01 | Patent grant | ||
| GR01 | Patent grant | ||
| CF01 | Termination of patent right due to non-payment of annual fee | ||
| CF01 | Termination of patent right due to non-payment of annual fee |
Granted publication date: 20220610 |
