CN216696964U - Propaganda management equipment of wisdom property - Google Patents
Propaganda management equipment of wisdom property Download PDFInfo
- Publication number
- CN216696964U CN216696964U CN202123101206.8U CN202123101206U CN216696964U CN 216696964 U CN216696964 U CN 216696964U CN 202123101206 U CN202123101206 U CN 202123101206U CN 216696964 U CN216696964 U CN 216696964U
- Authority
- CN
- China
- Prior art keywords
- shell
- ferrule
- upright post
- bottom plate
- top end
- Prior art date
- Legal status (The legal status is an assumption and is not a legal conclusion. Google has not performed a legal analysis and makes no representation as to the accuracy of the status listed.)
- Active
Links
- 230000017525 heat dissipation Effects 0.000 claims abstract description 20
- 238000002161 passivation Methods 0.000 claims abstract description 6
- 238000005498 polishing Methods 0.000 claims abstract description 6
- 238000012790 confirmation Methods 0.000 claims description 15
- 238000005260 corrosion Methods 0.000 claims description 9
- 239000003973 paint Substances 0.000 claims description 6
- 238000003466 welding Methods 0.000 claims description 5
- 238000009413 insulation Methods 0.000 claims description 3
- 238000004146 energy storage Methods 0.000 claims 1
- 238000009434 installation Methods 0.000 abstract description 4
- 238000010586 diagram Methods 0.000 description 3
- 230000005489 elastic deformation Effects 0.000 description 2
- 238000000034 method Methods 0.000 description 2
- 230000004075 alteration Effects 0.000 description 1
- 230000009286 beneficial effect Effects 0.000 description 1
- 238000012986 modification Methods 0.000 description 1
- 230000004048 modification Effects 0.000 description 1
- 238000006467 substitution reaction Methods 0.000 description 1
Images
Landscapes
- Casings For Electric Apparatus (AREA)
Abstract
The utility model discloses propaganda management equipment for intelligent property, which comprises a shell and pad feet, wherein the bottom end of the shell is provided with the pad feet at uniform positions, the pad feet are bolted at the shell through screws, the left end and the right end of the shell are provided with heat dissipation grids, the heat dissipation grids are bolted at the shell through screws, the front end of the shell is provided with a lens at the position of the upper right corner, the edge of the inner wall of a fixing hole is subjected to passivation polishing treatment, the diameter of the fixing hole is consistent, the joint of a stand column I and a bottom plate is arranged at a right angle of ninety degrees, a ferrule I is arranged in an open circular structure, the ferrule I can be elastically deformed under the action of external force, a stand column II and a stand column I are arranged in the same way, a ferrule II and a ferrule I are arranged in the same way, bolts are inserted into the circular holes of the ferrule I and the ferrule II and are fixed through the bolts, the fixing mode is simple and easy to operate, compared with the existing equipment, the installation convenience can be greatly improved.
Description
Technical Field
The utility model belongs to the technical field of intelligent property propaganda management equipment, and particularly relates to propaganda management equipment for intelligent property.
Background
The propaganda management equipment of wisdom property is a projecting apparatus promptly to can carry out the projection propaganda to the propaganda video of property.
The existing propaganda management equipment technology for intelligent property has the following problems: present wisdom is propaganda management equipment accessible network data puts in data such as property propaganda video for property, and wisdom property is various with propaganda management equipment mounting means, and current wisdom property is with propaganda management equipment when carrying out unsettled projection, and the whole installation is complicated, consuming time and wasting power, and then leads to the increase of cost.
SUMMERY OF THE UTILITY MODEL
The utility model aims to provide propaganda management equipment for smart properties, which aims to solve the problems that the conventional propaganda management equipment for smart properties can launch data such as videos through network data, the mounting modes of the conventional propaganda management equipment for smart properties are various, and the conventional propaganda management equipment for smart properties is complex in whole mounting process, consumes time and labor and further increases the cost when suspended projection is carried out.
In order to achieve the purpose, the utility model provides the following technical scheme:
the propaganda management equipment for the intelligent property comprises a shell and pad feet, wherein the pad feet are arranged at the positions, located at uniform positions, of the bottom end of the shell, the pad feet are bolted at the position of the shell through screws, radiating grids are arranged at the positions, located at the left end and the right end of the shell, of the radiating grids, a lens is arranged at the position, located at the upper right corner, of the front end of the shell, the lens is electrically connected with a power supply, a switch button is arranged at the position, located at the left side of the lens, of the shell, the switch button is electrically connected with the power supply, a fast forward button is arranged at the position, located at the left side of the front end, of the top end of the shell, of the fast forward button is electrically connected with the power supply, a confirmation button is arranged at the position, connected with the power supply, a reverse button is arranged at the position, located at the left side of the confirmation button, and electrically connected with the power supply, the top end of the shell is provided with a fixing module which is bolted on the shell through a screw, the fixing module comprises a bottom plate, a first upright post, a first ferrule, a fixing hole, a second ferrule and a second upright post, the top end of the shell is provided with a bottom plate, the top end of the bottom plate is provided with fixing holes at uniform positions, the fixing hole is integrally formed at the bottom plate, a first upright post is arranged at the position of the left side of the top end of the bottom plate, the first upright post is fixed at the bottom plate through welding, a first ferrule is arranged at the top end of the first upright post, the ferrule is integrally formed at the first upright post, the top end of the bottom plate is provided with a second upright post at the right side position, the upright post II is fixed at the bottom plate through welding, a ferrule II is arranged at the top end of the upright post II, and the ferrule II is integrally formed at the upright post II.
Preferably, the foot pad is provided with four altogether, the size, the specification of a dimension of foot pad are unanimous setting, be parallel arrangement between the foot pad, the foot pad is ninety degrees right angle setting with the junction of casing.
Preferably, the number of the heat dissipation grids is two, the heat dissipation grids are subjected to high-temperature resistance treatment, the heat dissipation grids are vertically arranged in parallel, and anti-corrosion paint is arranged on the surfaces of the heat dissipation grids.
Preferably, the top end of the shell is arranged on the front side in a slope mode, anti-corrosion paint is arranged on the surface of the shell, and the surface of the shell is subjected to insulation treatment.
Preferably, the switch button is arranged in a circular structure, the switch button can be elastically deformed under the action of external force, the confirmation button is arranged in a circular structure, and the confirmation button, the reverse button and the fast forward button are located at the positions of slopes.
Preferably, the surface of the fixing module is subjected to anti-corrosion treatment, the fixing module is located in the middle of the top end of the shell, and the fixing module can elastically deform under the action of external force.
Preferably, the bottom plate is of a flat plate structure, the bottom plate can be completely attached to the top end of the shell, two fixing holes are formed in the bottom plate, the inner wall edges of the fixing holes are subjected to passivation polishing treatment, and the diameter sizes of the fixing holes are consistent.
Preferably, the connection part of the first upright post and the bottom plate is arranged at a right angle of ninety degrees, the first ferrule is arranged in an open circular structure, the first ferrule can elastically deform under the action of external force, the second upright post and the first upright post are arranged in the same way, and the second ferrule and the first ferrule are arranged in the same way.
Compared with the prior art, the utility model provides the propaganda management equipment for the intelligent property, which has the following beneficial effects:
the utility model adopts an additional fixing module which is divided into six parts, namely a bottom plate, a first upright post, a first ferrule, a fixing hole, a second ferrule and a second upright post, wherein the bottom plate is arranged in a flat plate structure, the bottom plate can be completely attached to the top end of a shell, the number of the fixing holes is two, the edge of the inner wall of the fixing hole is subjected to passivation polishing treatment, the diameter size of the fixing hole is consistent, the joint of the first upright post and the bottom plate is arranged in a right-angled angle of ninety degrees, the first ferrule is arranged in an open circular structure, the first ferrule can elastically deform under the action of external force, the second upright post and the first ferrule are arranged in the same way, the second ferrule and the first ferrule are arranged in the same way, bolts are inserted into the round holes of the first ferrule and the second ferrule, and are fixed through the bolts.
Drawings
The accompanying drawings, which are included to provide a further understanding of the utility model and are incorporated in and constitute a part of this specification, illustrate embodiments of the utility model and together with the description serve to explain the principles of the utility model without limiting the utility model in which:
FIG. 1 is a schematic view of the overall structure of a promotion management device for intelligent property according to the present invention;
FIG. 2 is a schematic diagram of a split structure of a promotion management device for an intelligent property according to the present invention;
FIG. 3 is a schematic diagram of the overall structure of the advertising management device fixing module for intelligent property according to the present invention;
FIG. 4 is a schematic diagram of a front view of a fixing module of a promotion management device for an intelligent property according to the present invention;
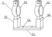
in the figure: 1. a switch button; 2. a confirmation button; 3. a reverse button; 4. a fast forward button; 5. a fixed module; 6. a housing; 7. a heat dissipation grid; 8. a foot pad; 9. a lens; 51. a base plate; 52. a first upright post; 53. a first ferrule; 54. a fixing hole; 55. a second ferrule; 56. and a second upright post.
Detailed Description
The technical solutions in the embodiments of the present invention will be clearly and completely described below with reference to the drawings in the embodiments of the present invention, and it is obvious that the described embodiments are only a part of the embodiments of the present invention, and not all of the embodiments. All other embodiments, which can be derived by a person skilled in the art from the embodiments given herein without making any creative effort, shall fall within the protection scope of the present invention.
Referring to fig. 1-4, the present invention provides a technical solution:
the propaganda management equipment for the intelligent property comprises a shell 6 and pad feet 8, wherein the bottom end of the shell 6 is provided with the pad feet 8 at uniform positions, the pad feet 8 are bolted at the shell 6 through screws, the top end of the shell 6 is arranged on a slope at the front side, the surface of the shell 6 is provided with anti-corrosion paint, the surface of the shell 6 is subjected to insulation treatment, the number of the pad feet 8 is four, the size and the size of the pad feet 8 are consistent, the pad feet 8 are arranged in parallel, the joint of the pad feet 8 and the shell 6 is arranged at a right angle of ninety degrees, the left end and the right end of the shell 6 are provided with heat dissipation grids 7, the heat dissipation grids 7 are bolted at the shell 6 through screws, the number of the heat dissipation grids 7 is two, the heat dissipation grids 7 are subjected to high-temperature resistant treatment, the heat dissipation grids 7 are arranged in vertical parallel, the surface of the heat dissipation grids 7 is provided with the anti-corrosion paint, the front end of the shell 6 is provided with a lens 9 at the position at the upper right corner, the camera lens 9 and power electric connection, the left side position department of camera lens 9 is provided with shift knob 1, shift knob 1 and power electric connection, the top of casing 6 is located that the front side is provided with fast forward button 4 to the left side position department, fast forward button 4 and power electric connection, fast forward button 4's left side position department is provided with confirmation button 2, confirmation button 2 and power electric connection, confirmation button 2's left side position department is provided with backward button 3, backward button 3 and power electric connection, shift knob 1 is the circular structure setting, shift knob 1 can take place elastic deformation under the exogenic action, confirmation button 2 is the circular structure setting, confirmation button 2, backward button 3, fast forward button 4 is located slope position department, this setting can spread the heat through heat dissipation check 7, ensure that equipment carries out normal operating.
The propaganda management equipment for the intelligent property comprises a fixing module 5 arranged at the top end position of a shell 6, the fixing module 5 is bolted at the shell 6 through screws, the surface of the fixing module 5 is subjected to anti-corrosion treatment, the fixing module 5 is positioned at the top end middle position of the shell 6, the fixing module 5 can be elastically deformed under the action of external force, the fixing module 5 comprises a bottom plate 51, a first upright post 52, a first ferrule 53, a fixing hole 54, a second ferrule 55 and a second upright post 56, the top end position of the shell 6 is provided with the bottom plate 51, the top end of the bottom plate 51 is provided with the fixing hole 54 at a uniform position, the fixing hole 54 is integrally formed at the bottom plate 51, the top end of the bottom plate 51 is provided with the first upright post 52 at a left side position, the first upright post 52 is fixed at the bottom plate 51 through welding, the first ferrule 53 is arranged at the top end position of the first upright post 52, and the first ferrule 53 is integrally formed at the first upright post 52, the top of bottom plate 51 is provided with two stands 56 at the position that is located the right side, two stands 56 are through welded fastening in bottom plate 51 department, the top position department of two stands 56 is provided with two ferrules 55, two 55 integrated into one piece of ferrules are in two stands 56 departments, bottom plate 51 is the flat structure setting, bottom plate 51 can laminate completely with the top of casing 6, fixed orifices 54 is provided with two altogether, the inner wall edge of fixed orifices 54 is through the passivation processing of polishing, the diameter size of fixed orifices 54 is unanimous, stand one 52 is ninety degrees right angle setting with bottom plate 51's junction, ferrule one 53 is the setting of open circle structure, elastic deformation can take place under the exogenic action for ferrule 53, stand two 56 are the same setting with stand one 52, ferrule two 55 are the same setting with ferrule one 53, this setting is through the bolt performance of fixed module 5, be convenient for install and stable fixed.
The working principle and the using process of the utility model are as follows: after the installation of the utility model, when the advertising management equipment for the intelligent property is hung in the air, the advertising management equipment needs to be installed and fixed through the fixing module 5, the fixing module 5 is divided into six parts which are respectively a bottom plate 51, a first upright post 52, a first ferrule 53, a fixing hole 54, a second ferrule 55 and a second upright post 56, the bottom plate 51 is arranged in a flat plate structure, the bottom plate 51 can be completely attached to the top end of the shell 6, the fixing hole 54 is totally provided with two parts, the inner wall edge of the fixing hole 54 is subjected to passivation polishing treatment, the diameter size of the fixing hole 54 is consistent, the connecting part of the first upright post 52 and the bottom plate 51 is arranged in a right angle of ninety degrees, the first ferrule 53 is arranged in an open circular structure, the first ferrule 53 can be elastically deformed under the action of external force, the second upright post 56 and the first upright post 52 are arranged in the same way, the second ferrule 55 and the first ferrule 53 are arranged in the same way, bolts are inserted into the round holes of the first ferrule 53 and the second ferrule 55, and are fixed through the bolts, after the installation, the power supply is switched on, the network data is switched on, the switch button 1 is controlled through the remote controller, the equipment is started, and the property propaganda video is released.
Although embodiments of the present invention have been shown and described, it will be appreciated by those skilled in the art that changes, modifications, substitutions and alterations can be made in these embodiments without departing from the principles and spirit of the utility model, the scope of which is defined in the appended claims and their equivalents.
Claims (8)
1. The propaganda management equipment of wisdom property includes casing (6) and pad foot (8), its characterized in that: the bottom end of the shell (6) is provided with pad feet (8) at uniform positions, the pad feet (8) are bolted at the shell (6) through screws, the left and right ends of the shell (6) are provided with heat dissipation grids (7), the heat dissipation grids (7) are bolted at the shell (6) through screws, the front end of the shell (6) is provided with a lens (9) at the position of the upper right corner, the lens (9) is electrically connected with a power supply, the left side position of the lens (9) is provided with a switch button (1), the switch button (1) is electrically connected with the power supply, the top end of the shell (6) is provided with a fast forward button (4) at the position of the front side deviated from the left side position, the fast forward button (4) is electrically connected with the power supply, the left side position of the fast forward button (4) is provided with a confirmation button (2), and the confirmation button (2) is electrically connected with the power supply, the left side position of the confirmation button (2) is provided with a reversing button (3), the reversing button (3) is electrically connected with a power supply, the top end position of the shell (6) is provided with a fixing module (5), the fixing module (5) is bolted to the shell (6) through screws, the fixing module (5) comprises a bottom plate (51), a first upright post (52), a first ferrule (53), a fixing hole (54), a second ferrule (55) and a second upright post (56), the top end position of the shell (6) is provided with the bottom plate (51), the top end of the bottom plate (51) is provided with the fixing hole (54) at a uniform position, the fixing hole (54) is integrally formed at the bottom plate (51), the top end of the bottom plate (51) is provided with the first upright post (52) at the left side position, and the first upright post (52) is fixed at the bottom plate (51) through welding, the top end position of the first upright post (52) is provided with a first ferrule (53), the first ferrule (53) is integrally formed at the first upright post (52), the top end of the bottom plate (51) is provided with a second upright post (56) at the position at the right side, the second upright post (56) is fixed at the bottom plate (51) through welding, the top end position of the second upright post (56) is provided with a second ferrule (55), and the second ferrule (55) is integrally formed at the second upright post (56).
2. The intelligent property promotion management apparatus according to claim 1, wherein: the utility model discloses a solar energy storage battery, including pad foot (8), the size of pad foot (8), specification are unanimous setting, be parallel arrangement between pad foot (8), the junction of pad foot (8) and casing (6) is ninety degree right angle settings.
3. The intelligent property promotion management apparatus according to claim 1, wherein: the heat dissipation grids (7) are arranged in two, the heat dissipation grids (7) are subjected to high-temperature-resistant treatment, the heat dissipation grids (7) are arranged in a vertical parallel mode, and anti-corrosion paint is arranged on the surfaces of the heat dissipation grids (7).
4. The intelligent property promotion management apparatus according to claim 1, wherein: the top end of the shell (6) is arranged on the front side in a slope mode, anti-corrosion paint is arranged on the surface of the shell (6), and the surface of the shell (6) is subjected to insulation treatment.
5. The intelligent property promotion management apparatus according to claim 1, wherein: the switch button (1) is arranged in a circular structure, the switch button (1) can elastically deform under the action of external force, the confirmation button (2) is arranged in a circular structure, and the confirmation button (2), the reverse button (3) and the fast forward button (4) are located at a slope position.
6. The intelligent property promotion management apparatus according to claim 1, wherein: the surface of the fixing module (5) is subjected to anti-corrosion treatment, the fixing module (5) is located in the middle of the top end of the shell (6), and the fixing module (5) can elastically deform under the action of external force.
7. The intelligent property promotion management apparatus according to claim 1, wherein: the bottom plate (51) is a flat plate structure, the bottom plate (51) can be completely attached to the top end of the shell (6), two fixing holes (54) are formed, the edge of the inner wall of each fixing hole (54) is subjected to passivation polishing treatment, and the diameter of each fixing hole (54) is consistent.
8. The intelligent property promotion management apparatus according to claim 1, wherein: the connecting part of the first upright post (52) and the bottom plate (51) is arranged at a right angle of ninety degrees, the first ferrule (53) is arranged in an open circular structure, the first ferrule (53) can be elastically deformed under the action of external force, the second upright post (56) and the first upright post (52) are arranged in the same way, and the second ferrule (55) and the first ferrule (53) are arranged in the same way.
Priority Applications (1)
| Application Number | Priority Date | Filing Date | Title |
|---|---|---|---|
| CN202123101206.8U CN216696964U (en) | 2021-12-11 | 2021-12-11 | Propaganda management equipment of wisdom property |
Applications Claiming Priority (1)
| Application Number | Priority Date | Filing Date | Title |
|---|---|---|---|
| CN202123101206.8U CN216696964U (en) | 2021-12-11 | 2021-12-11 | Propaganda management equipment of wisdom property |
Publications (1)
| Publication Number | Publication Date |
|---|---|
| CN216696964U true CN216696964U (en) | 2022-06-07 |
Family
ID=81837362
Family Applications (1)
| Application Number | Title | Priority Date | Filing Date |
|---|---|---|---|
| CN202123101206.8U Active CN216696964U (en) | 2021-12-11 | 2021-12-11 | Propaganda management equipment of wisdom property |
Country Status (1)
| Country | Link |
|---|---|
| CN (1) | CN216696964U (en) |
-
2021
- 2021-12-11 CN CN202123101206.8U patent/CN216696964U/en active Active
Similar Documents
| Publication | Publication Date | Title |
|---|---|---|
| CN204836039U (en) | Multi -functional portable solar electric system | |
| CN207559918U (en) | A kind of solar photovoltaic generation system | |
| CN216696964U (en) | Propaganda management equipment of wisdom property | |
| CN202709303U (en) | Solar-energy and wind-energy air conditioner | |
| CN207459457U (en) | A kind of power distribution cabinet using solar wind-energy | |
| CN212456628U (en) | Novel solar lamp | |
| CN210053021U (en) | Outdoor firm box switch board of type | |
| CN210225341U (en) | Distributed photovoltaic power station energy storage system | |
| CN220673445U (en) | Outdoor solar sharing power supply equipment | |
| CN208997948U (en) | A kind of mains hybrid formula intelligent LED solar street light | |
| CN217088513U (en) | Detector for weak current engineering | |
| CN216774361U (en) | Photovoltaic power generation intelligent monitoring system | |
| CN202712937U (en) | Alternative, direct current type solar photovoltaic household power supply system | |
| CN218920379U (en) | Household solar energy storage device | |
| CN210807175U (en) | Double-sided power generation photovoltaic module | |
| CN222355752U (en) | Solar power supply power distribution cabinet | |
| CN216716343U (en) | Energy-saving environment-friendly floor heating device | |
| CN223451933U (en) | Distributed energy storage photovoltaic panels | |
| CN218603216U (en) | Wall-mounted energy storage system | |
| CN218301350U (en) | Portable lithium battery energy storage photovoltaic power generation device | |
| CN222190895U (en) | Energy storage box | |
| CN221948591U (en) | Energy-saving and environmentally friendly electric control cabinet | |
| CN210603599U (en) | A complete set of monitoring equipment for microgrid working status | |
| CN221407418U (en) | Power supply monitoring equipment based on Internet of things | |
| CN221151593U (en) | Mounting rack for industrial heater |
Legal Events
| Date | Code | Title | Description |
|---|---|---|---|
| GR01 | Patent grant | ||
| GR01 | Patent grant |