CN216684352U - Power supply accessory and power supply module - Google Patents
Power supply accessory and power supply module Download PDFInfo
- Publication number
- CN216684352U CN216684352U CN202123347846.7U CN202123347846U CN216684352U CN 216684352 U CN216684352 U CN 216684352U CN 202123347846 U CN202123347846 U CN 202123347846U CN 216684352 U CN216684352 U CN 216684352U
- Authority
- CN
- China
- Prior art keywords
- power supply
- power
- accessory
- connector
- circuit board
- Prior art date
- Legal status (The legal status is an assumption and is not a legal conclusion. Google has not performed a legal analysis and makes no representation as to the accuracy of the status listed.)
- Active
Links
Images
Classifications
-
- Y—GENERAL TAGGING OF NEW TECHNOLOGICAL DEVELOPMENTS; GENERAL TAGGING OF CROSS-SECTIONAL TECHNOLOGIES SPANNING OVER SEVERAL SECTIONS OF THE IPC; TECHNICAL SUBJECTS COVERED BY FORMER USPC CROSS-REFERENCE ART COLLECTIONS [XRACs] AND DIGESTS
- Y02—TECHNOLOGIES OR APPLICATIONS FOR MITIGATION OR ADAPTATION AGAINST CLIMATE CHANGE
- Y02T—CLIMATE CHANGE MITIGATION TECHNOLOGIES RELATED TO TRANSPORTATION
- Y02T10/00—Road transport of goods or passengers
- Y02T10/60—Other road transportation technologies with climate change mitigation effect
- Y02T10/7072—Electromobility specific charging systems or methods for batteries, ultracapacitors, supercapacitors or double-layer capacitors
Landscapes
- Charge And Discharge Circuits For Batteries Or The Like (AREA)
- Battery Mounting, Suspending (AREA)
Abstract
本实用新型提供了一种电源配件及电源模组,电源模组包括电源组件和电源,电源配件包括第一连接件、第二连接件和主体电路板,主体电路板用于在外接设备通过电源配件连接于电源时,调节电源为外接设备放电时的电压或电流,或者调节外接设备为电源充电时的电压或电流。这样,在电源配件中设置具有双向调节电压和电流的电路,从而在通过电源配件连接将电源和外接设备连接的情况下,可以调节电源为外接设备放电时的电压或电流,或者外接设备为电源充电时的电压或电流,不仅可以自动实现充放电调整切换,还可以提高电池的兼容性和通用性,同时减少生产电池的成本,最终提高运营效率。
The utility model provides a power supply accessory and a power supply module. The power supply module includes a power supply assembly and a power supply. The power supply accessory includes a first connecting piece, a second connecting piece and a main body circuit board. The main body circuit board is used for connecting an external device through a power supply When the accessory is connected to the power source, adjust the voltage or current when the power source is discharging the external device, or adjust the voltage or current when the external device is charging the power source. In this way, a circuit with bidirectional voltage and current regulation is provided in the power supply accessory, so that when the power supply and the external device are connected through the power supply accessory connection, the voltage or current when the power supply is discharged to the external device can be adjusted, or the external device is the power supply. The voltage or current during charging can not only automatically realize the adjustment and switching of charging and discharging, but also improve the compatibility and versatility of batteries, while reducing the cost of producing batteries, and ultimately improving operational efficiency.
Description
技术领域technical field
本公开涉及电源领域,具体而言,涉及一种电源配件及电源模组。The present disclosure relates to the field of power supplies, and in particular, to a power supply accessory and a power supply module.
背景技术Background technique
随着生活的发展,电子技术的不断进步,共享电动车在全国范围内迅速推广,成为了越来越多的人近距离出行的主要交通工具,在越来越多人使用的同时,共享电动车数量也快速增加,因此生产的共享电动车的电池数量需要远超于共享电动车数量,才能保证共享电动车辆可以正常运营。With the development of life and the continuous progress of electronic technology, shared electric vehicles have been rapidly promoted across the country and have become the main means of transportation for more and more people to travel in close distances. The number of vehicles has also increased rapidly, so the number of batteries in the shared electric vehicles produced needs to be far more than the number of shared electric vehicles in order to ensure that the shared electric vehicles can operate normally.
在共享电动车电池生产完成后,由于不同车型之间的电池组规格无法改变,不同车型之间的电池组基本无法通用,导致电池的通用性和兼容性较差,进而在一定程度上大大降低运营效率。After the production of shared electric vehicle batteries is completed, since the specifications of battery packs between different models cannot be changed, the battery packs between different models are basically unusable, resulting in poor battery versatility and compatibility, which is greatly reduced to a certain extent. Operational efficiency.
实用新型内容Utility model content
有鉴于此,本公开实施例提供了一种电源配件及电源模组,至少部分解决现有技术中存在的问题。In view of this, the embodiments of the present disclosure provide a power supply accessory and a power supply module, which at least partially solve the problems existing in the prior art.
本实用新型实施例提供的一种电源配件,电源配件包括第一连接件、第二连接件和设置有电源调节电路的主体电路板;A power supply accessory provided by an embodiment of the present invention includes a first connector, a second connector, and a main body circuit board provided with a power supply adjustment circuit;
所述第一连接件和所述第二连接件分别位于所述主体电路板的两侧,并分别与所述主体电路板电连接,所述第一连接件用于与电源电连接,所述第二连接件用于与外接设备电连接;The first connector and the second connector are located on two sides of the main body circuit board respectively, and are respectively electrically connected to the main body circuit board. The first connector is used for electrical connection with a power supply, and the The second connector is used for electrical connection with the external device;
所述主体电路板用于在所述外接设备通过所述电源配件连接于所述电源的情况下,调节所述电源为所述外接设备放电时的电压或电流,或者调节所述外接设备为所述电源充电时的电压或电流。The main body circuit board is used to adjust the voltage or current of the power supply when the external device is discharged to the external device, or adjust the external device to be The voltage or current at which the power supply is charging.
在一些实施方式中,所述主体电路板包括电源调节电路、主控芯片和电路板本体,所述电源调节电路和所述主控芯片设置于所述电路板本体上;In some embodiments, the main circuit board includes a power conditioning circuit, a main control chip, and a circuit board body, and the power conditioning circuit and the main control chip are disposed on the circuit board body;
所述电源调节电路的第一端与所述第一连接件连接,所述电源调节电路的第二端与所述第二连接件连接,所述电源调节电路的控制端与所述主控芯片连接,用于根据所述主控芯片的控制信号调节所述电源调节电路中的电压或电流大小。The first end of the power conditioning circuit is connected to the first connecting piece, the second end of the power conditioning circuit is connected to the second connecting piece, and the control end of the power conditioning circuit is connected to the main control chip is connected to adjust the voltage or current in the power supply adjustment circuit according to the control signal of the main control chip.
在一些实施方式中,所述主体电路板还包括第一通信总线,所述第一通信总线的两端分别与所述主控芯片和所述第一连接件连接,所述主控芯片通过所述第一通信总线和所述第一连接件与所述电源进行通信,用于确定所述电源的充电参数和/或放电参数。In some embodiments, the main body circuit board further includes a first communication bus, two ends of the first communication bus are respectively connected to the main control chip and the first connector, and the main control chip passes through the The first communication bus and the first connector communicate with the power source for determining a charging parameter and/or a discharging parameter of the power source.
在一些实施方式中,所述主体电路板还包括第二通信总线,所述第二通信总线的两端分别与所述主控芯片和所述第二连接件连接,所述主控芯片通过所述第二通信总线和所述第二连接件与所述外接设备进行通信,用于确定所述外接设备的充电参数和/或放电参数。In some embodiments, the main body circuit board further includes a second communication bus, two ends of the second communication bus are respectively connected to the main control chip and the second connector, and the main control chip passes through the The second communication bus and the second connector communicate with the external device, and are used to determine the charging parameter and/or the discharging parameter of the external device.
在一些实施方式中,所述电源配件还包括外壳,部分所述第一连接件、部分所述第二连接件和所述主体电路板设置于所述外壳中。In some embodiments, the power supply accessory further includes a housing in which a portion of the first connector, a portion of the second connector, and the main body circuit board are disposed.
在一些实施方式中,所述第一连接件上用于与所述电源连接的一端从所述外壳中伸出所述外壳,以便与所述电源连接。In some embodiments, one end of the first connector for connecting with the power source extends out of the casing from the casing so as to be connected to the power source.
在一些实施方式中,所述第二连接件上用于与所述外接设备连接的一端从所述外壳中伸出所述外壳,以便与所述外接设备连接。In some implementation manners, one end of the second connecting member for connecting with the external device extends out of the housing from the housing so as to be connected with the external device.
在一些实施方式中,所述外壳上设置夹持部,所述夹持部位于所述外壳上靠近所述第一连接件的一端,并由所述外壳本体向所述外壳外部延伸形成,用于在所述第一连接件与所述电源连接时固定所述电源。In some embodiments, a clamping portion is provided on the casing, the clamping portion is located at one end of the casing close to the first connecting member, and is formed by extending from the casing body to the outside of the casing. The power source is fixed when the first connector is connected to the power source.
在一些实施方式中,所述外壳上设置有收容仓,所述电源收容于所述收容仓中,并与所述第一连接件连接。In some embodiments, a receiving compartment is disposed on the housing, and the power source is received in the receiving compartment and connected to the first connecting member.
在一些实施方式中,所述电源调节电路为双向BUCK-BOOST电路。In some embodiments, the power conditioning circuit is a bidirectional buck-boost circuit.
在一些实施方式中,所述电源为电池组,所述电池组包括锂电池和/或蓄电池。In some embodiments, the power source is a battery pack including lithium batteries and/or accumulators.
本实用新型还提供一种电源模组,所述电源模组包括上述的电源配件和电源。The utility model also provides a power supply module, which includes the above-mentioned power supply accessories and a power supply.
本实用新型实施例提供的一种电源配件及电源模组,电源组件包括第一连接件、第二连接件和设置有电源调节电路的主体电路板,所述第一连接件和所述第二连接件分别位于所述主体电路板的两侧,并分别与所述主体电路板电连接,所述第一连接件用于与电源电连接,所述第二连接件用于与外接设备电连接;所述主体电路板用于在所述外接设备通过所述电源配件连接于所述电源的情况下,调节所述电源为所述外接设备放电时的电压或电流,或者调节所述外接设备为所述电源充电时的电压或电流。The embodiment of the present invention provides a power supply accessory and a power supply module. The power supply assembly includes a first connector, a second connector, and a main body circuit board provided with a power supply adjustment circuit. The first connector and the second connector The connecting pieces are respectively located on both sides of the main body circuit board, and are respectively electrically connected to the main body circuit board. The first connecting piece is used for electrical connection with a power supply, and the second connecting piece is used for electrical connection with an external device ; The main body circuit board is used to adjust the voltage or current of the power supply when the external device is discharged when the external device is connected to the power supply through the power supply accessory, or adjust the external device to be The voltage or current at which the power supply is charging.
这样,在电源配件中设置具有双向调节电压和电流的电路,从而在通过电源配件连接将电源和外接设备连接的情况下,可以调节电源为外接设备放电时的电压或电流,或者外接设备为电源充电时的电压或电流,不仅可以自动实现充放电调整切换,还可以提高电池的兼容性和通用性,同时减少生产电池的成本,最终提高运营效率。In this way, a circuit with bidirectional voltage and current regulation is provided in the power supply accessory, so that when the power supply and the external device are connected through the power supply accessory connection, the voltage or current when the power supply is discharged to the external device can be adjusted, or the external device is the power supply The voltage or current during charging can not only automatically realize the adjustment and switching of charging and discharging, but also improve the compatibility and versatility of batteries, while reducing the cost of producing batteries, and ultimately improving operational efficiency.
为使本公开的上述目的、特征和优点能更明显易懂,下文特举较佳实施例,并配合所附附图,作详细说明如下。In order to make the above-mentioned objects, features and advantages of the present disclosure more obvious and easy to understand, the preferred embodiments are exemplified below, and are described in detail as follows in conjunction with the accompanying drawings.
附图说明Description of drawings
为了更清楚地说明本公开实施例的技术方案,下面将对实施例中所需要使用的附图作简单地介绍,此处的附图被并入说明书中并构成本说明书中的一部分,这些附图示出了符合本公开的实施例,并与说明书一起用于说明本公开的技术方案。应当理解,以下附图仅示出了本公开的某些实施例,因此不应被看作是对范围的限定,对于本领域普通技术人员来讲,在不付出创造性劳动的前提下,还可以根据这些附图获得其他相关的附图。In order to explain the technical solutions of the embodiments of the present disclosure more clearly, the following briefly introduces the accompanying drawings required in the embodiments, which are incorporated into the specification and constitute a part of the specification. The drawings illustrate embodiments consistent with the present disclosure, and together with the description serve to explain the technical solutions of the present disclosure. It should be understood that the following drawings only show some embodiments of the present disclosure, and therefore should not be regarded as limiting the scope. Other related figures are obtained from these figures.
图1示出了本公开实施例所提供的一种电源模组的立体图;FIG. 1 shows a perspective view of a power module provided by an embodiment of the present disclosure;
图2示出了图1中II-II处所示的剖面图;Fig. 2 shows the sectional view shown at II-II in Fig. 1;
图3示出了本公开实施例所提供的一种主体电路板的电气架构示意图;FIG. 3 shows a schematic diagram of an electrical architecture of a main circuit board provided by an embodiment of the present disclosure;
图4示出了本公开实施例所提供的另一种电源模组的剖面图;FIG. 4 shows a cross-sectional view of another power module provided by an embodiment of the present disclosure;
图5示出了本公开实施例所提供的又一种电源模组的剖面图。FIG. 5 shows a cross-sectional view of yet another power module provided by an embodiment of the present disclosure.
附图标号的说明如下:The reference numerals are explained as follows:
100-电源模组;100-power module;
110-电源配件;110 - Power accessories;
111-第一连接件;112-第二连接件;113-主体电路板;114-外壳;111-first connector; 112-second connector; 113-body circuit board; 114-shell;
1131-电源调节电路;1132-主控芯片;1133-电路板本体;1131- power regulation circuit; 1132- main control chip; 1133- circuit board body;
134-第一通信总线;135-第二通信总线;134-the first communication bus; 135-the second communication bus;
电源120;
2141-夹持部;3141-收容仓;2141-clamping part; 3141-accommodating bin;
具体实施方式Detailed ways
为使本公开实施例的目的、技术方案和优点更加清楚,下面将结合本公开实施例中附图,对本公开实施例中的技术方案进行清楚、完整地描述,显然,所描述的实施例仅仅是本公开一部分实施例,而不是全部的实施例。通常在此处附图中描述和示出的本公开实施例的组件可以以各种不同的配置来布置和设计。因此,以下对在附图中提供的本公开的实施例的详细描述并非旨在限制要求保护的本公开的范围,而是仅仅表示本公开的选定实施例。基于本公开的实施例,本领域技术人员在没有做出创造性劳动的前提下所获得的所有其他实施例,都属于本公开保护的范围。In order to make the purposes, technical solutions and advantages of the embodiments of the present disclosure more clear, the technical solutions in the embodiments of the present disclosure will be clearly and completely described below with reference to the accompanying drawings in the embodiments of the present disclosure. Obviously, the described embodiments are only These are some, but not all, embodiments of the present disclosure. The components of the disclosed embodiments generally described and illustrated in the drawings herein may be arranged and designed in a variety of different configurations. Therefore, the following detailed description of the embodiments of the disclosure provided in the accompanying drawings is not intended to limit the scope of the disclosure as claimed, but is merely representative of selected embodiments of the disclosure. Based on the embodiments of the present disclosure, all other embodiments obtained by those skilled in the art without creative work fall within the protection scope of the present disclosure.
应注意到:相似的标号和字母在下面的附图中表示类似项,因此,一旦某一项在一个附图中被定义,则在随后的附图中不需要对其进行进一步定义和解释。It should be noted that like numerals and letters refer to like items in the following figures, so once an item is defined in one figure, it does not require further definition and explanation in subsequent figures.
本文中术语“和/或”,仅仅是描述一种关联关系,表示可以存在三种关系,例如,A和/或B,可以表示:单独存在A,同时存在A和B,单独存在B这三种情况。另外,本文中术语“至少一种”表示多种中的任意一种或多种中的至少两种的任意组合,例如,包括A、B、C中的至少一种,可以表示包括从A、B和C构成的集合中选择的任意一个或多个元素。The term "and/or" in this paper only describes an association relationship, which means that there can be three kinds of relationships, for example, A and/or B, which can mean: the existence of A alone, the existence of A and B at the same time, the existence of B alone. a situation. In addition, the term "at least one" herein refers to any combination of any one of the plurality or at least two of the plurality, for example, including at least one of A, B, and C, and may mean including from A, B, and C. Any one or more elements selected from the set of B and C.
经研究发现,在生产共享电动车电池时,由于存在多种车型,每种车型有不同的电池规格,所以需要按照每种车型需要的电池规格进行生产,且生产完成电池规格无法改变,为了满足正常运营需求,需要生产的电池数量要远大于电动车的数量,在生产大量电池数量的基础上,需要很大的成本来维持正常的运营,且电池使用完成后无法使用设备进行自由充放电,只能再生产一批新的电池,对于环境和资源来说都是很大的消耗,且电池规格无法改变导致不同车型之间的电池组基本无法通用,进而导致电池的通用性和兼容性较差。The research found that when producing shared electric vehicle batteries, due to the existence of various models, each model has different battery specifications, so it needs to be produced according to the battery specifications required by each model, and the battery specifications cannot be changed after production is completed. For normal operation requirements, the number of batteries that need to be produced is much larger than the number of electric vehicles. On the basis of producing a large number of batteries, a large cost is required to maintain normal operation, and the equipment cannot be used for free charging and discharging after the battery is used. Only a new batch of batteries can be produced, which is a huge consumption for the environment and resources, and the battery specifications cannot be changed, which makes the battery packs between different models basically impossible to use, resulting in poor battery versatility and compatibility. .
基于上述研究,本实用新型实施例提供了一种电源配件,包括:第一连接件、第二连接件和设置有电源调节电路的主体电路板,所述第一连接件和所述第二连接件分别位于所述主体电路板的两侧,并分别与所述主体电路板电连接,所述第一连接件用于与电源电连接,所述第二连接件用于与外接设备电连接;所述主体电路板用于在所述外接设备通过所述电源配件连接于所述电源的情况下,调节所述电源为所述外接设备放电时的电压或电流,或者调节所述外接设备为所述电源充电时的电压或电流。Based on the above research, an embodiment of the present utility model provides a power supply accessory, comprising: a first connector, a second connector, and a main body circuit board provided with a power conditioning circuit, the first connector and the second connector The components are respectively located on both sides of the main body circuit board, and are respectively electrically connected to the main body circuit board, the first connecting piece is used for electrical connection with a power supply, and the second connecting piece is used for electrical connection with an external device; The main body circuit board is used to adjust the voltage or current of the power supply when the external device is discharged to the external device, or adjust the external device to be The voltage or current at which the power supply is charging.
这样,通过在所述外接设备通过所述电源配件连接于所述电源的情况下,调节所述电源为所述外接设备放电时的电压或电流,或者调节所述外接设备为所述电源充电时的电压或电流,实现可以根据需求自动实现充放电调整切换,还可以提高电池的兼容性和通用性,在提高电池兼容性的同时减少生产电池的成本,最终提高运营效率。In this way, when the external device is connected to the power source through the power supply accessory, the voltage or current of the power source when discharging the external device is adjusted, or the voltage or current when the external device is charging the power source is adjusted. The voltage or current can be adjusted automatically according to the demand, and the compatibility and versatility of the battery can also be improved. While improving the compatibility of the battery, the cost of producing the battery can be reduced, and finally the operation efficiency can be improved.
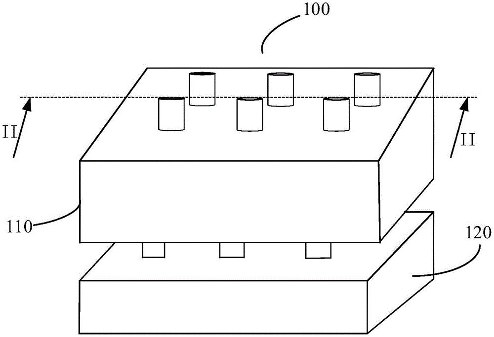
请同时参阅图1和图2,图1为本公开实施例所提供的一种电源模组的立体图,图2为图1中II-II处所示的剖面图。如图1和图2所示,本公开实施例提供的电源模组100,包括电源配件110和电源120,所述电源120位于所述电源配件110的一端,所述电源120与所述电源配件110电连接,所述电源配件110的另一端用于连接外接设备(图未示),所述电源配件110用于对所述电源120进行适配改造,可以使得所述电源120适配于不同用电规格的所述外接设备,以在所述电源120为所述外接设备进行放电,或者所述外接设备为所述电源120进行充电的时候,可以根据所述电源120的充放电参数和所述外接设备的充放电参数等,实时调节充放电的电压或电流,以使所述电源120可以适配于不同规格的外接设备。Please refer to FIG. 1 and FIG. 2 at the same time. FIG. 1 is a perspective view of a power module according to an embodiment of the disclosure, and FIG. 2 is a cross-sectional view shown at II-II in FIG. 1 . As shown in FIG. 1 and FIG. 2 , the
其中,所述电源120可以是多个电池拼接而成的电池组,所述电池组包括锂电池和/或蓄电池。The
所述电源配件110包括第一连接件111、第二连接件112、主体电路板113以及外壳114,部分所述第一连接件111、部分所述第二连接件112和所述主体电路板113设置于所述外壳114中,所述第一连接件111和所述第二连接件112分别位于所述主体电路板113的两侧,并且所述第一连接件111和所述第二连接件112分别与所述主体电路板113电连接,所述第一连接件111用于与所述电源120电连接,以实现所述电源配件110与所述电源120的连接适配,所述第二连接件112用于连接所述外接设备,以实现将所述电源模组100与所述外接设备的连接适配。The
在此需要说明的是,所述第一连接件111和所述第二连接件112可以是引脚、金手指、插接口、连接线等样式。本公开实施例中,是以所述第一连接件111和所述第二连接件112的样式相同,并且其中引脚的数量相同为例进行说明的,但并不局限于此,在其他实施例中,所述第一连接件111和所述第二连接件112的样式也可以是不同的,所述第一连接件111和所述第二连接件112中的引脚的数量也可以是不同的,可以根据各自需要连接的电源和外接设备的情况自由设定。It should be noted here that the first connecting member 111 and the second connecting
所述第一连接件111上用于与所述电源120连接的一端从所述外壳114中伸出所述外壳114,以便与所述电源120连接,所述第一连接件111的另一端位于所述外壳114中,并与所述主体电路板113连接,所述第二连接件112上用于与所述外接设备连接的一端从所述外壳114中伸出所述外壳,以便与所述外接设备连接,所述第二连接件112的另一端位于所述外壳114中,并与所述主体电路板113连接。One end of the first connecting member 111 for connecting with the
其中,第一连接件111和所述第二连接件112可以是一种连接两个有源器件的器件,用来传输电流或信号,接触连接件的双方在经过接触后能够传递讯息或电流,其外形根据具体性能可以是圆形或矩形,其频率可以是低频或高频。Wherein, the first connector 111 and the
请同时参阅图3,图3为本公开实施例所提供的一种主体电路板的电气架构示意图。所述主体电路板113包括电源调节电路1131、主控芯片1132和电路板本体1133,所述电源调节电路1131和所述主控芯片1132设置于所述电路板本体1133上,所述电源调节电路1131的第一端与所述第一连接件111连接,从而实现所述第一连接件111与所述主体电路板113的连接,所述电源调节电路1131的第二端与所述第二连接件112连接,从而实现所述第二连接件112与所述主体电路板113的连接,所述电源调节电路1131的控制端与所述主控芯片1132连接,用于接收所述主控芯片1132的控制信号,对所述电源120输入的电压或电流或者所述外接设备输入的电压或电流进行调节,从而实现根据所述主控芯片1132的控制信号调节所述电源调节电路1131中的电压或电流大小,以使不同规格的电源和外接设备可以在调节后实现适配。Please also refer to FIG. 3 , which is a schematic diagram of an electrical structure of a main circuit board according to an embodiment of the present disclosure. The
所述电路板本体1133固定于所述外壳114中。其中,所述外壳114的内部可以设置有用于承载或者卡扣所述电路板本体1133的凸起(图未示),所述电路板本体1133可以夹持在凸起之间,或者被凸起承载,进一步的,还可以通过粘合剂或者螺钉等紧固件的方式,与凸起固定连接。The
所述主体电路板113还包括第一通信总线134和第二通信总线135。所述第一通信总线134的两端分别与所述主控芯片1132和所述第一连接件111连接,所述主控芯片1132通过所述第一通信总线134和所述第一连接件111与所述电源进行通信,用于确定所述电源120的充电参数和/或放电参数。The
所述第二通信总线135的两端分别与所述主控芯片1132和所述第二连接件112连接,所述主控芯片1132通过所述第二通信总线135和所述第二连接件130与所述外接设备进行通信,用于确定所述外接设备的充电参数和/或放电参数。Two ends of the
电源调节电路1131、主控芯片1132,所述电源调节电路1131上设有第一通信总线134和所述第二通信总线135,所述主控芯片1132一端所述第一通信总线134和所述第一连接件111与电源进行通信,用于确定所述电源的充放电参数,另一端通过所述第二通信总线135和所述第二连接件112与所述外接设备进行通信,用于确定所述外接设备的充放电参数。A power
其中,所述电源调节电路1131可以是双向BUCK-BOOST电路,其输入电压或电流与输出电压或电流的极性是相反的,控制端与所述主控芯片1132相连,在接收到所述主控芯片1132的控制信号时开始工作,也可以是具有双向调节功能的其他电路。Wherein, the
其中,所述主控芯片1132可以是连接各设备之间的桥梁,其可以负责I/O总线之间的通信,如PCI总线、USB、LAN、ATA、SATA、音频控制器、键盘控制器、实时时钟控制器、高级电源管理等。The
其中,所述第一通信总线134和所述第二通信总线135可以是一种有效支持分布式控制或实时控制的CAN串行通信网络总线。Wherein, the
具体的,在所述电源模组100与所述外接设备连接,即所述外接设备通过所述电源配件110与所述电源120实现电连接后,所述电源配件110中的所述主控芯片1132可以通过所述第二连接件112和所述第二通信总线135与所述外接设备进行通信,以识别出所述外接设备的类型,若识别到连接到所述外接设备的类型为对所述电源120进行充电的充电设备时,所述主控芯片1132可以通过所述第二连接件112和所述第二通信总线135与所述外接设备进行通信,进一步获取所述外接设备的放电参数,并且可以通过所述第一连接件111和所述第一通信总线134与所述电源120通信,以识别出所述电源模组200的充电参数,然后可以根据所述外接设备的放电参数和所述电源120的充电参数,调节所述电源调节电路1131中的电压和/或电流,即调节从所述外接设备接收的电压和/或电流的大小,以输出给所述电源120来为所述电源120充电,从而可以实现所述电源120与不同规格的充电设备的适配。Specifically, after the
示例性的,若所述外接设备的充电电压为60V,但电源接受的充电电压为48V时,电源调节电路在接收到输入的60V电压后,可以通过降压的手段将电路中的电压调节至48V,实现对电源的充电。Exemplarily, if the charging voltage of the external device is 60V, but the charging voltage accepted by the power supply is 48V, after receiving the input voltage of 60V, the power supply adjustment circuit can adjust the voltage in the circuit to 48V, to realize the charging of the power supply.
相反的,若识别到所述外接设备的类型为用电设备,即需要所述电源120为所述外接设备进行放电时,所述主控芯片1132可以通过所述第二连接件112和所述第二通信总线135与所述外接设备进行通信,以进一步获取所述外接设备的充电参数,即所述外接设备的用电参数,并且主控芯片1132可以通过所述第一连接件111和所述第一通信总线134与所述电源120进行通信,以获取所述电源120的放电参数,然后可以根据所述外接设备的充电参数和所述电源120的放电参数,调节所述电源调节电路1131中的电压和/或电流,即调节从所述电源120接收的电压和/或电流的大小,以输出给所述外接设备来为所述外接设备供电,从而可以实现所述电源120与不同规格的用电设备的适配。On the contrary, if it is recognized that the type of the external device is a powered device, that is, when the
请同时参阅图4图4为本公开实施例所提供的另一种电源模组的剖面图。如图4中所示,电源模组200包括电源配件210和电源220,所述电源配件210包括第一连接件211、第二连接件212、主体电路板213以及外壳214。图4所示实施例与图2所示实施例的不同之处在于,图4所示实施例中,所述外壳214上设有夹持部2141,所述夹持部2141位于所述外壳214上靠近所述第一连接件211的一端,所述夹持部2141由外壳114本体向所述外壳114外部延伸形成。Please also refer to FIG. 4 and FIG. 4 are cross-sectional views of another power module according to an embodiment of the present disclosure. As shown in FIG. 4 , the
其中,所述夹持部2141可以设置有两个,两个所述夹持部2141分别设置于所述外壳214上相对的两侧,用以在所述第一连接件211与所述电源220连接时夹持所述电源220,从而固定所述电源220。以免造成由于电源固定不稳,电源处连接松动,导致电流传输时不稳定,造成可能漏电,从而影响整体电源配件正常运行的部件。Wherein, there may be two clamping
请同时参阅图5,图5为本公开实施例所提供的又一种电源模组的剖面图。如图5中所示,电源模组300包括电源配件310和电源320,所述电源配件310包括第一连接件311、第二连接件312、主体电路板313以及外壳314。图5所示实施例与图2所示实施例的不同之处在于,图5中所述外壳314上设置有收容仓3141,所述收容仓3141可以为一面开口的盒体,所述电源320可以收容于所述收容仓3141中,并与所述第一连接件311连接。Please also refer to FIG. 5 , which is a cross-sectional view of yet another power module provided by an embodiment of the present disclosure. As shown in FIG. 5 , the
进一步的,所述外壳314还可以设置盖板,以填补所述收容仓3141的开口。Further, the
本实用新型实施例提供的电源配件及电源模组,通过在所述外接设备通过所述电源配件连接于所述电源的情况下,调节所述电源为所述外接设备放电时的电压或电流,或者调节所述外接设备为所述电源充电时的电压或电流,实现可以根据需求自动实现充放电调整切换,还可以提高电池的兼容性和通用性,同时减少生产电池的成本,最终提高运营效率。The power supply accessories and power supply modules provided by the embodiments of the present invention adjust the voltage or current of the power supply when the external device is discharged when the external device is connected to the power supply through the power supply accessory, Or adjust the voltage or current when the external device is charging the power supply, so that the charging and discharging adjustment and switching can be automatically realized according to the demand, and the compatibility and versatility of the battery can also be improved, while the cost of producing the battery can be reduced, and the operation efficiency can be finally improved. .
上面所描述的实施例是本公开实施例一部分实施例,而不是全部的实施例。基于本公开实施例中的实施例,本领域普通技术人员在没有做出创造性劳动前提下所获得的所有其他实施例,都属于本公开实施例保护的范围。The above-described embodiments are some, but not all, of the embodiments of the present disclosure. Based on the embodiments in the embodiments of the present disclosure, all other embodiments obtained by persons of ordinary skill in the art without creative work fall within the protection scope of the embodiments of the present disclosure.
在本公开实施例的描述中,需要说明的是,术语“中心”、“上”、“下”、“左”、“右”、“竖直”、“水平”、“内”、“外”等指示的方位或位置关系为基于附图所示的方位或位置关系,或者是该公开产品使用时惯常摆放的方位或位置关系,仅是为了便于描述本实用新型和简化描述,而不是指示或暗示所指的电动车辆或元件必须具有特定的方位、以特定的方位构造和操作,因此不能理解为对本实用新型的限制。此外,术语“第一”、“第二”、“第三”等仅用于区分描述,而不能理解为指示或暗示相对重要性。In the description of the embodiments of the present disclosure, it should be noted that the terms "center", "upper", "lower", "left", "right", "vertical", "horizontal", "inner", "outer" The orientation or positional relationship indicated by ” etc. is based on the orientation or positional relationship shown in the accompanying drawings, or the orientation or positional relationship that the disclosed product is usually placed in use, only for the convenience of describing the present invention and simplifying the description, not Indicating or implying that the referred electric vehicle or element must have a specific orientation, be constructed and operate in a specific orientation, and therefore should not be construed as a limitation of the present invention. Furthermore, the terms "first", "second", "third", etc. are only used to differentiate the description and should not be construed as indicating or implying relative importance.
在本公开实施例的描述中,还需要说明的是,除非另有明确的规定和限定,术语“设置”、“安装”、“相连”、“连接”应做广义理解,例如,可以是固定连接,也可以是可拆卸连接,或一体地连接;可以是机械连接,也可以是电连接;可以是直接相连,也可以通过中间媒介间接相连,可以是两个元件内部的连通。对于本领域的普通技术人员而言,可以具体情况理解上述术语在本实用新型中的具体含义。In the description of the embodiments of the present disclosure, it should also be noted that, unless otherwise expressly specified and limited, the terms "arranged", "installed", "connected" and "connected" should be understood in a broad sense, for example, it may be fixed The connection can also be a detachable connection, or an integral connection; it can be a mechanical connection or an electrical connection; it can be a direct connection, or an indirect connection through an intermediate medium, and it can be internal communication between two components. For those of ordinary skill in the art, the specific meanings of the above terms in the present invention can be understood in specific situations.
以上所述,仅为本公开实施例的具体实施方式,但本公开实施例的保护范围并不局限于此,任何熟悉本技术领域的技术人员在本公开实施例揭露的技术范围内,可轻易想到的变化或替换,都应涵盖在本公开实施例的保护范围之内。因此,本公开实施例的保护范围应以权利要求的保护范围为准。The above are only specific implementations of the embodiments of the present disclosure, but the protection scope of the embodiments of the present disclosure is not limited thereto. The conceivable changes or substitutions should all fall within the protection scope of the embodiments of the present disclosure. Therefore, the protection scope of the embodiments of the present disclosure should be subject to the protection scope of the claims.
Claims (12)
Priority Applications (1)
| Application Number | Priority Date | Filing Date | Title |
|---|---|---|---|
| CN202123347846.7U CN216684352U (en) | 2021-12-28 | 2021-12-28 | Power supply accessory and power supply module |
Applications Claiming Priority (1)
| Application Number | Priority Date | Filing Date | Title |
|---|---|---|---|
| CN202123347846.7U CN216684352U (en) | 2021-12-28 | 2021-12-28 | Power supply accessory and power supply module |
Publications (1)
| Publication Number | Publication Date |
|---|---|
| CN216684352U true CN216684352U (en) | 2022-06-07 |
Family
ID=81844824
Family Applications (1)
| Application Number | Title | Priority Date | Filing Date |
|---|---|---|---|
| CN202123347846.7U Active CN216684352U (en) | 2021-12-28 | 2021-12-28 | Power supply accessory and power supply module |
Country Status (1)
| Country | Link |
|---|---|
| CN (1) | CN216684352U (en) |
-
2021
- 2021-12-28 CN CN202123347846.7U patent/CN216684352U/en active Active
Similar Documents
| Publication | Publication Date | Title |
|---|---|---|
| US9041338B2 (en) | Portable solar power supply | |
| CN211456715U (en) | Mobile power supply | |
| CN111900502A (en) | Energy storage cabinet | |
| US20060125445A1 (en) | Portable power supply with computer port | |
| WO2008094977A2 (en) | Headphone battery charging | |
| CN111697652B (en) | Charging box, wireless earphone and charging method of wireless earphone | |
| US20160299194A1 (en) | Wireless smart battery system | |
| WO2023186043A1 (en) | Connector plug and electric device | |
| US20190252894A1 (en) | Mobile power bank | |
| CN216684352U (en) | Power supply accessory and power supply module | |
| WO2019018990A1 (en) | Battery pack and electronic equipment | |
| CA2731891C (en) | Mobile communication device employing power pack with multiple pairs of taps | |
| CN208127917U (en) | A kind of multifunction dynamic type mobile power source | |
| US20060049695A1 (en) | Portable power supply with computer ports | |
| CN212935541U (en) | Mobile energy storage equipment | |
| CN201749896U (en) | A mobile phone battery structure | |
| CN211701567U (en) | Take crossover sub's portable power source | |
| CN216530691U (en) | Mobile power supply with solar charging function | |
| CN220628924U (en) | Rechargeable treasured that charges convenient to equipment | |
| CN218998103U (en) | Electronic equipment | |
| CN223462368U (en) | Battery pack with positive and negative terminals having multiple contact points | |
| CN221669592U (en) | Portable emergency power supply device | |
| CN217656469U (en) | Charging and discharging switching circuit based on USB interface and electronic product | |
| CN215956068U (en) | Desktop charger | |
| CN216563861U (en) | Extension socket |
Legal Events
| Date | Code | Title | Description |
|---|---|---|---|
| GR01 | Patent grant | ||
| GR01 | Patent grant | ||
| TR01 | Transfer of patent right |
Effective date of registration: 20250526 Address after: 303, 3rd Floor, Building A, Building 1, Courtyard 6, Tangjialing North Ring Road, Haidian District, Beijing, 100094 Patentee after: BEIJING DIDI INFINITY TECHNOLOGY AND DEVELOPMENT Co.,Ltd. Country or region after: China Address before: 100085 Beijing City Haidian District Shangdi West Road No. 28 Building 2 3rd floor B302 Patentee before: Beijing Qisheng Technology Co.,Ltd. Country or region before: China |
|
| TR01 | Transfer of patent right |
