CN216680022U - Automatic processing device for reticulate pattern through-rolling - Google Patents
Automatic processing device for reticulate pattern through-rolling Download PDFInfo
- Publication number
- CN216680022U CN216680022U CN202122954718.2U CN202122954718U CN216680022U CN 216680022 U CN216680022 U CN 216680022U CN 202122954718 U CN202122954718 U CN 202122954718U CN 216680022 U CN216680022 U CN 216680022U
- Authority
- CN
- China
- Prior art keywords
- supporting plate
- processing device
- movable die
- die
- thread rolling
- Prior art date
- Legal status (The legal status is an assumption and is not a legal conclusion. Google has not performed a legal analysis and makes no representation as to the accuracy of the status listed.)
- Active
Links
- 238000005096 rolling process Methods 0.000 title claims abstract description 41
- 238000007774 anilox coating Methods 0.000 claims description 6
- 230000007246 mechanism Effects 0.000 claims description 6
- 238000003754 machining Methods 0.000 claims description 3
- 238000000034 method Methods 0.000 description 6
- 230000008569 process Effects 0.000 description 6
- 230000009471 action Effects 0.000 description 3
- 230000009286 beneficial effect Effects 0.000 description 1
- 230000008859 change Effects 0.000 description 1
- 238000004049 embossing Methods 0.000 description 1
- 238000001125 extrusion Methods 0.000 description 1
- 230000009191 jumping Effects 0.000 description 1
- 238000012986 modification Methods 0.000 description 1
- 230000004048 modification Effects 0.000 description 1
- 230000000149 penetrating effect Effects 0.000 description 1
Images
Landscapes
- Metal Rolling (AREA)
Abstract
The utility model discloses an automatic processing device for a reticulate pattern through roll, which comprises: the feeding frame comprises a support and a supporting plate, the height of the support is adjustable, the supporting plate is installed on the support, an axial auxiliary cylinder is installed below the supporting plate, a thread rolling module is installed on the workbench and comprises a fixed die and a movable die, the fixed die comprises a fixed die head, a fixed die seat and a first directional traction rod, the movable die comprises a movable die head, a movable die seat and a second directional traction rod, the tail end of the workbench is provided with the traction seat, the pull rod heads of the two directional traction rods are installed on the traction seat, the workbench is further provided with a movable die slide rail, and the movable die seat is installed on the movable die slide rail; and a workpiece guide plate is arranged below the thread rolling module. Through the mode, the distance of the rolling module can be adjusted to meet the processing requirements of different models, and the die sinking cost for processing non-standard parts is reduced.
Description
Technical Field
The utility model relates to the field of thread rolling processing equipment, in particular to an automatic reticulate pattern threading and rolling processing device.
Background
The thread rolling machine is a wire rod embossing equipment commonly used, and the wide application is in components and parts processing field that surface has regular line such as fastener, gear, and common thread rolling machine generally can only roll extrusion fixed length at present, need change different rolling die sets to the product of different models moreover, can't directly process to some depth of working, length non-standard products that all have special requirements, generally can only the die sinking again, and the processing cost is higher.
SUMMERY OF THE UTILITY MODEL
The utility model mainly solves the technical problem of providing the thread rolling device which can adapt to the reticulate pattern penetrating and rolling processing requirement of non-standard products and reduce the die sinking cost.
In order to solve the technical problems, the utility model adopts a technical scheme that: the automatic processing device for the reticulate pattern through rolling is provided and comprises: the feeding frame comprises a support and a supporting plate, the height of the support is adjustable, the supporting plate is installed on the support, an axial auxiliary cylinder is installed below the supporting plate, a thread rolling module is installed on the workbench and consists of two thread rolling dies, one of the thread rolling module is a fixed die and comprises a fixed die head, a fixed die seat and a first directional traction rod, and the other one of the thread rolling module is a movable die; and a workpiece guide plate is arranged below the thread rolling module, and the feeding direction of the workpiece guide plate is consistent with that of the feeding frame.
In a preferred embodiment of the utility model, the cross section of the supporting plate is V-shaped, and the top end of the supporting plate is provided with a stopper structure. And a plurality of guard rails are also arranged on the supporting plate.
In a preferred embodiment of the present invention, the movable mold base is connected to a screw fine adjustment mechanism.
In a preferred embodiment of the utility model, an angle adjusting nut is arranged at the bottom of the workpiece guide plate. The angle adjusting nut can jack up the guide plate by 1-2 degrees upwards along the moving direction of the workpiece.
The utility model has the beneficial effects that: the utility model optimizes the existing thread rolling module, enables the rolling module to adapt to the rolling requirements of workpieces with different models according to the requirements by improving the flexibility of the thread rolling module, is particularly suitable for the workpieces with special requirements on the rolling depth and the rolling length, can meet the process requirements on the basis of not re-opening the die, effectively reduces the frequency of replacing the module by field processing personnel, and reduces the die opening cost for processing non-standard parts.
Drawings
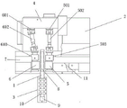
FIG. 1 is a schematic perspective view of a preferred embodiment of the present invention;
the parts in the drawings are numbered as follows:
1. the device comprises a workpiece blank, a workbench, a supporting plate, a drawing seat, a fixed module, a movable sliding rail, a workpiece guide plate, a retaining head structure, a guardrail and a fine adjustment mechanism, wherein the workbench is 2, the supporting plate is 3, the drawing seat is 4, the fixed module is 5, the movable module is 6, the movable sliding rail is 7, the workpiece guide plate is 8, the retaining head structure is 9, the guardrail is 10, and the fine adjustment mechanism is 11;
501. the first pull rod head 502, the first directional pull rod 503 and the fixed die seat 503;
601. a second pull rod head, 602, a second directional pull rod, 603 and a movable die holder.
Detailed Description
The following detailed description of the preferred embodiments of the present invention, taken in conjunction with the accompanying drawings, will make the advantages and features of the utility model easier to understand by those skilled in the art, and thus will clearly and clearly define the scope of the utility model.
Referring to fig. 1, an embodiment of the present invention includes:
an automated anilox cross-rolling processing apparatus comprising: the feeding frame comprises a support and a supporting plate 3, the height of the support is adjustable, the supporting plate 3 is installed on the support, an axial auxiliary cylinder is installed below the supporting plate 3, a thread rolling module is installed on the working table 2 and consists of two thread rolling dies, one is a fixed die 5, the fixed die 5 comprises a fixed die head, a fixed die seat 503 and a first directional traction rod 502, the other is a movable die 6, the movable die comprises a movable die head, a movable die seat 603 and a second directional traction rod 603, the tail end of the working table 2 is provided with a traction seat 4, a first pull rod head 501 of the first directional traction rod 502 and a second pull rod head 601 of the second directional traction rod 602 are installed on the traction seat 4, the first directional traction rod 502 is connected with the fixed die seat 503 and the corresponding first pull rod head 501 through joint bearings, and the second directional traction rod 602 is connected with the movable die seat 603 and the corresponding second pull rod head 601 through joint bearings, the workbench 2 is further provided with a movable die slide rail 7, the movable die holder 603 is mounted on the movable die slide rail 7, and the movable die holder 602 can horizontally move along the movable die slide rail 7 under the action of the second traction rod 602; and a workpiece guide plate 8 is arranged below the thread rolling module, and the workpiece guide plate 8 is consistent with the feeding direction of the feeding frame. The bottom of the workpiece guide plate 8 is provided with an angle adjusting nut which can jack the workpiece guide plate upwards for 1-2 degrees along the movement direction of the workpiece blank 1 to prevent the workpiece blank 1 from being stressed downwards in the machining process to influence the machining quality.
The cross-section of layer board 3 is V-arrangement, layer board top sets up stop structure 9. A plurality of guard rails 10 are further mounted on the supporting plate 3. Through the structure, when the auxiliary cylinder below the supporting plate 3 drives the supporting plate 3 to be far away from the workbench and is connected with the charging position, after the workpiece blank 1 is placed in the supporting plate 3, the workpiece can automatically roll at the middle position of the supporting plate 3 and is propped against the position of the stopper structure 9 in the process that the auxiliary cylinder pushes the supporting plate 3 to be charged, and then the initial axial thrust of the workpiece blank 1 entering the charging position is given under the action of the stopper 9 and the auxiliary cylinder. Meanwhile, the guard rail 10 arranged on the supporting plate 3 can effectively prevent the workpiece 9 from jumping out of the supporting plate 3 after being stressed in the initial processing process.
The fixed die base 503 is connected with a fine adjustment mechanism 11, and the fine adjustment mechanism 11 can perform fine adjustment on the position of the fixed die base 503 in the horizontal direction through a screw rod structure when the model is changed so as to adapt to the size of a new model.
The working principle of the utility model is as follows:
firstly, adjusting the position of a second draw bar head 601 according to the type of a workpiece 1, pulling a movable die holder 603 by using a second directional draw bar 602 to enable the distance between a movable die 6 and a fixed die 5 to be suitable for the corresponding type, loading an element blank 1 on a supporting plate 3 by an automatic feeding device, pushing the supporting plate 3 to move forwards integrally by an auxiliary cylinder below the supporting plate 3, extruding the end of the workpiece blank 1 into a processing position below a rolling module at a certain pressure, automatically rotating forwards in the rolling processing process of the rolling module, and repeating the feeding action after the workpiece 1 is processed to the specified length and is separated from the processing position. The utility model can realize the processing of screw rods with different diameters by adjusting the distance between the movable die 6 and the fixed die 5 between the rolling die sets, and the processing length can be dynamically adjusted according to the requirement without replacing the die sets according to the models, thereby reducing the workload of field personnel, improving the adaptability of equipment, and particularly processing some non-standard parts according to the requirement without re-opening the die, and obviously reducing the processing cost.
The above description is only an embodiment of the present invention, and not intended to limit the scope of the present invention, and all modifications of equivalent structures and equivalent processes performed by the present specification and drawings, or directly or indirectly applied to other related technical fields, are included in the scope of the present invention.
Claims (6)
1. The utility model provides a roll automated processing device is worn to reticulation, its characterized in that, roll automated processing device is worn to reticulation includes: the feeding frame comprises a support and a supporting plate, the height of the support is adjustable, the supporting plate is installed on the support, an axial auxiliary cylinder is installed below the supporting plate, a thread rolling module is installed on the workbench and consists of two thread rolling dies, one of the thread rolling module is a fixed die and comprises a fixed die head, a fixed die seat and a first directional traction rod, and the other one of the thread rolling module is a movable die; and a workpiece guide plate is arranged below the thread rolling module, and the feeding direction of the workpiece guide plate is consistent with that of the feeding frame.
2. The automatic anilox through rolling processing device of claim 1, wherein the cross section of the supporting plate is V-shaped, and a stopper structure is arranged at the top end of the supporting plate.
3. The automatic anilox perforating and rolling processing device as claimed in claim 1, wherein a plurality of guard rails are further mounted on the supporting plate.
4. The automatic anilox perforating and rolling processing device as claimed in claim 1, wherein a lead screw fine adjustment mechanism is connected to the movable die holder.
5. The automatic anilox roller machining device according to claim 1, wherein an angle adjusting nut is arranged at the bottom of the workpiece guide plate.
6. The automatic anilox through rolling processing device as claimed in claim 5, wherein the angle adjusting nut can jack the guide plate upwards by 1-2 degrees along the moving direction of the workpiece.
Priority Applications (1)
| Application Number | Priority Date | Filing Date | Title |
|---|---|---|---|
| CN202122954718.2U CN216680022U (en) | 2021-11-29 | 2021-11-29 | Automatic processing device for reticulate pattern through-rolling |
Applications Claiming Priority (1)
| Application Number | Priority Date | Filing Date | Title |
|---|---|---|---|
| CN202122954718.2U CN216680022U (en) | 2021-11-29 | 2021-11-29 | Automatic processing device for reticulate pattern through-rolling |
Publications (1)
| Publication Number | Publication Date |
|---|---|
| CN216680022U true CN216680022U (en) | 2022-06-07 |
Family
ID=81836987
Family Applications (1)
| Application Number | Title | Priority Date | Filing Date |
|---|---|---|---|
| CN202122954718.2U Active CN216680022U (en) | 2021-11-29 | 2021-11-29 | Automatic processing device for reticulate pattern through-rolling |
Country Status (1)
| Country | Link |
|---|---|
| CN (1) | CN216680022U (en) |
-
2021
- 2021-11-29 CN CN202122954718.2U patent/CN216680022U/en active Active
Similar Documents
| Publication | Publication Date | Title |
|---|---|---|
| CN201136007Y (en) | Hydraulic drawframe | |
| CN101069906A (en) | Metal tube shaping apparatus | |
| CN112620367B (en) | Double-row horizontal drawing machine | |
| CN109551229B (en) | Laser drilling cold rolling mill | |
| CN112845843A (en) | Refrigerator glass door metal end rail forming line | |
| CN213469158U (en) | Bending die | |
| CN112474869A (en) | Three-roller extrusion device for welding sharp-angled square steel | |
| CN219724632U (en) | Steel plate punching machine for angle steel tower | |
| CN216680022U (en) | Automatic processing device for reticulate pattern through-rolling | |
| CN215786094U (en) | Double-head hydraulic press | |
| CN105215065B (en) | Wire straightening machine | |
| CN216705571U (en) | Plate rolling machine | |
| CN211275877U (en) | Adjustable special-shaped wire processing and guiding device | |
| CN217192266U (en) | Automatic screw machine of taking lead of ejection of compact | |
| CN217318325U (en) | Automatic deviation-rectifying Mask die cutting machine for soft coil stock | |
| CN212093954U (en) | Metal stamping die for cold roll forming machine | |
| CN215199237U (en) | Punching die with adjustable drift | |
| CN213591537U (en) | Punching machine is used in work piece processing convenient to change die holder | |
| CN212495002U (en) | Feeding device for flexible connection stamping production | |
| CN112045041A (en) | Continuous rolling and punching device for ultrathin steel strip and application method thereof | |
| CN112893625A (en) | Channel steel numerical control three-side typing punching and shearing equipment | |
| CN223557092U (en) | Feeding device of automatic rolling round flanging forming machine | |
| CN220659097U (en) | Flexible extrusion forming device | |
| CN119680823B (en) | Automatic continuous molding production line for electrical cabinet installation strips | |
| CN222268419U (en) | Continuous die capable of improving efficiency |
Legal Events
| Date | Code | Title | Description |
|---|---|---|---|
| GR01 | Patent grant | ||
| GR01 | Patent grant |