CN216659985U - Electromechanical device transfer device - Google Patents
Electromechanical device transfer device Download PDFInfo
- Publication number
- CN216659985U CN216659985U CN202123439191.6U CN202123439191U CN216659985U CN 216659985 U CN216659985 U CN 216659985U CN 202123439191 U CN202123439191 U CN 202123439191U CN 216659985 U CN216659985 U CN 216659985U
- Authority
- CN
- China
- Prior art keywords
- counterweight base
- volume
- base
- air pump
- electromechanical
- Prior art date
- Legal status (The legal status is an assumption and is not a legal conclusion. Google has not performed a legal analysis and makes no representation as to the accuracy of the status listed.)
- Expired - Fee Related
Links
- 230000007306 turnover Effects 0.000 claims abstract description 27
- 229920001971 elastomer Polymers 0.000 claims description 14
- VYPSYNLAJGMNEJ-UHFFFAOYSA-N Silicium dioxide Chemical compound O=[Si]=O VYPSYNLAJGMNEJ-UHFFFAOYSA-N 0.000 claims description 8
- 239000000741 silica gel Substances 0.000 claims description 8
- 229910002027 silica gel Inorganic materials 0.000 claims description 8
- 238000003466 welding Methods 0.000 claims description 6
- 230000001681 protective effect Effects 0.000 claims description 3
- 238000009434 installation Methods 0.000 claims description 2
- 238000006243 chemical reaction Methods 0.000 abstract description 3
- 229920001821 foam rubber Polymers 0.000 description 6
- 230000035939 shock Effects 0.000 description 6
- 238000010521 absorption reaction Methods 0.000 description 5
- 238000007599 discharging Methods 0.000 description 2
- 238000012986 modification Methods 0.000 description 2
- 230000004048 modification Effects 0.000 description 2
- 230000003139 buffering effect Effects 0.000 description 1
- 238000013016 damping Methods 0.000 description 1
- 230000000694 effects Effects 0.000 description 1
- 238000000034 method Methods 0.000 description 1
Images
Landscapes
- Load-Engaging Elements For Cranes (AREA)
Abstract
The utility model discloses an electromechanical equipment transfer device, which relates to the technical field of electromechanical equipment transfer and comprises a counterweight base, wherein the top of the counterweight base is provided with a matching groove, the right side of the counterweight base is fixedly welded with a push-pull frame, the top of the counterweight base is provided with a small-volume equipment transfer mechanism, the bottom of the counterweight base is provided with a large-volume equipment transfer mechanism, and the small-volume equipment transfer mechanism comprises a movable transfer box. According to the utility model, the movable turnover box is detached from the top of the counterweight base, then the counterweight base is movably inserted into the gap at the bottom of the large-volume electromechanical equipment, the air pump body is controlled to work, the air is filled into the inner cavity of the pneumatic telescopic rod body through the connecting soft air pipe, the pneumatic telescopic rod body is enabled to extend, the counterweight base is enabled to lift the large-volume electromechanical equipment through the reaction force of the movable wheel and the ground, the push-pull frame is pulled along with the lifting of the large-volume electromechanical equipment, and the physical consumption of a user is reduced.
Description
Technical Field
The utility model relates to a transfer device, relates to the technical field of turnover of electromechanical equipment, and particularly relates to an electromechanical equipment transfer device.
Background
When some electromechanical devices are used, the electromechanical devices need to be frequently turned over, and the electromechanical devices are inconvenient to carry through manpower, so that the electromechanical devices need to be turned over through transfer equipment. The following problems exist in the prior art:
1. the common transfer equipment does not have the function of conveniently transferring the large-volume electromechanical equipment, and the large-volume electromechanical equipment needs to be lifted to the inside of the transfer box when being transferred, so that a user is prompted to generate more physical strength consumption and needs to be improved;
2. common transfer equipment does not possess and carries out the function of arranging in order to little volume electromechanical device, and the turnover in-process all directly piles up electromechanical device in the inside of turnover case, produces the quality that friction can influence electromechanical device between the electromechanical device.
SUMMERY OF THE UTILITY MODEL
The utility model provides an electromechanical equipment transfer device, which has the function of facilitating the turnover of large-volume electromechanical equipment and solves the problem that the lifting of the large-volume electromechanical equipment can cause a user to generate more physical power consumption; the other purpose is to solve the problem that the quality of the electromechanical equipment is affected by friction generated between the electromechanical equipment so as to achieve the effect of orderly discharging the electromechanical equipment with small volume.
In order to solve the technical problems, the technical scheme adopted by the utility model is as follows:
the utility model provides an electromechanical device transfer device, includes the counter weight base, the agree with groove has been seted up at the top of counter weight base, the fixed welding in right side of counter weight base has the push-and-pull frame, the top of counter weight base is provided with little volume equipment turnover mechanism, the bottom of counter weight base is provided with bulky equipment turnover mechanism.
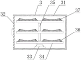
The small-size equipment turnover mechanism comprises a movable turnover box, the bottom of the movable turnover box is movably connected into an inner cavity of the conjunction groove, the front of the movable turnover box is rotatably connected with an access door, the bottom of the inner cavity of the movable turnover box is rotatably connected with a rotating base, and a mounting frame is fixedly welded at the top of the rotating base.
The large-size equipment turnover mechanism comprises an air pump body, the air pump body is fixedly mounted at the bottom of the counterweight base, the output end of the air pump body is fixedly connected with a connecting hose pipe, and a pneumatic telescopic rod body is fixedly mounted at the top of the inner cavity of the counterweight base.
The technical scheme of the utility model is further improved as follows: two one side fixed welding that the mounting bracket is adjacent has the bracing piece, the top fixed mounting of mounting bracket has rubber conical ring, every the quantity of the rubber conical ring that the top of bracing piece set up is six.
The technical scheme of the utility model is further improved as follows: the inner wall of the rubber conical ring is fixedly provided with a limiting sponge pad, and the top of the limiting sponge pad is provided with a groove.
The technical scheme of the utility model is further improved as follows: the air pump is characterized in that one end, far away from the air pump body, of the connecting hose is fixedly connected with the outer wall of the pneumatic telescopic rod body, and a protective net located below the connecting hose is fixedly mounted at the bottom of the counterweight base.
The technical scheme of the utility model is further improved as follows: the fixed welding of removal end of pneumatic telescopic link body has the bradyseism board, the middle part fixed mounting of bradyseism board has damper, damper's bottom is provided with the removal wheel.
The technical scheme of the utility model is further improved as follows: the fixed cover of having connect with the silica gel cushion collar on the outer wall of removal wheel, the fixed sponge cushion collar that has connect of fixed cover on the outer wall of silica gel cushion collar, the fixed rubber antiskid cover that has connect of fixed cover on the outer wall of sponge cushion collar.
Due to the adoption of the technical scheme, compared with the prior art, the utility model has the technical progress that:
1. the utility model provides an electromechanical equipment transfer device, which is characterized in that an air pump body, a connecting soft air pipe, a pneumatic telescopic rod body and a balance weight base are combined, a movable turnover box is detached from the top of the balance weight base, then the balance weight base is movably inserted into a gap at the bottom of large-volume electromechanical equipment, the air pump body is controlled to work, the inner cavity of the pneumatic telescopic rod body is inflated through the connecting soft air pipe, the pneumatic telescopic rod body is enabled to extend, the balance weight base is enabled to lift the large-volume electromechanical equipment through the reaction force of a movable wheel and the ground, a push-pull frame is pulled along with the lifting of the pneumatic telescopic rod body, the mechanical consumption of a user can be reduced, and the convenience of the device is improved.
2. The utility model provides an electromechanical equipment transfer device, which is characterized in that an access door, a mounting frame and a limiting spongy cushion are combined, the access door is opened, electromechanical equipment is placed at the top of the limiting spongy cushion, the mounting frame is rotated along with the access door to replace the position of the limiting spongy cushion, and other electromechanical equipment is sequentially placed at the top of the limiting spongy cushion, so that the function of orderly discharging the electromechanical equipment with small volume is realized, the subsequent taking work is facilitated, and the practicability of the device is improved.
Drawings
FIG. 1 is a schematic structural view of the present invention;
FIG. 2 is a schematic view of the internal structure of the movable turnover box of the present invention;
FIG. 3 is a schematic view of the internal structure of the counterweight base according to the present invention;
fig. 4 is an enlarged schematic view of the structure a of the present invention.
In the figure: 1. a counterweight base; 11. a fitting groove; 2. a push-pull frame;
3. a small-volume equipment turnover mechanism; 31. a movable turnover box; 32. an access door; 33. rotating the base; 34. a mounting frame; 35. a support bar; 36. a rubber conical ring; 37. a position-limiting sponge cushion;
4. a bulk equipment transfer mechanism; 41. an air pump body; 42. connecting a soft air pipe; 43. a pneumatic telescopic rod body; 431. a cushioning plate; 432. a shock absorbing assembly; 433. a moving wheel; 434. a silica gel buffer sleeve; 435. a sponge cushion sleeve; 436. a rubber anti-skid sleeve.
Detailed Description
The present invention will be described in further detail with reference to the following examples:
example 1
As shown in figures 1-4, the utility model provides an electromechanical equipment transfer device, which comprises a counterweight base 1, wherein the top of the counterweight base 1 is provided with a fitting groove 11, the right side of the counterweight base 1 is fixedly welded with a push-pull frame 2, the top of the counterweight base 1 is provided with a small-volume equipment transfer mechanism 3, the bottom of the counterweight base 1 is provided with a large-volume equipment transfer mechanism 4, the small-volume equipment transfer mechanism 3 comprises a movable transfer box 31, the bottom of the movable transfer box 31 is movably connected in an inner cavity of the fitting groove 11, the front of the movable transfer box 31 is rotatably connected with an access door 32, the bottom of the inner cavity of the movable transfer box 31 is rotatably connected with a rotating base 33, the top of the rotating base 33 is fixedly welded with an installation frame 34, the large-volume equipment transfer mechanism 4 comprises an air pump body 41, the air pump body 41 is fixedly arranged at the bottom of the counterweight base 1, the output end of the air pump body 41 is fixedly connected with a soft air pipe 42, the top of the inner cavity of the counterweight base 1 is fixedly provided with a pneumatic telescopic rod body 43, the movable turnover box 31 is detached from the top of the counterweight base 1, then the counterweight base 1 is moved and inserted into a gap at the bottom of the large-volume electromechanical device, the air pump body 41 is controlled to work along with the pneumatic telescopic rod body, the inner cavity of the pneumatic telescopic rod body 43 is inflated through the connecting soft air pipe 42, the pneumatic telescopic rod body 43 is enabled to extend, the counterweight base 1 is enabled to lift the large-volume electromechanical device through the reaction force of the moving wheel 433 and the ground, and the push-pull frame 2 is pulled along with the pneumatic telescopic rod body to move.
Example 2
As shown in fig. 1 to 4, on the basis of embodiment 1, the present invention provides a technical solution: preferably, the fixed welding in the adjacent one side of two mounting brackets 34 has bracing piece 35, the top fixed mounting of mounting bracket 34 has rubber conical ring 36, the quantity of the rubber conical ring 36 that the top of every bracing piece 35 set up is six, fixed mounting has spacing foam-rubber cushion 37 on the inner wall of rubber conical ring 36, the top of spacing foam-rubber cushion 37 is provided with the recess, open access door 32, then put electromechanical device at the top of spacing foam-rubber cushion 37, rotatory mounting bracket 34 thereupon, replace the position of spacing foam-rubber cushion 37, place other electromechanical device at the top of spacing foam-rubber cushion 37 in proper order again, realize carrying out the function of arranging in order to little volume electromechanical device promptly, design through the recess, the stability of lifting means at spacing foam-rubber cushion 37 top.
Example 3
As shown in fig. 1 to 4, on the basis of embodiment 1, the present invention provides a technical solution: preferably, one end of the connecting hose 42 far away from the air pump body 41 is fixedly connected with the outer wall of the pneumatic telescopic rod body 43, a protective net located below the connecting hose 42 is fixedly installed at the bottom of the counterweight base 1, a shock absorption plate 431 is fixedly welded at the moving end of the pneumatic telescopic rod body 43, a shock absorption component 432 is fixedly installed in the middle of the shock absorption plate 431, a moving wheel 433 is arranged at the bottom of the shock absorption component 432, a silica gel buffer sleeve 434 is fixedly sleeved on the outer wall of the moving wheel 433, a sponge buffer sleeve 435 is fixedly sleeved on the outer wall of the silica gel buffer sleeve 434, a rubber anti-skid sleeve 436 is fixedly sleeved on the outer wall of the sponge buffer sleeve 435, and vibration received when the counterweight base 1 moves is reduced through the design of the shock absorption component 432, the equipment on the counterweight base 1 is protected in a buffering mode, and the damping capacity is further improved through the design of the sponge buffer sleeve 435 and the silica gel buffer sleeve 434.
The working principle of the transfer device for the electromechanical device will be described in detail below.
As shown in fig. 1-4, when small-volume equipment is transported, the access door 32 is opened, the corresponding rotary mounting rack 34 is used for sequentially placing the equipment on the top of the limiting sponge mat 37, and then the equipment can be transported, when large-volume equipment is transported, the movable turnover box 31 is disassembled, the counterweight base 1 is moved to the gap at the bottom of the equipment, and then the air pump body 41 is controlled to inflate the inner cavity of the pneumatic telescopic rod body 43, so that the pneumatic telescopic rod body 43 is expanded, the large-volume electromechanical equipment is lifted, and then the push-pull frame 2 can be pulled to move the large-volume electromechanical equipment.
The present invention has been described in general terms in the foregoing, but it will be apparent to those skilled in the art that modifications and improvements can be made thereto based on the present invention. Therefore, modifications or improvements are within the scope of the utility model without departing from the spirit of the inventive concept.
Claims (6)
1. The utility model provides an electromechanical device transfer device, includes counter weight base (1), its characterized in that: the top of the counterweight base (1) is provided with a fit groove (11), the right side of the counterweight base (1) is fixedly welded with a push-pull frame (2), the top of the counterweight base (1) is provided with a small-volume equipment turnover mechanism (3), and the bottom of the counterweight base (1) is provided with a large-volume equipment turnover mechanism (4);
the small-volume equipment turnover mechanism (3) comprises a movable turnover box (31), the bottom of the movable turnover box (31) is movably connected into an inner cavity of the conjunction groove (11), the front of the movable turnover box (31) is rotatably connected with an access door (32), the bottom of the inner cavity of the movable turnover box (31) is rotatably connected with a rotating base (33), and an installation frame (34) is fixedly welded at the top of the rotating base (33);
bulky equipment turnover mechanism (4) include air pump body (41), air pump body (41) fixed mounting is in the bottom of counter weight base (1), the output fixedly connected with of air pump body (41) connects hose pipe (42), the top fixed mounting of counter weight base (1) inner chamber has pneumatic telescopic rod body (43).
2. The electromechanical device transfer apparatus of claim 1, wherein: two one side fixed welding that mounting bracket (34) are adjacent has bracing piece (35), the top fixed mounting of mounting bracket (34) has rubber taper ring (36), every the quantity of the rubber taper ring (36) that the top of bracing piece (35) set up is six.
3. An electromechanical device transfer apparatus according to claim 2, wherein: the inner wall of the rubber conical ring (36) is fixedly provided with a limiting spongy cushion (37), and the top of the limiting spongy cushion (37) is provided with a groove.
4. The electromechanical device transfer apparatus of claim 1, wherein: the air pump is characterized in that one end, far away from the air pump body (41), of the connecting hose pipe (42) is fixedly connected with the outer wall of the pneumatic telescopic rod body (43), and a protective net located below the connecting hose pipe (42) is fixedly mounted at the bottom of the counterweight base (1).
5. An electromechanical device transfer apparatus according to claim 4, wherein: the fixed welding of the removal end of pneumatic telescopic link body (43) has bradyseism board (431), the middle part fixed mounting of bradyseism board (431) has damper (432), damper (432)'s bottom is provided with removal wheel (433).
6. An electromechanical device transfer apparatus according to claim 5, wherein: the fixed cover of having connect silica gel cushion collar (434) on the outer wall of removal wheel (433), the fixed cover of having connected sponge cushion collar (435) on the outer wall of silica gel cushion collar (434), fixed rubber antiskid cover (436) that has cup jointed on the outer wall of sponge cushion collar (435).
Priority Applications (1)
| Application Number | Priority Date | Filing Date | Title |
|---|---|---|---|
| CN202123439191.6U CN216659985U (en) | 2021-12-31 | 2021-12-31 | Electromechanical device transfer device |
Applications Claiming Priority (1)
| Application Number | Priority Date | Filing Date | Title |
|---|---|---|---|
| CN202123439191.6U CN216659985U (en) | 2021-12-31 | 2021-12-31 | Electromechanical device transfer device |
Publications (1)
| Publication Number | Publication Date |
|---|---|
| CN216659985U true CN216659985U (en) | 2022-06-03 |
Family
ID=81761291
Family Applications (1)
| Application Number | Title | Priority Date | Filing Date |
|---|---|---|---|
| CN202123439191.6U Expired - Fee Related CN216659985U (en) | 2021-12-31 | 2021-12-31 | Electromechanical device transfer device |
Country Status (1)
| Country | Link |
|---|---|
| CN (1) | CN216659985U (en) |
-
2021
- 2021-12-31 CN CN202123439191.6U patent/CN216659985U/en not_active Expired - Fee Related
Similar Documents
| Publication | Publication Date | Title |
|---|---|---|
| CN216659985U (en) | Electromechanical device transfer device | |
| CN114955431A (en) | Intelligent transportation equipment for metering scales | |
| CN109725693A (en) | A kind of portable damping Unified Security Gateway management equipment | |
| CN220765292U (en) | Total powerstation protector | |
| CN215097707U (en) | Shock-proof type liquid hydrogen storage and transportation device | |
| CN111573561A (en) | Anti-swing elevator | |
| CN113335734B (en) | Damping box for freight transportation | |
| CN217458472U (en) | Lifting device of glass loading machine | |
| CN212333130U (en) | A clamping device for Bluetooth headset packaging | |
| CN209284682U (en) | Convenient for the beddo of adjusting | |
| CN213595807U (en) | Forklift accessory of portable inflation equipment | |
| CN215018932U (en) | Department of neurology medical care frame | |
| CN114413148A (en) | Thing networking base station fixing device | |
| CN210393302U (en) | Elevator limit switch protection device | |
| CN211297417U (en) | A guard box for placing communication equipment | |
| CN213337580U (en) | Manganese water quality analyzer | |
| CN220721863U (en) | Avoid transportation to collide with glass bottle packing storage facilities | |
| CN216851020U (en) | Circuit breaker maintenance box with buffer structure | |
| CN207520632U (en) | A kind of surge tank for subcritical fluid extraction | |
| CN115143075B (en) | Vacuum energy-saving pump | |
| CN215044952U (en) | Measuring device for urban rail transit communication | |
| CN216220490U (en) | A portable saddlebag for surveying and mapping field | |
| CN213302160U (en) | Novel air environment automatic detector | |
| CN212125918U (en) | A packaging jar for ceramic art product design | |
| CN218750951U (en) | Damping and silencing trolley wheel |
Legal Events
| Date | Code | Title | Description |
|---|---|---|---|
| GR01 | Patent grant | ||
| GR01 | Patent grant | ||
| CF01 | Termination of patent right due to non-payment of annual fee | ||
| CF01 | Termination of patent right due to non-payment of annual fee |
Granted publication date: 20220603 |