CN216642161U - An easy-to-install anchor - Google Patents
An easy-to-install anchor Download PDFInfo
- Publication number
- CN216642161U CN216642161U CN202220253349.6U CN202220253349U CN216642161U CN 216642161 U CN216642161 U CN 216642161U CN 202220253349 U CN202220253349 U CN 202220253349U CN 216642161 U CN216642161 U CN 216642161U
- Authority
- CN
- China
- Prior art keywords
- groove
- adjusting
- frame
- anchor rod
- support frame
- Prior art date
- Legal status (The legal status is an assumption and is not a legal conclusion. Google has not performed a legal analysis and makes no representation as to the accuracy of the status listed.)
- Expired - Fee Related
Links
Images
Classifications
-
- Y—GENERAL TAGGING OF NEW TECHNOLOGICAL DEVELOPMENTS; GENERAL TAGGING OF CROSS-SECTIONAL TECHNOLOGIES SPANNING OVER SEVERAL SECTIONS OF THE IPC; TECHNICAL SUBJECTS COVERED BY FORMER USPC CROSS-REFERENCE ART COLLECTIONS [XRACs] AND DIGESTS
- Y02—TECHNOLOGIES OR APPLICATIONS FOR MITIGATION OR ADAPTATION AGAINST CLIMATE CHANGE
- Y02E—REDUCTION OF GREENHOUSE GAS [GHG] EMISSIONS, RELATED TO ENERGY GENERATION, TRANSMISSION OR DISTRIBUTION
- Y02E10/00—Energy generation through renewable energy sources
- Y02E10/50—Photovoltaic [PV] energy
Landscapes
- Foundations (AREA)
Abstract
本实用新型公开了一种方便安装的锚杆,包括锚杆本体,所述锚杆本体上方设置有支撑架,所述支撑架的底部固定安装有安装块,且支撑架的上方设置有支撑板,所述支撑板的底部固定安装有调节架,所述支撑架的顶部设置有凹口,所述凹口内壁固定连接有固定轴,所述调节架通过固定轴与凹口之间为转动连接,且调节架的底部设置有凹槽,所述凹槽内转动连接有连接件,所述支撑架内设置有调节槽。本实用新型中,通过锚杆与支撑架、支撑板结构的配合设置,可以进行稳定的支撑工作,同时配合调节架、调节块、固定齿轮、调节螺杆、操作轮等结构的配合设置,能够便捷调节支撑板的倾斜角度,从而可以满足一些不同角度倾斜位置支撑的需求。
The utility model discloses an easy-to-install anchor rod, comprising an anchor rod body, a support frame is arranged above the anchor rod body, a mounting block is fixedly installed at the bottom of the support frame, and a support plate is arranged above the support frame , the bottom of the support plate is fixedly installed with an adjustment frame, the top of the support frame is provided with a notch, the inner wall of the notch is fixedly connected with a fixed shaft, and the adjustment frame is connected by a rotation between the fixed shaft and the notch , and the bottom of the adjusting frame is provided with a groove, a connecting piece is rotatably connected in the groove, and an adjusting groove is provided in the support frame. In the utility model, stable support can be carried out through the coordinated arrangement of the anchor rod, the supporting frame and the supporting plate structure, and at the same time, the coordinated arrangement of the adjusting rack, the adjusting block, the fixed gear, the adjusting screw, the operating wheel and other structures can be convenient and convenient. Adjust the inclination angle of the support plate, so that it can meet the needs of support in some inclined positions at different angles.
Description
技术领域technical field
本实用新型涉及锚杆技术领域,尤其涉及一种方便安装的锚杆。The utility model relates to the technical field of anchor rods, in particular to an anchor rod with convenient installation.
背景技术Background technique
在工程技术中,锚杆是一种起到加固效果的支撑工具,在巷道支护、工程建筑支撑等方面使用都非常的普遍,现有的方便安装的锚杆,其支撑结构与锚杆本体之间大多都是固定设置,通常都是设置成垂直形状,这样的设置方式,通常都只适用于与支撑面之间的垂直支撑,当在一些倾斜位置需要支撑时,这样的锚杆结构则存在了极大的局限性,无法稳定进行支撑工作。In engineering technology, bolt is a kind of support tool that plays a reinforcement effect. It is widely used in roadway support, engineering building support, etc. The existing easy-to-install bolt has its supporting structure and the body of the bolt. Most of them are fixedly set, usually set in a vertical shape. This setting method is usually only suitable for vertical support with the support surface. When support is required in some inclined positions, such an anchor structure is There are great limitations, and it is impossible to carry out support work stably.
实用新型内容Utility model content
本实用新型的目的是为了解决现有技术中存在的缺点,而提出的一种方便安装的锚杆。The purpose of the utility model is to provide an easy-to-install anchor rod in order to solve the shortcomings in the prior art.
为了实现上述目的,本实用新型采用了如下技术方案:一种方便安装的锚杆,包括锚杆本体,所述锚杆本体上方设置有支撑架,所述支撑架的底部固定安装有安装块,且支撑架的上方设置有支撑板,所述支撑板的底部固定安装有调节架,所述支撑架的顶部设置有凹口,所述凹口内壁固定连接有固定轴,所述调节架通过固定轴与凹口之间为转动连接,且调节架的底部设置有凹槽,所述凹槽内转动连接有连接件,所述支撑架内设置有调节槽,所述调节槽内嵌套滑动连接调节块,所述连接件的底端与调节块的顶端转动连接,所述调节块的底部设置有螺纹槽二,所述螺纹槽二内螺纹连接有调节螺杆,所述支撑架内设置有定位槽,所述调节螺杆的底端且位于定位槽内固定安装有固定齿轮,所述定位槽内转动连接有操作轮,所述操作轮与固定齿轮为啮合连接。In order to achieve the above purpose, the present utility model adopts the following technical solutions: an easy-to-install anchor rod, comprising an anchor rod body, a support frame is arranged above the anchor rod body, and a mounting block is fixedly installed at the bottom of the support frame, And a support plate is arranged above the support frame, the bottom of the support plate is fixedly installed with an adjustment frame, the top of the support frame is provided with a notch, the inner wall of the notch is fixedly connected with a fixed shaft, and the adjustment frame is fixed by fixing There is a rotational connection between the shaft and the notch, and the bottom of the adjusting frame is provided with a groove, a connecting piece is rotatably connected in the groove, and an adjusting groove is provided in the supporting frame, and the adjusting groove is nested and slidingly connected Adjusting block, the bottom end of the connecting piece is rotatably connected with the top end of the adjusting block, the bottom of the adjusting block is provided with a second thread groove, the second thread groove is internally threaded with an adjusting screw, and the support frame is provided with a positioning The bottom end of the adjusting screw rod is located in the positioning groove and is fixedly installed with a fixed gear, the positioning groove is rotatably connected with an operation wheel, and the operation wheel and the fixed gear are in meshing connection.
作为上述技术方案的进一步描述:As a further description of the above technical solutions:
所述安装块的底部设置有螺纹槽一,所述锚杆本体的顶端设置有与螺纹槽一螺纹配合的外螺纹。The bottom of the mounting block is provided with a threaded
作为上述技术方案的进一步描述:As a further description of the above technical solutions:
所述调节架的底部为倾斜设置。The bottom of the adjusting frame is inclined.
作为上述技术方案的进一步描述:As a further description of the above technical solution:
所述调节架的外表面两侧与支撑板的底部之间均固定安装有加强板。Reinforcing plates are fixedly installed between two sides of the outer surface of the adjusting frame and the bottom of the support plate.
作为上述技术方案的进一步描述:As a further description of the above technical solutions:
所述连接件与调节块结构共设置有两组且对称设置支撑架两侧位置。There are two sets of the connecting piece and the adjusting block structure, and the positions on both sides of the support frame are symmetrically arranged.
作为上述技术方案的进一步描述:As a further description of the above technical solutions:
所述调节块的外表面固定安装有限位滑块,所述调节槽内壁设置有与限位滑块嵌套滑动配合的限位滑槽。A limit slider is fixedly installed on the outer surface of the adjustment block, and a limit chute that is nested and slidably matched with the limit slider is arranged on the inner wall of the adjustment groove.
作为上述技术方案的进一步描述:As a further description of the above technical solutions:
所述调节螺杆的外表面且位于调节槽与定位槽之间连通位置设置有定位轴承。A positioning bearing is provided on the outer surface of the adjusting screw and at the communication position between the adjusting groove and the positioning groove.
作为上述技术方案的进一步描述:As a further description of the above technical solutions:
所述操作轮的一部分位于支撑架的外侧位置。A part of the operating wheel is located on the outer side of the support frame.
本实用新型具有如下有益效果:The utility model has the following beneficial effects:
该方便安装的锚杆,通过锚杆与支撑架、支撑板结构的配合设置,可以进行稳定的支撑工作,同时配合调节架、调节块、固定齿轮、调节螺杆、操作轮等结构的配合设置,能够便捷调节支撑板的倾斜角度,从而可以满足一些不同角度倾斜位置支撑的需求,使用非常的灵活方便,而且整个结构调节完成后具备良好的定位效果,可以两侧调节结构共同受力,保证了倾斜支撑时,整个支撑板与锚杆之间定位的稳定性,不易出现滑脱、晃动、偏移等情况,提升锚杆支撑的安全性。The easy-to-install anchor rod can perform stable support work through the cooperation of the anchor rod, the support frame and the support plate structure, and at the same time, it can cooperate with the adjustment frame, the adjustment block, the fixed gear, the adjustment screw, the operation wheel and other structures. It can easily adjust the inclination angle of the support plate, so that it can meet the needs of some inclined positions of different angles. It is very flexible and convenient to use, and the whole structure has a good positioning effect after the adjustment is completed. When inclined support, the stability of the positioning between the entire support plate and the anchor rod is not easy to slip, shake, offset, etc., and improve the safety of the anchor rod support.
附图说明Description of drawings
图1为本实用新型提出的一种方便安装的锚杆的整体结构示意图;Fig. 1 is the overall structure schematic diagram of a kind of easy-to-install anchor rod proposed by the utility model;
图2为本实用新型提出的一种方便安装的锚杆的正视图;Fig. 2 is the front view of a kind of easy-to-install anchor rod proposed by the utility model;
图3为本实用新型提出的一种方便安装的锚杆的图2中A处的放大图。FIG. 3 is an enlarged view of A in FIG. 2 of an easily installed anchor rod proposed by the utility model.
图例说明:illustration:
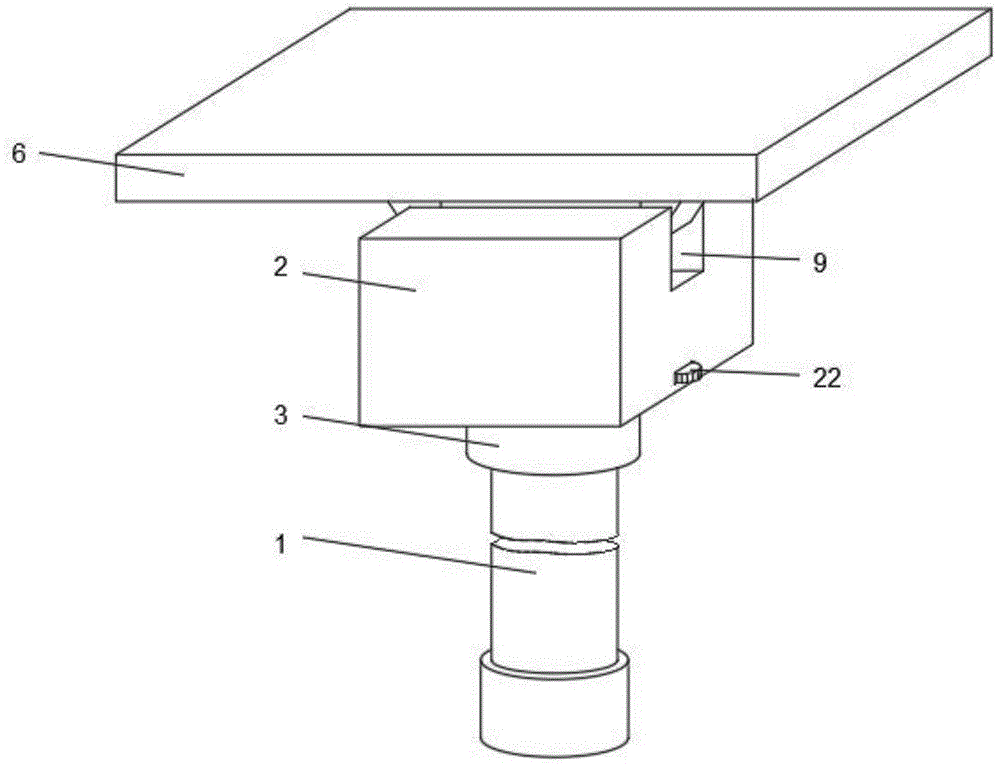
1、锚杆本体;2、支撑架;3、安装块;4、螺纹槽一;5、外螺纹;6、支撑板;7、调节架;8、加强板;9、凹口;10、固定轴;11、凹槽;12、连接件;13、调节槽;14、调节块;15、限位滑块;16、限位滑槽;17、螺纹槽二;18、调节螺杆;19、定位槽;20、固定齿轮;21、定位轴承;22、操作轮。1. Anchor body; 2. Supporting frame; 3. Mounting block; 4.
具体实施方式Detailed ways
下面将结合本实用新型实施例中的附图,对本实用新型实施例中的技术方案进行清楚、完整地描述,显然,所描述的实施例仅仅是本实用新型一部分实施例,而不是全部的实施例。基于本实用新型中的实施例,本领域普通技术人员在没有做出创造性劳动前提下所获得的所有其他实施例,都属于本实用新型保护的范围。The technical solutions in the embodiments of the present utility model will be clearly and completely described below with reference to the accompanying drawings in the embodiments of the present utility model. Obviously, the described embodiments are only a part of the embodiments of the present utility model, rather than all the implementations. example. Based on the embodiments of the present invention, all other embodiments obtained by those of ordinary skill in the art without creative work fall within the protection scope of the present invention.
在本实用新型的描述中,需要说明的是,术语“中心”、“上”、“下”、“左”、“右”、“竖直”、“水平”、“内”、“外”等指示的方位或位置关系为基于附图所示的方位或位置关系,仅是为了便于描述本实用新型和简化描述,而不是指示或暗示所指的装置或元件必须具有特定的方位、以特定的方位构造和操作,因此不能理解为对本实用新型的限制;术语“第一”、“第二”、“第三”仅用于描述目的,而不能理解为指示或暗示相对重要性,此外,除非另有明确的规定和限定,术语“安装”、“相连”、“连接”应做广义理解,例如,可以是固定连接,也可以是可拆卸连接,或一体地连接;可以是机械连接,也可以是电连接;可以是直接相连,也可以通过中间媒介间接相连,可以是两个元件内部的连通。对于本领域的普通技术人员而言,可以具体情况理解上述术语在本实用新型中的具体含义。In the description of the present invention, it should be noted that the terms "center", "upper", "lower", "left", "right", "vertical", "horizontal", "inner" and "outer" The orientation or positional relationship indicated by etc. is based on the orientation or positional relationship shown in the accompanying drawings, which is only for the convenience of describing the present invention and simplifying the description, rather than indicating or implying that the referred device or element must have a specific orientation, with a specific orientation. Therefore, it should not be construed as a limitation to the present invention; the terms "first", "second" and "third" are only used for descriptive purposes, and should not be construed as indicating or implying relative importance. In addition, Unless otherwise expressly specified and limited, the terms "installed", "connected" and "connected" should be understood in a broad sense, for example, it may be a fixed connection, a detachable connection, or an integral connection; it may be a mechanical connection, It can also be an electrical connection; it can be a direct connection, or an indirect connection through an intermediate medium, and it can be an internal connection between two components. For those of ordinary skill in the art, the specific meanings of the above terms in the present invention can be understood in specific situations.
参照图1-3,本实用新型提供的一种实施例:一种方便安装的锚杆,包括锚杆本体1,锚杆本体1上方设置有支撑架2,支撑架2的底部固定安装有安装块3,且支撑架2的上方设置有支撑板6,支撑板6的底部固定安装有调节架7,支撑架2的顶部设置有凹口9,凹口9内壁固定连接有固定轴10,调节架7通过固定轴10与凹口9之间为转动连接,且调节架7的底部设置有凹槽11,凹槽11内转动连接有连接件12,支撑架2内设置有调节槽13,调节槽13内嵌套滑动连接调节块14,连接件12的底端与调节块14的顶端转动连接,调节块14的底部设置有螺纹槽二17,螺纹槽二17内螺纹连接有调节螺杆18,支撑架2内设置有定位槽19,调节螺杆18的底端且位于定位槽19内固定安装有固定齿轮20,定位槽19内转动连接有操作轮22,操作轮22与固定齿轮20为啮合连接。Referring to Figures 1-3, an embodiment provided by the present utility model: an easy-to-install anchor rod, comprising an
进一步方案中,安装块3的底部设置有螺纹槽一4,锚杆本体1的顶端设置有与螺纹槽一4螺纹配合的外螺纹5,通过螺纹结构的配合设置,可以保证锚杆能够便捷稳定的与支撑架2结构进行对接按安装,使用非常方便快捷。In a further scheme, the bottom of the
进一步方案中,调节架7的底部为倾斜设置,调节架7的底部两侧侧边为倾斜设置,可以方便配合整体结构进行支撑板6的倾斜调节操作,从而可以针对一些倾斜位置的支撑使用。In a further solution, the bottom of the
进一步方案中,调节架7的外表面两侧与支撑板6的底部之间均固定安装有加强板8,加强板8的设置可以提升整个支撑板6靠近两端位置的受力面积,保证结构的支撑稳定性。In a further scheme, a
进一步方案中,连接件12与调节块14结构共设置有两组且对称设置支撑架2两侧位置,两组结构的同时相互配合,可以形成一个调节后角度的稳定定位作用,可以保证整个锚杆在进行有倾斜角度支撑时的稳定性。In a further scheme, the connecting
进一步方案中,调节块14的外表面固定安装有限位滑块15,调节槽13内壁设置有与限位滑块15嵌套滑动配合的限位滑槽16,限位结构的设置可以起到一个限位保护效果。In a further solution, a
进一步方案中,调节螺杆18的外表面且位于调节槽13与定位槽19之间连通位置设置有定位轴承21,定位轴承21的设置可以保证调节螺杆18定位安装的稳定性。In a further solution, a
进一步方案中,操作轮22的一部分位于支撑架2的外侧位置,操作轮22的一部分位于支撑架2外侧,可以通过手动拨动操作轮22转动,配合固定齿轮20的设置可以带动调节螺杆18转动,从而可以配合整体结构带动支撑板6调节支撑角度,使用非常方便快捷。In a further solution, a part of the
工作原理:在使用方便安装的锚杆时,将锚杆本体1顶部的外螺纹5拧入安装块3内的螺纹槽一4内,即可将支撑结构与锚杆本体1对接,通过支撑架2上的支撑板6可以配合锚杆本体1进行稳定的支撑工作,当锚杆需要倾斜支撑时,根据支撑的角度需求,同时拨动两侧的操作轮22,一个正转一个反转,两个操作轮22同时带动两个固定齿轮20转动,两个固定齿轮20同时带动两个调节螺杆18转动,两个调节螺杆18则带动两个调节块14一个升一个降,通过连接件12的配合,可以稳定带动调节架7绕固定轴10朝一侧倾斜,即可调节支撑板6的与锚杆之间的倾斜角度,从而可以满足倾斜支撑的需求,调节完成后整个结构的稳定性高,从而可以保证锚杆支撑的稳定性与牢固性。Working principle: When using an easy-to-install anchor, screw the
最后应说明的是:以上所述仅为本实用新型的优选实施例而已,并不用于限制本实用新型,尽管参照前述实施例对本实用新型进行了详细的说明,对于本领域的技术人员来说,其依然可以对前述各实施例所记载的技术方案进行修改,或者对其中部分技术特征进行等同替换,凡在本实用新型的精神和原则之内,所作的任何修改、等同替换、改进等,均应包含在本实用新型的保护范围之内。Finally, it should be noted that the above are only the preferred embodiments of the present invention, and are not intended to limit the present invention. , it can still modify the technical solutions recorded in the foregoing embodiments, or perform equivalent replacements to some of the technical features. Any modification, equivalent replacement, improvement, etc. made within the spirit and principle of the present utility model, All should be included within the protection scope of the present invention.
Claims (8)
Priority Applications (1)
| Application Number | Priority Date | Filing Date | Title |
|---|---|---|---|
| CN202220253349.6U CN216642161U (en) | 2022-02-08 | 2022-02-08 | An easy-to-install anchor |
Applications Claiming Priority (1)
| Application Number | Priority Date | Filing Date | Title |
|---|---|---|---|
| CN202220253349.6U CN216642161U (en) | 2022-02-08 | 2022-02-08 | An easy-to-install anchor |
Publications (1)
| Publication Number | Publication Date |
|---|---|
| CN216642161U true CN216642161U (en) | 2022-05-31 |
Family
ID=81729160
Family Applications (1)
| Application Number | Title | Priority Date | Filing Date |
|---|---|---|---|
| CN202220253349.6U Expired - Fee Related CN216642161U (en) | 2022-02-08 | 2022-02-08 | An easy-to-install anchor |
Country Status (1)
| Country | Link |
|---|---|
| CN (1) | CN216642161U (en) |
-
2022
- 2022-02-08 CN CN202220253349.6U patent/CN216642161U/en not_active Expired - Fee Related
Similar Documents
| Publication | Publication Date | Title |
|---|---|---|
| CN209855238U (en) | Be used for construction template fixing device | |
| CN209978897U (en) | Building energy conservation engineering measuring apparatu | |
| CN213394381U (en) | Construction machinery engineering measuring instrument with adjusting function | |
| CN216642161U (en) | An easy-to-install anchor | |
| CN216180370U (en) | Adjustable hydraulic pipe support | |
| CN213435268U (en) | A fog gun device for concrete production | |
| CN117684766B (en) | Green construction equipment of building brickwork | |
| CN214462885U (en) | Strutting arrangement for building | |
| CN217208771U (en) | Engineering measuring device with adjusting function | |
| CN216865995U (en) | A formwork support device for building engineering construction | |
| CN213840094U (en) | Foundation detection equipment with tripod horizontal support frame for building construction | |
| CN221002106U (en) | Building steel structure support piece | |
| CN217234950U (en) | Optical cable equipment base convenient to disassemble | |
| CN221941367U (en) | On-spot strutting arrangement | |
| CN219241246U (en) | a construction frame | |
| CN220233990U (en) | Cable installation regulating frame for electric power construction | |
| CN220515924U (en) | Support for welding steel structure | |
| CN222084076U (en) | A kind of assembled building construction hoisting lateral support structure | |
| CN219734855U (en) | Camera convenient to angle regulation | |
| CN220102586U (en) | Water conservancy electromechanical device mounting platform | |
| CN221051534U (en) | Adjustable support for building construction | |
| CN221095819U (en) | Unilateral formwork template fixing device | |
| CN217233416U (en) | A foundation reinforcement device | |
| CN220016622U (en) | Support convenient to adjust | |
| CN218881164U (en) | Steel construction with regulatory function |
Legal Events
| Date | Code | Title | Description |
|---|---|---|---|
| GR01 | Patent grant | ||
| GR01 | Patent grant | ||
| CF01 | Termination of patent right due to non-payment of annual fee | ||
| CF01 | Termination of patent right due to non-payment of annual fee |
Granted publication date: 20220531 |
