CN216633465U - Limiting clamp for machining corrugated pipe flat wave interface - Google Patents
Limiting clamp for machining corrugated pipe flat wave interface Download PDFInfo
- Publication number
- CN216633465U CN216633465U CN202123218594.8U CN202123218594U CN216633465U CN 216633465 U CN216633465 U CN 216633465U CN 202123218594 U CN202123218594 U CN 202123218594U CN 216633465 U CN216633465 U CN 216633465U
- Authority
- CN
- China
- Prior art keywords
- semi
- corrugated pipe
- machining
- annular flange
- outer side
- Prior art date
- Legal status (The legal status is an assumption and is not a legal conclusion. Google has not performed a legal analysis and makes no representation as to the accuracy of the status listed.)
- Active
Links
- 238000003754 machining Methods 0.000 title claims abstract description 30
- 230000006835 compression Effects 0.000 claims abstract description 4
- 238000007906 compression Methods 0.000 claims abstract description 4
- 238000000034 method Methods 0.000 description 9
- 239000000463 material Substances 0.000 description 7
- 238000010276 construction Methods 0.000 description 3
- 239000002184 metal Substances 0.000 description 3
- 238000010586 diagram Methods 0.000 description 1
- 238000005516 engineering process Methods 0.000 description 1
- 238000001125 extrusion Methods 0.000 description 1
- 238000009434 installation Methods 0.000 description 1
- 229920002635 polyurethane Polymers 0.000 description 1
- 239000004814 polyurethane Substances 0.000 description 1
- 238000003672 processing method Methods 0.000 description 1
- 238000012797 qualification Methods 0.000 description 1
- 239000002699 waste material Substances 0.000 description 1
Images
Landscapes
- Jigs For Machine Tools (AREA)
Abstract
A limit clamp for processing a corrugated pipe flat wave interface comprises a corrugated pipe to be processed; a cylindrical assembly formed by correspondingly splicing two semi-cylindrical clamping pieces is sleeved on the outer side of the corrugated pipe, and each semi-cylindrical clamping piece is formed by a semi-circular pipe column and a semi-annular flange arranged at one end of the semi-circular pipe column; the inner side end of the semi-annular flange is movably inserted into a first corrugated groove of the corrugated pipe machining end; the outer side of the semi-annular flange is also provided with a limiting pressing piece movably connected with the semi-annular flange, and the limiting pressing piece consists of a pressing ring and a circular cover plate; the compression ring corresponds to the corrugated pipe processing surface on the outer side of the semi-annular flange. The pressure of the center of the machine tool against the circular cover plate is utilized, so that the clamp and the machining surface of the corrugated pipe can be tightly matched and synchronously rotate, and the problem of low machining pass rate of the corrugated pipe interface is solved; the machining requirements can be met by one-time clamping, the machining period is shortened, and meanwhile, the overall machining cost of the flat corrugated pipe is also reduced.
Description
Technical Field
The utility model belongs to the technical field of corrugated pipes, and particularly relates to a limiting clamp for machining a flat wave interface of a corrugated pipe.
Background
The processing technology of the QD interface of the flat corrugated pipe is completed by matching an anchor clamps for clamping the corrugated pipe with a turning machine tool, the traditional anchor clamps utilize the interior of the flat corrugated pipe to penetrate a metal rod with threads, a flexible material cylinder is sleeved on the rod, a polyurethane material is generally selected, a check ring flange is designed at one end of the metal rod, the purpose is to limit one end of the flat corrugated pipe, a check ring flange is also designed at the other end of the flat corrugated pipe, the purpose is to extrude the flexible cylinder through the matching of the threads on the rod and a nut, the flat corrugated pipe is fixed on the flexible cylinder through the deformation of the flexible cylinder, and then the whole clamp and a horizontal lathe are used for enabling the flat corrugated pipe, the metal rod with threads, the flexible material cylinder, the check ring flange and the nut to synchronously rotate along with a chuck, and then the processing surface of the flat corrugated pipe is processed. According to the processing method, in the clamping stage of the flat corrugated pipe, the flexible material is deformed in the circumferential direction in an inconsistent manner in the extrusion process, so that the coaxiality of all corrugations of the corrugated pipe is out of tolerance and cannot meet the processing requirement, and the corrugated pipe is required to be disassembled and then clamped again according to the assembling steps. The different axialities among all the corrugations of the clamped corrugated pipe can be assembled on a lathe for processing only when the machining requirements are met. The clamping procedure of the clamp is too long in time, and the construction period cannot be guaranteed; meanwhile, when the clamp is matched with a machine tool to be processed, due to the flexible factor of the flexible material, the processed surface swings and vibrates in the rotating process, the coaxiality and the roundness of the processed corrugated pipe are out of tolerance, the subsequent process requirements cannot be met, and the qualified rate of the processed surface of the flat corrugated pipe is less than 50%. At present, the problem must be solved by a mode of multiple feeding, so the waste of materials, personnel, construction period and the like is caused.
In order to improve the qualification rate of the flat corrugated pipe vehicle opening and reduce the cost of materials, personnel, construction period and the like. Therefore, there is a need to design a device that can not only overcome the above disadvantages, but also has a practical structure to meet the requirement of the flat corrugated tube QDQD interface.
SUMMERY OF THE UTILITY MODEL
In order to solve the problems in the prior art and meet the process requirements of the flat corrugated pipe QDQD interface form, the utility model provides a limiting clamp for processing a flat corrugated pipe interface.
The utility model is realized by the following technical scheme: a limit clamp for processing a corrugated pipe flat wave interface comprises a corrugated pipe to be processed; a cylindrical assembly formed by correspondingly splicing two semi-cylindrical clamping pieces is sleeved on the outer side of the corrugated pipe, and each semi-cylindrical clamping piece is formed by a semi-circular pipe column and a semi-annular flange arranged at one end of the semi-circular pipe; the inner side end of the semi-annular flange is movably inserted into a first corrugated groove of the corrugated pipe machining end; the outer side of the semi-annular flange is also provided with a limiting pressing piece movably connected with the semi-annular flange, and the limiting pressing piece consists of a pressing ring and a circular cover plate; the compression ring corresponds to the corrugated pipe processing surface on the outer side of the semi-annular flange.
Furthermore, the semicircular pipe column and the semicircular flange are of an integrated structure.
Furthermore, the pressing ring and the circular cover plate are of an integrated structure.
Furthermore, the circular cover plate is also provided with a socket movably inserted with the top of the machine tool.
The utility model has the advantages and characteristics that: the novel corrugated pipe to be processed can be clamped at one time, so that the processing requirement can be met, and the clamping time is saved; the pressure of the circular cover plate is propped against by the center of the machine tool, so that the clamp and the machining surface of the corrugated pipe can be synchronously rotated while being tightly matched, the machining surface cannot swing and vibrate in the rotating process, and the qualified rate of machining the corrugated pipe interface is improved; meanwhile, the overall processing cost of the flat corrugated pipe is also reduced.
Drawings
FIG. 1 is a schematic cross-sectional view of the overall structure of the present invention;
FIG. 2 is a side view of the overall structure of the present invention;
fig. 3 is a schematic diagram of the use state of the present invention.
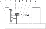
The sequence numbers of the main parts in the figure illustrate that: 1. a semi-cylindrical clamping piece; 101. a semicircular pipe column; 102. a semi-annular flange; 2. a limiting pressing piece; 201. pressing a ring; 202. a circular cover plate; 3. a bellows; 301. a corrugated groove; 302. machining a corrugated pipe surface; 4. a machine tool; 5. a machine tool turntable; 6. a jaw; 7. moving the tailstock; 8. a machine tool center; 9. a machine tool carriage.
In order to more clearly illustrate the technical solutions of the embodiments of the present invention, the drawings needed to be used in the embodiments will be briefly described below, and it is obvious that the drawings in the following description are only embodiments of the present invention, and it is obvious for those skilled in the art that other drawings can be obtained according to the drawings without creative efforts.
Detailed Description
As shown in fig. 1-2, a cylindrical assembly formed by correspondingly splicing two semi-cylindrical clamping pieces 1 is sleeved on the outer side of the corrugated pipe 3 to be processed, and the semi-cylindrical clamping pieces are of an integrated structure formed by a semi-circular pipe column 101 and a semi-annular flange 102 arranged at one end of the semi-circular pipe column; the inner side end of the semi-annular flange is movably inserted into a first corrugated groove 301 of the corrugated pipe machining end; the outer side of the semi-annular flange is also provided with a limit pressing piece 2 movably connected with the semi-annular flange, and the limit pressing piece is of an integrated structure consisting of a pressing ring 201 and a circular cover plate 202; the compression ring corresponds to the corrugated pipe processing surface 302 on the outer side of the semi-annular flange; the circular cover plate is also provided with a socket movably inserted with the machine tool center 8.
The installation and the working process of the utility model are as follows: as shown in fig. 3, the fixed end of the clamp for clamping the corrugated pipe is fixed on the machine tool turntable through the clamping jaw 6 of the machine tool turntable 5, and the position of the fixed clamp is ensured to be coaxial with the chuck; the movement of the movable tailstock 7 is utilized to drive the center of the machine tool to be in plug fit with the socket on the circular cover plate, so that the processed part of the corrugated pipe processing surface on the outer side of the semi-annular flange is exposed on the outer side of the circular cover plate; the pressing ring, the corrugated pipe and the semi-annular flange are clamped and fixed by the pressure of the machine tool center against the circular cover plate; the center of the machine tool is connected with the movable tailstock through a shaft, the motor of the machine tool drives the machine tool rotary table, the corrugated pipe to be machined, the clamp and the center of the machine tool to rotate simultaneously, in the rotating process, the cutter on the movable machine tool knife rest 9 is in contact with the machining surface, the machining surface of the corrugated pipe is turned to the designed size, and machining work of the corrugated pipe interface is finished finally.
The novel corrugated pipe joint machining device utilizes the pressure of the top of the machine tool to support the circular cover plate, realizes the tight fit between the clamp and the corrugated pipe machining surface and can synchronously rotate, and the machining surface does not swing and shake in the rotating process, thereby solving the problem of low machining pass rate of the corrugated pipe joint; the machining requirement can be met by one-time clamping, the machining period is shortened, and meanwhile, the overall machining cost of the flat corrugated pipe is also reduced.
Claims (4)
1. The utility model provides a limit clamp for processing flat ripples interface of bellows, it includes the bellows of treating processing, its characterized in that: a cylindrical assembly formed by correspondingly splicing two semi-cylindrical clamping pieces is sleeved on the outer side of the corrugated pipe, and each semi-cylindrical clamping piece is formed by a semi-circular pipe column and a semi-annular flange arranged at one end of the semi-circular pipe column; the inner side end of the semi-annular flange is movably inserted into a first corrugated groove of the corrugated pipe machining end; the outer side of the semi-annular flange is also provided with a limiting pressing piece movably connected with the semi-annular flange, and the limiting pressing piece consists of a pressing ring and a circular cover plate; the compression ring corresponds to the corrugated pipe processing surface on the outer side of the semi-annular flange.
2. The limit clamp for machining the flat wave interface of the corrugated pipe as claimed in claim 1, wherein: the semicircular pipe column and the semicircular flange are of an integrated structure.
3. The limit clamp for machining the flat wave interface of the corrugated pipe as claimed in claim 1, wherein: the pressing ring and the circular cover plate are of an integrated structure.
4. The limit clamp for machining the flat wave interface of the corrugated pipe as claimed in claim 1, wherein: the circular cover plate is also provided with a socket movably inserted with the top of the machine tool.
Priority Applications (1)
| Application Number | Priority Date | Filing Date | Title |
|---|---|---|---|
| CN202123218594.8U CN216633465U (en) | 2021-12-21 | 2021-12-21 | Limiting clamp for machining corrugated pipe flat wave interface |
Applications Claiming Priority (1)
| Application Number | Priority Date | Filing Date | Title |
|---|---|---|---|
| CN202123218594.8U CN216633465U (en) | 2021-12-21 | 2021-12-21 | Limiting clamp for machining corrugated pipe flat wave interface |
Publications (1)
| Publication Number | Publication Date |
|---|---|
| CN216633465U true CN216633465U (en) | 2022-05-31 |
Family
ID=81743723
Family Applications (1)
| Application Number | Title | Priority Date | Filing Date |
|---|---|---|---|
| CN202123218594.8U Active CN216633465U (en) | 2021-12-21 | 2021-12-21 | Limiting clamp for machining corrugated pipe flat wave interface |
Country Status (1)
| Country | Link |
|---|---|
| CN (1) | CN216633465U (en) |
Cited By (2)
| Publication number | Priority date | Publication date | Assignee | Title |
|---|---|---|---|---|
| CN115647723A (en) * | 2022-12-02 | 2023-01-31 | 沈阳仪表科学研究院有限公司 | Bellows assembly girth welding device and welding method thereof |
| CN117685860A (en) * | 2024-02-02 | 2024-03-12 | 沈阳仪表科学研究院有限公司 | Coaxiality detection device and method for corrugated pipe |
-
2021
- 2021-12-21 CN CN202123218594.8U patent/CN216633465U/en active Active
Cited By (2)
| Publication number | Priority date | Publication date | Assignee | Title |
|---|---|---|---|---|
| CN115647723A (en) * | 2022-12-02 | 2023-01-31 | 沈阳仪表科学研究院有限公司 | Bellows assembly girth welding device and welding method thereof |
| CN117685860A (en) * | 2024-02-02 | 2024-03-12 | 沈阳仪表科学研究院有限公司 | Coaxiality detection device and method for corrugated pipe |
Similar Documents
| Publication | Publication Date | Title |
|---|---|---|
| CN216633465U (en) | Limiting clamp for machining corrugated pipe flat wave interface | |
| CN103978340A (en) | Girth welding device and girth welding method for aircraft pipeline component | |
| CN117961422A (en) | A welding device with precise control function | |
| CN209969403U (en) | Tube expander structure for improving quality of tube expander bell mouth | |
| CN109261816A (en) | A kind of plastic joining method and device between metal pipe material and plate | |
| CN207681647U (en) | A kind of hollow shaft type parts fixture | |
| CN217167271U (en) | Multi-angle positioning welding mechanism | |
| CN116060806A (en) | Stainless steel piece rotating laser welding equipment | |
| CN203765347U (en) | Hydraulic floating centering and clamping transmission device | |
| CN216912739U (en) | Automobile coaxial air conditioner pipe welding fixture | |
| CN114799233B (en) | Closing-in device and closing-in method of filter | |
| CN114290112B (en) | A clamping mechanism for a CNC tube blank automatic chamfering machine | |
| CN216096819U (en) | Multi-piece gear hobbing tool | |
| CN211889014U (en) | Corrugated pipe lathe single-layer tool | |
| CN214237708U (en) | A three-pin shaft type universal joint processing fixing device | |
| CN213163180U (en) | Punching mechanism for numerical control machine tool of jack piston rod | |
| CN110170789B (en) | Automatic shifting tool for butt welding of long rod parts | |
| CN212122448U (en) | Clamp for machining | |
| CN203495641U (en) | Workpiece locating device | |
| CN223146461U (en) | Automatic adjustment tooling and clamping mechanism for pipe welding machine | |
| CN218136398U (en) | Quick positioning and clamping mechanism for drilling machining of box body of pipeline tapping machine | |
| CN222220945U (en) | A clamping device for clamp processing | |
| CN223431211U (en) | Clamping tool for machining multi-station bearing | |
| CN223749071U (en) | Clamping fixture special for processing sheet gear | |
| CN221415480U (en) | End welding device |
Legal Events
| Date | Code | Title | Description |
|---|---|---|---|
| GR01 | Patent grant | ||
| GR01 | Patent grant |