CN216580490U - 一种适用于大型压力钢管的运输台车装置 - Google Patents

一种适用于大型压力钢管的运输台车装置 Download PDF

Info

Publication number
CN216580490U
CN216580490U CN202123063440.6U CN202123063440U CN216580490U CN 216580490 U CN216580490 U CN 216580490U CN 202123063440 U CN202123063440 U CN 202123063440U CN 216580490 U CN216580490 U CN 216580490U
Authority
CN
China
Prior art keywords
trolley device
pressure steel
transportation
transverse frame
hole
Prior art date
Legal status (The legal status is an assumption and is not a legal conclusion. Google has not performed a legal analysis and makes no representation as to the accuracy of the status listed.)
Active
Application number
CN202123063440.6U
Other languages
English (en)
Inventor
彭凌云
梁加虎
李鹏林
周松毅
孟建雄
李一峰
杨先欧
山国林
王芳芳
郑建辉
罗令同
Current Assignee (The listed assignees may be inaccurate. Google has not performed a legal analysis and makes no representation or warranty as to the accuracy of the list.)
Liujiaxia Branch Of China Hydropower Fourth Bureau Lanzhou Machinery Equipment Co ltd
Sinohydro Engineering Bureau 4 Lanzhou Machinery Equipments Co Ltd
Original Assignee
Liujiaxia Branch Of China Hydropower Fourth Bureau Lanzhou Machinery Equipment Co ltd
Sinohydro Engineering Bureau 4 Lanzhou Machinery Equipments Co Ltd
Priority date (The priority date is an assumption and is not a legal conclusion. Google has not performed a legal analysis and makes no representation as to the accuracy of the date listed.)
Filing date
Publication date
Application filed by Liujiaxia Branch Of China Hydropower Fourth Bureau Lanzhou Machinery Equipment Co ltd, Sinohydro Engineering Bureau 4 Lanzhou Machinery Equipments Co Ltd filed Critical Liujiaxia Branch Of China Hydropower Fourth Bureau Lanzhou Machinery Equipment Co ltd
Priority to CN202123063440.6U priority Critical patent/CN216580490U/zh
Application granted granted Critical
Publication of CN216580490U publication Critical patent/CN216580490U/zh
Active legal-status Critical Current
Anticipated expiration legal-status Critical

Links

Images

Landscapes

  • Handcart (AREA)

Abstract

本实用新型提供了一种适用于大型压力钢管的运输台车装置,属于大型压力钢管运输技术领域,它解决了目前为了适应不同管径的压力钢管运输,往往需要设计不同类型运输台车,从而不利于控制成本的问题。本适用于大型压力钢管的运输台车装置,包括第一横向架、车架和固定机构,两侧车架之间固定设置有第二横向架,第二横向架的内侧设置有固定块,固定块底部的两侧均栓接有侧板。本实用新型设计结构简单,便于工作人员进行拆卸或组装,同时该装置具有价格低廉的优点,并降低设计成本,可适用于不同管径的运输,而且该台车装置在前进的过程中可通过斜块推开轨道上的石块等小型障碍物,以免自身的滚轮压到障碍物,避免装置本身出现脱轨或翻车的现象。

Description

一种适用于大型压力钢管的运输台车装置
技术领域
本实用新型属于大型压力钢管运输技术领域,涉及一种运输台车装置,特别是一种适用于大型压力钢管的运输台车装置。
背景技术
随着地下埋藏式大型压力钢管直径越来越大,安装也面临众多技术难题,钢管洞内运输是首先考虑的问题,目前,水电站斜段、斜井、平段压力钢管运输、卸车、安装施工一般采运输台车进行作业,运输台车的设计是多重多样的。
为确保压力钢管运输时的稳定性和变形因素,台车设计因压力钢管管径差异过大需配备不同类型运输台车,即按钢管管径设计不同轮距和长度的台车,若工程出现压力钢管差异巨大的情况,就需对较大异径钢管运输的台车进行重新设计和制作,以保证各种不同管径的压力钢管正常安装和安全运输,对控制成本不利。另外随着压力钢管安装运输的专业化程度越来越高高,往往工程完工后随即开始其它工程的钢管安装施工,而台车的设计繁琐、制造昂贵且耗时较长,而且台车在运动过程中,轨道上存在的小型石块以及其他障碍物,一旦被台车压到,则会存有脱轨甚至翻车的可能,安全隐患较大。
实用新型内容
本实用新型的目的是针对现有的技术存在上述问题,提出了一种适用于大型压力钢管的运输台车装置,该适用于大型压力钢管的运输台车装置的设计结构简单,便于拆卸、组装,价格低廉,可适用于不同管径的运输,而且该台车装置在前进过程中能够推开石块等小型障碍物,避免装置本身出现脱轨或翻车的现象。
本实用新型的目的可通过下列技术方案来实现:
一种适用于大型压力钢管的运输台车装置,包括第一横向架、车架和固定机构,所述两侧车架之间固定设置有第二横向架,所述第二横向架的内侧设置有固定块,所述固定块底部的两侧均栓接有侧板,所述侧板的表面贯穿设置有滑轴套,所述侧板相对的一侧设置有滚轮,且滚轮与滑轴套的内圈相固定,所述第二横向架的上方设置有底座,所述底座顶部的前后两侧均固定设置有支撑架,所述两侧支撑架相对的一侧固定设置有定位板,所述第一横向架的正面固定设置有连接板,所述连接板的前侧固定设置有斜块,所述斜块的表面贯穿开设有通槽。
本实用新型的工作原理是:将底座和支撑架置于第二横向架的上方,使用垫片进行高度调节,之后将固定螺栓依次穿过第一通孔和第二通孔来将支撑架固定在台车的上方,然后使用吊机将大型压力钢管吊装至支撑架的上方,支撑架对钢管进行支撑,台车在轨道上面行走,在通槽的内壁与轨道的表面存有较小的间隙,而斜块则能够将轨道表面的小石块或其他小型障碍物推开,从而避免滚轮压到。
所述固定机构包括第一通孔、第二通孔、固定螺栓和固定螺帽,所述第一通孔贯穿开设在底座的表面,所述第二通孔贯穿开设在第二横向架的表面。
采用以上结构,用于将底座和支撑架固定在第二横向架上,从而达到将支撑架与台车相互组装的目的。
所述固定螺栓的表面设置有方斜垫圈,所述方斜垫圈与第二横向架的表面相接触。
采用以上结构,方斜垫圈通过摩擦力的作用使固定螺帽不易旋转,用于防止固定螺帽出现松动而致固定螺栓脱落。
所述第一横向架的正面固定设置有牵引件,所述牵引件的表面贯穿开设有圆孔。
采用以上结构,通过牵引件和圆孔的设置,在圆孔的内部穿过牵引绳并与牵引设备相连,便可使用牵引设备拉动该台车装置进行移动。
所述牵引件通过焊接的方式与第一横向架的表面相固定,所述圆孔的内径为8-20mm。
采用以上设计,用于确保牵引绳能够穿过圆孔。
所述连接板通过栓接的方式与第一横向架相固定,所述斜块的倾角为30-45°。
采用以上设计,使得斜块能够进行拆卸,以便进行更换。
与现有技术相比,本适用于大型压力钢管的运输台车装置具有以下优点:
1、本实用新型设计结构简单,便于工作人员进行拆卸或组装,同时该装置具有价格低廉的优点,并降低设计成本,可适用于不同管径的运输,而且该台车装置在前进的过程中可通过斜块推开轨道上的石块等小型障碍物,以免自身的滚轮压到障碍物,避免装置本身出现脱轨或翻车的现象,解决了目前为了适应不同管径的压力钢管运输,往往需要设计不同类型运输台车,从而不利于控制成本的问题。
2、通过第一通孔、第二通孔、固定螺栓和固定螺帽,将固定螺栓依次穿过第一通孔和第二通孔,并旋转上固定螺栓,便可将底座固定在第二横向架上,从而实现将支撑架与台车相互组装的效果,同时也能够进行拆卸。
3、通过牵引件和圆孔的设置,在圆孔的内部穿过牵引绳并与牵引设备相连,便可使用牵引设备拉动该台车装置进行移动。
附图说明
图1是本实用新型的立体结构示意图。
图2是本实用新型的局部正视剖面结构示意图。
图3是本实用新型中车架的立体结构示意图。
图4是本实用新型的局部仰视结构示意图。
图5是本实用新型图2中A处局部结构放大图。
图6是本实用新型中部分部件立体结构示意图。
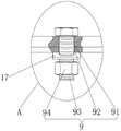
图中,1、第一横向架;2、车架;3、第二横向架;4、固定块;5、侧板;6、滑轴套;7、滚轮;8、底座;9、固定机构;91、第一通孔;92、第二通孔;93、固定螺栓;94、固定螺帽;10、支撑架;11、定位板;12、连接板;13、斜块;14、通槽;15、牵引件;16、圆孔;17、方斜垫圈。
具体实施方式
以下是本实用新型的具体实施例并结合附图,对本实用新型的技术方案作进一步的描述,但本实用新型并不限于这些实施例。
如图1-图6所示,本适用于大型压力钢管的运输台车装置,包括第一横向架1、车架2和固定机构9,车架2的数量为两组并左右设置,两侧车架2之间固定设置有第二横向架3,第二横向架3的内侧设置有固定块4,固定块4底部的两侧均栓接有侧板5,侧板5的表面贯穿设置有滑轴套6,侧板5相对的一侧设置有滚轮7,且滚轮7与滑轴套6的内圈相固定,第二横向架3的上方设置有底座8,底座8顶部的前后两侧均固定设置有支撑架10,支撑架10的整体呈弧形设计,用于契合钢管,两侧支撑架10相对的一侧固定设置有定位板11,第一横向架1的正面固定设置有连接板12,连接板12的前侧固定设置有斜块13,斜块13的表面贯穿开设有通槽14,该装置设计结构简单,便于工作人员进行拆卸或组装,同时该装置具有价格低廉的优点,并降低设计成本,可适用于不同管径的运输,而且该台车装置在前进的过程中可通过斜块13推开轨道上的石块等小型障碍物,以免自身的滚轮7压到障碍物,避免装置本身出现脱轨或翻车的现象,解决了目前为了适应不同管径的压力钢管运输,往往需要设计不同类型运输台车,从而不利于控制成本的问题。
固定机构9包括第一通孔91、第二通孔92、固定螺栓93和固定螺帽94,第一通孔91贯穿开设在底座8的表面,第二通孔92贯穿开设在第二横向架3的表面,第一通孔91与第二通孔92的孔径相同,在本实施例中,通过第一通孔91、第二通孔92、固定螺栓93和固定螺帽94,将固定螺栓93依次穿过第一通孔91和第二通孔92,并旋转上固定螺栓93,便可将底座8固定在第二横向架3上,从而实现将支撑架10与台车相互组装的效果,同时也能够进行拆卸。
固定螺栓93的表面设置有方斜垫圈17,方斜垫圈17与第二横向架3的表面相接触,在本实施例中,通过方斜垫圈17的设置,其能够作用在固定螺栓93和固定螺帽94的表面,并通过摩擦力的作用使固定螺帽94不易旋转,避免固定螺帽94脱落。
第一横向架1的正面固定设置有牵引件15,牵引件15的表面贯穿开设有圆孔16,在本实施例中,通过牵引件15和圆孔16的设置,在圆孔16的内部穿过牵引绳并与牵引设备相连,便可使用牵引设备拉动该台车装置进行移动。
牵引件15通过焊接的方式与第一横向架1的表面相固定,圆孔16的内径为8-20mm,在本实施例中,为了避免圆孔16的孔径过小而致牵引绳无法穿过,因此采用上述设计。
连接板12通过栓接的方式与第一横向架1相固定,斜块13的倾角为30-45°,斜块13的材质为耐磨钢,更加耐磨,在本实施例中,通过设计连接板12与第一横向架1栓接,其使连接板12和斜块13能够与第一横向架1之间进行拆卸,方便工作人员对损坏的斜块13进行更换。
本实用新型的工作原理:在使用时,首先将该装置与牵引设备相连,并将底座8和支撑架10置于第二横向架3的上方,之后使用垫片将底座8垫起来进行高度调节,从而使该装置能够适用于不同管径的运输,之后将固定螺栓93依次穿过第一通孔91和第二通孔92进行固定,此时底座8和支撑架10固定在台车的上方,然后使用吊机将大型压力钢管吊装至支撑架10的上方,支撑架10通过其弧形面与钢管契合,防止钢管左右移动,之后台车装置通过滚轮7在轨道上面行走,在行走的过程中,通槽14的内壁与轨道的表面存有较小的间隙,而斜块13则能够将轨道表面的小石块或其他小型障碍物推开,从而避免滚轮7压到,提高了该装置的安全性,当该台车到达钢管安装的位置时,停下来将对钢管吊下来即可。
本文中所描述的具体实施例仅仅是对本实用新型精神作举例说明。本实用新型所属技术领域的技术人员可以对所描述的具体实施例做各种各样的修改或补充或采用类似的方式替代,但并不会偏离本实用新型的精神或者超越所附权利要求书所定义的范围。

Claims (6)

1.一种适用于大型压力钢管的运输台车装置,包括第一横向架(1)、车架(2)和固定机构(9),其特征在于,所述两侧车架(2)之间固定设置有第二横向架(3),所述第二横向架(3)的内侧设置有固定块(4),所述固定块(4)底部的两侧均栓接有侧板(5),所述侧板(5)的表面贯穿设置有滑轴套(6),所述侧板(5)相对的一侧设置有滚轮(7),且滚轮(7)与滑轴套(6)的内圈相固定,所述第二横向架(3)的上方设置有底座(8),所述底座(8)顶部的前后两侧均固定设置有支撑架(10),所述两侧支撑架(10)相对的一侧固定设置有定位板(11),所述第一横向架(1)的正面固定设置有连接板(12),所述连接板(12)的前侧固定设置有斜块(13),所述斜块(13)的表面贯穿开设有通槽(14)。
2.根据权利要求1所述的一种适用于大型压力钢管的运输台车装置,其特征在于,所述固定机构(9)包括第一通孔(91)、第二通孔(92)、固定螺栓(93)和固定螺帽(94),所述第一通孔(91)贯穿开设在底座(8)的表面,所述第二通孔(92)贯穿开设在第二横向架(3)的表面。
3.根据权利要求2所述的一种适用于大型压力钢管的运输台车装置,其特征在于,所述固定螺栓(93)的表面设置有方斜垫圈(17),所述方斜垫圈(17)与第二横向架(3)的表面相接触。
4.根据权利要求1所述的一种适用于大型压力钢管的运输台车装置,其特征在于,所述第一横向架(1)的正面固定设置有牵引件(15),所述牵引件(15)的表面贯穿开设有圆孔(16)。
5.根据权利要求4所述的一种适用于大型压力钢管的运输台车装置,其特征在于,所述牵引件(15)通过焊接的方式与第一横向架(1)的表面相固定,所述圆孔(16)的内径为8-20mm。
6.根据权利要求1所述的一种适用于大型压力钢管的运输台车装置,其特征在于,所述连接板(12)通过栓接的方式与第一横向架(1)相固定,所述斜块(13)的倾角为30-45°。
CN202123063440.6U 2021-12-07 2021-12-07 一种适用于大型压力钢管的运输台车装置 Active CN216580490U (zh)

Priority Applications (1)

Application Number Priority Date Filing Date Title
CN202123063440.6U CN216580490U (zh) 2021-12-07 2021-12-07 一种适用于大型压力钢管的运输台车装置

Applications Claiming Priority (1)

Application Number Priority Date Filing Date Title
CN202123063440.6U CN216580490U (zh) 2021-12-07 2021-12-07 一种适用于大型压力钢管的运输台车装置

Publications (1)

Publication Number Publication Date
CN216580490U true CN216580490U (zh) 2022-05-24

Family

ID=81610459

Family Applications (1)

Application Number Title Priority Date Filing Date
CN202123063440.6U Active CN216580490U (zh) 2021-12-07 2021-12-07 一种适用于大型压力钢管的运输台车装置

Country Status (1)

Country Link
CN (1) CN216580490U (zh)

Cited By (2)

* Cited by examiner, † Cited by third party
Publication number Priority date Publication date Assignee Title
CN116443063A (zh) * 2023-03-22 2023-07-18 中车长江车辆有限公司 铁路保温车用支架车
CN116811934A (zh) * 2023-06-21 2023-09-29 中国水利水电第十二工程局有限公司 一种新型多功能洞内钢管运输台车系统

Cited By (2)

* Cited by examiner, † Cited by third party
Publication number Priority date Publication date Assignee Title
CN116443063A (zh) * 2023-03-22 2023-07-18 中车长江车辆有限公司 铁路保温车用支架车
CN116811934A (zh) * 2023-06-21 2023-09-29 中国水利水电第十二工程局有限公司 一种新型多功能洞内钢管运输台车系统

Similar Documents

Publication Publication Date Title
CN202345727U (zh) 运输用平板小车
CN216580490U (zh) 一种适用于大型压力钢管的运输台车装置
CN203269274U (zh) 斜坡地段轨道式运输装置
CN103527243A (zh) 地铁施工的斜井提升运输系统及设置方法
CN203496955U (zh) 移动式升降小推车
CN101992990B (zh) 一种双斜行曳引电梯
CN108119702A (zh) 一种地下管廊管道安装的辅助系统及施工方法
CN205895274U (zh) 一种用于盾构分体始发的管片运输小车
CN204980922U (zh) 一种检修用起吊装置
CN112937417A (zh) 管道卸运装置、系统及方法
CN102673580B (zh) 一种多功能移动车架以及移动照明装置
CN112079066A (zh) 一种大型变压器自行走装置
CN207031936U (zh) 一种托架
CN205805587U (zh) 一种小型便捷式管片平板运输车
CN206599378U (zh) 一种用于地铁盾构掘进正面和侧面倾渣的组合式起重小车
CN219669586U (zh) 一种火车集装箱卸料系统
CN109322674B (zh) 一种转运设备
CN215854729U (zh) 一种高铁用门式起重机
CN111006068A (zh) 大型钢管运输焊接对位工装车及其使用方法
CN212333788U (zh) 一种大型变压器自行走装置
CN209795521U (zh) 一种带升降和转向装置的钢管运输小车
CN212685539U (zh) 拖运引风机重型设备的防卡滞的重物移运器
CN211520736U (zh) 一种狭小空间超大口径管道运输专用装置
CN109532981B (zh) 一种地铁隧道区间电缆敷设运输装置
CN210418998U (zh) 循环水系统大口径管道的运输装置

Legal Events

Date Code Title Description
GR01 Patent grant
GR01 Patent grant