CN216576701U - 加工件固定夹具 - Google Patents

加工件固定夹具 Download PDF

Info

Publication number
CN216576701U
CN216576701U CN202122799074.4U CN202122799074U CN216576701U CN 216576701 U CN216576701 U CN 216576701U CN 202122799074 U CN202122799074 U CN 202122799074U CN 216576701 U CN216576701 U CN 216576701U
Authority
CN
China
Prior art keywords
plate
groups
workpiece
bottom plate
jig according
Prior art date
Legal status (The legal status is an assumption and is not a legal conclusion. Google has not performed a legal analysis and makes no representation as to the accuracy of the status listed.)
Expired - Fee Related
Application number
CN202122799074.4U
Other languages
English (en)
Inventor
武哲
魏云
Current Assignee (The listed assignees may be inaccurate. Google has not performed a legal analysis and makes no representation or warranty as to the accuracy of the list.)
Suzhou Sumei Automation Technology Co ltd
Original Assignee
Suzhou Sumei Automation Technology Co ltd
Priority date (The priority date is an assumption and is not a legal conclusion. Google has not performed a legal analysis and makes no representation as to the accuracy of the date listed.)
Filing date
Publication date
Application filed by Suzhou Sumei Automation Technology Co ltd filed Critical Suzhou Sumei Automation Technology Co ltd
Priority to CN202122799074.4U priority Critical patent/CN216576701U/zh
Application granted granted Critical
Publication of CN216576701U publication Critical patent/CN216576701U/zh
Expired - Fee Related legal-status Critical Current
Anticipated expiration legal-status Critical

Links

Images

Landscapes

  • Jigs For Machine Tools (AREA)

Abstract

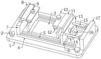
本实用新型公开了工件技术领域的加工件固定夹具,包括底板,所述底板的四角处插接有紧固螺栓,所述底板的上表面中间位置安装有加工台,所述底板的上表面且位于加工台的两侧连接有安装座,两组所述安装座的上表面左侧安装有固定板,所述固定板的内侧面通过转动杆转动连接有夹板,两组所述安装座内开设有滑槽,所述滑槽内滑动连接有滑块,两组所述滑块的顶端安装有移动板,所述移动板的外侧面底端连接有支撑板,所述支撑板上设有步进电机,所述步进电机的输出端连接有转轴,所述转轴贯穿移动板,且转轴的底端安装有夹板,本实用新型可以从多方位加固工件,确保工件在加工时的稳定性,且方便翻转工件的位置,加工另一面时无需二次安装,实用性好。

Description

加工件固定夹具
技术领域
本实用新型涉及加工件技术领域,具体为加工件固定夹具。
背景技术
工件指机械加工过程中的加工对象,它可以是单个零件,也可以是固定在一起的几个零件的组合体,工件的加工方式种类多样,有车、铣、刨、磨、铸造、锻造等等,工件的加工工序也随加工方式的变化而变化,工件的定位是指工件在机床或夹具中占有正确位置的过程,目的是使同一批工件在加工时占有一致的正确加工位置。在对工件加工时,需要使用固定夹具来限位工件的位置,确保工件加工位置的准确,但是现有的固定夹具结构简单,功能单一,固定夹不具备翻转功能,需要对工件另一面加工时,需要将工件拆下换个位置重新固定,操作相对麻烦,实用性差,为此,我们提出加工件固定夹具。
实用新型内容
本实用新型的目的在于提供加工件固定夹具,以解决上述背景技术中提出的用于工件的固定夹具不具备翻转功能的问题。
为实现上述目的,本实用新型提供如下技术方案:
加工件固定夹具,包括底板,所述底板的四角处插接有紧固螺栓,所述底板的上表面中间位置安装有加工台,所述底板的上表面且位于加工台的两侧连接有安装座,两组所述安装座的上表面左侧安装有固定板,所述固定板的内侧面通过转动杆转动连接有夹板,两组所述安装座内开设有滑槽,所述滑槽内滑动连接有滑块,两组所述滑块的顶端安装有移动板,所述移动板的外侧面底端连接有支撑板,所述支撑板上设有步进电机,所述步进电机的输出端连接有转轴,所述转轴贯穿移动板,且转轴的底端安装有夹板。
进一步的:所述底板的上表面右侧连接有固定台,所述固定台呈竖直方向设置,且固定台的内侧面安装有两组电动伸缩杆,两组所述电动伸缩杆的底端安装在移动板的外侧面。
进一步的:两组所述夹板形状大小一致,且两组所述夹板呈同一水平方向设置。
进一步的:所述固定板和移动板的顶端连接有安装板,两组所述安装板的内侧面设有内板,所述内板的内腔滑动连接有外板。
进一步的:所述外板内竖直插接有调节螺栓,且调节螺栓的底端通过轴承活动连接有下压板。
进一步的:所述转动杆与固定板的连接处设有轴承。
进一步的:两组所述夹板和加工台的外表面均粘接有橡胶垫。
与现有技术相比,本实用新型的有益效果是:
1、本实用新型通过电动伸缩杆带动移动板移动,活动的右侧夹板配合固定不动的左侧夹板完成对工件位置的加固,且步进电机工作后,可以带动右侧夹板转动,从而驱动了右侧转动杆带动夹板转动,实现了对工件位置的翻转工作,方便加工工件的不同面,无需二次安装,实用性好。
2、滑动在内板内腔的外板可以拉出,再转动外板内的调节螺栓带动下压板下移,使下压板的下表面贴合在加工台上工件的上表面,实现了对工件上下位置的加固,从而实现了对工件多方位的加固工作,工件连接稳定,在加工时不易脱离,使用稳定性高。
附图说明
图1为本实用新型结构示意图;
图2为本实用新型正视图。
图中:1、底板;2、紧固螺栓;3、加工台;4、安装座;5、滑槽;6、滑块;7、固定板;8、安装板;9、调节螺栓;10、外板;11、内板;12、下压板;13、移动板;14、支撑板;15、电动伸缩杆;16、步进电机;17、固定台;18、夹板;19、转动杆。
具体实施方式
下面将结合本实用新型实施例中的附图,对本实用新型实施例中的技术方案进行清楚、完整地描述,显然,所描述的实施例仅仅是本实用新型一部分实施例,而不是全部的实施例。基于本实用新型中的实施例,本领域普通技术人员在没有做出创造性劳动前提下所获得的所有其他实施例,都属于本实用新型保护的范围。
实施例1:
请参阅图1和图2,本实用新型提供一种技术方案:加工件固定夹具,包括底板1,底板1的四角处插接有紧固螺栓2,底板1的上表面中间位置安装有加工台3,底板1的上表面且位于加工台3的两侧连接有安装座4,两组安装座4的上表面左侧安装有固定板7,固定板7的内侧面通过转动杆19转动连接有夹板18,两组安装座4内开设有滑槽5,滑槽5内滑动连接有滑块6,两组滑块6的顶端安装有移动板13,移动板13的外侧面底端连接有支撑板14,支撑板14上设有步进电机16,步进电机16的输出端连接有转轴,转轴贯穿移动板13,且转轴的底端安装有夹板18,在使用时,将本装置的用电设备连通外部电源和控制开关,然后,通过四组紧固螺栓2将底板1安装在工作台上,工件放置在加工台3上,移动板13通过滑块6滑动连接在滑槽5内,即可以推动移动板13向左侧方向移动,移动板13一侧的夹板18配合固定板7内侧面不到的夹板18实现对工件位置的加固,且可以用于夹持不同宽度大小的工件,当需要对工件的另一面加工时,步进电机16工作,带动转轴实现90度、180度、270度和360度的翻转工作,步进电机16型号可根据实际需求设置,步进电机16带动右侧夹板18转动后,即带动了左侧的转动杆19转动,进而实现了对工件位置的翻转工作。
请参照图1,其中,优选的,底板1的上表面右侧连接有固定台17,固定台17呈竖直方向设置,且固定台17的内侧面安装有两组电动伸缩杆15,两组电动伸缩杆15的底端安装在移动板13的外侧面,电动伸缩杆15工作后,可以推动移动板13移动,确保两组夹板18之间的工件夹持的稳定。
请参照图2,优选的,两组夹板18形状大小一致,且两组夹板18呈同一水平方向设置。
请参照图1,优选的,固定板7和移动板13的顶端连接有安装板8,两组安装板8的内侧面设有内板11,内板11的内腔滑动连接有外板10,外板10与内板11的滑动其原理类似于伸缩杆,在此不做说明。
请参照图1和图2,优选的,外板10内竖直插接有调节螺栓9,且调节螺栓9的底端通过轴承活动连接有下压板12,当两组夹板18定位好工件位置后,外板10从内板11内拉出,转动外板10内的调节螺栓9,调节螺栓9带动了下压板12下移,从而实现对工件上下位置的加固。
请参照图2,优选的,转动杆19与固定板7的连接处设有轴承(图中未标出)。
实施例2:
参照图1,该实施例不同于第一个实施例的是:两组夹板18和加工台3的外表面均粘接有橡胶垫,夹板18与加工台3上的橡胶垫起到了保护作用,防止夹持力过大给工件造成损坏。
工作原理:在使用本实用新型时,首先,将步进电机16和电动伸缩杆15电性连接外部电源和控制开关,然后,通过四组紧固螺栓2将底板1安装在工作台上,并将待加工的工件放置在加工台3上,此时,电动伸缩杆15工作,进而带动了移动板13底端的滑块6在滑槽5内移动,通过两组夹板18的定位完成对工件位置的加固,当需要对工件的另一面加工时,步进电机16工作,进而带动转轴转动,配合左侧的转动杆19转动完成对工件位置的翻转工作,需要加工另一面时,无需二次安装加工件,实用性好,为防止工件在加工时上下晃动,外板10从内板11内拉出,转动外板10内的调节螺栓9,调节螺栓9带动了下压板12下移,从而实现对工件上下位置的加固。
尽管已经示出和描述了本实用新型的实施例,对于本领域的普通技术人员而言,可以理解在不脱离本实用新型的原理和精神的情况下可以对这些实施例进行多种变化、修改、替换和变型,本实用新型的范围由所附权利要求及其等同物限定。

Claims (7)

1.加工件固定夹具,包括底板(1),其特征在于:所述底板(1)的四角处插接有紧固螺栓(2),所述底板(1)的上表面中间位置安装有加工台(3),所述底板(1)的上表面且位于加工台(3)的两侧连接有安装座(4),两组所述安装座(4)的上表面左侧安装有固定板(7),所述固定板(7)的内侧面通过转动杆(19)转动连接有夹板(18),两组所述安装座(4)内开设有滑槽(5),所述滑槽(5)内滑动连接有滑块(6),两组所述滑块(6)的顶端安装有移动板(13),所述移动板(13)的外侧面底端连接有支撑板(14),所述支撑板(14)上设有步进电机(16),所述步进电机(16)的输出端连接有转轴,所述转轴贯穿移动板(13),且转轴的底端安装有夹板(18)。
2.根据权利要求1所述的加工件固定夹具,其特征在于:所述底板(1)的上表面右侧连接有固定台(17),所述固定台(17)呈竖直方向设置,且固定台(17)的内侧面安装有两组电动伸缩杆(15),两组所述电动伸缩杆(15)的底端安装在移动板(13)的外侧面。
3.根据权利要求1所述的加工件固定夹具,其特征在于:两组所述夹板(18)形状大小一致,且两组所述夹板(18)呈同一水平方向设置。
4.根据权利要求1所述的加工件固定夹具,其特征在于:所述固定板(7)和移动板(13)的顶端连接有安装板(8),两组所述安装板(8)的内侧面设有内板(11),所述内板(11)的内腔滑动连接有外板(10)。
5.根据权利要求4所述的加工件固定夹具,其特征在于:所述外板(10)内竖直插接有调节螺栓(9),且调节螺栓(9)的底端通过轴承活动连接有下压板(12)。
6.根据权利要求1所述的加工件固定夹具,其特征在于:所述转动杆(19)与固定板(7)的连接处设有轴承。
7.根据权利要求1所述的加工件固定夹具,其特征在于:两组所述夹板(18)和加工台(3)的外表面均粘接有橡胶垫。
CN202122799074.4U 2021-11-16 2021-11-16 加工件固定夹具 Expired - Fee Related CN216576701U (zh)

Priority Applications (1)

Application Number Priority Date Filing Date Title
CN202122799074.4U CN216576701U (zh) 2021-11-16 2021-11-16 加工件固定夹具

Applications Claiming Priority (1)

Application Number Priority Date Filing Date Title
CN202122799074.4U CN216576701U (zh) 2021-11-16 2021-11-16 加工件固定夹具

Publications (1)

Publication Number Publication Date
CN216576701U true CN216576701U (zh) 2022-05-24

Family

ID=81644133

Family Applications (1)

Application Number Title Priority Date Filing Date
CN202122799074.4U Expired - Fee Related CN216576701U (zh) 2021-11-16 2021-11-16 加工件固定夹具

Country Status (1)

Country Link
CN (1) CN216576701U (zh)

Cited By (2)

* Cited by examiner, † Cited by third party
Publication number Priority date Publication date Assignee Title
CN115582713A (zh) * 2022-10-13 2023-01-10 广东智目科技有限公司 自动化夹具和加工设备
CN119098806A (zh) * 2024-11-11 2024-12-10 江苏强茂减速机有限公司 一种减速机外壳零件多道工序加工的工装夹具

Cited By (2)

* Cited by examiner, † Cited by third party
Publication number Priority date Publication date Assignee Title
CN115582713A (zh) * 2022-10-13 2023-01-10 广东智目科技有限公司 自动化夹具和加工设备
CN119098806A (zh) * 2024-11-11 2024-12-10 江苏强茂减速机有限公司 一种减速机外壳零件多道工序加工的工装夹具

Similar Documents

Publication Publication Date Title
CN216576701U (zh) 加工件固定夹具
CN110774378B (zh) 一种多功能数控木工机床
CN109333112A (zh) 一种上模具加工专用夹具和加工方法
CN210731706U (zh) 一种可翻转式车床夹具
CN112222887A (zh) 一种便于转换加工面的支撑座加工固定工装
CN209954337U (zh) 一种专用汽车零配件加工中心
CN219403844U (zh) 一种磨床的可调节移动结构
CN215393802U (zh) 一种机械工程的定位夹持装置
CN211866790U (zh) 一种衬套攻丝机的攻丝机构
CN211306617U (zh) 一种多功能数控木工机床
CN216263709U (zh) 一种可控制机床零件铣削面的机械加工装置
CN221455831U (zh) 一种可调式线性滑块加工治具
CN217493445U (zh) 一种挖据机液压动力通用加工夹具
CN220445968U (zh) 金刚石滚轮修磨工装
CN206605315U (zh) 一种五金壳体自动打磨雕铣设备
CN220372890U (zh) 一种生产用机械工件
CN221020001U (zh) 一种机械零件加工定位装置
CN218425833U (zh) 一种加工三角防盗螺栓飞边的机床
CN218696270U (zh) 一种五轴加工中心用固定装置
CN215967997U (zh) 一种机械用便于调节的弧形工件打磨机
CN216830334U (zh) 一种磨床加工用定位夹具
CN219426436U (zh) 一种磨床高效上料装置
CN221495598U (zh) 自动旋转研磨一体机
CN222154767U (zh) 一种加工中心多工位夹具装置
CN222289712U (zh) 一种便于使用的磨床

Legal Events

Date Code Title Description
GR01 Patent grant
GR01 Patent grant
CF01 Termination of patent right due to non-payment of annual fee

Granted publication date: 20220524

CF01 Termination of patent right due to non-payment of annual fee