CN216575479U - Novel platform aluminium rapid cooling drawing of patterns equipment - Google Patents

Novel platform aluminium rapid cooling drawing of patterns equipment Download PDF

Info

Publication number
CN216575479U
CN216575479U CN202122600466.3U CN202122600466U CN216575479U CN 216575479 U CN216575479 U CN 216575479U CN 202122600466 U CN202122600466 U CN 202122600466U CN 216575479 U CN216575479 U CN 216575479U
Authority
CN
China
Prior art keywords
pipe
fixedly connected
cooling
connecting rod
rapid cooling
Prior art date
Legal status (The legal status is an assumption and is not a legal conclusion. Google has not performed a legal analysis and makes no representation as to the accuracy of the status listed.)
Expired - Fee Related
Application number
CN202122600466.3U
Other languages
Chinese (zh)
Inventor
刘欣隆
孙树森
周四明
周金海
Current Assignee (The listed assignees may be inaccurate. Google has not performed a legal analysis and makes no representation or warranty as to the accuracy of the list.)
Zhanjiang Shengbao Technology Co ltd
Original Assignee
Zhanjiang Shengbao Technology Co ltd
Priority date (The priority date is an assumption and is not a legal conclusion. Google has not performed a legal analysis and makes no representation as to the accuracy of the date listed.)
Filing date
Publication date
Application filed by Zhanjiang Shengbao Technology Co ltd filed Critical Zhanjiang Shengbao Technology Co ltd
Priority to CN202122600466.3U priority Critical patent/CN216575479U/en
Application granted granted Critical
Publication of CN216575479U publication Critical patent/CN216575479U/en
Expired - Fee Related legal-status Critical Current
Anticipated expiration legal-status Critical

Links

Images

Landscapes

  • Heat-Exchange Devices With Radiators And Conduit Assemblies (AREA)

Abstract

本实用新型公开了一种新型台铝快速冷却脱模设备,包括模版组件和水循环组件,模版组件包括成型模版,成型模版的顶端等距开设有多个模坑,且成型模版的上表面固定安装有冷却管,成型模版的两端均固定连接有支撑连接板,两个支撑连接板的下表面均固定连接有第一连接杆,第一连接杆的一端固定连接有第二连接杆,且第一连接杆的另一端转动连接有第三连接杆,模版组件的一端固定连接有第一连接管。该台铝快速冷却脱模设备,通过冷却水管对模坑内部的台铝进行冷却,提高台铝的冷却速度,便于台铝快速脱模;同时通过第一循环泵和第二循环泵促进冷却管内部的水流流动,进一步加快台铝的冷却速度。

Figure 202122600466

The utility model discloses a new type of rapid cooling and demoulding equipment for Taiwan aluminum. There is a cooling pipe, both ends of the forming template are fixedly connected with support connecting plates, the lower surfaces of the two support connecting plates are fixedly connected with a first connecting rod, one end of the first connecting rod is fixedly connected with a second connecting rod, and the first connecting rod is fixedly connected with the second connecting rod. The other end of a connecting rod is rotatably connected with a third connecting rod, and one end of the template assembly is fixedly connected with a first connecting pipe. The aluminum rapid cooling and demoulding equipment cools the aluminum in the mold pit through the cooling water pipe, improves the cooling speed of the aluminum, and facilitates the rapid demoulding of the aluminum; at the same time, the first circulating pump and the second circulating pump are used to promote the cooling pipe. The internal water flow further accelerates the cooling speed of Taiwan aluminum.

Figure 202122600466

Description

Novel platform aluminium rapid cooling drawing of patterns equipment
Technical Field
The embodiment of the utility model relates to the technical field of cooling demolding, in particular to the technical field of cooling demolding.
Background
The alloy is obtained by melting into uniform liquid at high temperature, molding and demoulding. The casting temperature is higher during the molding process, the cooling time is too long in the demolding process, and the working time is prolonged, so that the working efficiency is influenced. And the release agent that uses in the actual production process is not obvious to the cooling effect, and the alloy cooling only relies on the belt transfer in-process to conduct heat to air refrigeration, and is consuming time longer and the demolding process has some because overheated phenomenon that can't the drawing of patterns succeed, causes even board and the type of moulding irregular scheduling problem during secondary casting.
SUMMERY OF THE UTILITY MODEL
The utility model aims to provide a novel rapid cooling and demoulding device for table aluminum, which solves the defects in the prior art.
In order to achieve the above object, the following technical solutions are designed in the embodiments of the present invention:
the utility model provides a novel quick cooling drawing of patterns equipment of platform aluminium, includes masterplate subassembly and hydrologic cycle subassembly, the masterplate subassembly includes the shaping masterplate, a plurality of die pits have been seted up to the top equidistance of shaping masterplate, just the last fixed surface of shaping masterplate installs the cooling tube, the equal fixedly connected with supporting connection board in both ends of shaping masterplate, two the equal fixedly connected with head rod of lower surface of supporting connection board, the one end fixedly connected with second connecting rod of head rod, just the other end of head rod rotates and is connected with the third connecting rod.
As a still further scheme of the utility model: one end of the template component is fixedly connected with a first connecting pipe, the middle of the first connecting pipe is fixedly provided with a first circulating pump, and the first connecting pipe is fixedly connected with one end of the water circulation component.
As a still further scheme of the utility model: the other end of the template assembly is fixedly connected with a second connecting pipe, a second circulating pump is fixedly mounted in the middle of the second connecting pipe, and the second connecting pipe is fixedly connected with the other end of the water circulating assembly.
As a still further scheme of the utility model: the water circulation assembly comprises a heat exchange water tank, a water inlet valve is fixedly mounted on one side of the back of the heat exchange water tank, and a water outlet valve is fixedly mounted on the other side of the front of the heat exchange water tank.
As a still further scheme of the utility model: the inside fixed mounting of heat exchange water tank has the circulation inner tube, circulation inner tube equidistance fixed mounting has three connecting cylinder, the inside rotation of connecting cylinder installs first impeller, just the bottom of connecting cylinder is rotated and is installed the second impeller, first impeller and the coaxial rotation of second impeller.
As a still further scheme of the utility model: the both ends of circulation inner tube all run through one side box of heat exchange water tank and outwards extend, and two the equal fixedly connected with water inlet of extension end of circulation inner tube.
As a still further scheme of the utility model: the circulating inner pipe is in a bow shape, and two extending ends of the circulating inner pipe are fixedly connected with one ends of the first connecting pipe and the second connecting pipe respectively.
As a still further scheme of the utility model: the cooling pipe sets up to the bow font, just the both ends of cooling pipe all run through the shaping masterplate and outwards extend, two the extension end of cooling pipe respectively with the other end fixed connection of first connecting pipe and second connecting pipe.
Compared with the prior art, the utility model has the following beneficial effects:
this quick cooling drawing of patterns equipment of platform aluminium cools off the platform aluminium of die pit inside through condenser tube, improves the cooling rate of platform aluminium, the quick drawing of patterns of platform aluminium of being convenient for.
This quick cooling demoulding equipment of platform aluminium promotes the inside rivers of cooling tube through first circulating pump and second circulating pump and flows, further accelerates the cooling rate of platform aluminium.
This quick cooling drawing of patterns equipment of aluminium implements the heat exchange through the hydrologic cycle subassembly, makes the inside rivers of cooling tube keep the circulation to flow, and the heat transfer that carries the cooling water stream simultaneously is inside to the heat exchange water tank, and the inside rivers of heating heat exchange water tank guarantee thermal recycling, avoid the energy extravagant.
The parts which are not involved in the device are the same as or can be realized by adopting the prior art, and the device has the advantages of simple structure and convenient operation.
Drawings
FIG. 1 is a schematic structural view of the integral assembly of the present invention;
FIG. 2 is a schematic structural view of a stencil assembly of the present invention;
FIG. 3 is a schematic view of the structure of the water circulation module of the present invention.
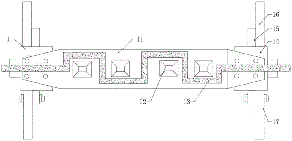
In the figure: 1. a stencil assembly; 11. forming a template; 12. a mould pit; 13. a cooling tube; 14. supporting the connecting plate; 15. a first connecting rod; 16. a second connecting rod; 17. a third connecting rod; 2. a water circulation assembly; 21. a heat exchange water tank; 22. a water inlet valve; 23. a water outlet valve; 24. circulating the inner pipe; 25. a water inlet; 26. a connecting cylinder; 27. a first impeller; 28. a second impeller; 3. a first connecting pipe; 4. a first circulation pump; 5. a second connecting pipe; 6. and a second circulation pump.
Detailed Description
In order to make the objects, technical solutions and advantages of the present invention more apparent, embodiments of the present invention will be described in detail below with reference to the accompanying drawings. However, it will be appreciated by those of ordinary skill in the art that numerous technical details are set forth in order to provide a better understanding of the present application in various embodiments of the present invention. However, the technical solutions claimed in the claims of the present application can be implemented without these technical details and with various changes and modifications based on the following embodiments.
The first embodiment of the utility model relates to a novel aluminum rapid cooling demoulding device, which comprises a template component 1 and a water circulation component 2, wherein the template component 1 comprises a forming template 11, a plurality of mould pits 12 are formed in the top end of the forming template 11 at equal intervals, a cooling pipe 13 is fixedly arranged on the upper surface of the forming template 11, two ends of the forming template 11 are fixedly connected with supporting connecting plates 14, the lower surfaces of the two supporting connecting plates 14 are fixedly connected with first connecting rods 15, one end of each first connecting rod 15 is fixedly connected with a second connecting rod 16, and the other end of each first connecting rod 15 is rotatably connected with a third connecting rod 17;
the first connecting rod 15, the second connecting rod 16 and the third connecting rod 17 are all set as stencil connecting rods for connecting the molding stencil 11.
The one end fixedly connected with first connecting pipe 3 of template subassembly 1, the middle part fixed mounting of first connecting pipe 3 has first circulating pump 4, and first connecting pipe 3 and the one end fixed connection of hydrologic cycle subassembly 2, and first circulating pump 4 is used for guiding the inside rivers of template subassembly 1 inside to hydrologic cycle subassembly 2.
The other end fixedly connected with second connecting pipe 5 of masterplate subassembly 1, the middle part fixed mounting of second connecting pipe 5 has second circulating pump 6, and second connecting pipe 5 and the other end fixed connection of hydrologic cycle subassembly 2, and second circulating pump 6 is used for getting into inside the masterplate subassembly 1 with the inside guide of hydrologic cycle subassembly 2.
The cooling pipes 13 are in a bow shape, two ends of each cooling pipe 13 penetrate through the forming template 11 and extend outwards, and the extending ends of the two cooling pipes 13 are fixedly connected with one ends of the first connecting pipe 3 and the second connecting pipe 5 respectively; the mold pits 12 are respectively arranged in the concave parts of the cooling pipes 13, the distance between the cooling pipes 13 and the mold pits 12 is set to be two to three centimeters, and the closer the distance between the cooling pipes 13 and the mold pits 12 is, the faster the cooling speed of the table aluminum is.
The first embodiment of the utility model relates to novel rapid cooling and demoulding equipment for table aluminum, wherein after the table aluminum is formed in a mould pit 12, a first circulating pump 4 and a second circulating pump 6 are simultaneously started to enable a cooling pipe 13 and water flow in a water circulation assembly 2 to form circulation, the water flow in the water circulation assembly 2 is set to be low-temperature cold water, and when the low-temperature cold water flows into the cooling pipe 13, heat emitted by the table aluminum is rapidly absorbed, so that the table aluminum is rapidly cooled and convenient to demould.
The water circulation assembly 2 includes a heat exchange water tank 21, a water inlet valve 22 is fixedly installed on one side of the back surface of the heat exchange water tank 21, a water outlet valve 23 is fixedly installed on the other side of the front surface of the heat exchange water tank 21, low-temperature cold water is introduced into the heat exchange water tank 21 from the water inlet valve 22, and water in the heat exchange water tank 21 is guided out through the water outlet valve 23, when the water circulation assembly 2 works, the water inlet valve 22 and the water outlet valve 23 are simultaneously kept in an open state, so that the water in the heat exchange water tank 21 is maintained to flow.
The inside fixed mounting of heat exchange water tank 21 has circulation inner tube 24, circulation inner tube 24 equidistance fixed mounting has three connecting cylinder 26, the inside rotation of connecting cylinder 26 installs first impeller 27, and the bottom of connecting cylinder 26 rotates and installs second impeller 28, first impeller 27 and the coaxial rotation of second impeller 28, first impeller 27 sets up the inside one side at connecting cylinder 26, second impeller 28 sets up the inside at heat exchange water tank 21, when the inside rivers of heat exchange water tank 21 flow, rivers promote second impeller 28 and rotate, second impeller 28 drives first impeller 27 through the pivot and rotates, first impeller 27 drives the inside rivers accelerated flow of circulation inner tube 24.
The circulation inner pipe 24 is formed in a bow shape, two extending ends of the circulation inner pipe 24 are fixedly connected with one ends of the first connecting pipe 3 and the second connecting pipe 5 respectively, the bow-shaped circulation inner pipe 24 is used for improving the water storage amount inside the circulation inner pipe 24, and meanwhile, when the circulation inner pipe 24 exchanges heat with cold water inside the heat exchange water tank 21, the temperature of water flow led out of the circulation inner pipe 24 can be lower.
The both ends of circulation inner tube 24 all run through one side box of heat exchange water tank 21 and outwards extend, and the equal fixedly connected with water inlet 25 of the extension end of two circulation inner tubes 24, two water inlets 25 are used for the leading-in circulation inner tube 24 inside of rivers to through leading-in first connecting pipe 3 of circulation inner tube 24 and second connecting pipe 5, leading-in cooling tube 13 inside then.
The second embodiment of the utility model relates to a novel aluminum rapid cooling and demoulding device, when a first circulating pump 4 and a second circulating pump 6 are opened, a water inlet valve 22 and a water outlet valve 23 are simultaneously kept in an opened state to maintain the flow of cold water in a heat exchange water tank 21, meanwhile, low-temperature water flow in a circulating inner pipe 24 enters a second connecting pipe 5 under the action of the second circulating pump 6 and then enters a cooling pipe 13, and water flow absorbing heat in the cooling pipe 13 enters a first connecting pipe 3 under the action of the first circulating pump 4 and then enters the circulating inner pipe 24.
The working principle is as follows:
after the table aluminum is formed in the mold pit 12, the first circulating pump 4 and the second circulating pump 6 are started simultaneously, so that the cooling pipe 13 and the water flow in the water circulation component 2 form a circulation flow, the water flow in the water circulation component 2 is set to be low-temperature cold water, and when the low-temperature cold water flows into the cooling pipe 13, the heat emitted by the table aluminum is absorbed rapidly;
the water inlet valve 22 and the water outlet valve 23 are simultaneously kept in an open state to maintain the flow of cold water in the heat exchange water tank 21, meanwhile, low-temperature water flow in the inner circulation pipe 24 enters the second connecting pipe 5 under the action of the second circulating pump 6 and then enters the cooling pipe 13, and water flow absorbing heat in the cooling pipe 13 enters the first connecting pipe 3 under the action of the first circulating pump 4 and then enters the inner circulation pipe 24;
the circulating water flow in the heat exchange water tank 21 drives the three second fan wheels 28 to synchronously rotate, the three second fan wheels 28 drive the three first fan wheels 27 to rotate through the rotating shaft, and the three first fan wheels 27 promote the flow of the water flow in the circulating inner pipe 24.
It will be understood by those of ordinary skill in the art that the foregoing embodiments are specific examples for carrying out the utility model, and that various changes in form and details may be made therein without departing from the spirit and scope of the utility model in practice.

Claims (8)

1.一种新型台铝快速冷却脱模设备,包括模版组件(1)和水循环组件(2),其特征在于:所述模版组件(1)包括成型模版(11),所述成型模版(11)的顶端等距开设有多个模坑(12),且所述成型模版(11)的上表面固定安装有冷却管(13),所述成型模版(11)的两端均固定连接有支撑连接板(14),两个所述支撑连接板(14)的下表面均固定连接有第一连接杆(15),所述第一连接杆(15)的一端固定连接有第二连接杆(16),且所述第一连接杆(15)的另一端转动连接有第三连接杆(17)。1. a new type of aluminum rapid cooling and demoulding equipment, comprising a template assembly (1) and a water circulation assembly (2), it is characterized in that: the template assembly (1) comprises a forming template (11), the forming template (11) ) is provided with a plurality of die pits (12) equidistantly at the top, and a cooling pipe (13) is fixedly installed on the upper surface of the forming template (11), and both ends of the forming template (11) are fixedly connected with supports A connecting plate (14), the lower surfaces of the two supporting connecting plates (14) are fixedly connected with a first connecting rod (15), and one end of the first connecting rod (15) is fixedly connected with a second connecting rod ( 16), and the other end of the first connecting rod (15) is rotatably connected with a third connecting rod (17). 2.根据权利要求1所述的新型台铝快速冷却脱模设备,其特征在于:所述模版组件(1)的一端固定连接有第一连接管(3),所述第一连接管(3)的中部固定安装有第一循环泵(4),且所述第一连接管(3)与水循环组件(2)的一端固定连接。2. The new type aluminum rapid cooling and demolding device according to claim 1, characterized in that: one end of the template assembly (1) is fixedly connected with a first connecting pipe (3), and the first connecting pipe (3) A first circulation pump (4) is fixedly installed in the middle of the ), and the first connecting pipe (3) is fixedly connected with one end of the water circulation assembly (2). 3.根据权利要求1所述的新型台铝快速冷却脱模设备,其特征在于:所述模版组件(1)的另一端固定连接有第二连接管(5),所述第二连接管(5)的中部固定安装有第二循环泵(6),且所述第二连接管(5)与水循环组件(2)的另一端固定连接。3. The new type aluminum rapid cooling and demoulding device according to claim 1, characterized in that: the other end of the template assembly (1) is fixedly connected with a second connecting pipe (5), and the second connecting pipe ( A second circulating pump (6) is fixedly installed in the middle of 5), and the second connecting pipe (5) is fixedly connected with the other end of the water circulating assembly (2). 4.根据权利要求1所述的新型台铝快速冷却脱模设备,其特征在于:所述水循环组件(2)包括热交换水箱(21),所述热交换水箱(21)背面的一边侧固定安装有进水阀(22),且所述热交换水箱(21)正面的另一边侧固定安装有出水阀(23)。4. The new type aluminum rapid cooling and demolding device according to claim 1, characterized in that: the water circulation assembly (2) comprises a heat exchange water tank (21), and one side of the back of the heat exchange water tank (21) is fixed on one side. A water inlet valve (22) is installed, and a water outlet valve (23) is fixedly installed on the other side of the front of the heat exchange water tank (21). 5.根据权利要求4所述的新型台铝快速冷却脱模设备,其特征在于:所述热交换水箱(21)的内部固定安装有循环内管(24),所述循环内管(24)等距固定安装有三个连接筒(26),所述连接筒(26)的内部转动安装有第一扇轮(27),且所述连接筒(26)的底端转动安装有第二扇轮(28),所述第一扇轮(27)和第二扇轮(28)同轴转动。5. The new type aluminum rapid cooling and demoulding device according to claim 4, characterized in that: a circulating inner pipe (24) is fixedly installed inside the heat exchange water tank (21), and the circulating inner pipe (24) Three connecting cylinders (26) are installed equidistantly, a first fan wheel (27) is rotatably installed inside the connecting cylinder (26), and a second fan wheel is rotatably installed at the bottom end of the connecting cylinder (26). (28), the first fan wheel (27) and the second fan wheel (28) rotate coaxially. 6.根据权利要求5所述的新型台铝快速冷却脱模设备,其特征在于:所述循环内管(24)的两端均贯穿热交换水箱(21)的一侧箱体并向外延伸,且两个所述循环内管(24)的延伸端均固定连接有进水口(25)。6. The new type aluminum rapid cooling and demolding device according to claim 5, characterized in that: both ends of the inner circulating pipe (24) penetrate one side of the heat exchange water tank (21) and extend outward. , and the extending ends of the two inner circulation pipes (24) are fixedly connected with a water inlet (25). 7.根据权利要求6所述的新型台铝快速冷却脱模设备,其特征在于:所述循环内管(24)设置为弓字形,且所述循环内管(24)的两个延伸端分别与第一连接管(3)和第二连接管(5)的一端固定连接。7. The new type aluminum rapid cooling and demolding device according to claim 6, characterized in that: the inner circulating pipe (24) is arranged in an arcuate shape, and the two extending ends of the inner circulating pipe (24) are respectively It is fixedly connected with one end of the first connecting pipe (3) and the second connecting pipe (5). 8.根据权利要求1所述的新型台铝快速冷却脱模设备,其特征在于:所述冷却管(13)设置为弓字形,且所述冷却管(13)的两端均贯穿成型模版(11)并向外延伸,两个所述冷却管(13)的延伸端分别与第一连接管(3)和第二连接管(5)的另一端固定连接。8. The novel Taiwan aluminum rapid cooling and demolding device according to claim 1, wherein the cooling pipe (13) is arranged in an arcuate shape, and both ends of the cooling pipe (13) penetrate through the forming template (13). 11) and extend outward, the extending ends of the two cooling pipes (13) are respectively fixedly connected with the other ends of the first connecting pipe (3) and the second connecting pipe (5).
CN202122600466.3U 2021-10-28 2021-10-28 Novel platform aluminium rapid cooling drawing of patterns equipment Expired - Fee Related CN216575479U (en)

Priority Applications (1)

Application Number Priority Date Filing Date Title
CN202122600466.3U CN216575479U (en) 2021-10-28 2021-10-28 Novel platform aluminium rapid cooling drawing of patterns equipment

Applications Claiming Priority (1)

Application Number Priority Date Filing Date Title
CN202122600466.3U CN216575479U (en) 2021-10-28 2021-10-28 Novel platform aluminium rapid cooling drawing of patterns equipment

Publications (1)

Publication Number Publication Date
CN216575479U true CN216575479U (en) 2022-05-24

Family

ID=81640455

Family Applications (1)

Application Number Title Priority Date Filing Date
CN202122600466.3U Expired - Fee Related CN216575479U (en) 2021-10-28 2021-10-28 Novel platform aluminium rapid cooling drawing of patterns equipment

Country Status (1)

Country Link
CN (1) CN216575479U (en)

Similar Documents

Publication Publication Date Title
CN113414372B (en) Forming equipment and forming method of aluminum alloy die casting
CN216575479U (en) Novel platform aluminium rapid cooling drawing of patterns equipment
CN218985664U (en) Plastic injection molding machine capable of cooling inside
CN214645644U (en) Plastic injection mold capable of being cooled rapidly
CN214872472U (en) Quick cooling forming device of injection mold
CN217414795U (en) An injection mold for easy heat dissipation
CN221754704U (en) A device for cooling lost wax casting workpiece
CN215697908U (en) Water cooling structure for casting mould
CN214239434U (en) Mould for producing and processing storage box
CN214872477U (en) Circulation heat dissipation injection mold
CN214214476U (en) Novel energy-saving and environment-friendly dry-change casting mold
CN222920953U (en) Cooling energy-saving device for compression molding process
CN213767047U (en) A rapid prototyping mold for electrical box cover
CN218286355U (en) Polyphenyl board forming die
CN222610351U (en) An anti-deviating and fast-molding injection mold
CN216506332U (en) Rapid forming precision die
CN220679333U (en) Quick refrigerated foundry goods mould
CN223476049U (en) Metal heat treatment shaping device
CN221756774U (en) A fast cooling injection mold
CN221496926U (en) Injection mold easy to radiate
CN213382493U (en) Cooling system applying die machining
CN221870231U (en) Device for local cooling of metal casting
CN222588080U (en) Mould point cooling device
CN221312386U (en) Cooling device of wax injection machine
CN221362657U (en) Casting mould

Legal Events

Date Code Title Description
GR01 Patent grant
GR01 Patent grant
CF01 Termination of patent right due to non-payment of annual fee

Granted publication date: 20220524

CF01 Termination of patent right due to non-payment of annual fee