CN216570538U - A turning device for brain surgery nursing - Google Patents
A turning device for brain surgery nursing Download PDFInfo
- Publication number
- CN216570538U CN216570538U CN202122554042.8U CN202122554042U CN216570538U CN 216570538 U CN216570538 U CN 216570538U CN 202122554042 U CN202122554042 U CN 202122554042U CN 216570538 U CN216570538 U CN 216570538U
- Authority
- CN
- China
- Prior art keywords
- rotating
- airbag
- rotating panel
- air bag
- panel
- Prior art date
- Legal status (The legal status is an assumption and is not a legal conclusion. Google has not performed a legal analysis and makes no representation as to the accuracy of the status listed.)
- Expired - Fee Related
Links
- 230000000474 nursing effect Effects 0.000 title claims abstract description 15
- 210000004556 brain Anatomy 0.000 title claims abstract description 11
- 238000001356 surgical procedure Methods 0.000 title claims abstract description 7
- 230000007306 turnover Effects 0.000 claims description 8
- 235000001674 Agaricus brunnescens Nutrition 0.000 claims description 2
- 239000000853 adhesive Substances 0.000 claims description 2
- 230000001070 adhesive effect Effects 0.000 claims description 2
- 238000005265 energy consumption Methods 0.000 abstract description 2
- 238000010586 diagram Methods 0.000 description 2
- 208000037265 diseases, disorders, signs and symptoms Diseases 0.000 description 2
- 238000012986 modification Methods 0.000 description 2
- 230000004048 modification Effects 0.000 description 2
- 206010021143 Hypoxia Diseases 0.000 description 1
- 208000002720 Malnutrition Diseases 0.000 description 1
- 208000004210 Pressure Ulcer Diseases 0.000 description 1
- 230000009286 beneficial effect Effects 0.000 description 1
- 230000017531 blood circulation Effects 0.000 description 1
- 230000006835 compression Effects 0.000 description 1
- 238000007906 compression Methods 0.000 description 1
- 201000010099 disease Diseases 0.000 description 1
- 208000035475 disorder Diseases 0.000 description 1
- 230000007954 hypoxia Effects 0.000 description 1
- 208000028867 ischemia Diseases 0.000 description 1
- 230000007774 longterm Effects 0.000 description 1
- 230000001071 malnutrition Effects 0.000 description 1
- 235000000824 malnutrition Nutrition 0.000 description 1
- 239000000463 material Substances 0.000 description 1
- 238000000034 method Methods 0.000 description 1
- 230000001338 necrotic effect Effects 0.000 description 1
- 208000015380 nutritional deficiency disease Diseases 0.000 description 1
- 230000002035 prolonged effect Effects 0.000 description 1
- 238000011084 recovery Methods 0.000 description 1
- 210000004872 soft tissue Anatomy 0.000 description 1
- 210000001519 tissue Anatomy 0.000 description 1
Images
Landscapes
- Invalid Beds And Related Equipment (AREA)
Abstract
本实用新型公开了一种用于脑外科护理的翻身装置,包括病床床板,病床床板两端均安装有固定支撑板,且位于两个固定支撑板之间的病床床板上安装有两组转动部,每组转动部上均安装有转动面板,转动面板另一端搭设在固定支撑板上;转动面板的表面设置有气囊组件,气囊组件包括上部子气囊和下部子气囊,上部子气囊和下部气囊均通过充气控制装置独立进行充、放气。本实用新型通过缓慢放气将患者放平在转动面板上,极大的降低了护理人员在将患者翻身时的耗力。采用转动面板绕转动轴转动的设置,使得翻身角度能够达到180°,方便了护理人员为手术后的患者清理身体的各个区域,以及帮助患者换药等操作。
The utility model discloses a turning device for brain surgery nursing. , each group of rotating parts is equipped with a rotating panel, and the other end of the rotating panel is placed on the fixed support plate; the surface of the rotating panel is provided with an airbag assembly, and the airbag assembly includes an upper sub-airbag and a lower sub-airbag, and the upper sub-airbag and the lower airbag are both Inflate and deflate independently through the inflation control device. The utility model lays the patient flat on the rotating panel by slowly deflating the air, which greatly reduces the energy consumption of the nursing staff when turning the patient over. The rotating panel rotates around the rotating axis, so that the turning angle can reach 180°, which is convenient for the nursing staff to clean various areas of the body for the patients after the operation, and help the patients to change the dressing and other operations.
Description
技术领域technical field
本实用新型涉及脑外科护理技术领域,具体涉及一种用于脑外科护理的翻身装置。The utility model relates to the technical field of brain surgery nursing, in particular to a turning device used for brain surgery nursing.
背景技术Background technique
对于一些因病需要长期卧床的患者来说,长时间平躺会造成局部组织长时间受压、血液循环障碍、局部缺血缺氧以及营养不良的问题,这些问题长时间累积会造成病患的软组织溃烂甚至坏死,从而产生压疮这类疾病,所以这类病患需要经常翻身来缓解局部区域长时间受压的问题,但由于大多数卧床的病患不能主动完成翻身的操作,因此需要医护人员来帮助病患完成翻身动作;由于这类病人恢复期长且需要频繁的翻身,因此每次翻身都需要两至三个医护人员来完成翻身动作,从而需要一种节力翻身装置来帮助医护人员方便快捷完成翻身动作,但现有技术下的节力翻身装置存在以下缺点For some patients who need to stay in bed for a long time due to illness, lying flat for a long time will cause problems of long-term compression of local tissues, blood circulation disorders, ischemia and hypoxia and malnutrition. These problems will accumulate for a long time. Soft tissue is ulcerated or even necrotic, resulting in diseases such as pressure ulcers. Therefore, these patients need to turn over frequently to relieve the problem of prolonged pressure on the local area. However, because most bedridden patients cannot actively complete the operation of turning over, they need medical care. personnel to help the patient to complete the turning action; because such patients have a long recovery period and need to turn over frequently, two to three medical staff are required to complete the turning action each time they turn over, so a force-saving turning device is needed to help the medical staff. Personnel can easily and quickly complete the turning action, but the force-saving turning device in the prior art has the following disadvantages
1、现有的翻身装置通常在除将患者抬起时需要用力外,将患者放下时也需要护理人员发力以稳定患者;1. The existing turning device usually requires force when lifting the patient, and also requires the nursing staff to exert force to stabilize the patient when the patient is put down;
2、现有的翻身装置翻转角度较小,对于某些在多处皮肤区域的都有患处的患者,这些翻身装置阻碍了医护人员视线,从而无法对病患的某些局部皮肤进行观察以及相应操作。2. The existing turning device has a small turning angle. For some patients with affected areas in multiple skin areas, these turning devices obstruct the sight of medical staff, so that it is impossible to observe some parts of the patient's skin and respond accordingly. operate.
实用新型内容Utility model content
本实用新型的目的在于提供一种节力翻身装置,以解决现有技术中翻身装置翻转角度过小,操作人员费力的问题。The purpose of the utility model is to provide a force-saving turning device, so as to solve the problem that the turning angle of the turning device in the prior art is too small and the operator is laborious.
为解决上述技术问题,本实用新型具体提供下述技术方案:In order to solve the above-mentioned technical problems, the utility model specifically provides the following technical solutions:
一种用于脑外科护理的翻身装置,包括病床床板,所述病床床板两端均安装有固定支撑板,且位于两个所述固定支撑板之间的病床床板上安装有两组转动部,每组所述转动部上均安装有供病人卧躺的转动面板,所述转动面板另一端搭设在所述固定支撑板上;A turning device for brain surgery nursing, comprising a bed board, fixed support plates are installed on both ends of the bed board, and two sets of rotating parts are installed on the bed board between the two fixed support boards, Each group of the rotating parts is provided with a rotating panel for the patient to lie down, and the other end of the rotating panel is placed on the fixed support plate;
所述转动面板的外表面设置有气囊组件,所述气囊组件包括两个斜面相互贴合的上部子气囊和下部子气囊,所述上部子气囊和下部子气囊均通过充气控制装置独立进行充、放气。An airbag assembly is arranged on the outer surface of the rotating panel, and the airbag assembly includes an upper sub-airbag and a lower sub-airbag with two inclined surfaces attached to each other, and the upper sub-airbag and the lower sub-airbag are independently inflated and Deflation.
作为本实用新型的优选方案,所述转动部包括设置在所述病床床板上的支撑架,所述支撑架上端固定设置有转动轴,所述转动轴的另一端与所述转动面板转动连接。As a preferred solution of the present invention, the rotating part includes a support frame arranged on the bed of the hospital bed, the upper end of the support frame is fixedly provided with a rotating shaft, and the other end of the rotating shaft is rotatably connected with the rotating panel.
作为本实用新型的优选方案,两个所述转动面板正相对的一侧内部均设置有抽拉式支撑板。As a preferred solution of the present invention, a pull-out support plate is provided inside the two rotating panels on the opposite side.
作为本实用新型的优选方案,每个所述转动面板的远离所述抽拉式支撑板一侧表面固定设置有把手。As a preferred solution of the present invention, a handle is fixedly arranged on a surface of each of the rotating panels on one side away from the pull-out support plate.
作为本实用新型的优选方案,所述上部子气囊和下部子气囊通过胶贴片或者蘑菇搭扣进行活动连接。As a preferred solution of the present invention, the upper sub-airbag and the lower sub-airbag are movably connected by adhesive patches or mushroom hasps.
本实用新型与现有技术相比较具有如下有益效果:Compared with the prior art, the utility model has the following beneficial effects:
1、通过设置有独立充气的两个子气囊,通过缓慢放气将患者放平在转动面板上,极大的降低了护理人员在将患者翻身时的耗力。1. By setting up two sub-airbags that are independently inflated, the patient is flattened on the rotating panel by slowly deflating, which greatly reduces the energy consumption of the nursing staff when turning the patient over.
2、本实用新型采用转动面板绕转动轴转动的设置,使得翻身角度能够达到180°,方便了护理人员为手术后的患者清理身体的各个区域,以及帮助患者换药等操作。2. The utility model adopts the setting that the rotating panel rotates around the rotating shaft, so that the turning angle can reach 180°, which is convenient for the nursing staff to clean various areas of the body for the patients after the operation, and help the patients to change the dressings and other operations.
附图说明Description of drawings
为了更清楚地说明本实用新型的实施方式或现有技术中的技术方案,下面将对实施方式或现有技术描述中所需要使用的附图作简单地介绍。显而易见地,下面描述中的附图仅仅是示例性的,对于本领域普通技术人员来讲,在不付出创造性劳动的前提下,还可以根据提供的附图引伸获得其它的实施附图。In order to more clearly illustrate the embodiments of the present invention or the technical solutions in the prior art, the following briefly introduces the accompanying drawings that are required to be used in the description of the embodiments or the prior art. Obviously, the drawings in the following description are only exemplary, and for those of ordinary skill in the art, other implementation drawings can also be obtained according to the extension of the drawings provided without creative efforts.
图1为本实用新型提供的整体结构俯视图;Fig. 1 is the overall structure top view that the utility model provides;
图2为本实用新型提供的节力翻身装置结构示意图;Fig. 2 is the structural schematic diagram of the force-saving turning device provided by the utility model;
图3为本实用新型提供的转动部结构示意图。FIG. 3 is a schematic structural diagram of a rotating part provided by the present invention.
图中的标号分别表示如下:The symbols in the figure are as follows:
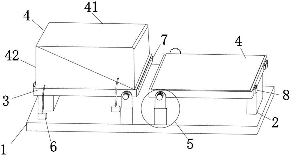
1-病床床板;2-固定支撑板;3-转动面板;4-气囊组件;5-转动部;6-充气控制装置;7-抽拉式支撑板;8-把手;1-bed board; 2-fixed support plate; 3-rotating panel; 4-airbag assembly; 5-rotating part; 6-inflatable control device; 7-pulling support plate; 8-handle;
41-上部子气囊;42-下部子气囊;51-支撑架;52-转动轴。41-upper sub-airbag; 42-lower sub-airbag; 51-support frame; 52-rotating shaft.
具体实施方式Detailed ways
下面将结合本实用新型实施例中的附图,对本实用新型实施例中的技术方案进行清楚、完整地描述,显然,所描述的实施例仅仅是本实用新型一部分实施例,而不是全部的实施例。基于本实用新型中的实施例,本领域普通技术人员在没有做出创造性劳动前提下所获得的所有其他实施例,都属于本实用新型保护的范围。The technical solutions in the embodiments of the present utility model will be clearly and completely described below with reference to the accompanying drawings in the embodiments of the present utility model. Obviously, the described embodiments are only a part of the embodiments of the present utility model, rather than all the implementations. example. Based on the embodiments of the present invention, all other embodiments obtained by those of ordinary skill in the art without creative work fall within the protection scope of the present invention.
如图1所示,一种用于脑外科护理的翻身装置,包括病床床板1,病床床板1两端均安装有固定支撑板2,且位于两个固定支撑板2之间的病床床板1 上安装有两组转动部5,每组转动部5上均安装有供病人卧躺的转动面板3,转动面板3另一端搭设在固定支撑板2上。As shown in FIG. 1 , a device for turning over for brain surgery care includes a
转动面板3的外表面设置有气囊组件4,气囊组件4包括两个斜面相互贴合的上部子气囊41和下部子气囊42,上部子气囊41和下部子气囊42均通过充气控制装置6独立进行充、放气。The outer surface of the rotating
需要补充说明的是,在治疗开始阶段时,患者便从担架或转运车上直接被转运至转动面板3上,患者在转动面板3上经过治疗修养,待需要进行翻身护理时,再进行相应操作。It should be added that at the beginning of the treatment, the patient is directly transferred from the stretcher or the transfer vehicle to the rotating
以此,转动面板3上的气囊组件4表面设置为软质橡胶材质制成的柔软表面,从而来提高患者的舒适感。Therefore, the surface of the
其中,转动部5包括设置在病床床板上的支撑架51,支撑架51上端固定设置有转动轴52,所述转动轴52的另一端与所述转动面板3转动连接实现转动面板3可以绕转动轴52转动;另外,两个转动面板3正相对的一侧内部均设置有抽拉式支撑板7,每个转动面板3远离所述抽拉式支撑板7一侧的表面固定设置有把手8。The rotating part 5 includes a
在使用过程中,抓握把手8向上提拉进行翻转转动面板3,卧躺在转动面板3上的病患会随之下滑接触到延伸出来的抽拉式支撑板7上,此时将此接触点作为支点,将病患翻转移至另一块转动面板3上的上部子气囊41表面。During use, the
本实施方式中,当患者被翻转接触到已充满气的上部子气囊41时,上部子气囊41开始缓慢放气,将患者逐渐下降过渡至下部子气囊42上,之后下部子气囊42再缓慢放气,将患者平稳放在转动面板3上,让护理人员对平时操作不到的皮肤区域进行护理。In this embodiment, when the patient is turned over and contacts the
本实施方式中节力翻身的具体步骤为:In the present embodiment, the concrete steps of turning over with force are as follows:
1、将其中一块没有患者卧躺的转动面板3上的气囊组件4内部气体充满,且拉开此块转动面板3上内部的抽拉式支撑板延7;1. Fill the
2、护理人员抓住患者所在转动面板3上的把手8,将转动面板3绕转动轴52进行翻转,使得患者身体的一侧处于拉开的延伸面板7上,且部分身体与上部子气囊41接触;2. The nursing staff grabs the
3、放出上部子气囊41内部气体,将患者过渡至下部子气囊42上;3. Release the gas inside the
4、将下部子气囊42内部气体缓慢放出,使得患者平稳放入转动面板3 上,实现患者的翻身;4. Slowly release the gas inside the
5、当护理结束后,若想将患者重新放到原来的转动面板3上时,按照以上步骤进行重复操作即可。5. When the nursing is over, if you want to put the patient back on the original
以上实施例仅为本申请的示例性实施例,不用于限制本申请,本申请的保护范围由权利要求书限定。本领域技术人员可以在本申请的实质和保护范围内,对本申请做出各种修改或等同替换,这种修改或等同替换也应视为落在本申请的保护范围。The above embodiments are only exemplary embodiments of the present application, and are not intended to limit the present application. The protection scope of the present application is defined by the claims. Those skilled in the art can make various modifications or equivalent replacements to the present application within the spirit and protection scope of the present application, and such modifications or equivalent replacements should also be regarded as falling within the protection scope of the present application.
Claims (5)
Priority Applications (1)
| Application Number | Priority Date | Filing Date | Title |
|---|---|---|---|
| CN202122554042.8U CN216570538U (en) | 2021-10-22 | 2021-10-22 | A turning device for brain surgery nursing |
Applications Claiming Priority (1)
| Application Number | Priority Date | Filing Date | Title |
|---|---|---|---|
| CN202122554042.8U CN216570538U (en) | 2021-10-22 | 2021-10-22 | A turning device for brain surgery nursing |
Publications (1)
| Publication Number | Publication Date |
|---|---|
| CN216570538U true CN216570538U (en) | 2022-05-24 |
Family
ID=81641236
Family Applications (1)
| Application Number | Title | Priority Date | Filing Date |
|---|---|---|---|
| CN202122554042.8U Expired - Fee Related CN216570538U (en) | 2021-10-22 | 2021-10-22 | A turning device for brain surgery nursing |
Country Status (1)
| Country | Link |
|---|---|
| CN (1) | CN216570538U (en) |
-
2021
- 2021-10-22 CN CN202122554042.8U patent/CN216570538U/en not_active Expired - Fee Related
Similar Documents
| Publication | Publication Date | Title |
|---|---|---|
| CN205108228U (en) | Controllable inflatable thyroid gland wedge operative body position pad | |
| CN203970754U (en) | Multi-functioned air pillow | |
| CN216570538U (en) | A turning device for brain surgery nursing | |
| CN212118467U (en) | a multifunctional hospital bed | |
| CN210330983U (en) | Auxiliary device for relieving upper limb edema after mammary gland surgery | |
| CN219230471U (en) | Auxiliary air cushion bed for medical care | |
| CN209032928U (en) | Cardiovascular care device | |
| CN117653484A (en) | Auxiliary supporting device for preventing pressure sores of bedridden patient | |
| CN206482767U (en) | Arm elevation device | |
| CN201870841U (en) | Multi-functional nursing bed | |
| CN101991492B (en) | Multifunctional nursing bed | |
| CN217366389U (en) | Anti-drop foot double-leg lifting pad | |
| CN210785080U (en) | An intelligent turning over air mattress | |
| CN209996696U (en) | Combined body position pad for minimally invasive cardiac surgery of children through chest wall side incision | |
| CN209847733U (en) | Ankle joint position pad with adjustable inflatable | |
| CN217611783U (en) | A medical trauma orthopaedic traction device | |
| CN204932057U (en) | A kind of nursing bed | |
| CN221130268U (en) | Medical auxiliary equipment with lifting function | |
| CN221691715U (en) | Adjustable pressure bracket for preventing heel pressure sore | |
| CN204337194U (en) | A kind of ward nursing mattress | |
| CN210698164U (en) | Anterior cervical vertebra surgery pillow | |
| CN217091218U (en) | A multifunctional auxiliary turning device that can fix the neck | |
| CN221672405U (en) | A device for preventing pressure sores for palliative care | |
| CN219700374U (en) | Multifunctional pressure sore prevention air cushion bed | |
| CN221731352U (en) | Auxiliary device is put to good limb position |
Legal Events
| Date | Code | Title | Description |
|---|---|---|---|
| GR01 | Patent grant | ||
| GR01 | Patent grant | ||
| CF01 | Termination of patent right due to non-payment of annual fee | ||
| CF01 | Termination of patent right due to non-payment of annual fee |
Granted publication date: 20220524 |
