CN216553633U - High leakproofness shielding sound insulation equipment - Google Patents
High leakproofness shielding sound insulation equipment Download PDFInfo
- Publication number
- CN216553633U CN216553633U CN202122992567.XU CN202122992567U CN216553633U CN 216553633 U CN216553633 U CN 216553633U CN 202122992567 U CN202122992567 U CN 202122992567U CN 216553633 U CN216553633 U CN 216553633U
- Authority
- CN
- China
- Prior art keywords
- door
- guide
- window
- locking
- shielding
- Prior art date
- Legal status (The legal status is an assumption and is not a legal conclusion. Google has not performed a legal analysis and makes no representation as to the accuracy of the status listed.)
- Active
Links
- 238000009413 insulation Methods 0.000 title claims description 18
- 238000003825 pressing Methods 0.000 claims abstract description 13
- 238000007789 sealing Methods 0.000 claims description 19
- 230000006835 compression Effects 0.000 claims description 2
- 238000007906 compression Methods 0.000 claims description 2
- 238000000034 method Methods 0.000 description 7
- 238000010586 diagram Methods 0.000 description 3
- 238000004519 manufacturing process Methods 0.000 description 3
- 230000009286 beneficial effect Effects 0.000 description 2
- 230000007812 deficiency Effects 0.000 description 1
- 238000012986 modification Methods 0.000 description 1
- 230000004048 modification Effects 0.000 description 1
Images
Classifications
-
- Y—GENERAL TAGGING OF NEW TECHNOLOGICAL DEVELOPMENTS; GENERAL TAGGING OF CROSS-SECTIONAL TECHNOLOGIES SPANNING OVER SEVERAL SECTIONS OF THE IPC; TECHNICAL SUBJECTS COVERED BY FORMER USPC CROSS-REFERENCE ART COLLECTIONS [XRACs] AND DIGESTS
- Y02—TECHNOLOGIES OR APPLICATIONS FOR MITIGATION OR ADAPTATION AGAINST CLIMATE CHANGE
- Y02E—REDUCTION OF GREENHOUSE GAS [GHG] EMISSIONS, RELATED TO ENERGY GENERATION, TRANSMISSION OR DISTRIBUTION
- Y02E10/00—Energy generation through renewable energy sources
- Y02E10/70—Wind energy
- Y02E10/72—Wind turbines with rotation axis in wind direction
Landscapes
- Specific Sealing Or Ventilating Devices For Doors And Windows (AREA)
Abstract
本实用新型公开一种高密封性屏蔽隔音设备,包括:箱体、门窗、压紧驱动组件,所述箱体上设置有一开口,所述门窗盖在所述开口上;所述压紧驱动组件包括:直线驱动装置、与所述直线驱动装置输出端连接的转接柱、两导向件、连接于所述门窗上侧的上导向轴、连接于所述门窗下侧的下导向轴,所述转接柱与所述门窗连接,所述的两导向件对称设置于所述门窗的两侧上;所述导向件包括:导轨、设置在所述导轨上的第一导向槽和第二导向槽,所述上导向轴设置在所述第一导向槽内,所述下导向轴设置在所述第二导向槽内,所述第一导向槽和第二导向槽内均设置有弧形下沉槽。本实用新型通过压紧驱动组件实现箱体上门窗的快速自动化开关,自动化程度高,实用性强。
The utility model discloses a high-tightness shielding and soundproofing device, comprising: a box body, a door and a window, and a pressing and driving component, wherein an opening is arranged on the box body, and the door and window are covered on the opening; It includes: a linear drive device, an adapter column connected to the output end of the linear drive device, two guide members, an upper guide shaft connected to the upper side of the door and window, and a lower guide shaft connected to the lower side of the door and window. The adapter column is connected with the door and window, and the two guide members are symmetrically arranged on both sides of the door and window; the guide member includes: a guide rail, a first guide groove and a second guide groove arranged on the guide rail , the upper guide shaft is arranged in the first guide groove, the lower guide shaft is arranged in the second guide groove, and both the first guide groove and the second guide groove are provided with arc-shaped sinkers groove. The utility model realizes the quick automatic switching of the doors and windows on the box body by pressing the driving component, and has high automation degree and strong practicability.
Description
技术领域technical field
本实用新型涉及屏蔽隔音设备领域,尤其涉及一种高密封性屏蔽隔音设备。The utility model relates to the field of shielding and soundproofing equipment, in particular to a shielding and soundproofing equipment with high sealing performance.
背景技术Background technique
屏蔽隔音设备上通常设置有一门窗,通过该门窗,可实现屏蔽隔音设备内物料的进出。然而,由于屏蔽隔音设备对于箱体内的密封性要求较高,因此,门窗关闭后需压紧;现有技术中的门窗无法实现自动开关,以及关闭后的自动压紧,自动化程度较低,无法满足自动化生产的需求。The shielding sound insulation equipment is usually provided with a door and window, through which the entry and exit of materials in the shielding sound insulation equipment can be realized. However, since the shielding and soundproofing equipment has high requirements on the airtightness of the box, the doors and windows need to be compressed after they are closed; the doors and windows in the prior art cannot realize automatic switching and automatic compression after closing, and the degree of automation is low and cannot be Meet the needs of automated production.
因此,现有技术存在缺陷,需要改进。Therefore, the prior art has shortcomings and needs to be improved.
实用新型内容Utility model content
本实用新型的目的是克服现有技术的不足,提供一种高密封性屏蔽隔音设备,解决现有技术中,屏蔽隔音设备无法实现门窗的自动开关,自动化程度低,无法满足自动化生产需求的问题。The purpose of the utility model is to overcome the deficiencies of the prior art, provide a high-sealing shielding sound insulation equipment, and solve the problems in the prior art that the shielding sound insulation equipment cannot realize automatic opening and closing of doors and windows, the degree of automation is low, and it cannot meet the needs of automated production. .
本实用新型的技术方案如下:一种高密封性屏蔽隔音设备,包括:箱体、设置在所述箱体上的门窗、与所述门窗连接的压紧驱动组件,所述箱体上设置有一开口,所述门窗盖在所述开口上;所述压紧驱动组件包括:安装板、可旋转地安装于所述安装板上的直线驱动装置、与所述直线驱动装置输出端连接的转接柱、两导向件、连接于所述门窗上侧的上导向轴、连接于所述门窗下侧的下导向轴,所述转接柱与所述门窗连接,所述的两导向件对称设置于所述门窗的两侧上;所述导向件包括:导轨、设置在所述导轨上的第一导向槽和第二导向槽,所述上导向轴设置在所述第一导向槽内,所述下导向轴设置在所述第二导向槽内,所述第一导向槽和第二导向槽内均设置有弧形下沉槽。The technical scheme of the utility model is as follows: a high-tightness shielding and sound insulation device, comprising: a box body, doors and windows arranged on the box body, and a pressing drive assembly connected with the doors and windows, and a box body is provided on the box body. an opening, the door and window are covered on the opening; the pressing and driving assembly includes: a mounting plate, a linear drive device rotatably mounted on the mounting plate, and an adapter connected with the output end of the linear drive device A column, two guide members, an upper guide shaft connected to the upper side of the door and window, and a lower guide shaft connected to the lower side of the door and window, the transfer column is connected to the door and window, and the two guide members are symmetrically arranged at on both sides of the door and window; the guide member includes: a guide rail, a first guide groove and a second guide groove arranged on the guide rail, the upper guide shaft is arranged in the first guide groove, the The lower guide shaft is arranged in the second guide groove, and both the first guide groove and the second guide groove are provided with arc-shaped sinking grooves.
进一步地,所述的一种高密封性屏蔽隔音设备,还包括:设置在所述门窗内侧面上的密封条。Further, the high-tightness shielding and soundproofing equipment further includes: a sealing strip arranged on the inner side of the door and window.
进一步地,所述的一种高密封性屏蔽隔音设备,还包括:可旋转地安装于所述箱体上的箱门、用于锁紧所述箱门和箱体的锁紧组件、设置在所述箱门上的拉手。Further, the high-tightness shielding and sound insulation device further includes: a box door rotatably mounted on the box body, a locking assembly for locking the box door and the box body, The handle on the box door.
进一步地,所述锁紧组件包括:可旋转地安装于所述箱门上的旋转把手、套在所述旋转把手上的第一转接块、第二转接块、锁紧件、套在所述锁紧件上的拉动块、与所述锁紧件相配合的锁紧块,所述第二转接块的一端可旋转地连接于所述第一转接块上,另一端可旋转地连接于所述拉动块上。Further, the locking assembly includes: a rotary handle rotatably mounted on the box door, a first adapter block, a second adapter block, a locking piece, a first adapter block, a lock piece, a socket on the rotary handle The pulling block on the locking member, the locking block matched with the locking member, one end of the second adapter block is rotatably connected to the first adapter block, and the other end is rotatable connected to the pull block.
进一步地,所述锁紧件包括:升降杆、设置在所述升降杆上的卡位柱,所述拉动块套在所述升降杆上。Further, the locking member comprises: a lifting rod, a clamping post arranged on the lifting rod, and the pulling block is sleeved on the lifting rod.
进一步地,所述锁紧块上设置有与所述卡位柱相配合的弧形卡位槽。Further, the locking block is provided with an arc-shaped locating slot matched with the locating post.
进一步地,所述锁紧组件还包括:若干导向块,所述的若干导向块均套在所述升降杆Further, the locking assembly further includes: a plurality of guide blocks, all of which are sleeved on the lift rod
进一步地,所述直线驱动装置为驱动气缸。Further, the linear drive device is a drive cylinder.
进一步地,所述直线驱动装置的一端设置有一转轴,所述转轴可旋转地安装于所述安装板上。Further, one end of the linear drive device is provided with a rotating shaft, and the rotating shaft is rotatably mounted on the mounting plate.
采用上述方案,本实用新型提供一种高密封性屏蔽隔音设备,具有以下有益效果:可通过压紧驱动组件实现箱体上门窗的快速自动化开关,关闭后转接柱可对门窗施加一个压力,在上导向轴、下导向轴的配合下,实现门窗的压紧,保证屏蔽隔音设备的箱体内的密封性好,实用性强。By adopting the above scheme, the utility model provides a high-tightness shielding and sound insulation device, which has the following beneficial effects: the quick automatic switching of the doors and windows on the box body can be realized by pressing the drive assembly, and the transfer post can exert a pressure on the doors and windows after closing, With the cooperation of the upper guide shaft and the lower guide shaft, the doors and windows can be pressed tightly, so as to ensure good sealing performance and strong practicability in the box of the shielding and sound insulation equipment.
附图说明Description of drawings
图1为本实用新型的结构示意图;Fig. 1 is the structural representation of the utility model;
图2为本实用新型的箱体、箱门、锁紧组件的结构示意图;2 is a schematic structural diagram of a box body, a box door and a locking assembly of the present invention;
图3为本实用新型的压紧驱动组件、门窗的结构示意图;3 is a schematic structural diagram of a pressing drive assembly and a door and window of the present invention;
图4为本实用新型的导向件的结构示意图Fig. 4 is the structural schematic diagram of the guide member of the present invention
图5为图2中A处的放大图;Fig. 5 is the enlarged view of A place in Fig. 2;
图6为图2中B处的放大图。FIG. 6 is an enlarged view of B in FIG. 2 .
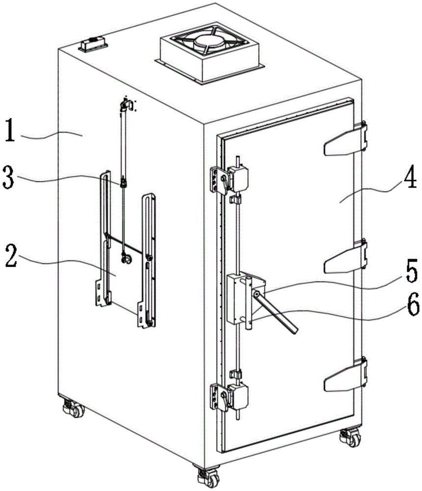
其中:箱体1、开口10、门窗2、压紧驱动组件3、直线驱动装置30、转接柱31、导向件32、导轨320、第一导向槽321、第二导向槽322、弧形下沉槽323、上导向轴33、下导向轴34、密封条35、安装板36、转轴37、箱门4、锁紧组件5、旋转把手50、第一转接块51、第二转接块52、锁紧件53、升降杆530、卡位柱531、拉动块54、锁紧块55、弧形卡位槽550、导向块56、拉手6。Among them:
具体实施方式Detailed ways
以下结合附图和具体实施例,对本实用新型进行详细说明。The present utility model will be described in detail below with reference to the accompanying drawings and specific embodiments.
请参照图1-图6,本实用新型提供一种高密封性屏蔽隔音设备,包括:箱体1、设置在所述箱体1上的门窗2、与所述门窗2连接的压紧驱动组件3,所述箱体1上设置有一开口10,所述门窗2盖在所述开口10上;所述压紧驱动组件3包括:安装板36、可旋转地安装于所述安装板36上的直线驱动装置30、与所述直线驱动装置30输出端连接的转接柱31、两导向件32、连接于所述门窗2上侧的上导向轴33、连接于所述门窗2下侧的下导向轴34,具体地,所述直线驱动装置30可以为电动驱动装置,例如电动推杆,也可为气动驱动装置,例如驱动气缸,具体可根据实际生产需求确定,在本实施例中所述直线驱动装置30为驱动气缸;所述直线驱动装置30的一端设置有一转轴37,所述转轴37可旋转地安装于所述安装板36上;所述转接柱31与所述门窗2连接,所述的两导向件32对称设置于所述门窗2的两侧上;所述导向件32包括:导轨320、设置在所述导轨320上的第一导向槽321和第二导向槽322,所述上导向轴33设置在所述第一导向槽321内,所述下导向轴34设置在所述第二导向槽322内,所述第一导向槽321和第二导向槽322内均设置有弧形下沉槽323,第一导向槽321内的弧形下沉槽323与第一导向槽321相连通,且连接处为弧形面,所述第二导向槽322内的弧形下沉槽323与第二导向槽322相连通,且连接处为弧形面,第一导向槽321和第二导向槽322所在水平面高于所述弧形下沉槽323所在水平面。本实用新型中的一种高密封性屏蔽隔音设备关闭门窗时的具体作用过程为:启动直线驱动装置30,带动门窗2向靠近箱体1上的开口10一侧移动,与此同时上导向轴33在第一导向槽321内移动,下导向轴34在第二导向槽322内移动,当上导向轴33移动至第一导向槽321内的弧形下沉槽323、下导向轴34移动至第二导向槽322内的弧形下沉槽323内时,直线驱动装置30在安装板36上旋转一定角度,使得门窗2向开口10一侧移动,并完全盖住箱体1上的开口10,且上导向轴33从第一导向槽321、下导向轴34从第二导向槽322分别移动至对应位置的弧形下沉槽323后,门窗2会向贴近箱体1一侧移动,最终完全贴合在箱体1上的开口10上,使得开口10被密封,门窗2打开的过程则与上述操作过程相反;本实用新型的一种高密封性屏蔽隔音设备可通过压紧驱动组件3实现箱体1上门窗2的快速自动化开关,关闭后转接柱31可对门窗2施加一个压力,在上导向轴33、下导向轴34的配合下,实现门窗2的压紧,保证屏蔽隔音设备的箱体1内的密封性好,实用性强。Please refer to FIG. 1 to FIG. 6 , the present invention provides a high-sealing shielding and sound insulation device, comprising: a
具体地,在本实施例中,所述的一种高密封性屏蔽隔音设备,还包括:设置在所述门窗2内侧面上的密封条35,密封条35设置在门窗2与箱体1上开口10的接触面上,进一步保证压紧门窗2后,箱体1内的气密性较好;具体地,所述密封条35为电磁密封条或兼具电磁、气密的导电橡胶密封条。Specifically, in this embodiment, the described high-tightness shielding and sound insulation device further includes: a
具体地,在本实施例中,所述的一种高密封性屏蔽隔音设备,还包括:可旋转地安装于所述箱体1上的箱门4、用于锁紧所述箱门4和箱体1的锁紧组件5、设置在所述箱门4上的拉手6;箱体1和箱门4通过铰链连接,锁紧组件5设置在箱门4开合的这一侧,拉手6设置在锁紧组件5的一侧。Specifically, in this embodiment, the described high-tightness shielding and soundproofing device further includes: a
具体地,在本实施例中,所述锁紧组件5包括:可旋转地安装于所述箱门4上的旋转把手50、套在所述旋转把手50上的第一转接块51、第二转接块52、锁紧件53、套在所述锁紧件53上的拉动块54、与所述锁紧件53相配合的锁紧块55,所述第二转接块52的一端可旋转地连接于所述第一转接块51上,另一端可旋转地连接于所述拉动块54上;所述锁紧件53包括:升降杆530、设置在所述升降杆530上的卡位柱531,所述拉动块54套在所述升降杆530上,所述锁紧组件5还包括:若干导向块56,所述的若干导向块56均套在所述升降杆530,导向块56固定在箱门4上,用于升降杆530上下移动过程中的导向;所述锁紧块55上设置有与所述卡位柱531相配合的弧形卡位槽550。锁紧组件5的作用过程为:手动转动旋转把手50,在旋转把手50的作用下同步带动第一转接块51转动,第二转接块52移动,由于第一转接块51、第二转接块52形成连杆结构,进一步拉动升降杆530上下移动,打开箱门4时,升降杆530向下移动,带动卡位柱531向下移动,卡位柱531与锁紧块55上的弧形卡位槽550分离,从而实现箱门4的打开,关闭过程是升降杆530向上移动,操作与上述过程相反,因此通过锁紧组件5可实现箱门4的快速锁紧。Specifically, in this embodiment, the
综上所述,本实用新型提供一种高密封性屏蔽隔音设备,具有以下有益效果:可通过压紧驱动组件实现箱体上门窗的快速自动化开关,关闭后转接柱可对门窗施加一个压力,在上导向轴、下导向轴的配合下,实现门窗的压紧,保证屏蔽隔音设备的箱体内的密封性好,实用性强。In summary, the utility model provides a high-sealing shielding and sound insulation device, which has the following beneficial effects: the fast automatic switching of doors and windows on the box body can be realized by pressing the drive assembly, and the transfer post can apply a pressure to the doors and windows after closing. , Under the cooperation of the upper guide shaft and the lower guide shaft, the doors and windows can be pressed tightly, so as to ensure good sealing performance and strong practicability in the box of the shielding and sound insulation equipment.
以上仅为本实用新型的较佳实施例而已,并不用于限制本实用新型,凡在本实用新型的精神和原则之内所作的任何修改、等同替换和改进等,均应包含在本实用新型的保护范围之内。The above are only the preferred embodiments of the present utility model, and are not intended to limit the present utility model. Any modifications, equivalent replacements and improvements made within the spirit and principles of the present utility model shall be included in the present utility model. within the scope of protection.
Claims (9)
Priority Applications (1)
| Application Number | Priority Date | Filing Date | Title |
|---|---|---|---|
| CN202122992567.XU CN216553633U (en) | 2021-11-30 | 2021-11-30 | High leakproofness shielding sound insulation equipment |
Applications Claiming Priority (1)
| Application Number | Priority Date | Filing Date | Title |
|---|---|---|---|
| CN202122992567.XU CN216553633U (en) | 2021-11-30 | 2021-11-30 | High leakproofness shielding sound insulation equipment |
Publications (1)
| Publication Number | Publication Date |
|---|---|
| CN216553633U true CN216553633U (en) | 2022-05-17 |
Family
ID=81579190
Family Applications (1)
| Application Number | Title | Priority Date | Filing Date |
|---|---|---|---|
| CN202122992567.XU Active CN216553633U (en) | 2021-11-30 | 2021-11-30 | High leakproofness shielding sound insulation equipment |
Country Status (1)
| Country | Link |
|---|---|
| CN (1) | CN216553633U (en) |
Cited By (1)
| Publication number | Priority date | Publication date | Assignee | Title |
|---|---|---|---|---|
| CN116146088A (en) * | 2022-12-01 | 2023-05-23 | 沈阳芯源微电子设备股份有限公司 | A semiconductor process self-sealing switch door structure |
-
2021
- 2021-11-30 CN CN202122992567.XU patent/CN216553633U/en active Active
Cited By (1)
| Publication number | Priority date | Publication date | Assignee | Title |
|---|---|---|---|---|
| CN116146088A (en) * | 2022-12-01 | 2023-05-23 | 沈阳芯源微电子设备股份有限公司 | A semiconductor process self-sealing switch door structure |
Similar Documents
| Publication | Publication Date | Title |
|---|---|---|
| CN207960372U (en) | A sealed door with a boss and a sealed box | |
| CN103487230B (en) | A kind of side door device of high vacuum test chamber | |
| CN216553633U (en) | High leakproofness shielding sound insulation equipment | |
| CN106703609A (en) | Airtightness door | |
| CN206290158U (en) | A kind of sealing door | |
| CN202866555U (en) | Sealing door device for large slab electron beam welding vacuum chamber | |
| CN221194789U (en) | L-shaped special-shaped translation split gate | |
| CN111502467A (en) | Tension assembly with built-in force arm, isolation door device and sealing isolation method | |
| CN207960362U (en) | A kind of translation type airtight door and airtight box | |
| CN216921868U (en) | Shield door base with insulating property | |
| CN102828672B (en) | Sealing door device for large plate blank electron beam welding vacuum chamber | |
| CN116065911B (en) | Electric sliding window and vehicle | |
| CN216617377U (en) | A new type of pressing door and window mechanism | |
| CN108661513A (en) | A kind of silencing case | |
| CN222314992U (en) | Sealing door assembly and semiconductor test equipment | |
| CN113968314B (en) | Large-scale hinge type watertight door | |
| CN210768323U (en) | Dustproof electric push rod for trunk | |
| CN216043333U (en) | High-sealing energy-saving aluminum alloy door and window | |
| CN115949323A (en) | A self-balancing jack-up opening and closing door and window | |
| CN218716100U (en) | Steel medical airtight door capable of being opened and closed quickly | |
| CN210888641U (en) | Door with high sealing performance | |
| CN222863163U (en) | Translation airtight window upper pulley assembly | |
| CN208792928U (en) | A kind of novel closed door and window structure and door and window | |
| CN219953107U (en) | Shielding door with electric and manual hybrid driving modes | |
| CN220504859U (en) | A lifting and sliding window |
Legal Events
| Date | Code | Title | Description |
|---|---|---|---|
| GR01 | Patent grant | ||
| GR01 | Patent grant |
