CN216551971U - Assembled support steel construction of convenient adjustment - Google Patents

Assembled support steel construction of convenient adjustment Download PDF

Info

Publication number
CN216551971U
CN216551971U CN202122776454.6U CN202122776454U CN216551971U CN 216551971 U CN216551971 U CN 216551971U CN 202122776454 U CN202122776454 U CN 202122776454U CN 216551971 U CN216551971 U CN 216551971U
Authority
CN
China
Prior art keywords
support
support rod
supporting
steel structure
positioning
Prior art date
Legal status (The legal status is an assumption and is not a legal conclusion. Google has not performed a legal analysis and makes no representation as to the accuracy of the status listed.)
Expired - Fee Related
Application number
CN202122776454.6U
Other languages
Chinese (zh)
Inventor
毛卫民
陈振宇
赵亚军
黎圣章
田蟠寅
闫国栋
高山
杨学光
Current Assignee (The listed assignees may be inaccurate. Google has not performed a legal analysis and makes no representation or warranty as to the accuracy of the list.)
First Construction Engineering Co Ltd of China Construction Second Engineering Bureau Co Ltd
Original Assignee
First Construction Engineering Co Ltd of China Construction Second Engineering Bureau Co Ltd
Priority date (The priority date is an assumption and is not a legal conclusion. Google has not performed a legal analysis and makes no representation as to the accuracy of the date listed.)
Filing date
Publication date
Application filed by First Construction Engineering Co Ltd of China Construction Second Engineering Bureau Co Ltd filed Critical First Construction Engineering Co Ltd of China Construction Second Engineering Bureau Co Ltd
Priority to CN202122776454.6U priority Critical patent/CN216551971U/en
Application granted granted Critical
Publication of CN216551971U publication Critical patent/CN216551971U/en
Expired - Fee Related legal-status Critical Current
Anticipated expiration legal-status Critical

Links

Images

Classifications

    • YGENERAL TAGGING OF NEW TECHNOLOGICAL DEVELOPMENTS; GENERAL TAGGING OF CROSS-SECTIONAL TECHNOLOGIES SPANNING OVER SEVERAL SECTIONS OF THE IPC; TECHNICAL SUBJECTS COVERED BY FORMER USPC CROSS-REFERENCE ART COLLECTIONS [XRACs] AND DIGESTS
    • Y02TECHNOLOGIES OR APPLICATIONS FOR MITIGATION OR ADAPTATION AGAINST CLIMATE CHANGE
    • Y02EREDUCTION OF GREENHOUSE GAS [GHG] EMISSIONS, RELATED TO ENERGY GENERATION, TRANSMISSION OR DISTRIBUTION
    • Y02E10/00Energy generation through renewable energy sources
    • Y02E10/50Photovoltaic [PV] energy

Landscapes

  • Conveying And Assembling Of Building Elements In Situ (AREA)

Abstract

本实用新型公开了一种方便调整的装配式支撑钢结构,包括定位底板,所述定位底板上表面开设有安装豁口,所述定位底板两侧边缘处固定安装有定位支脚,所述定位支脚上活动安装有活动转轴,所述活动转轴上连接有支撑机构,所述支撑机构包括第一支撑杆、调节螺栓、第二支撑杆、调节转轴和支撑推板,所述定位底板上表面位于安装豁口处固定安装有抬升机构,所述抬升机构包括螺旋式千斤顶、连接螺杆、连接座、连接螺孔和支撑底座,所述第一支撑杆连接在活动转轴上,所述第一支撑杆内活动安装有第二支撑杆,所述第一支撑杆末端边缘处螺纹安装有调节螺栓。本实用新型所述的一种方便调整的装配式支撑钢结构,属于支护设备领域,安装速度快,效果强。

Figure 202122776454

The utility model discloses an assembled supporting steel structure which is convenient for adjustment, which comprises a positioning base plate, an installation gap is formed on the upper surface of the positioning base plate, and positioning feet are fixedly installed at the edges of both sides of the positioning base plate, and the positioning feet are on the A movable rotating shaft is movably installed, and a supporting mechanism is connected to the movable rotating shaft. The supporting mechanism includes a first supporting rod, an adjusting bolt, a second supporting rod, an adjusting rotating shaft and a supporting push plate, and the upper surface of the positioning base plate is located at the installation gap. A lifting mechanism is fixedly installed at the place, and the lifting mechanism includes a screw jack, a connecting screw, a connecting seat, a connecting screw hole and a support base, the first support rod is connected to the movable rotating shaft, and the first support rod is movably installed in the There is a second support rod, and an adjusting bolt is threadedly installed at the end edge of the first support rod. The utility model relates to an assembled supporting steel structure with convenient adjustment, which belongs to the field of supporting equipment, and has the advantages of fast installation speed and strong effect.

Figure 202122776454

Description

Assembled support steel construction of convenient adjustment
Technical Field
The utility model relates to the field of supporting equipment, in particular to an assembled supporting steel structure convenient to adjust.
Background
Steel structures are structures composed of steel materials and are one of the main building structure types. The structure mainly comprises steel beams, steel columns, steel trusses and other members made of section steel, steel plates and the like, and rust removing and preventing processes such as silanization, pure manganese phosphating, washing drying, galvanization and the like are adopted. The components or parts are typically joined by welds, bolts or rivets. Because of its light dead weight, and construction is simple and convenient, widely apply to fields such as large-scale factory building, venue, superelevation layer. The inner wall of the steel structure supporting foundation pit needs to be used in the foundation pit construction process, and the existing steel structure supporting assembly needs a large amount of manual installation, so that the speed is low and the efficiency is low.
SUMMERY OF THE UTILITY MODEL
The utility model mainly aims to provide an assembled supporting steel structure convenient to adjust, and the problems in the background art can be effectively solved.
In order to achieve the purpose, the utility model adopts the technical scheme that:
the utility model provides an assembled support steel construction of convenient adjustment, includes positioning plate, positioning plate upper surface has seted up the installation opening, positioning plate both sides edge fixed mounting has the location stabilizer blade, movable mounting has movable pivot on the location stabilizer blade, be connected with supporting mechanism in the activity pivot, supporting mechanism includes first bracing piece, adjusting bolt, second bracing piece, regulation pivot and supports the push pedal, positioning plate upper surface is located installation opening department fixed mounting and has lifting mechanism, lifting mechanism includes spiral jack, connecting screw, connecting seat, connection screw and support base.
Further speaking, first bracing piece is connected in the activity pivot, movable mounting has the second bracing piece in the first bracing piece, adjusting bolt is installed to first bracing piece terminal edge screw thread, second bracing piece end is provided with the regulation pivot, be connected with the support push pedal in the regulation pivot, can adjust the second bracing piece extension length according to the foundation ditch degree of depth after unscrewing adjusting bolt.
Furthermore, a movable sliding groove is formed in the first supporting rod, the second supporting rod is movably mounted in the first supporting rod through the movable sliding groove, and the second supporting rod is limited in the first supporting rod through an adjusting bolt.
Furthermore, the first supporting rod is movably connected to the positioning support leg through a movable rotating shaft.
Furthermore, the supporting push plate is movably arranged at the tail end of the second supporting rod through an adjusting rotating shaft.
Further, the screw jack is installed in installation opening department, the terminal fixed mounting of output of screw jack has the support base, fixed mounting has the connecting seat on the screw jack, connecting screw has been seted up to connecting seat surface edge, be equipped with connecting screw in the connecting screw, start screw jack after the positioning bottom plate will the upward movement to make supporting mechanism expand to contradict on the foundation ditch inner wall, and then play the purpose of quick support.
Further, the connecting screw penetrates through the connecting seat through the connecting screw hole and then is connected to the positioning bottom plate.
Furthermore, the output end of the screw jack penetrates through the positioning bottom plate through the mounting notch.
Further, the support base is fixed to an output end of the screw jack by a screw.
Furthermore, the supporting mechanism is movably connected to the positioning support leg through a movable rotating shaft.
Compared with the prior art, the utility model has the following beneficial effects:
whole device can arrange the foundation ditch in rapidly, whole device can take bearing structure on the foundation ditch inner wall of both sides after arranging in the foundation ditch in, prop up mechanism and can start spiral jack after taking on the foundation ditch inner wall of both sides, start that the positioning bottom plate will the upward movement after spiral jack to make supporting mechanism expand to contradict on the foundation ditch inner wall, and then play the purpose of quick support, can adjust the extension length of second bracing piece according to the degree of depth of foundation ditch simultaneously in the use.
Drawings
FIG. 1 is a schematic view of the overall structure of the present invention;
FIG. 2 is a partial schematic view of the present invention;
FIG. 3 is a schematic view of the support mechanism of the present invention;
fig. 4 is a schematic view of the lifting mechanism of the present invention.
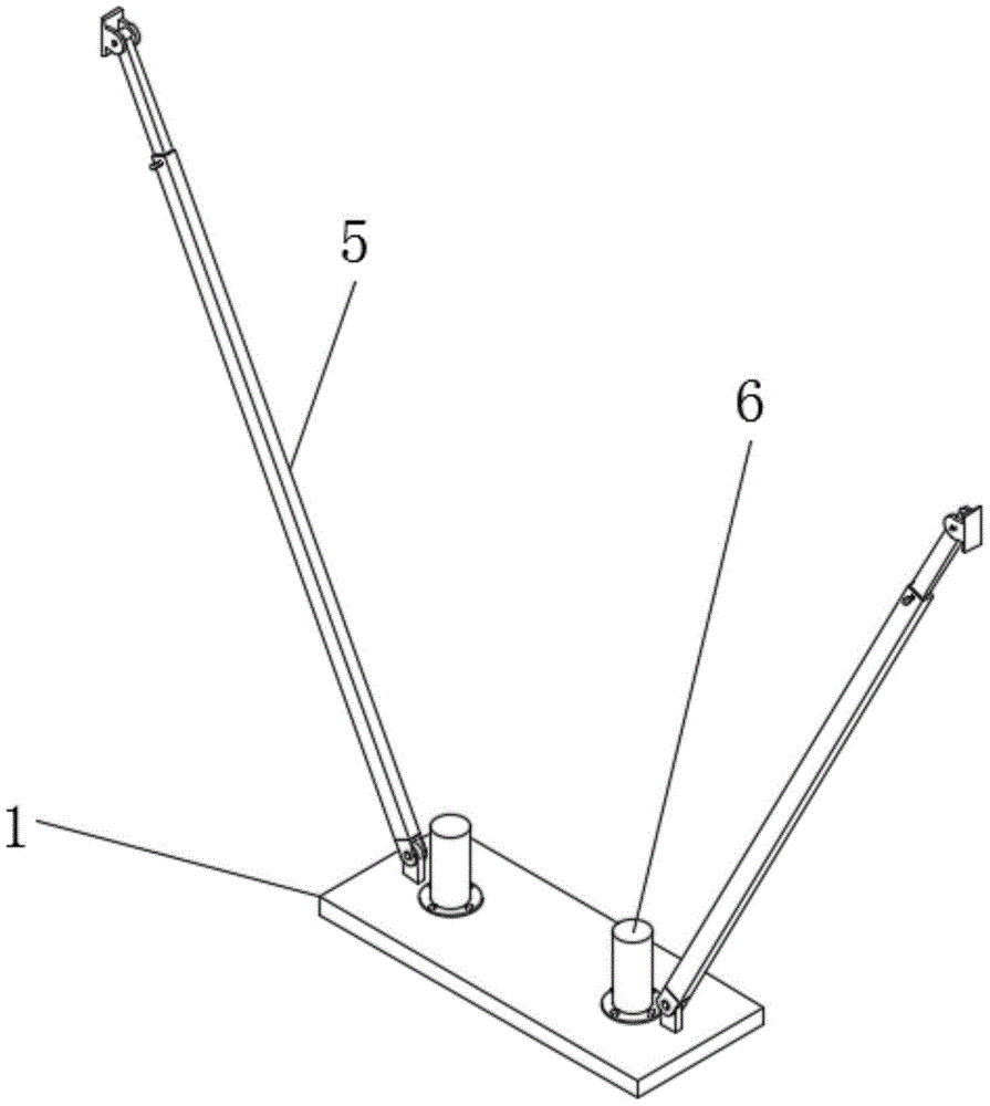
In the figure: 1. positioning the bottom plate; 2. a movable rotating shaft; 3. installing a notch; 4. positioning the supporting legs; 5. a support mechanism; 501. a first support bar; 502. adjusting the bolt; 503. a second support bar; 504. adjusting the rotating shaft; 505. supporting the push plate; 6. a lifting mechanism; 601. a screw jack; 602. connecting a screw rod; 603. a connecting seat; 604. a connecting screw hole; 605. and a base is supported.
Detailed Description
In order to make the technical means, the creation characteristics, the achievement purposes and the effects of the utility model easy to understand, the utility model is further described with the specific embodiments.
As shown in fig. 1-4, an assembled supporting steel structure convenient to adjust, including positioning bottom plate 1, installation opening 3 has been seted up to positioning bottom plate 1 upper surface, positioning bottom plate 1 both sides edge fixed mounting has positioning support leg 4, movable mounting has movable pivot 2 on the positioning support leg 4, be connected with supporting mechanism 5 on the movable pivot 2, supporting mechanism 5 includes first bracing piece 501, adjusting bolt 502, second bracing piece 503, adjust pivot 504 and support push pedal 505, positioning bottom plate 1 upper surface is located installation opening 3 department fixed mounting has lifting mechanism 6, lifting mechanism 6 includes spiral jack 601, connecting screw 602, connecting seat 603, connect screw 604 and supporting base 605, supporting mechanism 5 is through movable pivot 2 swing joint on positioning support leg 4.
In order to realize the purpose of quick support, the upper surface of the positioning bottom plate 1 is provided with an installation notch 3, the edges of two sides of the positioning bottom plate 1 are fixedly provided with positioning support legs 4, the positioning support legs 4 are movably provided with a movable rotating shaft 2, the movable rotating shaft 2 is connected with a supporting mechanism 5, the supporting mechanism 5 comprises a first supporting rod 501, an adjusting bolt 502, a second supporting rod 503, an adjusting rotating shaft 504 and a supporting push plate 505, the upper surface of the positioning bottom plate 1 at the installation notch 3 is fixedly provided with a lifting mechanism 6, the lifting mechanism 6 comprises a spiral jack 601, a connecting screw 602, a connecting seat 603, a connecting screw 604 and a supporting base 605, the first supporting rod 501 is connected on the movable rotating shaft 2, the second supporting rod 503 is movably arranged in the first supporting rod 501, the adjusting bolt 502 is installed on the edge of the tail end of the first supporting rod 501, the tail end of the second supporting rod 503 is provided with the adjusting rotating shaft 504, a supporting push plate 505 is connected to the adjusting rotating shaft 504, a movable sliding groove is arranged in the first supporting rod 501, a second supporting rod 503 is movably arranged in the first supporting rod 501 through the movable sliding groove, the second supporting rod 503 is limited in the first supporting rod 501 through an adjusting bolt 502, the first supporting rod 501 is movably connected to the positioning support leg 4 through a movable rotating shaft 2, the supporting push plate 505 is movably arranged at the tail end of the second supporting rod 503 through the adjusting rotating shaft 504, a spiral jack 601 is arranged at the position of an installation notch 3, a supporting base 605 is fixedly arranged at the output tail end of the spiral jack 601, a connecting seat 603 is fixedly arranged on the spiral jack 601, a connecting screw hole 604 is arranged at the edge of the surface of the connecting seat 603, a connecting screw 602 is arranged in the connecting screw hole 604, the connecting screw 602 penetrates through the connecting screw hole 604 and then is connected to the positioning bottom plate 1, the output end of the spiral jack 601 penetrates through the positioning bottom plate 1 through the installation notch 3, support base 605 passes through the screw fixation on screw jack 601's output end, supporting mechanism 5 is on location stabilizer blade 4 through 2 swing joint of activity pivot, during the use whole device can arrange the foundation ditch in rapidly, whole device can unscrew adjusting bolt 502 after arranging in the foundation ditch, unscrew adjusting bolt 502 later can adjust second bracing piece 503 stretching out length according to the foundation ditch degree of depth, can take support push pedal 505 on the inside guard plate of foundation ditch after 503 length adjustment of second bracing piece, later start screw jack 601, positioning bottom plate 1 can the upward movement after starting screw jack 601, supporting mechanism 5 will expand the conflict after positioning bottom plate 1 can the upward movement on both sides foundation ditch inner wall, thereby play the purpose of quick support.
Finally, it should be noted that: although the present invention has been described in detail with reference to the foregoing embodiments, it will be apparent to those skilled in the art that changes may be made in the embodiments and/or equivalents thereof without departing from the spirit and scope of the utility model. Any modification, equivalent replacement, or improvement made within the spirit and principle of the present invention should be included in the protection scope of the present invention.

Claims (10)

1.一种方便调整的装配式支撑钢结构,其特征在于:包括定位底板(1),所述定位底板(1)上表面开设有安装豁口(3),所述定位底板(1)两侧边缘处固定安装有定位支脚(4),所述定位支脚(4)上活动安装有活动转轴(2),所述活动转轴(2)上连接有支撑机构(5),所述支撑机构(5)包括第一支撑杆(501)、调节螺栓(502)、第二支撑杆(503)、调节转轴(504)和支撑推板(505),所述定位底板(1)上表面位于安装豁口(3)处固定安装有抬升机构(6),所述抬升机构(6)包括螺旋式千斤顶(601)、连接螺杆(602)、连接座(603)、连接螺孔(604)和支撑底座(605)。1. An assembled supporting steel structure for easy adjustment, characterized in that it comprises a positioning base plate (1), an installation gap (3) is provided on the upper surface of the positioning base plate (1), and two sides of the positioning base plate (1) are provided. A positioning leg (4) is fixedly installed at the edge, a movable rotating shaft (2) is movably installed on the positioning leg (4), and a supporting mechanism (5) is connected to the movable rotating shaft (2), and the supporting mechanism (5) ) comprises a first support rod (501), an adjustment bolt (502), a second support rod (503), an adjustment shaft (504) and a support push plate (505), and the upper surface of the positioning base plate (1) is located in the installation notch ( 3) A lifting mechanism (6) is fixedly installed at the place, and the lifting mechanism (6) includes a screw jack (601), a connecting screw (602), a connecting seat (603), a connecting screw hole (604) and a support base (605) ). 2.根据权利要求1所述的一种方便调整的装配式支撑钢结构,其特征在于:所述第一支撑杆(501)连接在活动转轴(2)上,所述第一支撑杆(501)内活动安装有第二支撑杆(503),所述第一支撑杆(501)末端边缘处螺纹安装有调节螺栓(502),所述第二支撑杆(503)末端设置有调节转轴(504),所述调节转轴(504)上连接有支撑推板(505)。2. An easily adjustable assembled support steel structure according to claim 1, characterized in that: the first support rod (501) is connected to the movable shaft (2), and the first support rod (501) ) is movably installed with a second support rod (503), an adjustment bolt (502) is threadedly installed at the end edge of the first support rod (501), and an adjustment shaft (504) is provided at the end of the second support rod (503). ), a support push plate (505) is connected to the adjusting shaft (504). 3.根据权利要求2所述的一种方便调整的装配式支撑钢结构,其特征在于:所述第一支撑杆(501)内开设有活动滑槽,所述第二支撑杆(503)通过活动滑槽活动安装在第一支撑杆(501)内,所述第二支撑杆(503)通过调节螺栓(502)限制在第一支撑杆(501)内。3. An easily adjustable assembled support steel structure according to claim 2, characterized in that: a movable chute is opened in the first support rod (501), and the second support rod (503) passes through The movable chute is movably installed in the first support rod (501), and the second support rod (503) is restricted in the first support rod (501) by adjusting bolts (502). 4.根据权利要求3所述的一种方便调整的装配式支撑钢结构,其特征在于:所述第一支撑杆(501)通过活动转轴(2)活动连接在定位支脚(4)上。4. An easily adjustable assembled support steel structure according to claim 3, characterized in that: the first support rod (501) is movably connected to the positioning support foot (4) through the movable shaft (2). 5.根据权利要求4所述的一种方便调整的装配式支撑钢结构,其特征在于:所述支撑推板(505)通过调节转轴(504)活动安装在第二支撑杆(503)末端。5 . The easily adjustable assembled support steel structure according to claim 4 , wherein the support push plate ( 505 ) is movably installed on the end of the second support rod ( 503 ) through an adjusting shaft ( 504 ). 6 . 6.根据权利要求5所述的一种方便调整的装配式支撑钢结构,其特征在于:所述螺旋式千斤顶(601)安装于安装豁口(3)处,所述螺旋式千斤顶(601)的输出末端固定安装有支撑底座(605),所述螺旋式千斤顶(601)上固定安装有连接座(603),所述连接座(603)表面边缘处开设有连接螺孔(604),所述连接螺孔(604)内设有连接螺杆(602)。6. An easily adjustable prefabricated supporting steel structure according to claim 5, characterized in that: the screw jack (601) is installed at the installation gap (3), and the screw jack (601) is A support base (605) is fixedly installed at the output end, a connection seat (603) is fixedly installed on the screw jack (601), and a connection screw hole (604) is opened at the surface edge of the connection seat (603). A connecting screw (602) is arranged in the connecting screw hole (604). 7.根据权利要求6所述的一种方便调整的装配式支撑钢结构,其特征在于:所述连接螺杆(602)通过连接螺孔(604)穿过连接座(603)之后连接在定位底板(1)上。7. An easily adjustable prefabricated supporting steel structure according to claim 6, characterized in that: the connecting screw (602) passes through the connecting seat (603) through the connecting screw hole (604) and is then connected to the positioning base plate (1) on. 8.根据权利要求7所述的一种方便调整的装配式支撑钢结构,其特征在于:所述螺旋式千斤顶(601)的输出端通过安装豁口(3)穿过定位底板(1)。8 . The easily adjustable assembled support steel structure according to claim 7 , wherein the output end of the screw jack ( 601 ) passes through the positioning base plate ( 1 ) through the installation notch ( 3 ). 9 . 9.根据权利要求8所述的一种方便调整的装配式支撑钢结构,其特征在于:所述支撑底座(605)通过螺丝固定在螺旋式千斤顶(601)的输出末端上。9 . The easily adjustable assembled support steel structure according to claim 8 , wherein the support base ( 605 ) is fixed on the output end of the screw jack ( 601 ) by screws. 10 . 10.根据权利要求9所述的一种方便调整的装配式支撑钢结构,其特征在于:所述支撑机构(5)通过活动转轴(2)活动连接在定位支脚(4)上。10 . The easily adjustable assembled supporting steel structure according to claim 9 , wherein the supporting mechanism ( 5 ) is movably connected to the positioning feet ( 4 ) through the movable rotating shaft ( 2 ). 11 .
CN202122776454.6U 2021-11-09 2021-11-09 Assembled support steel construction of convenient adjustment Expired - Fee Related CN216551971U (en)

Priority Applications (1)

Application Number Priority Date Filing Date Title
CN202122776454.6U CN216551971U (en) 2021-11-09 2021-11-09 Assembled support steel construction of convenient adjustment

Applications Claiming Priority (1)

Application Number Priority Date Filing Date Title
CN202122776454.6U CN216551971U (en) 2021-11-09 2021-11-09 Assembled support steel construction of convenient adjustment

Publications (1)

Publication Number Publication Date
CN216551971U true CN216551971U (en) 2022-05-17

Family

ID=81572804

Family Applications (1)

Application Number Title Priority Date Filing Date
CN202122776454.6U Expired - Fee Related CN216551971U (en) 2021-11-09 2021-11-09 Assembled support steel construction of convenient adjustment

Country Status (1)

Country Link
CN (1) CN216551971U (en)

Similar Documents

Publication Publication Date Title
CN212175496U (en) Super gravity anchor cantilever formwork system
CN111622482A (en) Steel structure cantilever plate edge simple support frame and its installation method
CN216551971U (en) Assembled support steel construction of convenient adjustment
CN206530077U (en) A kind of support frame
CN219196719U (en) Cantilever support template for water inlet tower construction
CN208934394U (en) One kind can turnover type hydraulic climbing formwork wall-attaching equipment
CN212224667U (en) Roof steel truss assembled tire frame
CN212176556U (en) Supporting structure of steel bar truss floor bearing plate
CN211597827U (en) Supporting elements for retrofitting existing buildings
CN211173128U (en) Multifunctional assembled stand column and cross beam auxiliary supporting device
CN209585815U (en) An indoor activity enclosure
CN220953851U (en) Reserved arch starting value adjusting device for steel cantilever construction
CN202007527U (en) Cast-in-place steel reinforcing bar concrete column template fixing device
CN218150022U (en) A Temporary Fast Supporting Device for C-shaped Steel of Reinforced Truss Floor Deck
CN220133626U (en) Steel structure base for civil engineering
CN207392715U (en) A kind of overhanging inclined support structure
CN220828023U (en) Adjustable bracket of elevator shaft operation platform
CN223548993U (en) Reinforced concrete frame beam column reinforcing node
CN207110041U (en) A kind of half bolt construction of i-beam structure prefabrication and assembly construction building node
CN221779240U (en) A device for connecting a vertical pole and a base of a railing
CN221168861U (en) A prefabricated building support device based on BIM
CN216664503U (en) A retractable fixing device for forming a kitchen and bathroom countersill at one time
CN219138296U (en) A reinforced construction frame
CN222390997U (en) Cable-stayed cantilever formwork structure
CN222513383U (en) Hydraulic sliding rail type adjustable rigid support frame for assembled wallboard

Legal Events

Date Code Title Description
GR01 Patent grant
GR01 Patent grant
CF01 Termination of patent right due to non-payment of annual fee

Granted publication date: 20220517

CF01 Termination of patent right due to non-payment of annual fee